Condensation Prevention for Dash Cam Optics
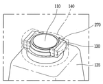
Dashboard cameras operating in varying environmental conditions face persistent challenges with lens condensation. Field data shows that even a 10°C temperature differential between the vehicle interior and exterior can trigger condensation formation, while seasonal transitions routinely create temperature gradients of 20-30°C. These conditions can render critical safety systems temporarily inoperable.
The fundamental challenge lies in maintaining optimal lens temperature across rapidly changing ambient conditions while minimizing power consumption and system complexity.
This page brings together solutions from recent research—including inductive lens heating systems, targeted airflow management, thermally-optimized lens housings, and intelligent condensation detection systems. These and other approaches focus on maintaining clear optical paths while meeting automotive reliability and power requirements.
1. Camera Assembly with Adjustable Thermal Conduction Module for Lens Fogging Prevention
GUANGQI HONDA AUTOMOBILE CO LTD, GUANGZHOU HONDA RES & DEVELOPMENT CO LTD, GUANGZHOU HONDA RESEARCH & DEVELOPMENT CO LTD, 2024
Vehicle-mounted camera assembly and control method to prevent fogging and water droplets on the camera lens. It uses thermal conduction to transfer heat from the vehicle's lights to the camera. The assembly has a thermal conductive module that can be a metal baffle, reflective component, or heat storage material. The module is positioned between the lights and camera. It allows adjustable heat transfer efficiency to control the camera temperature. The lights can always be on as the module regulates heat instead of closing them to reduce fogging. This avoids overheating the camera.
2. Vehicle Camera Module with Direct Lens Heating Film and Flexible Printed Circuit Board Connection
SEKONIX CO LTD, 2024
Vehicle camera module with a heating element to prevent frost, condensation, and freezing on the lens during cold weather. The heating element is a heating film directly attached to the surface of the outermost lens. Power is supplied to the film through a flexible printed circuit board (FPCB) that connects the film and a separate power circuit board inside the camera housing. The FPCB passes through the housing and connects externally to the power circuit board. This allows the camera to heat the lens without needing an indirect heating barrel. The FPCB also has a connector to connect to an external power source.
3. Software for Dynamic Dew Point and Freezing Point Management in Cameras Using Logarithmic Humidity-Temperature Calculations
BEIJING BOEN SHANGSI TECH CONSULTING CO LTD, BEIJING BOEN SHANGSI TECHNOLOGY CONSULTING CO LTD, WANG HEJIA, 2024
Software for dew point and freezing point protection of non-low temperature resistant cameras. The software uses logarithmic calculations based on humidity and temperature theory to determine the dew point and freezing point for a camera. It then provides protection by heating and dehumidifying the camera when the dew point is reached to prevent lens blurring, before freezing point protection kicks in. This avoids negative dew point values that can cause freezing. The software simulates the dynamic dew point changing with temperature to provide optimal protection in variable climates.
4. Camera Lens Heating System with Control Module and Silver Streak Heating Pattern
MERCEDES BENZ GROUP AG, MERCEDES-BENZ GROUP AG, 2023
Heating device, method, vehicle, and computer program for an external camera lens on vehicles that prevents frost and fog buildup without degrading image quality. The heating device has a power supply, control module, and heating module with a pattern of silver streaks. The control module analyzes image clarity and enables the heating module when clarity falls below a threshold. It disables heating when clarity exceeds another threshold. This selectively heats the lens surface to prevent frost/fog without requiring high power or long time periods. The control module can also monitor heating parameters and disable heating if they exceed limits.
5. Camera Assembly Control with Temperature-Responsive Lens Heating Mechanism
GUANGDONG HONGJING OPTOELECTRONIC TECH INC, GUANGDONG HONGJING OPTOELECTRONIC TECHNOLOGY INC, 2023
A camera assembly control method and device that uses a temperature sensor and a detection element to accurately monitor and heat the camera lens to prevent fogging and snow accumulation in harsh environments. The method involves acquiring the temperature of the lens using a temperature-sensitive element and a detection element, then determining an optimal lens heating scheme based on the lens temperature. This allows targeted and efficient lens heating to prevent fogging and snow buildup without overheating or wasting power.
6. Vehicle Camera Module with Integrated Outer Wall Heating Element and Temperature-Responsive Activation System
TIANHAN TECH WUJIANG CO LTD, TIANHAN TECHNOLOGY CO LTD, 2023
Camera module for vehicle cameras that has an integrated heating element to prevent fogging and icing in low temperature conditions. The heating element is wrapped around the outer wall of the lens to keep it clear. The camera module has a monitoring system that detects the temperature at the camera location and feeds it back to the control module. If the temperature falls below a threshold, the control module activates the heating element to prevent fogging and icing.
7. Camera System with Integrated Lens Heater and Isolated Sensor Cooling Assembly for Condensation Prevention
Zhejiang Haili Technology Co., Ltd., ZEJAN HARLEY TECHNOLOGY COMPANY LTD, 2023
Preventing condensation on camera lenses and sensors to improve image quality in cold environments without sacrificing image sensor cooling. The system uses a heater between the lens and sensor to keep the internal temperature above dew point when external conditions are conducive to condensation. This prevents lens and filter fogging. The heater is controlled based on sensor operation and environmental data. Additionally, the camera has a separate sealed cooling assembly for the sensor to maintain low temperature without external humidity affecting it. This prevents condensation inside the assembly. By separating lens and sensor thermally, it allows independent control for fogging prevention.
8. Car Navigator with Anti-Fogging Night Vision Camera and Integrated Heating System
HUBEI ANCHANGXING TECH CO LTD, HUBEI ANCHANGXING TECHNOLOGY CO LTD, 2023
Car navigator with an anti-fogging night vision camera to prevent lens fogging in low light or cold conditions. The camera has a heating system to prevent condensation on the lens. The camera is mounted on a fixed plate with a fan, heating device, and heating block. The fan pulls air over the heating block and device to heat the lens. This prevents temperature differences between the inside and outside of the lens causing fogging. The heating block has a ventilation groove and air outlet. A dust-proof net covers the fan opening and the plate has clamping blocks to secure the camera.
9. Automotive Camera with Integrated Induction Coil Lens Heater
Aptiv Technologies Limited, 2023
An automotive camera with an integrated induction heater to defrost the lens in cold weather conditions. The camera lens holder has an induction coil etched into its inner surface. When activated, the coil generates heat to defrost the lens. The integrated coil allows compact, scalable and efficient defrosting compared to external heating systems. The camera can be mass produced as a fully integrated unit.
10. Ring-Shaped Heating Element for Automotive Camera Lens with Temperature-Controlled Tension Socket
MOTHERSON INNOVATIONS COMPANY LIMITED, 2023
Lenses of vehicle cameras can freeze or fog up in cold and wet conditions, impairing visibility and safety. A heating device for automotive camera lenses that can melt ice and prevent fogging. The heating device has a ring-shaped heating element that wraps around the camera lens barrel. It is held in place by a tension socket. The device can apply targeted heat directly to the lens barrel to warm the lens surface and prevent ice and fogging. The heating power is controlled based on temperature and recent usage to avoid overheating.
11. Vehicle Camera System with Selective Lens Heating and Integrated Washer Mechanism
Magna Electronics Inc., 2022
A vehicle camera system that prevents lens obstructions like dirt, water, and ice from impairing camera visibility by heating the lens. It detects obstructions and increases heating only for moisture/condensation, to prevent fogging. Heating is deactivated for non-moisture obstructions. This prevents overuse and saves energy. The system also has a washer to clean the lens.
12. Vehicle Camera System with Dual Heater Configuration and Adaptive Control Based on Environmental and Speed Parameters
JVC KENWOOD CORP, 2022
Heating control for a vehicle camera to prevent lens fogging and icing in cold weather. The camera has a lens covered by a flange with a water-repellent treatment on the inner edge. It has two heaters, one for the lens and one for the flange. The heating is controlled based on outside air state and vehicle speed. In mild conditions, just the lens heater is used. In colder or higher speed conditions, both heaters are used to prevent lens fogging and flange ice.
13. Vehicle Camera System with Protective Element Featuring Specific Opening Geometry for Water Drop Mitigation
MEKRA Lang GmbH & Co. KG, 2022
Camera system for vehicles that protects the camera lens from water drops that impair visibility by using a protective element around the lens with a specific opening geometry. The protective element leaves the camera lens exposed through a small opening that captures the necessary view. The remaining lens area is covered to prevent water drops from obstructing the view while reducing overall water exposure.
14. Lens Barrel Inductive Heating System with Eddy Current Induction for Vehicle Cameras
Magna Electronics Inc., 2022
Rapidly heating the lens barrel of vehicle cameras to defrost/defog the lens and prevent condensation. The heating device uses an inductive coil that circumscribes the lens barrel to induce eddy currents in the lens components when powered. This rapidly heats the lens without requiring wires into the camera. The inductive heating coil may selectively target portions of the lens barrel while avoiding non-conductive parts. The coil generates a magnetic field that encompass the lens barrel to heat the lens optics.
15. Camera Lens Assembly with Integrated Heating Film and Sealed Housing
SHENZHEN LUVIEW CO LTD, 2021
A camera with an integrated heating system to remove frost and fog from the lens. The camera has a heating film on the lens surface that can be controlled to heat the glass and prevent frost and fog buildup. The heating film temperature is monitored to ensure it reaches a level to melt the frost. The camera housing seals around the lens to prevent airflow and condensation. The heating film, lens, and housing are sandwiched between press sheets to compress and seal the lens.
16. Camera Lens Defogging System with Dew Point Sensor and Controlled Lens Heating Mechanism
SHENZHEN XINCHENGXIANG TECH CO LTD, SHENZHEN XINCHENGXIANG TECHNOLOGY CO LTD, 2021
Defogging a camera lens in humid environments to prevent fogging and improve image quality. The defogging method involves continuously monitoring the dew point temperature inside the camera and using that to determine when fogging is likely. When fogging is detected, the camera heats the lens to above the dew point temperature to prevent condensation. By maintaining the lens above the dew point, fogging is prevented without overheating the lens. The defogging system includes a dew point sensor inside the camera to detect when fogging is likely and a heater to warm the lens above the dew point.
17. Camera Housing with Integrated Heating Element, Defrosting Scraper, and Air Pump System
JUNMEI JINGWEI CIRCUIT CO LTD, 2021
Vehicle-mounted camera heater and control method to prevent fogging and icing of camera lenses in cold weather. The heater has a camera housing with a see-through cover, a heating element, a defrosting scraper, and an air pump. The heating element inside the housing warms the lens to prevent icing. The defrosting scraper wipes away any remaining ice. An air pump inside the housing draws in hot air from the vehicle's AC system to further defog the lens. A control board manages the heating, air pump, and solenoid valves.
18. Heater Control System for In-Vehicle Cameras with Condition-Based Automatic Activation and Deactivation
PANASONIC IP MAN CORP, PANASONIC IP MANAGEMENT CORP, 2021
Heater control for in-vehicle cameras that improves safety and efficiency by automatically turning on and off the lens heater based on conditions like image quality, temperature, and rain. The heater control device determines if conditions warrant heating the camera lens based on factors like image clarity, outside temperature, and rain presence. When conditions indicate potential lens abnormalities, it turns on the heater to prevent issues. This prevents manual errors in activating the heater and ensures timely lens protection. When conditions indicate clear lenses, it turns off the heater to conserve power. This prevents unnecessary heater runtime that could lead to lens fogging or degradation.
19. Vehicle Camera Lens Heating Device with Nanodot-Lattice Heating Film and Integrated Wiper Mechanism
IM ADVANOED MAT CO LTD, IM ADVANOED MATERIALS CO LTD, 2021
Heating device for vehicle cameras that effectively removes contaminants like frost and moisture from the lens in all weather conditions. The device is directly attached to the camera lens using optical adhesive films. It has a heating film sandwiched between the adhesive films with an electrode part on some of the film. The electrode shape matches the film plane. The adhesive films and lens contact form a sealed unit. This prevents fogging and condensation on the lens. The heating film contains hyperaccelerated thermal material nanodots arranged in a lattice pattern. This provides uniform heating and rapid temperature rise to quickly remove contaminants. The device can also have a wiper mechanism on the lens housing to physically wipe away contaminants.
20. Vehicle Camera Assembly with Sealed Grommet and Hydraulic Protrusion for Moisture Prevention
HYUNDAI MOBIS Co., Ltd., 2021
Vehicle camera that effectively prevents moisture ingress. A camera module is housed inside a vehicle body and sealed with a grommet and cover that obstruct moisture entry. The grommet contacts the camera module and housing preventing moisture penetration. Adhesion protrusions on the grommet contact the module and housing to seal gaps. The cover has a hydraulic protrusion that transmits pressure to the grommet when submerged, further sealing.
Get Full Report
Access our comprehensive collection of 47 documents related to this technology


