Repairable Design for Automotive Lighting
Modern automotive lighting systems combine multiple LED modules, complex optics, and sophisticated thermal management in tight packaging constraints. When these systems fail, replacement costs can exceed $1500 per unit, with labor costs driven by difficult access and extensive disassembly requirements that can take up to 4 hours per repair.
The fundamental challenge lies in balancing sealed protection of sensitive components with serviceability that enables rapid, cost-effective repairs.
This page brings together solutions from recent research—including tool-less access mechanisms, modular LED carriers, predetermined separation points, and front-serviceable mounting systems. These and other approaches demonstrate how vehicle lighting can be designed for both environmental protection and practical maintainability in service environments.
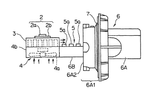
1. LED Automobile Headlight with In-Situ Replaceable Design and Centralized Cooling Fan
JIAXING GUANGTAI LIGHTING CO LTD, 2024
An in-situ replaceable LED automobile headlight design that allows 100% in-situ replacement without modification and meets regulatory size requirements. The headlight has a lamp body housing, an LED light source at the front, a driver assembly at the back, and a fan in the middle. The fan is sandwiched between the light source and driver. A flexible cable connects them. This layout allows compact packaging with the fan in the center for optimal heat dissipation while avoiding components blocking replacement sockets.
2. LED Light Source Module with Detachable LED Lamp Set and Translucent Protective Cover
JIANGSU DYXY PHOTOELECTRIC TECH CO LTD, JIANGSU DYXY PHOTOELECTRIC TECHNOLOGY CO LTD, 2023
Durable LED light source module with replaceable LED lamp set for easy maintenance. The module has a circuit board with a detachable LED lamp set mounted on it. This allows the LED lamp set to be easily replaced if it fails, without needing to disassemble the entire module or damage the circuit board. The detachable LED lamp set also enables better heat dissipation compared to a sealed module. The lamp set is secured to the circuit board but can be removed by disconnecting electrical connections. A translucent cover is installed above the circuit board to protect the components.
3. Luminous Vehicle Module with Rotatable Casing and Hook Attachment System
VALEO VISION, 2022
A luminous module for vehicles that allows easy installation and removal without requiring tools. The module has a rotatable open casing with hooks that attach to the vehicle's components. The casing has grooves for positioning an optical element like a light guide. The module can rotate and hook onto the vehicle's casing to secure it. This eliminates the need for screws and allows tool-less access for replacement. The casing hooks onto specific brackets on the vehicle's optical element or outer lens holder.
4. LED Lamp with Detachable Body and Centralized Power Supply Featuring Heat Dissipation Fins
SHANDONG MOYI TECH INNOVATION CO LTD, SHANDONG MOYI TECHNOLOGY INNOVATION CO LTD, 2022
A combined LED lamp with heat dissipation function that improves the lifespan and repairability of LED lamps by separating the LED lamp body from the power supply. The lamp has a detachable LED body connected to the ends of two support arms, with a separate power supply box in the middle. This allows the lamp body to be replaced or repaired without touching the power supply, preventing overheating and extending lamp life. The power supply also has fins for better heat dissipation.
5. Modular LED Light Source with Detachable LED Assembly and Enclosed Power Supply Box
MORNING GLIBAO SCIENCE AND TECH CO LTD, MORNING GLIBAO SCIENCE AND TECHNOLOGY CO LTD, 2022
A replaceable LED light source module that allows easy removal and installation of the light source and power supply. The module has a fixed plate, an integrated LED assembly with LED chips on a substrate, and a separate enclosed power supply box. The LED assembly attaches to the plate and connects electrically to the power supply box. This allows replacing just the LED assembly or power supply without disassembling the entire light fixture. The power supply box protects the internal components.
6. Vehicle LED Lighting Assembly with Tool-Free Component Removal and Sliding Cover Mechanism
SHENZHEN JINFENGCHI TECH CO LTD, SHENZHEN JINFENGCHI TECHNOLOGY CO LTD, 2022
Convenient disassembly vehicle LED lighting that allows easy removal of the internal components like the circuit board and light bulb for repair or replacement without requiring tools or disassembly of the entire housing. The lighting has a sliding cover, disassembly mechanism, and locking mechanism that allows the cover to be removed separately from the housing. The circuit board slides in and out of the housing and locks in place. The light bulbs can be removed by sliding them along the board. This enables isolated component replacement without disassembling the entire lighting assembly.
7. Vehicle Headlight Assembly with Modular Frame and Positioners for Component Replacement
HELLA GmbH & Co. KGaA, 2021
This is a vehicle headlight assembly with an improved modular design for easier serviceability and customization. The assembly has a light source, optical system, cover plate, frame, and carrier in that order. The frame has positioners to precisely locate and secure the components. This allows the light source, optics, and cover to be easily replaced without disassembling the entire headlight unit.
8. Ejectable Headlight System with Pin-Engaging Ejector and Release Arm Mechanism
James M. Aparo, 2021
Ejectable headlight system for easy and tool-less replacement of headlight bulbs from the front of a vehicle. The system uses an ejector device with pins that engage the bulb pins. A release arm locks the bulb in place. Pulling the release arm disengages the pins and allows the bulb to slide out the front. This enables quick bulb changes without opening the hood or removing parts. The ejector base houses the electrical connector. The bulbs have modified pins to match. The system can use visible, infrared, or UV bulbs. It allows bulb replacement without disassembling the headlight housing.
9. Headlamp Assembly with Separable and Elastic Connections Featuring Predetermined Breaking Points
FORD GLOBAL TECHNOLOGIES, LLC, 2021
Headlamp assembly and connections to vehicle body that minimize repair costs in low-speed collisions without sacrificing pedestrian protection. The headlamp housing has separable connecting portions to adjoining body parts like the fender and bumper. Some connections have predetermined breaking points to isolate damage. Others are elastic or latching to detach non-destructively. This protects the high-value headlamp while allowing the fender to deform and the body to yield in a collision.
10. Tubular LED Light Unit with Exposed LEDs and Internal Circuitry
NICHIHO KK, 2021
LED light unit that is easy to assemble, repair, and handle compared to conventional LED lamps. The unit uses a tubular body with openings to expose the LEDs, rather than encasing them inside. The LEDs are fixed to the tube walls through holes, and the circuitry is housed inside the tube. This allows the LED module to be easily removed and replaced if components fail. The tube body can be made of lightweight aluminum. The openings are water-repellent to prevent moisture ingress.
11. Detachable LED Module with Integrated Connectors for Automated Luminaire Systems
Robe Lighting s.r.o., 2021
Removable LED module for automated luminaires that allows easy replacement and comparison of LEDs without disassembling the entire luminaire. The module has a separate circuit board with connectors for power and data, allowing it to be electrically and mechanically detached from the luminaire. This enables swapping just the LED module instead of the entire optical system. It also provides a way to measure and store LED output characteristics for comparison between modules.
12. Modular LED Lamp with Replaceable Detachable LED Modules
LIN YUNYE, 2020
LED lamp that is easy to maintain by allowing individual LED modules to be replaced instead of entire lamps. The lamp has a modular design with detachable LED modules. If a module fails, it can be removed and replaced without disassembling the entire lamp. This reduces cost and makes maintenance more convenient compared to replacing whole lamps.
13. Vehicle Lighting Units with Front-Accessible Resilient Protruding Retainers
Nissan North America, Inc., 2020
Vehicle lighting units that can be easily connected and removed from the front of the vehicle without needing to access the underside or rear. The lighting units have protruding retainers that extend rearward and insert into openings in the vehicle body. The retainers are made of resilient material that deflects during installation and removal. This allows the lighting unit to be installed and removed from the front of the vehicle instead of underneath or behind the bumper. It simplifies installation, improves quality, and reduces cost compared to traditional bolts. The deflecting retainers also create a channel between the lighting unit and the body for airflow.
14. Modular Tunnel Lamp with Detachable Light Source Module and Clamping Strip Assembly
SICHUAN JIACAN CITY FURNITURE TECH CO LTD, SICHUAN JIACAN CITY FURNITURE TECHNOLOGY CO LTD, 2020
A modular tunnel lamp design that allows easy disassembly and replacement of components for maintenance. The lamp has a detachable light source module that can be removed without dismantling the entire lamp. The module has a substrate with LEDs and a lens, and extends outward with strips that fit into clamping strips on the lamp housing. The module is clamped into a slot in the housing and fixed by a bolt passing through the assembly part. This allows separate replacement of the light source without disassembling the entire lamp.
15. Modular LED Lighting System with Removable Heat Sink Cover and Replaceable LED Boards
EvansWerks, LLC, 2020
LED lighting system that allows maintenance and replacement of individual LED boards. The system uses a heat sink with a removable cover to access the LED boards. Contacts on the back of the boards are connected to power leads that pass through the heat sink. This allows the LED boards to be easily removed and replaced without desoldering them. It also allows using different boards or upgrading them.
16. Modular LED Lamp with Replaceable Components and Integrated Fastening System
AGC LIGHTING CO LTD, 2020
Conveniently replaceable LED lamp design that allows individual components like the LED board, lens, and heat sink to be easily replaced instead of replacing the entire lamp when components fail. The lamp has features like fasteners that protrude through the light board and lens, seals between the board and lens, and connectors that embed into installation channels. This allows disassembly and reassembly of the components while maintaining electrical and mechanical connections.
17. LED Lamp with Modular Detachable Components and Buckling Fixing Seat
ZENG JIAO YING, ZENG JIAO-YING, 2020
LED lamp with detachable components to allow users to repair or replace faulty parts instead of throwing away the whole lamp. The lamp has a movable lampshade, voltage transformation module, and lamp holder with detachable electrical connections. The LED circuit, heat sink, and voltage converter can be removed and replaced separately. A fixing seat under the heat sink has a buckling feature to secure it in place. This enables modular repair/reuse of components instead of throwing away the whole lamp when parts fail.
18. LED Lamp with Threaded Detachable Light Assembly and Integrated Lampshade
NANNING UNIVERSITY, UNIV NANNING, 2020
LED lamp with detachable light assembly for easy maintenance and replacement. The lamp has a mounting plate, diffuser cover, LED components, and a detachable light assembly. The light assembly consists of a lampshade with an LED light source inside. The lampshade has threads on the top, and the LED light source connects to the threads. This allows the light assembly to be removed and replaced by unthreading the lampshade from the lamp housing.
19. LED Vehicle Accessory with Sealed Aluminum Body and Modular Potted Circuit Board Design
Putco, Inc., 2020
LED lighted vehicle accessory with improved durability, water resistance, repairability, and reduced depth compared to existing LED accessories. The design features a sealed aluminum body with lenses potted in place, a circuit board potted in the body, and a rear cover. The potting compounds seal against water and contaminants, protect electronics, and reduce vibration noise. The modular design allows easy replacement of faulty circuit boards without disassembling the entire accessory.
20. Modular LED Lamp with Interchangeable Components and Detachable Fasteners
AGC LIGHTING CO LTD, 2020
A convenient and replaceable LED lamp that allows individual components like the lamp board, lens, and heat sink to be easily swapped when damaged instead of replacing the entire lamp. The lamp has detachable fasteners, seals, and connectors that allow disassembly and reassembly of the components. This reduces maintenance costs and extends lamp life by enabling component replacement rather than scrapping the entire lamp when parts fail.
21. Vehicle Lighting Module with Removable Carrier and Translational Locking Mechanism
VALEO VISION, 2020
Lighting module for vehicles that enables easy replacement of failed light sources without replacing the entire module. The module has a removable carrier that holds the optical components. The carrier can be translated to lock or unlock positions. In the locked position, the light source is secured in the module while the carrier is connected to the optical components. This allows removing just the light source for replacement. The carrier locking mechanism prevents accidental removal of the optical components.
22. LED Lamp with Detachable Light Source Assembly and Torsion Spring Secured Base
LIN YUNYE, 2019
LED lamp with convenient maintenance by allowing individual components to be easily replaced instead of replacing the entire lamp. The lamp has a base assembly and a detachable light source assembly that can be separated and reconnected. This allows components like the LED board or driver to be swapped out without replacing the entire lamp. It also reduces waste since accessories can be recycled separately. The base assembly has a torsion spring that applies pressure to hold the light source in place when connected.
23. LED Lamp with Detachable Light Source and Base Assembly Using Torsion Spring Mechanism
LIN YUNYE, 2019
LED lamp with detachable components for convenient maintenance. The lamp has a base assembly and a light source assembly that can be easily separated and replaced when needed. This avoids the need to replace the entire lamp if just one component fails. It also allows recycling of the separated components instead of scrapping the whole lamp. The lamp uses a torsion spring mechanism to connect the base and light source for detachability.
24. LED Lighting Fixture with Independently Replaceable Modular LED Units
Suncall Corporation, 2019
LED lighting fixture with modular replaceable LED modules that allows easy maintenance by replacing faulty modules without replacing the entire fixture. The fixture has a frame, power supply, circuit board, LED modules, connectors, insertion members, fastening members, and cover. The LED modules are independently installed in the frame using rotatable insertion members and fasteners. If a module fails, the engagement is released to swap just that module.
25. LED Lighting Assembly with Detachable Interlocking Upper and Lower Light Source Parts
Xu Sun, 2019
LED lighting assembly with detachable parts for easier replacement and repair. The assembly has a detachable light source body that can be separated into upper and lower parts. The upper part has protrusions that fit into slots on the lower part. This allows the light source body to be disassembled and reassembled by sliding the parts together. The detachable design enables easier access to components like the LEDs and driver for servicing. It also allows swapping out the light source body if needed, like if the LEDs fail.
26. Modular LED Street Light with Vertical Layer Assembly and Integrated Heat Sink Driver
KURMAEV ILNUR KHANYAFIEVICH, 2018
A modular LED street light design with improved maintainability and thermal management. The light is assembled in vertical layers starting from the bottom. The layers are a printed circuit board with LEDs, secondary optics, and then a glass cover. This allows easy removal and replacement of just the failed LED board without disassembling the entire light. The driver is placed at the bottom where it serves as a heat sink for the LEDs above. This transfers the heat to the light housing for better dissipation.
27. Modular LED Light Source Assembly with Detachable LED Unit and Integrated Waterproof Plug
Dongguan Shuohua Optoelectronics Technology Co., Ltd., 2018
LED light source assembly that allows easy replacement of damaged LEDs without requiring professional tools or disassembly of the entire lamp. The assembly has a modular design with a bracket, lamp holder, and detachable LED assembly. The lamp holder has an insert block that fits into the lamp housing and a bracket that screws to the housing. The LED assembly fits into the holder groove and has a wider connecting plate. The LED holder and assembly are fixed together in the bracket. A waterproof plug connects power from the bracket to the LED assembly. This allows replacing just the LED assembly if it fails without disassembling the whole lamp.
28. LED Light Source Assembly with Boss-Shaped Lamp Bead and Retaining Ring Integration
Dongguan Shuohua Optoelectronics Technology Co., Ltd., 2018
LED light source assembly that allows easy replacement of damaged LEDs without needing specialized tools or disassembly of the entire lamp. The assembly has a boss-shaped lamp bead assembly with a wider connecting plate and a narrower lamp bead portion. The lamp bead assembly fits into a retaining ring on the lamp holder. Waterproof plugs connect power to the lamp bead assembly without needing to disassemble the lamp. This allows replacing faulty LEDs by just swapping the boss-shaped assembly.
29. Detachable LED Lamp with Internal Heat Sink and Elastic Support Rod for Circuit Board Removal
Hangzhou Ande Electronics Co., Ltd., 2018
Detachable high power LED lamp with improved serviceability and heat dissipation. The lamp has a housing with an open end and a heat sink inside. The light source board is mounted near the open end and supported by an internal plate. A passage connects the board to the housing. The driving circuit board has a slot and passes through the housing. An elastic support rod holds the circuit board in place. This allows easy removal of the circuit board for repair. Channels in the boards and through holes provide pathways for heat dissipation.
30. Modular Automotive LED Combination Lamp with Detachable Components and Plug-In Shaft Mechanism
Yancheng Shuangli Electric Motor Co., Ltd., 2018
Quick disassembly and assembly automotive LED combination lamp for easy replacement in emergency situations. The lamp has a modular design with detachable components that can be quickly swapped out. The lamp has a mounting substrate with the main LED and smaller LEDs, a cover, control circuit board, and a plug-in shaft. The plug-in shaft connects to the vehicle body. The lamp cover attaches to the inner wall of the headlight housing. This allows the lamp components to be easily removed and replaced by disconnecting the plugs.
31. Modular LED Tube Spotlight with Replaceable Light Source and Driving Assembly
Tian Chunwen, 2018
LED tube spotlight that can replace the driving and light source panel assembly for easier maintenance and repair. The spotlight has a lamp housing, driving housing, top cover, light source board, heat conducting plate, diffusion board, and power source. The lamp housing screws into the driving housing. The top cover connects to the driving housing with a buckle. The power source is inside the driving housing. The light source board attaches to the heat conducting plate below the power source. The power source connects to the light source board through a hole in the plate. The diffusion board is at the bottom of the lamp housing. This allows separating and replacing just the light source board and driving components without replacing the whole spotlight.
32. AC LED Lamp with Modular Replaceable Light Source and Enhanced Heat Dissipation Design
Ng Ban Soon, 2018
An AC LED lamp with a replaceable LED light source that addresses the issues of existing LED lamps, especially DC LED lamps. The lamp has a modular design where the LED light source can be easily removed and replaced without needing to replace the entire lamp. This reduces waste compared to integrated lamps where the entire lamp needs to be replaced if the light source fails. It also allows for more convenient and cost-effective repair or replacement of damaged lamps. Additionally, the lamp has improved heat dissipation compared to traditional lamps due to a better design that allows more effective transfer of heat from the LED light source to the heat radiator.
33. Modular LED Lamp with Replaceable Component Parts and Fixed Frame Structure
SHENZHEN AMB OPTOELECTRONICS TECH CO LTD, SHENZHEN AMB OPTOELECTRONICS TECHNOLOGY CO LTD, Shenzhen Fuluwo Optoelectronics Technology Co., Ltd., 2018
Modular LED lamp design that allows individual component replacement instead of replacing the entire lamp when components fail, reducing cost and extending lamp life. The lamp has a hollow shell with fixed frames for heat sink, power source, and light modules. The light modules have detachable parts like connectors, boards, and covers that can be swapped instead of replacing the whole module. This enables isolated component failure repair without replacing the whole lamp.
34. Modular LED Lamp with Independent Heat Sink and LED Engine Modules
Foshan Weiruike Technology Co., Ltd., 2018
Modular LED lamp with independent modules to prevent failure propagation and enable easy replacement of components. The lamp is made of multiple modular units that can be assembled together. Each module has a heat sink and an LED engine mounted on it. The LED engine consists of an aluminum substrate, LEDs on it, and a driver chip. The LEDs are separately driven by the chip, avoiding issues if one module fails as the rest continue working.
35. LED Point Light Source with Removable Modules and Arcuate Water-Repellent Cover
Guangzhou Mingzhi Lighting Development Co., Ltd., 2017
LED point light source that is easy to maintain by allowing quick replacement of failed modules without disassembling the entire fixture. The light source has an arcuate water-repellent cover screwed onto the lamp tube. Inside, an LED circuit board with multiple removable LED point source modules is above a fin group. A transparent pressure plate covers the circuit board and LEDs protrude through it. To replace a failed module, simply unscrew the cover, remove the module, and install a new one. No need to disassemble the entire fixture.
36. Modular LED Headlight with Replaceable LED Modules and Internal Circuit Board
CHUN-HSIEN KUO, 2017
A modular LED headlight design for vehicles that allows easy replacement of individual LED modules without replacing the entire headlight. The headlight is shaped like a traditional bulb and fits into a standard headlight socket. The bulb-shaped headlight has an internal body, circuit board, and two LED modules positioned on opposite sides of the board. The body has an opening that goes through the headlight cup. This allows the body and LED modules to be inserted through the opening and into the cup. The circuit board remains inside the headlight. If an LED module fails, only the circuit board needs to be removed and replaced, instead of the entire headlight. This saves cost and reduces waste compared to replacing the whole headlight when a single LED fails. The headlight still provides full peripheral light since the modules are positioned on opposite sides of the circuit board.
37. LED Lamp with Replaceable Modules, Pogo Pin Electrical Connection, and Thermal Ring Heat Dissipation
Michael Joye, John James Hradnansky, 2017
LED lamp with replaceable LED modules and efficient heat dissipation. The lamp has a base, a heat sink housing, a LED module with a light source board and driver board, and pogo pins for electrical connection. The LED module self-registers with the lamp components for easy replacement. The LED board has power rings and a thermal ring. The driver board has pogo pins. Compressing the pins onto the rings connects power. The thermal ring contacts the heat sink for efficient heat transfer.
38. Modular LED Lamp Assembly with Detachable Components and Screw Connections
ANHUI WEIYI PHOTOELECTRIC LIGHTING CO LTD, 2017
Detachable LED lamp module for easy maintenance and repair of LED lighting fixtures. The module allows individual components like the light engine and driver circuit to be easily removed and replaced without disassembling the entire lamp. This reduces cost and downtime compared to replacing the entire lamp. The module has screw connections between the light engine, driver, and lamp body to enable easy disassembly and assembly. The light engine has a removable cup, cover, and contacts. The driver has a removable front cover and double panel. The lamp body has removable covers and a screwed connection between the engine and body.
39. LED Replacement Module with Detachable Attachment for Vehicle Headlight Integration
OSRAM GmbH, 2016
LED replacement module for vehicle headlights that can replace conventional halogen bulbs. The module has a detachable attachment that fits into the existing headlight housing. It contains the LED light source and necessary electronics. The detachable design allows easy replacement of the LED module without having to remove the entire headlight assembly. It provides a drop-in replacement for halogen bulbs in existing headlights.
40. Modular LED Lamp with Separately Replaceable Driver, Control Module, and LED Modules
ZHANG LI, 2016
LED lamp design that allows independent replacement of components like driver, control module, and LED modules to reduce waste when they fail. The lamp has a separate base, shade, and fixings for detachable components like LED modules, driver, and control. The components are electrically connected in series using conductive lines. This allows replacing just the failed component instead of the whole lamp when it fails.
41. Automotive Headlight Lamp Assembly with Detachable LED and Light Guide for Consistent Cutoff Position
DEUTSCHE BANK AG NEW YORK BRANCH, 2016
Lamp assembly for automotive headlights that allows easy replacement of the LED without affecting the correct position of bright/dark cutoff. The lamp assembly has a detachable LED connected to a housing with a larger LED area than the entrance window. A guide member directs the light through the window. This allows replacing the LED without changing the cutoff position because the larger LED fills the window and the guide maintains the light path.
42. Street Lighting System with Parallel-Connected Snap-Fit LED Modules and Cable-Driven Maintenance Access
JIANGXI YINJIANG ELECTRONICS CO LTD, 2016
Modular street lighting system with replaceable LED modules for easy maintenance and lower cost compared to integrated LED fixtures. The modular lighting consists of a pole, lamp assembly, and multiple interchangeable LED modules housed inside. The modules are connected in parallel to the power supply. This allows individual modules to be replaced without affecting the others. The modules are snap-fit into the housing. The lighting also has a cable-driven pulley system to raise and lower the lamp assembly for maintenance access. The modules are bonded to heat sinks with high thermal conductivity silica to improve cooling.
43. Modular LED Lamp with Replaceable LED Boards and Conductive Post Connection System
WENZHOU HAILAN IND DESIGN CO LTD, WENZHOU HAILAN INDUSTRIAL DESIGN CO LTD, 2016
Modular LED lamp with replaceable LED boards to reduce maintenance cost compared to replacing entire lamps. The lamp has a hollow tube shell with fixed base. Multiple LED boards are interspersed in the hollow tube. Each board has LEDs on one end and a conductive post on the other end. The posts connect to the base through contact holes and mating connectors. This allows removing and replacing damaged boards without replacing the entire lamp.
44. Detachable LED Tube Lamp with Interlocking Drive and Light Source Assemblies
JIANGMEN CENTRAL ASIA PHOTOELECTRIC CO LTD, 2016
A detachable LED tube lamp that allows easy replacement of components to avoid waste and simplify maintenance. The lamp has a removable drive assembly that connects to a detachable light source assembly. This allows swapping just the damaged component instead of the whole lamp. The drive assembly has a mounting groove with a positioning hole and the light source assembly has a snap block with a matching positioning hole. The snap block fits into the groove to connect the assemblies.
45. LED Light Module with Detachable LED Board and Pin-Based Connection System
ANHUI DUDELI ELECTRONICS CO LTD, 2016
LED light module that is easy to replace individual LEDs without replacing the entire module. The module has a detachable LED board that can be swapped out when an LED fails. The LED board connects to the main frame and driver board via pins. This allows isolating and replacing just the failed LED board instead of the entire module when an LED burns out.
46. Modular LED Street Light with Replaceable Component Architecture
FOSHAN PUBO ELECTRICAL CO LTD, 2015
Modular LED street light design that aims to provide high efficiency, long life, environmentally friendly street lighting with simple installation. The light uses modular LED components that can be easily replaced and swapped to allow customization and maintenance without requiring complete lamp replacement. The modular design allows individual components like drivers, lenses, and LED boards to be independently swapped out for repair or upgrade, reducing overall lamp replacement costs and waste. The modular LED street light aims to improve sustainability, reduce energy consumption, and provide flexible customization options compared to traditional fixed LED street lights.
47. Modular LED High Bay Light with Curved Housing and Removable LED Module
TANG DEMING, 2015
Energy-efficient LED high bay light with improved life, ease of installation, and maintenance. The light has a modular design where the LED module can be easily removed and replaced without replacing the whole fixture. The light uses a curved lamp housing with a heat sink, lens, and waterproof ring. The housing attaches to a boom for easy installation. The LED module slides into the curved housing. This allows access to the module for repair or replacement without disassembling the whole fixture.
48. Modular LED Lamp with Separate Light Source and Power Supply Modules
LI JINBO, 2015
A modular design for LED lamps that allows easy maintenance and replacement of components without needing to replace the entire lamp. The lamp has separate modules for the LED light source and the power supply. The light source module contains the LED chips on a PCB and is attached to the upper half of the lamp housing. The power supply module with driving electronics is attached to the handle section. This allows replacing just the faulty module instead of the whole lamp when components fail. It also enables separating the temperature sensitive LEDs from the heat generating power supply for better thermal management.
49. Modular LED Lamp with Detachable Components and Mating Features for Assembly and Maintenance
SHENZHEN HONGYUN ZHIYUAN ENERGY SAVING TECHNOLOGY CO LTD, SHENZHEN HONGYUN ZHIYUAN ENERGY SAVING TECHNOLOGYCO LTD, 2015
Modular LED lamp with detachable components for easier assembly, maintenance, and cost savings compared to traditional welded lamps. The lamp has a modular design with separate components like the lamp cover, LED light source, driving power supply, and heat sink that can be easily connected and disconnected. This allows replacing damaged parts without replacing the whole lamp. The components have mating features like clamps, pins, and grooves to ensure proper electrical and mechanical connections. The detachable design simplifies assembly by avoiding welding and allows separating the lamp sections for maintenance. It also enables customizing lamp configurations by swapping components.
50. Lamp Body with Detachable Modular LED Units and Integrated Mounting, Wiring, and Cooling Channels
SHANGHAI YUANMING LIGHTING TECHNOLOGY COMPANY LTD, 2015
Modular LED lamp design that allows easy customization and maintenance by using detachable LED modules. The lamp body has mounting points for LED modules with wiring and cooling channels. The modules can be easily swapped for different brightness or beam patterns. This enables mixing and matching of modules to configure lamps for specific applications. It also simplifies repair and replacement of failed modules compared to integrated lamps with fixed LED sources.
Due to requiring less maintenance and making repairs easier, these innovative techniques for easily repairable vehicle lighting systems will help both owners and drivers. These technologies have the ability to enhance road visibility and driving safety simultaneously.
Get Full Report
Access our comprehensive collection of 53 documents related to this technology
