Automotive Lighting Resistant to Rough Weather Conditions
Automotive lighting systems face persistent environmental challenges, with moisture ingress and thermal cycling leading to lens fogging, ice formation, and degraded illumination. Field data shows condensation can reduce light output by up to 30%, while ice accumulation in sub-zero conditions can completely obstruct critical safety lighting systems within hours.
The engineering challenge centers on maintaining optical clarity and performance across extreme temperature ranges (-40°C to +80°C) while managing moisture migration through necessarily vented lamp housings.
This page brings together solutions from recent research—including radiation-based heating elements, hygroscopic moisture management systems, advanced ventilation architectures, and multi-material lens designs. These and other approaches focus on achieving long-term reliability while meeting strict automotive safety and durability requirements.
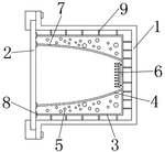
1. LED Car Light Module with Internal Air Circulation and Dehumidification System
DANYANG ZHONGYIDA PHOTOELECTRIC TECH CO LTD, DANYANG ZHONGYIDA PHOTOELECTRIC TECHNOLOGY CO LTD, 2024
Self-anti-fogging LED car light module that eliminates fogging inside the light housing during bad weather conditions like fog and rain. The module has an internal air circulation system with an inlet fan, exhaust fan, and dehumidifier. The fans rapidly circulate air to quickly match the temperature inside the module to the external environment, preventing fogging. The dehumidifier removes moisture from the incoming air. A replaceable dehumidifier column can be swapped out when needed.
2. LED Car Light Module with Sealed Housing and Integrated Shock Absorption Mechanism
SHANGHAI LUANMING AUTOMOBILE TECH CO LTD, SHANGHAI LUANMING AUTOMOBILE TECHNOLOGY CO LTD, 2023
A waterproof and earthquake-resistant LED car light module that prevents damage to the circuit board and LEDs when exposed to water and vibrations during driving. The module has a mask with a shell on the rear, a front side light module, wick, sealing ring, and housing. The housing has a light source drive assembly, buffer plate, and fixed connection. This structure provides waterproof sealing and shock absorption to protect the internal components from moisture and vibration.
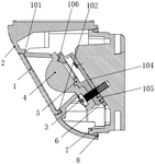
3. Protective Shell for Car Lights with Integrated Moisture Extraction and Vibration Dampening System
CHANGZHOU YONGGUANG VEHICLE CO LTD, 2023
Protective shell for car lights that prevents moisture accumulation inside the lamp and improves vibration resistance. The shell has a frame, a load-bearing frame inside the frame, a gas collecting cover on the upper side of the frame, and a fan connected to the outer wall of the frame. The fan extracts moist air inside the frame through a duct to prevent water mist buildup. The load-bearing frame supports the lamp body to reduce vibration.
4. LED Car Light Module Housing with Slot-Based Intermodule Sealing and Spring-Loaded Impact Buffering Mechanism
DANYANG ZHONGYIDA PHOTOELECTRIC TECH CO LTD, DANYANG ZHONGYIDA PHOTOELECTRIC TECHNOLOGY CO LTD, 2023
LED car light module housing with improved sealing and impact resistance. The housing has slots for multiple LED modules to increase sealing between modules. The housing also has a sliding mechanism with a spring that allows the housing and sealing sleeve to slide together. When impacted, the spring compresses to buffer the force and prevent housing damage. The housing and sleeve completely wrap the connection to further increase sealing.
5. LED Floodlight with Boat-Shaped Housing and Integrated Water Baffle System
SHENZHEN SIMINGSHENG TECH CO LTD, SHENZHEN SIMINGSHENG TECHNOLOGY CO LTD, 2023
LED floodlight with high waterproof performance to prevent water ingress and improve floodlight reliability. The floodlight has a boat-shaped housing with a water baffle protrusion along the bottom that forms a holding tank. The PCB, power supply, and LEDs are mounted inside the housing. A removable sealing gasket covers the water baffle upper end. A limiting plate contacts the water baffle and reflector upper end. This creates a water storage tank between the baffle and housing. The gasket seals the upper end and prevents water entry. The baffle and tank prevent water ingress into the floodlight components.
6. Lamp Body Structure with Integrated Waterproofing and Heat Dissipation Ventilation System
HANGZHOU YOUHUAN LIGHTING APPLIANCE CO LTD, 2023
Waterproof lamp body structure that prevents water ingress while allowing heat dissipation. The structure includes a shell, glass plate, reflector, partition, LED light, signal line, limit frame, annular frame, and vent. The vent allows airflow for heat dissipation while the other components prevent water entry. The vent is positioned to align with the heat dissipation holes in the lamp body. The partition separates the LED light from the signal line to prevent water from short-circuiting the electronics. The limit frame holds the LED light and the annular frame surrounds the entire assembly. The vent is a small opening between the limit frame and annular frame to equalize pressure and allow airflow.
7. Outdoor Light Fixtures with Integrated Heat Sinks, Thermally Conductive Gaskets, and Sealed Enclosures
ABL IP Holding LLC, 2023
Waterproof outdoor light fixtures that provide improved thermal management and water ingress prevention. The fixtures have features like integrated heat sinks, thermally conductive gaskets, and sealed enclosures to dissipate heat and prevent water intrusion. The heat sinks help dissipate heat from the LEDs, and the thermally conductive gaskets around the lens and cover prevent condensation. The sealed enclosure prevents water ingress even in harsh environments.
8. Headlamp Heater with Infrared Emitting Element and Directed Radiation Pattern
PACCAR Inc., 2023
A headlamp heater that uses radiation to prevent condensation and ice on the lens. The heater has a heating element that emits infrared radiation toward the lens. The radiation stimulates convection inside the headlamp to remove condensation and also melts ice/snow on the outside. The heating element is angled and shaped to direct the radiation pattern toward the lens in a way that matches the beam pattern of the headlamp bulb. This prevents condensation and ice without affecting the bulb or lens lifespan as fans or resistive wires can.
9. Forward LED Light with Integrated Heat Transfer and Temperature Sensing for Lens Deicing
MATRIX RAILWAY CORPORATION, 2023
A forward LED light with cooling capabilities to melt ice and keep the lens clear, using a heat transfer device and temperature sensing to distribute heat from inside the light to a heatsink cover on the outside. This allows the light to use its own heat to deice the lens and prevent obstructions in cold and snowy conditions. The device detects low temperatures inside the light and activates a heating element on the front heatsink cover to generate more heat for deicing.
10. Vehicle Lamp Housing with Ventilating Pipes and Integrated Desiccant for Moisture Control
GUANGZHOU SANWEI PHOTOELECTRIC TECH CO LTD, GUANGZHOU SANWEI PHOTOELECTRIC TECHNOLOGY CO LTD, 2023
Waterproof vehicle lamp with improved sealing to prevent water ingress and internal moisture accumulation. The lamp has a housing with ventilating pipes that contain a water-absorbing desiccant. The ventilating pipes connect to the outside to allow air exchange. A sealing ring on the cover mates with the housing. A protrusion on the housing mates with a sealing gasket on the cover. This prevents water entry while allowing ventilation.
11. Vehicle Lamp Housing with Air Circulation Duct and Strategic Ventilation Openings
ICHIKOH IND LTD, 2023
A vehicle lamp housing design that prevents condensation inside the lamp by actively circulating air. The housing has openings that connect the lamp chamber to an air circulation duct. This allows air to flow through the chamber, preventing moisture buildup on the lens. The openings are strategically placed to maximize airflow and minimize stagnant areas. The housing can also have breathing structures to further vent the chamber. This active air circulation prevents dew condensation on the lens inner surface.
12. Automobile Lamp Sealing Structure with Integrated Moisture-Absorbing Pad and Waterproof Interface
CHANGZHOU SIWEITE TECH CO LTD, CHANGZHOU SIWEITE TECHNOLOGY CO LTD, 2023
Automobile lamp sealing structure with independent moisture absorption capability to improve waterproofing over time. The structure has a lamp cover with a waterproof pad between it and the shell. A moisture-absorbing pad is positioned around the reflector inside. This absorbs any water vapor generated inside the lamp to prevent it from condensing on the optics and affecting light output. The bolted connection between the cover and shell provides a tight seal. The moisture-absorbing pad addresses the issue of degraded sealing due to internal moisture buildup.
13. Sealed Aluminum-Housed LED Light Source with Acrylic Fiber and Glue-Filled Sealing Block
LIAO TONGYIN, 2023
Waterproof acrylic fiber outdoor light source that is suitable for harsh outdoor environments. The light source has a sealed aluminum housing with an aluminum circuit board inside. LED lamp beads are mounted on the board and face the acrylic fiber. The fiber extends from one end of the housing. The fiber, lamp beads, and circuit board are sealed inside the housing using a glue-filled sealing block. This improves waterproofing and allows the light source to be used outdoors. The housing has reserved installation holes for easy mounting.
14. Headlight Assembly with Ventilation Element and Permeable Opaque Barrier for Fog Prevention and Light Containment
Valeo Lighting Company, VALEO VISION, 2023
Headlight design that prevents fogging while maintaining light containment. The headlight has a ventilation element to allow water vapor exit while preventing liquid water entry. The ventilation element leads to a permeable portion of an opaque element between the ventilation and exterior glass. This allows dry air to flow through the permeable part to prevent fogging, while the opaque part prevents light leakage. A deflector can direct airflow through the permeable part. This allows water vapor escape while preventing fogging without compromising light containment.
15. Dust Cover for Car Lamps with Air-Permeable Film and Hygroscopic Moisture Absorbent
DesiKhan Co., Ltd., 2022
Dust cover for car lamps that prevents fogging and moisture buildup inside the lamp housing. The cover has a housing with an air-permeable film sealing one end. Inside the housing is a moisture absorbent made of hygroscopic material like magnesium chloride, a curable inorganic substance, and polymer wax. The absorbent expands when wet to block moisture ingress. The cover seals the housing opening to prevent airflow and moisture ingress while allowing water vapor out. This prevents dew condensation inside the lamp. The absorbent keeps humidity low for extended periods by absorbing and holding moisture. The cover has specific absorbent compositions and moisture properties for optimal performance.
16. LED Lamp with Sealing Structure for Water Ingress Protection in Automotive Applications
FOSHAN DIXILIE ELECTRONIC TECH CO LTD, FOSHAN DIXILIE ELECTRONIC TECHNOLOGY CO LTD, 2022
A waterproof LED lamp for cars that prevents water ingress into the lamp housing and damage to the LED holder. The lamp has a base, an LED holder, and a sealing structure. The LED holder is fixedly connected to the base, and the base is fixedly connected to the lamp housing. The sealing structure surrounds the LED holder to prevent water from entering the gap between the base and housing. This prevents water from getting inside the lamp and damaging the LED holder.
17. LED Lamp Enclosure with Self-Adjusting Airflow Channels and Sliding Waterproof Baffles
JIANGSU SUNRAY TECH CO LTD, JIANGSU SUNRAY TECHNOLOGY CO LTD, 2022
LED lamp with self-adaptive waterproofing and heat dissipation for outdoor applications. The lamp has an enclosure with separate air intake and exhaust channels. A waterproof assembly seals the intake and prevents moisture ingress when there's a lot of water. A water level sensor triggers closing the intake and exhaust when water accumulates. A sliding mechanism moves the waterproof baffles in and out. When water is low, the baffles retract to allow airflow. When water is high, they close to block ingress. This provides adaptive waterproofing without sacrificing heat dissipation.
18. LED Lamp with Integrated Surface Heater and Enclosed Air Path for Snow and Condensation Prevention
HOTALUX LTD, 2022
LED lamp design to prevent snow adhesion and freezing in harsh environments like airport landing lights. The lamp has an LED module, light distribution component, and heater inside a housing with a transparent cover. The heater is on the cover surface in the light path. This melts any snow that lands on the cover before it freezes. The LED module and cover form an enclosed space between them. The heater heats this air path to prevent internal condensation.
19. Headlight Assembly with Protruding Section and Airtight Sealing Grooves for Moisture Control
HAIDE LAITE AUTO PARTS CO LTD, 2022
Car headlight with improved anti-fog performance and moisture protection. The headlight has a protruding section on the housing that extends into the lamp cover. Connections grooves on the cover and housing allow sealing rings to create an airtight seal around the protrusion. Moisture-proof plates snap onto the protrusion and cover to absorb internal moisture. This prevents fogging and condensation inside the headlight. The compact design has separate chambers for daytime running, low beam, and high beam/fog lights within the protrusion.
20. LED Light Assembly with Heat Shrink Tube and Fusible Insulator Sealing Technique
Ledup Manufacturing Group Limited, 2022
Waterproof outdoor LED light that can withstand exposure to moisture and weather. The light uses a unique waterproofing technique to seal the LED components inside a heat shrink tube. This involves partially melting a fusible insulator between the LED leads and connections, then shrinking a heat shrink tube over it to create a watertight seal around the LED. This protects the LED core from water ingress while allowing heat dissipation. The sealed LED core can be used in applications like outdoor lighting, where moisture resistance is important.
21. Sealed Lighting Device with Desiccant-Filled Reflector Chamber and Transparent Cover
ZHENGZHOU CITY BRIGHT LIGHTING ENGINEERING LIMITED CO, ZHENGZHOU CITY BRIGHT LIGHTING ENGINEERING LTD CO, 2022
All-weather sealed waterproof and anti-fog lighting device for outdoor applications that prevents internal water accumulation and fogging. The device has a sealed housing with a desiccant-filled reflector chamber. The reflector extends into the housing and has an opening covered by a transparent cover. The LED lamp is mounted inside the sealed housing. The sealed design prevents water ingress and prevents condensation by absorbing moisture with the desiccant.
22. LED Lamp Bead with Fixed Base and Weather-Resistant Housing Incorporating Integrated Driver and Wireless Communication
ZHONGHUANGGUANG ELECTRONIC CO LTD, 2022
LED lamp bead with improved weather resistance and intelligence for outdoor applications. The lamp bead has a fixed base with mounting blocks on the bottom. A weather-resistant lamp housing is attached to the top of the base. The housing has a layer of silver glue inside, coated with a weather-resistant coating on the outside. This provides a sealed enclosure to protect the internal components from moisture and contaminants, improving weather resistance compared to exposed reflective layers. The housing also allows for intelligent functions like LED driver integration and wireless communication.
23. LED Letter Lamp with Moisture-Absorbing Bag Integrated in Protective Cover Groove
HANGZHOU SDANID DISPLAY PRODUCTION CO LTD, 2021
LED letter lamp that prevents water ingress and prolongs lamp life by using a moisture-absorbing bag on the protective cover. The lamp has a housing, bottom plate, LED module, and a protective cover that encloses the module. A groove on the cover has moisture-proof bags fixed by a net. This covers the LED module and prevents water entering the housing. The bags absorb moisture in the housing to dry it out.
24. LED Floodlight with Threaded Shell and Silica Gel Sealed Moisture Barrier
ZHEJIANG JUJING LIGHTING TECH CO LTD, ZHEJIANG JUJING LIGHTING TECHNOLOGY CO LTD, 2021
Outdoor LED floodlight with waterproofing to prevent interior moisture from entering the circuitry and affecting operation. The floodlight has a shell with a threaded hole, a metal frame, a light-transmitting plate, and a bulb seat. An LED lamp is mounted on the bulb seat with a baffle separating it. The baffle has a gasketed round hole for the lamp. The threaded hole is filled with a silica gel column with a through hole. This seals the threading preventing water entry and moisture ingress into the floodlight interior.
25. Vehicle Lamp Housing with Integrated Heat Sink, Fan, and Water-Resistant Features
PANASONIC IP MAN CORP, PANASONIC IP MANAGEMENT CORP, 2021
Vehicle lamp with improved heat dissipation and water resistance. The lamp has a housing, light source, outer lens, heat sink, fan, and intake port. The heat sink and fan are attached to the housing to dissipate heat from the light source. The fan pulls air in through the intake port. The heat sink and fan are arranged in a specific configuration inside the lamp housing to optimize airflow. The outer lens has a water impermeable filter that prevents water ingress. The intake port has a cover that can be opened for cleaning. The lamp also has a drainage path to evacuate any water that does enter the housing through the intake port. The lamp's heat dissipation and water resistance are improved through the optimized airflow path, water-blocking filter, and drainage feature.
26. Car Light Assembly with Integrated Optical Lens and Heat Dissipation System
70MAI TECH WUXI CO LTD, 70MAI TECHNOLOGY CO LTD, 2021
Waterproof car light for electric vehicles like scooters that provides high brightness, water resistance, and sealing for improved safety and convenience. The light has a housing with an optical lens, a light source assembly, and a heat dissipation assembly. The light source and heat sink are connected with thermally conductive glue. The lens has a positioning column that matches a slot in the housing to securely install it. The lens also has welding ribs that connect to the housing for additional sealing.
27. Automotive LED Headlight with Integrated Ventilation, Heating, and Hydrophobic Coating System
JIANGSU FUXIN ELECTRONIC LIGHTING TECH CO LTD, JIANGSU FUXIN ELECTRONIC LIGHTING TECHNOLOGY CO LTD, 2020
An automotive LED headlight with built-in defogging features to prevent internal fogging in cold weather. The headlight has vent pipes at the corners of the light board that connect to a ventilation tube. This allows airflow to circulate and prevent stagnant moisture. The housing also has a humidity sensor to monitor internal conditions. The light board has heating sheets below the beams to prevent condensation. The inner wall of the housing is coated with a hydrophobic layer to spread and drain moisture. This comprehensive defogging system eliminates internal fogging in LED headlights.
28. All-Plastic Outdoor Floodlight with Integrated Heat Sink and Sealed Adjustment Mechanism
XIAMEN STAR LIGHTING CO LTD, 2020
All-plastic outdoor floodlight with improved waterproofing, insulation, and angle adjustment compared to conventional floodlights. The floodlight uses full plastic covers, an integrated heat sink, sealed modules, and an adjustable mechanism. The plastic covers are buckled together for waterproofing. The LED module is pressed onto the heat sink with sealed glue. The drive module and power box are sealed with glue. This prevents water and dust ingress. The adjustment mechanism uses hinged frames and positioning pieces to securely lock the floodlight at any angle.
29. Motorcycle Headlight with Integrated Drying Structure for Fog Prevention
CHANGZHOU YONGGUANG VEHICLE IND CO LTD, CHANGZHOU YONGGUANG VEHICLE INDUSTRY CO LTD, 2020
A motorcycle headlight that prevents fogging in adverse weather conditions like winter, rain, and fog. The headlight has an outer shell, a reflective bowl inside the shell, an LED lamp in the bowl, and a drying structure on the shell away from the lamp shade. The reflective bowl and outer shell are fixed together. The drying structure allows airflow to prevent moisture from accumulating and fogging the lens.
30. LED Lighting Device with Finned Heat Sink, Irregular Recesses, and Convex Lens Sealing Cover
QUASAR CO LTD, 2020
A lighting device using an LED light source that provides efficient heat dissipation, waterproofing, and light directionality. The device has a heat sink with finned surfaces, an LED substrate on top, and a sealing cover. The heat sink has irregular recesses on its upper surface to promote heat transfer from the LEDs below. This prevents hotspots and improves thermal management. The recesses also improve waterproofing by blocking moisture ingress into the LED area. The LED substrate has features like wire passage openings, connector ports, and light-guiding concave shapes to further optimize heat dissipation, electrical isolation, and light distribution. The sealing cover has convex lens shapes that gradually widen towards the front and narrow towards the rear to diffuse and shape the light output.
31. Ground Lighting Fixture with Double Housing and Multi-Layer Sealing for LED Module Protection
Lee Sohee, 2019
Ground lighting fixture for trucks that provides improved sealing and waterproofing to prevent ingress of water and foreign matter into the LED module housing. The fixture has a double housing with a module housing containing the LED module, a heat sink, and wire insertion holes. A module cover seals over the insertion holes and protrudes to form a sealing space. A sealing member fills the spaces between the wires and the cover sealing area. The lamp housing has a matching shape and hole for the wires. This multiple sealing barrier configuration prevents water and debris from entering the module housing through the wires.
32. Vehicle Exterior Light Assembly with Desiccant-Integrated Heat Sink Chamber and Thermistor-Controlled Valve System
FORD GLOBAL TECHNOLOGIES LLC, 2019
Decondensation of vehicle exterior lights to prevent fogging and moisture accumulation inside the lamp housing. The solution involves placing a desiccant inside a heat sink chamber of the lamp's electronics. The desiccant collects moisture from the lamp cavity. A valve alternates between letting the desiccant absorb moisture from the cavity and letting it vent out when heated by the heat sink. A thermistor senses the heat sink temperature to determine when to open the valve. This allows the desiccant to dehumidify the lamp cavity.
33. Lighting Device with Internal Water Barrier for Source and Lens Isolation
CRYSTAL FOUNTAINS HOLDINGS INC, 2019
Water-resistant lighting device that prevents water leakage into the light source and electronics. It uses a water barrier material inside the housing cavity to isolate the light source and lens from water. The barrier intersects the direct volume between the light source and lens, and reflects volume between the light source and lens. The barrier impedes water entry and maintains consistent refractive index.
34. LED Light Source with Heat Sink and Sealing Mechanism for Moisture and Dust Control in Vehicle Enclosures
Xinchang County Sufan Software Technology Co., Ltd., 2018
High-brightness LED light source for waterproof and dustproof vehicles that prevents water and dust ingress and improves thermal management. The LED light uses a heat sink with a sealing rubber pad clamped to the vehicle's waterproof enclosure. The LED chips are mounted on an aluminum substrate inside the enclosure. A pumping device on the back of the heat sink increases air circulation to evaporate moisture. A longitudinal groove guides any moisture that enters the enclosure to the bottom of the heat sink. This prevents moisture accumulation on the LED chips or substrate.
35. LED Lamp Enclosure with Interlocking Casings and Injection Molded Sealing Films
Feng LI, 2018
A waterproof LED lamp closing structure that prevents water ingress at high pressures. The structure has two interconnected casings enclosing the LED light source. The casings have injection molded closing films on their connection surfaces that mate together to seal. This allows the lamp to be submerged at pressures up to 55 MPa without water entry.
36. Vehicle Lamp with Translucent Dual-Material Sensor Cover
KOITO MANUFACTURING CO., LTD., 2018
Lamp for vehicles that has a translucent cover over the sensor to maintain accuracy over time. The cover has two portions made of different materials. The main portion is a common material like polycarbonate. The smaller secondary portion is a more weather-resistant material like acrylic or glass. This prevents long-term degradation of the translucent material that affects sensor performance. The boundary between the two portions is designed to be visually seamless to prevent noticeable differences.
37. LED Floodlight with Sealed Housing and Integrated Water Diversion System
Zhangpu Bisu Optoelectronics Technology Co., Ltd., 2018
Waterproof long life LED floodlight with sealed housing to protect the internal components from water ingress. The floodlight has an opening on the LED emitting side for component assembly. A sealing ring prevents water entry. If water seeps in, a flow guide channels it away from the LEDs and power supply. The sealed housing allows the floodlight to have an extremely long life independent of external conditions.
38. LED Spotlight with Dual-Shell Waterproof Design and Integrated Desiccant System
ZHONGSHAN WESTING LAMP CO LTD, Zhongshan Westin Lighting Co., Ltd., ZHONGSHAN WESSTN LIGHT FIXTURE CO LTD, 2017
LED spotlight with waterproofing to prevent moisture ingress and damage to the internal components. The spotlight has a sealed outer shell with a desiccant pack between the inner and outer shells to absorb moisture. The inner shell has a heat sink, driving module, and LED light source module. The outer shell screws detach to access the inner components for maintenance. A waterproof glass and sealing ring protect the LED lens. The spotlight can be adjusted by rotating a bolt to separate the shells and reattach to aim the beam.
39. Sealed Housing Outdoor Lighting Device with Filler Material for Condensation and Freezing Protection
Korea Photonics Technology Institute, 2017
Outdoor lighting device that improves durability by protecting the light source from condensation and freezing caused by external environments. The device has a sealed housing with a light source inside. The housing has a removable transparent cover that seals against the housing. The inside of the housing is filled with a sealing material that can be liquid or solid. This filler seals the light source and cover interfaces and prevents internal condensation and freezing. The filler may also contain a heat conductor to transfer heat from the light source to the housing. This prevents heat buildup and condensation inside the housing.
40. Vehicle Lamp Housing with Moisture Barrier and Sublimating Material for Condensation Prevention
SL CORP, 2017
Vehicle lamp that prevents moisture from condensing inside the lamp housing and discharges it to the outside. The lamp has a moisture barrier covering the vent hole. The barrier lets dry air in and out but restricts moisture flow. It can have gore patches with coating to prevent airflow and sublimating materials like iodine or naphthalene that vaporize when hot. This stops internal moisture from condensing while allowing dry external air. The barrier shields the hole, discharges moisture, and prevents internal moisture from reaching electronic components.
41. LED Module with Sealed Lens and Gasket for Dust and Water Protection
ZHONGSHAN HEXIN LAMPS CO LTD, 2017
LED light source module with integrated dust and water protection for improved lighting performance. The module has a lens body with a sealing edge that abuts against the PCB below. A gasket is placed in the inner cavity of the sealing edge. This creates a sealed connection between the lens and PCB to prevent dust and water ingress into the module. The LED lamp body is mounted on an aluminum-based PCB. The sealed lens and PCB arrangement prevents dust and moisture from entering the module through gaps between the lens and lamp body.
42. Sealed Vehicle Lighting Device with Pressure Equalization and Moisture Absorption for OLED Headlights
DAIMLER AG, 2017
Vehicle lighting device with improved moisture management for organic LED (OLED) headlights. The device has a sealed housing with a pressure equalization element, a moisture absorbing element, and OLED light sources inside. The OLEDs emit light from the sealed interior. The moisture absorber removes interior humidity and the pressure equalizer prevents air pressure differences between inside and outside. This prevents condensation on the OLEDs and maintains light output.
43. LED Lamp with Sealed Dual-Chamber Housing for Enhanced Waterproofing and Vibration Resistance
HANGZHOU HPWINNER OPTO CORP, 2016
LED lamp with improved waterproof, vibration resistance, and impact resistance for outdoor applications like street lights. The lamp has a sealed housing with separate chambers for the light source and electronics. The light source chamber has a closed cavity with the LED module and lens, and the electronics chamber has the power supply. This prevents moisture, vibrations, and impacts from affecting the electronics. The chambers are connected through the lens to form a sealed cavity. The housing, lens, and gaskets provide waterproofing. The lens buckles onto the housing and has a sealing plug. The LED board can be mounted on the housing or a PCB. The lamp housing can detach from the translucent cover.
44. LED Lamp with Enclosed Housing and Sealed Post-Mounted Components
LIN JINSHAN, 2016
An LED lamp with improved waterproofing for outdoor use. The lamp has an enclosed housing that seals the LED light source and power supply module inside. The LED light source and power supply module are positioned within the housing using posts that extend through openings in the housing. This prevents water ingress between the components. The posts and housing openings are sealed to create a watertight enclosure around the lamp components.
45. Projecting Lamp with Radiator and Dual Cover System for Enhanced Sealing and Protection
NINGBO QICHI ILLUMINATION LAMP CO LTD, 2016
Projecting lamp with improved sealing and protection for longer lamp life. The lamp has a housing, radiator, reflector, LED panel, and covers. The radiator is on the housing back, with fins and a movable bracket. The reflector is inside the housing cavity. The LED panel is behind a second cover. The first cover has a transparent PC and silicone seal. The second cover is a transparent protective cover caught in the housing. This isolates the LEDs from the outside and prevents ingress. The covers prevent dust and moisture reaching the LEDs, improving reliability and longevity.
46. LED Navigation Light with Integrated Metal Housing, Embedded Lens, and Sealing Cap
SHENZHEN STAR STANDARD ELECTROMECHANICAL FACILITIES ENG CO LTD, SHENZHEN STAR STANDARD ELECTROMECHANICAL FACILITIES ENGINEERING CO LTD, 2016
LED navigation light with improved waterproofing, thermal management, and optical performance. The light uses a metal housing with an embedded secondary lens and a sealing cap. The lens and cap have through-holes that expose the lens partially. This allows light to exit through the lens and cap holes. The cap seals the housing opening. The lens and cap provide waterproofing and dust protection. The exposed lens area has cooling benefits, as heat can dissipate through the metal housing and air. The embedded lens improves light extraction efficiency compared to an external lens. The housing material conducts heat from the LED to the outside. The cap and housing seals protect the LED from moisture and debris. The design reduces weight by integrating the lens and using a metal housing for heat dissipation.
47. LED Lighting Fixture with Waterproof and Moisture-Permeable Housing Assembly
KEUMKYUNG LIGHTING CO LTD, LEE DONG WOOK, 2016
LED lighting fixture with waterproof and moisture permeability to prevent ingress of moisture into the fixture and release internal moisture to extend performance and lifespan. The fixture has a housing, a transparent cover over the LED module, and waterproof/moisture-permeable means around the opening between the housing and cover. This prevents external moisture entry while allowing internal moisture release. The means can be PTFE membranes on the cover and housing sides. This prevents moisture damage to the electronics by blocking external moisture while allowing internal moisture escape.
48. LED Lamp with Finned Housing, Rotating Frame, Embedded Rubber Seal, and Thermal Silica Layer
SHANGYU HUATENG ELECTRICAL CO LTD, 2016
LED lamp design with improved waterproofing, sealing, and protection against short circuits to extend lamp life. The lamp has a housing with fins, a translucent glass cover, a rotating frame, and LED light source. A rubber ring is embedded in the housing groove and glass cover edge to provide a better seal. An insulating layer separates the LED light source from the housing to prevent short circuits. A thermal silica layer is added to cool the LEDs.
49. LED Lamp with Sealed Housing and Integrated Moisture-Resistant Connection System
ZHEJIANG SHENGHUI LIGHTING CO, ZHEJIANG SHENGHUI LIGHTING CO LTD, 2016
Waterproof LED lamp with sealed housing to prevent moisture ingress when used in wet environments. The lamp has a sealed connection between the housing and shade, and a first seal member between the housing ends. This prevents water or vapor from entering the housing through the shade gap. The components like LED assembly and power supply are inside the sealed housing. The lamp can be used in wet locations like outdoors without damaging the internals.
50. LED Floodlight with Dual Compartment Sealed Housing and Thermal Expansion-Resistant Seals
NINGBO LIAOYUAN LIGHTING CO LTD, 2015
High power LED floodlight with improved waterproofing and dustproofing for outdoor lighting applications. The floodlight has a sealed housing with an internal compartment for the LED light source and driver. The housing has two areas, one for the LED components and the other for the driver. This allows separate thermal management for the LEDs and driver. The compartments are sealed with seals that prevent deformation due to thermal expansion/contraction of the LEDs. The floodlight also has features like waterproof connectors, gaskets, and a pressure equalization vent to prevent water ingress.
Innovative waterproofing techniques and cutting-edge heating systems are among the many of the advancements that ensure safe driving in adverse weather conditions. With development these vehicle lighting solutions should become even more practical and durable as technologies progress.
Get Full Report
Access our comprehensive collection of 53 documents related to this technology
