Projected Light Signals for Autonomous Vehicles
Modern automotive lighting systems must integrate multiple functions within constrained spaces while meeting strict safety and regulatory requirements. Current systems handle complex projection tasks—from basic road illumination to dynamic pattern generation—while managing thermal loads that can exceed 100W and maintaining precise optical alignment across temperature ranges of -40°C to 85°C.
The fundamental challenge lies in achieving high-precision light control and pattern projection while maintaining reliability, managing heat, and meeting automotive-grade durability requirements within size and cost constraints.
This page brings together solutions from recent research—including matrix LED systems with advanced filtering algorithms, digital micro-mirror devices with optimized duty cycles, and integrated visible/infrared projection systems. These and other approaches demonstrate how automotive lighting is evolving to support both traditional illumination and newer sensing and communication functions while meeting stringent automotive requirements.
1. Vehicle-Mounted LED and Laser Projector System with Adaptive Sensor-Controlled Road Surface Projection and Illumination
LUMILEDS LLC, 2025
Vehicle lighting system that uses projectors and sensors to improve safety and visibility for vehicles, pedestrians, and cyclists. The system uses LED and laser light sources positioned on the vehicle that can project information, warnings, and illumination on the road when the vehicle is in motion or stationary. The projections can follow moving objects, surround pedestrians, provide lane markings, and communicate messages. The system also provides spot illumination and reduced glare to improve visibility. It uses sensors to adapt the lighting based on road conditions, weather, and surroundings. The goal is to enhance safety and reduce accidents by providing targeted, optimized lighting to drivers, pedestrians, and cyclists.
2. Vehicle Light Emission System with Mode-Responsive Dynamic Light Pattern Control
KABUSHIKI KAISHA TOKAI RIKA DENKI SEISAKUSHO, 2025
A system to improve driver awareness during autonomous driving by dynamically adjusting the light emitted by the vehicle based on the driving mode. The system has a light emission device, control device, and mobile entity (vehicle) with the ability to change the driver's level of involvement in monitoring the surroundings during autonomous driving. The light emission device has multiple light sources that can be individually controlled to create different light patterns. The control device coordinates the light sources to display specific sequences and intensities based on the driving mode. This provides visual cues to the driver to indicate when they should pay more attention or take over control. For example, flashing lights might indicate an imminent handover request. The system aims to maintain driver engagement and confidence in autonomous driving by dynamically communicating the vehicle's driving state.
3. Autonomous Vehicle Communication System with State and Intent Display Icons on Front and Rear Displays
DIRECT CURRENT CAPITAL LLC, 2025
Communication methods for autonomous vehicles to improve safety and understanding between vehicles, pedestrians, and other road users. The methods involve displaying icons on the vehicle's rear and front facing displays to indicate its state, intent, and context. The icons are updated based on real-time conditions like intersection state or pedestrian presence. This provides a visual cue to following vehicles and pedestrians about the autonomous vehicle's actions. It helps prevent misunderstandings and conflicts when the vehicle can't use traditional signals like horns or lights. The displays can also project lights onto pedestrians or road to further enhance safety.
4. Autonomous Vehicle System with External Projection of Intent-Driven Content Based on Sensor-Derived Data
GM CRUISE HOLDINGS LLC, 2025
Projecting visible content outside autonomous vehicles to communicate intent and improve road safety. The system uses onboard sensors to gather routing and road agent data around the vehicle. It generates projection data with content based on that information. Projectors outside the vehicle display the content on surfaces like roads. This helps other road users understand the AV's actions and predict behavior. The projection parameters adjust based on sensor feedback to account for moving objects.
5. A Comparison of Segmentation Methods for Semantic OctoMap Generation
marcin czajka, michael krupka, daria kubacka - Multidisciplinary Digital Publishing Institute, 2025
Semantic mapping plays a critical role in enabling autonomous vehicles to understand and navigate complex environments. Instead of computationally demanding 3D segmentation point clouds, we propose efficient on RGB images projection the corresponding LIDAR measurements semantic OctoMap. This study presents comparative evaluation different methods examines impact input image resolution accuracy environment reconstruction, inference time, computational resource usage. The experiments were conducted using an ROS 2-based pipeline that combines LiDAR clouds. is performed ONNX-exported deep neural networks, with class predictions projected onto data calibrated extrinsic. resulting semantically annotated clouds are fused into probabilistic representation OctoMap, where each voxel stores both occupancy information. Multiple encoderdecoder architectures various backbone configurations evaluated terms quality, latency, memory footprint, GPU utilization. Furthermore, comparison between high low resolutions assess trade-offs model real-time applicability.
6. Optical Antenna Array Architecture with Optical Switch and Splitter for Solid-State Beam Steering in Coherent LIDAR Systems
AURORA OPERATIONS INC, 2025
Scalable and switchable optical antenna array architecture for coherent LIDAR systems that allows solid-state beam steering without mechanical moving parts. The architecture uses an array of optical antennas with an optical splitter and an optical switch. The switch selectively provides an input signal to one or more of the antenna arrays. This allows multiple antenna arrays to cover a wide field of view without scanning mechanisms. A lens collects the light and the arrays steer the beam electronically.
7. Autonomous Vehicle Road Projection System with Dynamic Trajectory and Boundary Visualization
DENSO CORP, 2025
Enhancing safety and trust for autonomous vehicles by projecting road notifications that convey the vehicle's future path and nearby areas where other road users can still move. The notifications are displayed on the road ahead of the vehicle using projectors. They consist of a boundary image showing the safe area around the vehicle's planned trajectory where other road users can coexist, and a trajectory image indicating the vehicle's path. The boundary image changes shape and size based on the vehicle's distance. This provides other road users a clear understanding of the vehicle's intended path and the surrounding space they can use.
8. LNT-YOLO: A Lightweight Nighttime Traffic Light Detection Model
syahrul munir, hueiyung lin - Multidisciplinary Digital Publishing Institute, 2025
Autonomous vehicles are one of the key components smart mobility that leverage innovative technology to navigate and operate safely in urban environments. Traffic light detection systems, as a part autonomous vehicles, play role navigation during challenging traffic scenarios. Nighttime driving poses significant challenges for vehicle navigation, particularly regard accuracy lights (TLD) systems. Existing TLD methodologies frequently encounter difficulties under low-light conditions due factors such variable illumination, occlusion, presence distracting sources. Moreover, most recent works only focused on daytime scenarios, often overlooking significantly increased risk complexity associated with nighttime driving. To address these critical issues, this paper introduces novel approach using LNT-YOLO model, which is based YOLOv7-tiny framework. incorporates enhancements specifically designed improve small poorly illuminated signals. Low-level feature information utilized extract small-object features have been missing because structure pyramid neck component. A SEAM attention module p... Read More
9. LiDAR System with Distance-Based Dynamic Temporal Scanning Pattern and Optical Emitter Array
THE CHARLES STARK DRAPER LABORATORIES INC, 2025
LiDAR system with adaptive scanning techniques to improve frame rate, accuracy, and safety by dynamically varying the temporal scanning pattern based on object distance. The system uses an array of optical emitters with an objective lens to scan the field of view. A controller routes laser light to the emitters based on distance to objects. This allows focusing more scans on nearby objects for higher resolution and frame rate while reducing scans of distant areas.
10. Waveguide Array with Resonator-Actuated Beam Steering and Integrated Monolithic SLM
TORCHLIGHT SOLUTIONS LLC, 2025
Practical, efficient beam steering for applications like LIDAR using arrays of waveguides with resonators that can be actuated to steer the beams without moving parts. The waveguides receive light normal to the surface they are on. Actuating the phase response of the resonators steers the beams without significant amplitude changes. This allows forming multiple steerable beams simultaneously from a single waveguide array. The beams can be detected separately to determine their origins and arrival times for improved accuracy. A monolithic SLM and microlens array can provide wide FOV steering.
11. Autonomous Vehicle Navigation System with Directional Structured Light Emitter and Receiver
HONEYWELL INTERNATIONAL INC, 2025
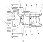
Structured light navigation aid for autonomous vehicles that uses emitted structured light patterns to improve navigation in GNSS-denied environments. The aid has a movable structured light emitter that projects patterns onto surfaces. A receiver captures reflected light to calculate navigation info. This provides a fixed, drift-free source vs. GNSS-prone drift. The emitter can change direction and pattern. This allows scanning to find suitable landing spots based on features.
12. LED-Based Steering Angle Indicator Using VL53L0X Sensor for Enhanced Road Safety
s ramkumar, 2025
This paper presents a cost-effective and innovative method for determining visually communicating vehicle's steering angle using VL53L0X distance sensor microcontroller-controlled LED array. The system replaces conventional sensors, offering scalable solution aimed at reducing road accidents due to uncommunicated vehicle turns. number of LEDs activated is directly proportional the angle, providing real-time visual cue trailing drivers. approach promotes enhanced safety while maintaining affordability ease integration.
13. Design and Implementation of a Vehicular Visible Light Communication System Using LED Lamps for Driving Dynamics Data Exchange in Tunnels
yongtaek woo, yeongho park, hyunkwang lim - Multidisciplinary Digital Publishing Institute, 2025
This study presents the design and implementation of a vehicular visible light communication (VLC) system that establishes an expandable VLC-based chain network within tunnel environments to facilitate exchange driving dynamics data, such as target speed acceleration, between consecutive vehicles. The primary aim proposed is improve road safety by reducing risk collisions hard braking events, particularly in tunnels, where limited visibility absence global positioning signals hinder drivers ability accurately assess conditions. A key feature its adaptive beam alignment mechanism, which dynamically adjusts orientation light-emitting diode (LED) module on transmitting vehicle based rhw wheel angle data estimated inertial measurement unit sensor. adjustment ensures continuous reliable link with surrounding vehicles, even when navigating curves tunnel. Additionally, can be integrated into actual vehicles minimal modification utilizing built-in lighting (i.e., LED taillights), offering cost-effective scalable solution achieve objective.
14. In-Vehicle Device with Road Projection System for Autonomous Vehicle Trajectory Indication
MITAC DIGITAL TECHNOLOGY CORP, 2025
In-vehicle device and driving trajectory projection method for warning nearby vehicles and pedestrians of an autonomous vehicle's intended path. The device projects a suggested driving trajectory onto the road ahead or behind the vehicle when it turns, reverses, or accelerates from a parked position. It calculates the trajectory based on turn signals, vehicle speed, and surroundings. This allows other road users to see the autonomous vehicle's intended path and react accordingly.
15. Automotive Lighting Assembly with Collimating Lens, Micro Lens Array, and Light Shielding Interlayer
SHANGHAI JINGSHEN ZHITENG TECH CO LTD, SHANGHAI JINGSHEN ZHITENG TECHNOLOGY CO LTD, 2024
Compact automotive high and low beam projection lighting assembly with improved shape and light dispersion. The assembly uses a collimating lens followed by a micro lens array with a focusing lens, light shielding interlayer, and projection lens in sequence. The micro lens array allows a compact size compared to conventional lenses. The light shielding interlayer on the focal plane of the projection lens reduces dispersion by blocking light rays that diverge too much. This improves the shape and uniformity of the light beam.
16. Vehicle Welcome Light with Configurable LED-Based Dynamic Projection System
Changzhou Xingyu Automotive Lighting Systems Co., Ltd., CHANGZHOU XINGYU AUTOMOTIVE LIGHTING SYSTEMS CO LTD, 2024
Welcome light for vehicles with dynamic projection capability. The light uses a configuration of LEDs, lenses, film, and projection lenses to project customized light patterns. The LEDs emit light that is condensed by lenses and passes through a grid and patterned film. This light with pattern information is then projected using dedicated lenses. The light pattern is created by splicing the projected beams from each LED. The control module can independently turn on/off the LEDs to dynamically project different patterns.
17. Non-Tilted Dynamic Projection System with Multi-Channel Micromirror Arrays and Aberration-Correcting Lenses
MINSHI HAILA AUTO PARTS CO LTD, MINSHI HAILA JIAXING AUTO PARTS CO LTD, 2024
A non-tilted dynamic projection system for vehicles that provides large, dynamic projection patterns without tilting the lamp. The system uses multiple non-tilted projection channels with multiple micromirror arrays (MLAs) and lenses to create a composite pattern. This allows projecting a larger image without tilting the lamp, as each channel contributes to the overall projection. The composite pattern is formed by synchronously driving the MLAs in each channel. This enables dynamic projections without the need for lens tilting or multiple MLA units. The system also uses multiple lenses in each channel for aberration correction to improve image quality.
18. Vehicle Lighting Device with Transfer Optics for Flexible Light Source Positioning
ZKW GROUP GMBH, 2023
A lighting device for vehicles that allows flexible positioning of the light source relative to the projection optics. The light source is arranged on one side of the inner focus of the projection optics at a distance from it, instead of directly at the inner focus. Transfer optics between the light source and inner focus image the source to the correct position. This allows moving the light source further away from the inner focus, enabling more compact lighting devices. The transfer optics map the light source to the inner focus location in the projected image.
19. Rotating Structure with Fixed Pattern Units for Projection Module in Lighting Devices
HASCO VISION TECH SHANGHAI CO LTD, HASCO VISION TECHNOLOGY CO LTD, 2023
Projection module for switchable patterns in projection devices like car headlights. The module has a rotating structure with multiple fixed pattern units. A driving mechanism rotates the structure to select and present different patterns. The patterns are projected by passing light through them using fixed components like condensers and imagers. This allows customizable projection effects by switching between the embedded patterns. The rotating structure with fixed patterns replaces a single fixed pattern component.
20. Sequential Projection Signal Lamp with Dual-Layer Lens and Multi-LED Light Source
HYUNDAI MOTOR CO, HYUNDAI MOTOR CO LTD, KIA MOTORS CORP, 2023
Sequential projection signal lamp for vehicles that can produce smooth sequential lighting images on the road using a two-layer projection lens setup. The lamp has a light source with multiple LEDs, shields, and lenses to collimate and converge the light. The two-layer projection setup allows better collimation and correction than a single-layer lens. The LEDs can be static or changing, and the overlapping projections from adjacent changing LEDs create a smooth sequential image. The lamp projects a clear, collimated road image with higher LED efficiency compared to single-layer lenses.
21. Projection Device with Single Collimating Lens and Patterned Film for Automotive Applications
CHANGZHOU XINGYU AUTOMOTIVE LIGHTING SYSTEMS CO LTD, 2023
Semi-dynamic projection device for automobiles that improves pattern consistency, reduces cost, and increases compactness compared to prior multi-lens designs. The device uses a single collimating lens and patterned film instead of multiple independent lenses. This eliminates lens assembly and alignment issues, reduces size, and allows more compact module design. The film's pattern is projected by collimating the light and controlling the light source. A single lens and collimating optics provide consistent projection without needing multiple independent lenses.
22. Device for Road Surface Image Projection Using Multi-Source Masked Light System
Koito Manufacturing Co., Ltd., 2023
A compact, inexpensive device for drawing images on road surfaces using light projection. The device has multiple light sources, a mask with corresponding windows, partitions between the light sources, and a common projection lens. Each light source illuminates a window on the mask, which projects the graphic onto the road through the lens. By individually activating the light sources, different graphics can be projected to draw a variety of images on the road.
23. Matrix Light Source Projection Method with Crosstalk-Compensated Intensity Filtering
VALEO VISION, 2023
A method for projecting high-precision patterns using a matrix light source in automotive headlights. The method involves filtering the light intensity parameters for each pixel in a projected image. The filtering takes into account the contribution of each pixel's light source to neighboring pixels due to crosstalk. This accounts for the matrix light source's non-homogeneous response. The filtered parameters are sent to the lighting unit to control the light sources.
24. Vehicle Turn Signal with Road-Projected Image via Lens Assembly
HAN XIAOGANG, 2023
Dynamic projection turn signal for cars that projects images onto the road to improve visibility and safety. The turn signal has a lens assembly with an image projected onto it using light from a circuit. This projected image is then visible on the road through the lens. The projection can be seen by pedestrians and other drivers to provide additional warning when the car is turning. The projection is enabled by connecting an external power source when the car is started.
25. Car Lighting System with Pixelated LED Projection and Angle Compensation
CHANGZHOU XINGYU AUTOMOTIVE LIGHTING SYSTEMS CO LTD, 2023
A dynamic and customizable car lighting system that enables projection of dynamic and static patterns onto the road using pixelated LED lights. The system has a main control module to receive lighting commands, an image processor to convert the commands into pixel patterns, and a power supply. The pixelated LED lights can be adjusted individually to display dynamic patterns. The image processor compensates for angle distortion to ensure accurate projection at any headlight angle. The main control module receives commands through the vehicle bus and stores patterns. This allows features like voice commands to trigger specific patterns.
26. Automotive Light Module with Integrated Micro Projector and Partially Transparent Scattering Screen
JetKave Group GmbH, 2023
Automotive light module with integrated projector and scattering screen for dual function lighting and communication. The module contains a micro projector with light source and projection optics. The projection screen element is partially transparent and scatters light. When the module is activated, the projector displays an image on the screen. Viewed from the front, the screen shows the projected image while viewed from the back, the screen appears lit. This allows the module to simultaneously function as a headlight and display device. The projector can project branding or symbols on the scattering screen for visible branding. The scattering screen protects the projector and hides it from view.
27. Vehicle Projection Device with Light Source, Beam Scanner, and Variable Image Brightness Control
BAYERISCHE MOTOREN WERKE AG, 2023
Compact projection device for vehicles that can project images of different brightness onto a surface in a visible manner. The device has a light source, scanner, and control unit. The light source emits a beam along an axis. The scanner scans the beam across the surface. The control unit generates images by varying light properties during a first projection using patterned scanning, then deferred projection with vector scanning or stationary beam. This allows projecting dark/bright images separately.
28. Vehicle Light Projection System with Separate Functional Beam and Pattern Projector Using Dioptric Optical Element
VALEO VISION, 2023
System for projecting multiple light beams from a vehicle to improve safety and visibility. It has separate devices for generating a functional light beam like a headlight and another device for projecting patterns on the ground. The pattern projector uses a dioptric optical element to shape the light and create patterns like grids or lines on the ground near the vehicle. This allows distinct functional lighting and dynamic ground projections for improved safety and communication.
29. Vehicle Projection System with Deflection Module Utilizing Multiple Reflecting Mirrors for Simultaneous Image Projection
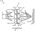
NINGBO SUNNY AUTOMOTIVE OPTICAL TECH CO LTD, NINGBO SUNNY AUTOMOTIVE OPTICAL TECHNOLOGY CO LTD, 2023
A projection system for vehicles that allows simultaneous projection of multiple images without needing multiple projection devices. The system uses a deflection module with multiple reflecting mirrors to steer the projection beam to different positions. This allows multiple images to be projected simultaneously from a single DLP-PGU projection system, reducing size, weight, cost, and power consumption compared to using multiple separate projectors. The deflection module can be designed based on application needs to steer the projection beam to different positions.
30. Vehicle Projection System with Multi-Lamp Sub-Pattern Integration and Dynamic Control
VALEO ICHIKOH AUTO LIGHTING CO LTD, VALEO ICHIKOH CHINA AUTO LIGHTING CO LTD, 2023
A projection system for vehicles that allows more complex and customizable light patterns compared to a single lamp. The system uses multiple projection lamps, each projecting a sub-pattern. The sub-patterns are combined to form a larger pattern. This allows more complex and dynamic patterns with adjacent borders compared to a single lamp. The lamps can have separate optical units and light sources, and can be connected in parallel or series. A controller changes parameters like content, size, brightness, and position for the dynamic lamps based on user input.
31. Vehicle Projection Lamp with Multiple Light Sources, Lens Guides, and Patterned Film
HASCO VISION TECH SHANGHAI CO LTD, HASCO VISION TECHNOLOGY CO LTD, 2022
Projection lamp for vehicles with dynamic patterns that has a simple structure, high light utilization, small size, and low cost compared to DLP-based systems. The lamp uses multiple light sources, lens guides, and a film to project dynamic patterns. The light sources project through corresponding lens guides onto the film at the focal plane of a projection assembly. The film carries sub-patterns that are spliced together by the projection assembly to create dynamic patterns when the lights are sequentially turned on. This allows dynamic patterns to be shown by individually controlling the lights.
32. Synchronized Sequential Image Projection System for Vehicle Direction Indication
ICHIKOH IND LTD, ICHIKOH INDUSTRIES LTD, 2022
Vehicle projection system that projects sequential images onto the road to indicate vehicle direction. The system has multiple light sources that project individual images in a specific order. The images are started simultaneously, peak simultaneously, and end simultaneously after a predetermined period. This synchronized timing creates a visual effect of flowing images. The images are projected using a lens system with separate light shielding areas for each light source. The controller coordinates the light sources and images timing.
33. Vehicle Lamp Assembly with Sequential Light Emitters and Dual-Function Lens for Road Illumination and Pattern Projection
STANLEY ELECTRIC CO LTD, 2022
Vehicle lamp with sequentially lit light emitters that can both illuminate the road and project road outlines. The lamp has a light source and lens assembly. The lens has a projection section to emit a drawing pattern towards the road surface, and a surrounding section to emit normal light. Multiple lamps are arranged across the width of the vehicle. They are sequentially turned on to create a flowing light effect while projecting alternating drawing patterns at different distances to simulate road edges.
34. Vehicle Dynamic Projection System with Individually Controllable Light Sources and Light Guide Modules
NINGBO SUNNY AUTOMOTIVE OPTICAL TECH CO LTD, NINGBO SUNNY AUTOMOTIVE OPTICAL TECHNOLOGY CO LTD, 2022
Dynamic projection system for vehicles with uniform illumination and large projection range. The system uses multiple groups of individually controllable light sources, light guide modules, and an image generating element. The light guide modules transmit light from the sources to project images. This allows dynamic projection effects like flickering, brightness gradients, and sequential turning on/off. The light guide shapes match the image areas. It enables uniform illumination and large projection range compared to microlens or lens-based systems.
35. Vehicle Lamp Projection Module with Multi-Source Dynamic Pattern Generation
CHANGZHOU XINGYU AUTOMOTIVE LIGHTING SYSTEMS CO LTD, 2022
Dynamic projection module for vehicle lamps that allows creating dynamic and customizable light patterns without using films. The module replaces the traditional film in an imaging-type projection system with multiple light sources, a lens, and a projection surface. The light sources emit light in different directions when collimated by the lens, allowing multiple projection patterns with similar shapes but different positions on the surface. By sequentially activating the light sources, dynamic changes can be presented on the surface. This eliminates the need for films that block light and waste energy, and instead uses the light sources themselves to create the patterns.
36. Vehicle Projection Lamp with Digital Micromirror Device and Multi-Lens Optical System
MAGNA MIRRORS AUTOMOTIVE TECHNOLOGY CO LTD, MAGNA MIRRORS TAICANG AUTOMOTIVE TECH CO LTD, 2022
A dynamic projection lamp for vehicles using a Digital Micromirror Device (DMD) chip to project dynamic images onto a road or environment. The lamp has a complex light source, collimating lens, fly-eye lens, refracting lens, DMD chip, reflecting mirror, and imaging lens. The collimating lens converges the light from the source to parallel, the fly-eye lens scatters it onto the refracting lens, and the DMD chip receives the scattered light. A mirror reflects the DMD image to the imaging lens for projection. This allows dynamic content like videos or graphics to be displayed using a single DMD chip instead of fixed patterns.
37. Automobile Projection Lamp with Adjustable Light Shielding for Pattern Projection
SHENZHEN MAITALANSI TECH CO LTD, SHENZHEN MAITALANSI TECHNOLOGY CO LTD, 2022
Automobile projection lamp that can increase the light shielding part to realize projection of a specific pattern. The lamp includes an LED light source, a collimating metalens, a focusing lens, a shading plane, a projection lens and an optical element.
38. Vehicle Projection System with Collimating Light Source and Rotating Pattern Module
Ningbo Sunny Automotive Optical Technology Co., Ltd., NINGBO SUNNY VEHICLE OPTICAL TECHNOLOGY CO LTD, 2022
Dynamic projection system for vehicles that can project different patterns and images without replacing films. The system has a collimating light source, a rotating/movable pattern module, and a projection module. The collimating light is shone onto different patterns in the rotating module to carry the desired pattern information. This collimated beam is then projected using lenses to enlarge and display the pattern on a surface. This allows dynamic pattern projection without film replacement by changing patterns in the rotating module.
39. Headlight with Interpolated Microdisplay-Controlled Micromirror Matrix
ZKW Group GmbH, ZKW GROUP GMBH, 2022
Vehicle headlight using a digital microdisplay to project high-resolution light patterns for adaptive lighting. The headlight has a microdisplay with a matrix of individually controllable micromirrors. Instead of storing and sending the entire light pattern for each mirror, the headlight uses interpolation to generate higher resolution patterns from fewer grid points. The control device stores light modules as lower resolution grid points and interpolates them to form higher resolution light distributions. This allows using fewer grid points than the display resolution to generate the light patterns, reducing memory requirements for the headlight. The control device sends the interpolated light distribution to the microdisplay.
40. Vehicle Image Projection Device with Multi-Diameter Lenses and Trapezoidal Aperture Shade
KOITO MANUFACTURING CO LTD, KOITO MFG CO LTD, 2022
Image projection device for vehicles that projects well-balanced images at different distances from the vehicle to prevent brightness variation. The device has multiple light sources with lenses of different diameters. Lenses with larger diameters project further away, balancing brightness. The light sources are also coordinated with other vehicle lighting to convey consistent messages. A shade between the sources and lenses with trapezoidal openings projects balanced shapes near and far. This prevents image distortion as distance increases.
41. Vehicle Image Projection Device with Coordinated Multi-Source Light Control
KOITO MANUFACTURING CO LTD, KOITO MFG CO LTD, 2022
Image projection device for vehicles that cooperates with other vehicle lamps to provide more appropriate external displays. The device projects multiple images simultaneously on the road. It has multiple light sources controlled by a unit that interlocks the light turning on/off with other vehicle lamps. This allows coordinated lighting to enhance visibility and communication without excessive clutter.
42. Vehicle Image Projection System with Trapezoidal Aperture Shading Member
KOITO MANUFACTURING CO LTD, KOITO MFG CO LTD, 2022
Image projection system for vehicles that projects balanced images onto the road regardless of distance from the vehicle. The system uses multiple light sources, lenses, and a shading member between them. The shading member has trapezoidal openings for the light to pass through. This allows adjusting the shape of the openings to maintain balanced image projection for both near and far areas.
43. Vehicle-Mounted Projection Lighting System with Road Surface Detection and Adjustable Display Capabilities
VARROC TYC AUTO LAMPS CO LTD, VARROC-TYC AUTO LAMPS CO LTD, 2022
A vehicle projection lighting system that projects road indications onto the ground in front of the vehicle. The system uses a projector mounted on the vehicle that can display road markings, turn signals, and other indications onto the road surface. The projected images can provide enhanced visibility and road awareness for the driver, particularly in low light conditions. The system can also include sensors to detect the road surface and adjust the projection to account for irregularities.
44. Vehicle Lamp Module with Collimator Lens and Micro Lens Array for Patterned Ground Projection
WAFER LEVEL OPTRONICS CO LTD, 2021
Vehicle lamp module for projecting specific patterns onto the ground to provide augmented reality-style information for pedestrians and other vehicles. The module has a collimator lens to convert the light beam from the source into parallel light. This parallel light is then projected onto the ground using a micro lens array with multiple light channels. Each channel has a first lens, a light-transmitting hole with a specific pattern outline, and a second lens. The holes in the diaphragm layer have the pattern shape. The light channels are arranged sequentially along the projection path. This allows each channel to project a segment of the overall pattern.
45. Car Lamp Assembly with Integrated Projection Module Featuring Collimator Lens and Microlens Array
WAFER LEVEL OPTRONICS CO LTD, 2021
Car lamp assembly with integrated projection capability to project patterns on the ground for improved visibility and safety. The assembly has a lamp housing, light cover, regular lights, and a projection module with a collimator lens and microlens array. The microlens array has a diaphragm layer with holes matching the projection pattern. Light from the collimator passes through the diaphragm holes and second lenses in each channel to project the pattern on the ground.
46. Projection Method for Curved Light Patterns Using Low-Resolution LED Arrays with Guide Pattern Compensation
VALEO VISION, 2021
Method for projecting accurate curved light patterns using low-resolution LED arrays in automotive lighting. The method involves compensating for the issue of long, wide pixels projecting isolated groups when trying to follow curved guides, which can make the projected light pattern look disjointed and unclear. The compensation is achieved by defining a curved guide pattern with wider sections further from the LED array. The projected light pattern covers at least 50% of the guide pattern, allowing the wider pixels to fully follow the curve in the outer sections. This prevents isolated groups and provides a clear, continuous curved light pattern.
47. Vehicle-Mounted Compact Graphic Projection Device with Monolithic LED Array and External Control Unit
VOLKSWAGEN AG, VOLKSWAGEN AKTIENGESELLSCHAFT, 2021
A compact graphic projection device for vehicles that projects custom graphics onto surfaces using a monolithic LED array. The device has a control unit to generate graphics off-board, which are then transmitted to the LED array to be displayed. This allows external control of the projected content without needing complex optics or storage. The LED array itself generates the light emission with the graphics. The compact size is achieved by using small lenses to project the LED light onto surfaces. The device can be integrated into vehicles for safety applications like lane markings or warnings.
48. Projection Headlamp with Integrated Patterned Condenser Lens for Symbol Projection
HELLA GMBH & CO KGAA, 2021
Projection headlamp for vehicles that projects warning symbols onto the road without the need for a separate slide. The headlamp has a condenser lens with a printed pattern on the flat side between the light source and projection lens. This eliminates the need for a separate slide sheet between lenses, reducing cost and light loss. The pattern is projected onto the road by the condenser lens. The curved side of the condenser lens then images the pattern onto the road using the projection lens.
49. Vehicle Projection System with Fixed LED Matrix and Anamorphic Lens Assembly for Aspect Ratio Adjustment
Young Optics Inc., 2020
A projection system for vehicles that can project images with custom aspect ratios using a fixed matrix of LEDs. The system has a matrix of self-illuminating LED elements that project an image with a specific shape and size. An anamorphic lens assembly is placed after the LED matrix to reshape the projected image. The anamorphic lens has elements like cylindrical, biconic, lenticular, wedge, or wedge plate lenses. This allows changing the aspect ratio of the projected image to match the vehicle's lighting requirements. The anamorphic lens compresses the horizontal width of the projected image while preserving the vertical height, so it can be projected using the fixed matrix of LEDs.
50. Multi-Lens Array with Colored Picture Elements for Monochromatic Light Projection
HELLA GMBH & CO KGAA, 2020
Multi-lens array for a vehicle light source that projects a colored image using a single monochromatic light source. The array has multiple lens arrangements, each with a condenser lens and a projection lens. At least one light source exposes each lens arrangement. The projected light interferes to form a single image. Some lens arrangements have partially transparent colored picture elements containing pigments. These elements change the color of the projected light, allowing colored images to be formed. The pigments have high temperature and illumination durability for use in vehicle lights.
Due to these advancements-- customizable interior light patterns and projecting images onto road surfaces, drivers now have improved visibility, safety, and even customization options. Future car lighting systems ought to advance in sophistication in tandem with these technological advancements.
Get Full Report
Access our comprehensive collection of 74 documents related to this technology
