Phone Case with Lens Mounting Systems
Mobile photography demands precise optical alignment between auxiliary lenses and phone cameras, with tolerances measured in micrometers. Current attachment mechanisms struggle to maintain consistent positioning through daily use, leading to image degradation, vignetting, and focus inconsistencies that become particularly noticeable in low-light conditions.
The fundamental challenge lies in creating secure lens attachment systems that maintain perfect optical alignment while allowing for quick lens changes and protecting the phone's built-in optics.
This page brings together solutions from recent research—including self-aligning lens interfaces, waterproof modular systems, integrated lens recognition systems, and optimized protective coatings. These and other approaches focus on practical implementations that balance optical performance with everyday usability and device protection.
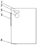
1. Mobile Phone Case with Detachable Rotatable Lens Cover Bracket and Strap Attachment
DONGGUAN KESHIJIA PLASTIC TECH CO LTD, DONGGUAN KESHIJIA PLASTIC TECHNOLOGY CO LTD, 2024
Mobile phone case with a lens cover bracket that protects the camera lens and provides additional functionality. The case has a lens cover bracket attached to the back that holds a removable lens cover. The bracket has a base plate that attaches to the case and a lens cover holder that can slide and rotate. The cover holder has a groove to hold the lens cover and slots for attaching a strap. The bracket also has a rotating shaft that allows the cover holder to rotate when attached to the base plate. This lets the lens cover be positioned at different angles. The bracket can be detached from the case when not needed.
2. Smartphone Case with Removable Lens Connector and Locking Attachment Mechanism
Guangdong SIRUI Optical Co., Ltd., GUANGDONG SIRUI OPTICAL CO LTD, 2024
Protective case for smartphones with a removable lens connector that allows attaching additional lenses without adding bulk to the case when not in use. The case has a lens cover with a removable lens attachment that locks onto compatible lenses. The lens cover has a mounting hole and a locking structure that matches a corresponding structure on the lens. This allows connecting the lens to the case without needing a fixed bayonet mount. The lens can be easily detached and stored when not in use.
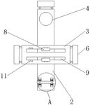
3. Lens Attachment Mechanism with Vacuum Suction and Spring-Loaded Pin Alignment for Mobile Phone Cameras
HUIZHOU XUNCHI PREC COMPONENTS CO LTD, HUIZHOU XUNCHI PRECISION COMPONENTS CO LTD, 2024
Lens attachment mechanism for mobile phone cameras that enables accurate alignment of the camera lens with the camera module when attaching a protective lens. The mechanism has a support plate with a vacuum suction head and spring-loaded pins that extend from the plate. The phone case is placed on the plate and the vacuum suction head adheres to the case. The pins contact the case edges. The plate with lens assembly can then be lowered onto the camera module, with the pins aligning the lens. This ensures the lens stays centered and aligned during attachment. The vacuum suction holds the lens in place. The contoured positioning blocks on the plate match the phone case shape for alignment.
4. Adjustable External Lens Assembly with Telescoping Ring and Spring-Connected Plates for Mobile Phones
SHENZHEN YUNJI INTELLIGENT TECH CO LTD, SHENZHEN YUNJI INTELLIGENT TECHNOLOGY CO LTD, 2024
Adjustable external lens for mobile phones that allows better alignment with the built-in camera lens and provides compatibility with different mobile phone models. The lens has two fixed plates with side splints that attach to the phone. One plate has a telescoping lens ring with an adjustable mechanism. The ring slides vertically between two plates. The upper and lower positions have limiting holes. A spring connects the plates. This allows the lens to extend and contract to match different phone camera positions.
5. Adjustable External Lens Holder with Movable and Threaded Rings for Variable Camera Distances
Shenzhen Dajian Optics Co., Ltd., SHENZHEN DAJIAN OPTICS CO LTD, 2024
An external lens holder for handheld smart devices like smartphones that allows using the same external lens on multiple devices with different camera distances. The holder has a movable ring that adjusts the lens-camera distance to compensate for variations between devices. It also has a threaded ring to tighten the lens in place. This prevents image degradation when using the lens on devices with different camera protrusion depths.
6. Lens Barrel Structure with Adjustable Rotating Assembly and Positioning Mechanism for Mobile Phones
YUYAO HENGGUANG PLASTIC PARTS CO LTD, 2023
Mobile phone lens barrel structure that allows customization of lens size and position for better compatibility with different phone models. The barrel has a fixed frame, rotating assembly, support columns, and adjustment mechanism. The rotating assembly can change the center circle size based on lens diameter. The adjustment mechanism controls distance and position between the frames. This allows adapting the lens barrel to fit various phone models without needing specific barrels for each phone.
7. Optical Lens Barrel with Adjustable Sliding and Rotating Mechanism for Mobile Devices
YUYAO HENGGUANG PLASTIC PARTS CO LTD, 2023
An optical lens barrel for mobile phones that is easy to install and disassemble. The barrel has a fixed frame, mounting frame, and adjustment component to adapt the lens distance to phone thickness. The lens is fixed inside the mounting frame with two internal components. The adjustment component on the fixed frame slides and rotates to adjust lens-phone distance. This allows easy installation/removal of the lens without screws or fixed connections. The adjustment mechanism allows fitting lenses on different phone models without modifying the barrel.
8. Lens Base for Mobile Phone Cameras with Threaded Fixing Assembly and Rod-Guided Lens Mounting
SHENZHEN NABAIXIN OPTICAL CO LTD, 2023
A lens base for mobile phone cameras that makes it easier to disassemble and install lenses compared to glued lens installations. The lens base has a mounting base with holes for attaching to the phone and a slot in the center. Inside the slot is a fixing assembly with components that facilitate lens disassembly and installation. The assembly includes a cover, side plate, threaded layer, and rods. The cover connects to the side plate with threads. The upper end of the cover has evenly spaced rods. This allows the lens to slide onto the rods and screw the cover down to secure it, without needing glue. The rods make it easy to slide the lens on and off.
9. Mobile Phone Case with Sliding Interchangeable Lens and Filter Board
SHENZHEN RENJU BIG HEALTH TECH CO LTD, SHENZHEN RENJU BIG HEALTH TECHNOLOGY CO LTD, 2023
Interchangeable lens mobile phone case that allows swapping lenses and filters easily without needing separate accessories. The case has a removable sliding board with multiple lens compartments that match the phone's camera positions. The board slides in and out of the case, allowing quick lens changes. The case also has built-in flashlights that align with the phone's flash locations. The board can have multiple lens groups and light sheets for various effects. The case has a hinged support plate with magnets that holds the board in place. The board slides out when the case is opened and slides back in when closed, preventing lens misplacement.
10. Reversible Mobile Phone Lens Attachment with Sliding Mechanism for Dual Camera Alignment
Shenzhen Aipaisi Technology Co., Ltd., SHENZHEN APEXEL TECHNOLOGY CO LTD, 2023
Mobile phone lens attachment that allows two-way shooting by providing a lens that can be mounted on both the rear and front cameras of a mobile device. The lens has a sliding mechanism that allows adjusting the lens position to align with the camera centers. This allows using the lens on the rear camera as normal, but also sliding it forward to fit on the front camera. The lens attaches to the phone using a reversible clamp that can be moved between the rear and front cameras.
11. Modular Phone Case with Interchangeable Lens Slot and Stepped Groove Clamping Mechanism
DONGGUAN XINTENG ZHUOYUE ELECTRONIC TECH CO LTD, DONGGUAN XINTENG ZHUOYUE ELECTRONIC TECHNOLOGY CO LTD, 2023
Modular phone case with interchangeable camera lens that allows users to swap lenses without replacing the entire case. The case has a dedicated slot for the lens module, which can be easily removed and replaced. The lens module attaches to the case via clamps in a groove. The groove has stepped edges to secure the lens module in place. This allows users to customize their phone's camera capabilities by swapping lenses without needing a new case.
12. Mobile Phone Case with Slide Rail System and Rotating Connector for Detachable Interchangeable Lenses
ANHUI INST INFORMATION TECH, ANHUI INSTITUTE OF INFORMATION TECHNOLOGY, 2023
Multifunctional mobile phone case with detachable, interchangeable lenses that can be easily switched without clamping or adhesives. The case has a fixed lens mount on the front, slide rails on either side, and a lens slide assembly. The lens slide has a rotating connector, a fixed lens mount, and a limiting block. The lens slide can rotate and slide between the rails to attach and detach lenses. It also has a spring-loaded limiting block to prevent overtravel. The lenses can be quickly swapped by sliding them on and off the rails.
13. Smartphone Camera Lens Attachment Mechanism with Magnetic Positioning and Angled Guide System
Hsiang-Yun KUNG, 2023
A mechanism for converting a smartphone camera into a single-lens camera by allowing easy attachment and detachment of external lenses without the need for precise alignment or tools. The mechanism has a positioning device on the smartphone and a lens device with magnets that snap into place. The positioning device has concave holes and sliding spaces for the lens device magnets to engage. This allows quick and reversible lens swapping without the complexity and weight of traditional lens mounts. The magnets are sealed between iron plates to prevent magnetic leakage. The positioning device is inserted molded and the lens device has embedded magnets. The sliding spaces have angled guides for easier attachment/detachment.
14. Universal Mobile Phone Lens Assembly with Adjustable Frame and Clamping Mechanism
SHANGHAI BOSHI OPTOELECTRONICS TECH CO LTD, SHANGHAI BOSHI OPTOELECTRONICS TECHNOLOGY CO LTD, 2023
A universal external lens assembly for mobile phones that allows adjustment and mounting flexibility without requiring customization for different phone models. The lens assembly consists of a frame, pushing mechanism, longitudinal and horizontal adjustment mechanisms, and a cover. The pushing mechanism clamps the phone between front and rear splints. The longitudinal mechanism adjusts lens position vertically. The horizontal mechanism moves the lens laterally. The cover protects the lens and allows light entry. The adjustment mechanisms enable precise lens positioning without needing custom mounts for each phone model.
15. Optical Anti-Shake Mobile Camera Lens with Slot-Engaged Alignment and Spring-Loaded Clamping Mechanism
DONGGUAN HONGHAN ELECTRONIC MAT CO LTD, DONGGUAN HONGHAN ELECTRONIC MATERIAL CO LTD, 2023
A novel ultra-sensitive optical anti-shake mobile phone camera lens with improved installation accuracy and ease of removal compared to conventional lens designs. The lens has a base with a storage bin, a fixed plate, a lens outer frame, a protective plate, and a clamping post. The lens outer frame has a slot that fits with a limit rod on the fixed plate. This precisely aligns the lens when installed. A spring-loaded clamping post fits into a slot on the protective plate. When pressed, the post moves sideways to engage the slot. A bottom plate with a silicone ring sits between the lens and protective plate to provide cushioning. The protective plate can then be lifted to remove the lens. This allows easy lens swapping while maintaining alignment.
16. Magnetically Attachable Lens Accessory with Coaxial Alignment for Mobile Device Cameras
WUXI INFISENSE TECH CO LTD, WUXI INFISENSE TECHNOLOGY CO LTD, 2022
Lens accessory for mobile device cameras that can be attached and detached while maintaining proper focus alignment. The accessory has a detachable lens connected to a body that attaches to the mobile device camera. The lens and camera lenses are coaxial when attached. This allows using different lenses with the mobile device camera without focus issues due to mismatched lens lengths. The body connects magnetically to the device camera to provide secure attachment.
17. Adjustable Universal Connector with Sliding Clamp and Bolt Mechanism for External Lens Attachment to Mobile Phone
NANYANG KINGOPT OPTICAL INSTR CO LTD, NANYANG KINGOPT OPTICAL INSTRUMENT CO LTD, 2022
Universal connector for attaching an external lens to a mobile phone that allows adjustment of lens position and provides secure attachment. The connector consists of a clamp for gripping the lens sidewall, an adjustable frame, and a bolt. The clamp slides in a groove on the frame and can be tightened with the bolt to secure the lens position. This allows adjusting the lens distance from the phone camera. The frame has a slot for attaching the phone and a clamp for protecting the lens. The clamp has a figure-eight shape with matching gaps to grip the lens protrusions.
18. Mobile Phone Case with Snap-Fit Removable Lens Spacer Assembly
SHENZHEN WEILANGTE TECH CO LTD, SHENZHEN WEILANGTE TECHNOLOGY CO LTD, 2022
Mobile phone case with easy replacement of camera spacers. The case has a removable lens spacer that can be swapped out for different camera configurations. The spacer fits into an assembly with snap-fit components and a mounting ring. The snap ring attaches to the case and the mounting ring has a square for the spacer. Clamping blocks with cushioned layers hold the spacer in place. This allows swapping lenses by just removing the spacer and installing a new one.
19. Mobile Phone Camera Lens Holder with Clamping and Locking Mechanisms and Snap-Fit Protector
YUZHOU UNITED SUPER PHOTOELECTRIC SCIENCE AND TECH LIMITED CO, YUZHOU UNITED SUPER PHOTOELECTRIC SCIENCE AND TECHNOLOGY LIMITED CO, 2022
Quick-install structure for mobile phone camera lens holders that allows easy attachment and removal of lens holders from smartphones. The structure involves a clamping mechanism between the phone case and lens holder, a locking mechanism between the lens holder and case, and a snap-fit protector for the lens holder. This allows the lens holder to be quickly snapped onto the phone case using the clamp, locked in place with the separate mechanism, and protected from damage when not in use by the snap-fit cover.
20. Adjustable Lens Assembly with Limit Ring Sleeve and Fixing Mechanism for Mobile Devices
SHANGHAI SILK VISION PHOTOELECTRIC SCIENCE AND TECH LIMITED CO, SHANGHAI SILK-VISION PHOTOELECTRIC SCIENCE AND TECHNOLOGY LIMITED CO, 2022
An adjustable lens for mobile devices that prevents loosening and maintains proper alignment for better image quality. The lens has a support that attaches to the device and a lens fixed to the support. The lens has a tube with a limit ring sleeve that the lens slides within. The lens abuts against the sleeve. A fixing ring screws onto the mounting hole on the sleeve to secure the lens in place. This allows adjustment of the lens position within the tube but prevents it from coming loose or shifting.
21. Mobile Device Multi-Lens Add-On with Detachable Two-Piece Tube and Compression Ring System
SHANGHAI SILK VISION PHOTOELECTRIC SCIENCE AND TECH LIMITED CO, SHANGHAI SILK-VISION PHOTOELECTRIC SCIENCE AND TECHNOLOGY LIMITED CO, 2022
Multi-lens add-on for mobile devices with removable accessories that allows multiple lenses to be attached to a mobile device like a phone. The multi-lens add-on has a bracket to fix to the device and a detachable lens assembly. The lens assembly has a two-piece tube with an inner ring that clamps the lens between it and an outer ring. This allows the lens to be compressed by rotating an outer ring, preventing loosening and damage. A gasket between the rings seals the lens. The two-piece tube design allows replacing the outer ring if the tube deforms over time without replacing the lens.
22. Mobile Phone Camera Lens Assembly with Dual-Sided Lens Films and Integrated Securing and Power-Connecting Mechanism
SHENZHEN JINXIN AND SHENGSHENG OPTICAL PRODUCT LIMITED CO, SHENZHEN JINXIN AND SHENGSHENG OPTICAL PRODUCT LTD CO, 2022
Wear-resistant mobile phone camera lens with features to protect and secure the lens. The lens has a lens body with lens films on both sides. The lens body ends screw into clamps. The clamp outsides screw into fixing sleeves. One sleeve side has a connecting frame with a positioning rod. This rod contacts the lens body. The rod has an anti-skid sheet facing the lens port. The sheet contacts the phone's power port. This connection provides power to the lens. The frame has an extension rod with a positioning rod. The extension rod screws into the lens body. This configuration provides secure mounting and protection for the lens.
23. Adjustable Mobile Phone External Lens with Sliding and Rotating Mechanisms
SHENZHEN EUROPEAN INTELLIGENT INDUSTRIAL LIMITED CO, SHENZHEN EUROPEAN INTELLIGENT INDUSTRIAL LTD CO, 2022
A mobile phone external lens that can be adjusted to fit the varying lens positions on different phone models. The lens has a sliding mechanism to move the lens mount forward or backward to align with the phone's built-in camera. The sliding mechanism consists of guide rods, blocks, springs, and a motor. The lens also has a rotating mechanism to adjust the lens angle.
24. Mobile Phone Lens Assembly with Upper and Lower Lens Groups for Concealed Integration in Phone Cases
ZHEJIANG SUNNY OPTICS CO LTD, 2021
Split mobile phone lens design that improves user experience by preventing the lens and module from being exposed when mounted in a phone case. The lens has an upper group with a larger diameter and a lower group. The upper lens connects to the lower lens via glue, threads, or buckles. The upper lens blocks the opening in the phone case, preventing the lens and module from protruding. This prevents the lens and module from being exposed when mounted in a phone case.
25. Lens Mounting Mechanism with Threaded Engagement for Passive Alignment in Mobile Devices
JINGWEI OPTICAL TECH SUZHOU CO LTD, JINGWEI OPTICAL TECHNOLOGY CO LTD, 2021
A mechanism to fix mobile phone camera lenses without requiring active alignment (AA) equipment. The mechanism allows mounting and securing mobile phone camera lenses without the need for expensive AA equipment. It provides a simpler and cost-effective alternative for companies that cannot afford AA processing. The mechanism involves a lens holder with a threaded inner surface and a lens with an outer threaded ring. The lens holder threads engage with the outer ring threads to fix the lens in place without requiring precise alignment. This allows using non-AA lenses with standard camera assembly processes.
26. Mobile Device Case with Integrated Auxiliary Lens, Ergonomic Grips, and Remote Camera Control Features
Moment Inc, 2021
This mobile device case can use additional lenses, provide stabilization, improve ergonomics, and enable remote control of the phone camera. The case has an integrated auxiliary lens that aligns with the built-in camera optics. It also has handles and grips for easier one-handed use. The case may have adjustable components like a lens actuator and a camera mount to remotely attach and control the phone camera.
27. Mobile Phone Camera Lens Assembly with Sliding Mechanism and Rotational Adjustment Ring
DONGGUAN WEN FENG OPTICAL CO LTD, 2021
Camera lens for mobile phones that is easy to debug and assemble by using a sliding mechanism inside the phone's card slot to adjust the lens position. The lens mount slides inside the card slot and connects to a fixed camera body, a lens fixing frame, and an adjusting ring. This allows sliding the lens to align it properly for optimal focus and image quality. The adjusting ring rotates to further fine-tune the lens position. An inner gear meshes with an outer gear to drive the lens adjustment. The sliding mechanism inside the card slot makes it convenient to assemble and align the lens without gluing it in place.
28. Hierarchical Positioning Mobile Phone Lens Base with Threaded Connector and Spring-Loaded Notched Teeth
YUYAO SHUNJU PHOTOELECTRIC CO LTD, 2021
A hierarchical positioning mobile phone lens base that allows easy lens replacement on smartphones without tools or loose connections. The base has a threaded connector on the phone body and a threaded lens barrel that screws into it. The connector has springs and notched teeth that engage when screwed together. To replace the lens, the teeth disengage by pulling folded edges on the connector. This releases the lens barrel for removal and replacement. The springs then re-engage the teeth to secure the new lens. This graded positioning prevents the lens from wobbling during use.
29. Rotatable Lens Mount Assembly with Threaded Inner Ring for Mobile Phone Cases
YUYAO SHUNJU PHOTOELECTRIC CO LTD, 2021
A mobile phone lens assembly that allows easy installation and removal of lenses without needing to detach the phone case. The assembly has a rotatable lens mount attached to the phone case that allows attaching and swapping lenses by rotating them into place. The lenses screw onto the mount, which has a threaded inner ring that rotates inside the case to lock the lens in place. This allows quickly changing lenses without removing the case. The assembly also has a through hole in the case to access the camera.
30. External Lens Assembly with Adjustable Sliding Sleeve and Frame for Mobile Devices
SHAANXI HERUIGUANG TECH CO LTD, 2021
An external lens structure for mobile devices that allows secure and adjustable attachment of a detachable lens without overtightening or looseness. The lens has a bottom end integrated with the connecting sleeve. The sleeve slides in a frame with a sliding groove. The frame has a through hole for the sleeve. This allows sliding adjustment of lens position. The frame attaches to the device. The sleeve prevents lens falling out. The frame also has a section to attach to the device. The connected lens can be securely adjusted without overtightening or looseness.
31. Smartphone Lens Attachment with Rotatable Assembly and Pivoting Mount
GUANGDONG SIRUI OPTICAL CO LTD, 2021
A lens attachment for smartphones that allows correct orientation of the lens when rotating the phone. The lens structure has a detachable lens assembly and a pivoting lens mount. The assembly can rotate inside a chamber and the mount can pivot on a support. This allows the lens assembly to rotate relative to the mount, so when the phone is rotated, the lens orientation stays correct. The pivoting joints use elastic components to allow detachment and constrained rotation.
32. Mobile Phone Case with Threaded Lens Barrel and Bayonet Locking Mechanism
HE YUSHI, 2020
Mobile phone case with an external adjustable lens to enhance the camera capabilities of a smartphone. The case has a fixed outer boss around the camera hole and an internal lens barrel with threads. The lens barrel can screw into the threads and has an adjustment knob. The lens barrel has bayonet features to lock into the boss. This allows attaching and adjusting an external lens to the case for zoom, macro, or wide angle shots.
33. Mobile Phone Lens Assembly with Sliding Holder and Rotatable Adjustment Mechanism
SHENZHEN KINGTI OPTICAL CO LTD, 2020
Mobile phone lens with adjustable position for improved versatility and protection. The lens holder slides inside the phone body, with a fixed block at the front and a sliding block at the rear. A screw between them allows rotating the fixed block to move the lens holder. This avoids finger obstructing the lens when holding the phone. The sliding blocks protect the lens from damage. A scraper removes dirt from the blocks.
34. Mobile Phone Case with Rotating Hinge Plate Lens Mount and Spring-Loaded Threadless Attachment Mechanism
TAN JUN, 2020
A mobile phone case specifically designed for attaching external lenses to smartphones. The case has a dedicated lens mount with a rotating mechanism that securely holds the lens in place without threads. The mount has a hinge plate that rotates when the lens is inserted, compressing springs to grip the lens. This prevents the lens from falling out while providing easy installation. The mount also has a bottom limit hole to further secure the lens when it reaches the bottom of the slot. The threadless connection eliminates the inconvenience of threaded engagement and prevents loose connections that can cause the lens to fall off.
35. Adjustable Clamping External Lens Accessory with Protective Pad and Locking Screw for Smartphone Cameras
SHENZHEN LAITONG OPTICAL TECH CO LTD, SHENZHEN LAITONG OPTICAL TECHNOLOGY CO LTD, 2020
A stabilized and adjustable external lens accessory for smartphone cameras that attaches securely to the phone without suction cups or clips. The accessory has a clamping mechanism that expands to grip the phone vertically or horizontally, then contracts to securely hold the phone. This allows the external lens to be easily mounted and adjusted on the phone camera without falling off. The clamping mechanism has a protective pad to prevent scratching the phone and a locking screw to secure the lens in place.
36. Modular Ultra-Wide-Angle Lens Assembly with Adjustable Dual-Frame Mounting System for Mobile Devices
Xiangyang Xiongshi Optoelectronics Technology Co., Ltd., XIANGYANG XIONGSHI OPTOELECTRONIC TECHNOLOGY CO LTD, 2020
High-definition ultra-wide-angle lens for mobile phones that can be easily attached and detached. The lens has a main fixing frame to hold the lens body, and a sub-fixing frame to stabilize the lens. The main frame has threaded holes to attach the lens, and an elastic sliding bar with clamping blocks. The sub-frame has a sliding groove for the bar, limit slots for positioning, and support strips to raise the sub-frame. This allows adjustment of the lens position. The frames can be detached for separate use. The lens body has a rotating middle housing with a convex lens, and a rear housing with a concave lens holder. The front and rear housing can be swapped to replace lenses.
37. Mobile Phone Case with Threaded Mount and Interchangeable Zoom Lenses
SCIENCE AND TECHNOLOGY COLLEGE OF HUBEI UNIV OF ARTS AND SCIENCE, SCIENCE AND TECHNOLOGY COLLEGE OF HUBEI UNIVERSITY OF ARTS AND SCIENCE, 2020
A mobile phone case with interchangeable zoom lenses that can be easily swapped for different focal lengths. The case has a threaded lens mount on the back, and the lenses screw onto a base pad that attaches to the mount. This allows users to replace the lenses without needing to remove the phone from the case. The lenses have a focusing knob, screw joint, and detachable lens.
38. Smartphone Case with Adjustable Lens Filter Cartridge System
David Graham Clark, 2020
This is a protective case for smartphones that allows adding lens filters to the phone's camera. The case has openings to expose the camera lens and filter cartridges that can be slid into different positions. The cartridges contain multiple lens filters, such as ND, polarizer, and color filters, that can cover the camera lens when desired.
39. Waterproof Smartphone Case with Interchangeable Conductive Lenses on Internal Track System
CRAIG HERMAN, 2020
A waterproof smartphone case that can have different lenses easily swapped into it. When closed, the case has a watertight seal to protect the phone from water damage. It has an internal track where lenses can slide in and out. The lenses include options like magnifying, prescription, anti-glare, or privacy lenses. They are made of conductive material to maintain touchscreen functionality.
40. Mobile Camera System with Integrated Lens Interface and Lens Recognition Electronics
Moment Inc, 2020
The mobile camera system has an integrated lens interface and an optimized case for attaching auxiliary lenses to a mobile device. The system includes a mobile device with a miniature camera module, a case with a lens attachment interface that can mechanically couple a removable lens to the device, and lens recognition electronics to identify the specific lens type attached. The case also has an optimized design with a balanced weight and ergonomic grip for one-handed use.
41. Protective Case with Separate Camera and Flash Lens Inserts Featuring Coated Side Surface and Gasket Seal
OTTER PRODUCTS, LLC, 2020
Protective case for electronic device cameras and flashes that provides improved protection from scratches and damage while also maintaining proper flash and camera functionality. The case has a lens insert that covers the camera and flash. The insert has separate lens portions for the camera and flash. The camera lens has a coated side surface to block light reflections and a thicker bottom portion. The flash lens has a gasket to seal against the device's back.
42. Smartphone Camera System with Embedded Lens Interface and Lens Type Detection Mechanism
Moment Inc, 2020
This smartphone camera system allows attaching auxiliary lenses and recognizes the lens type to optimize image processing. The system includes a case with an embedded lens interface that precisely aligns an attached removable lens with the built-in camera module. The case has electronics to detect and identify the lens type. It also features a shutter button and grip ergonomics for stable one-handed photography.
43. Mobile Phone Case with Threaded Adjustable Focus Lens Assembly
SCIENCE AND TECHNOLOGY COLLEGE OF HUBEI UNIV OF ARTS AND SCIENCE, SCIENCE AND TECHNOLOGY COLLEGE OF HUBEI UNIVERSITY OF ARTS AND SCIENCE, 2019
Mobile phone case with an adjustable lens focal length to allow manual zoom and focus adjustment. The case has a lens mounting hole for the phone's camera. An external nut base pad is fixed outside the hole and an adjustable focus lens is mounted on it using threads. Turning the focus knob on the lens changes the focus distance. This allows manual zoom and variable focus like a DSLR lens.
44. Protective Case with Dual Lens Insert for Camera and Flash, Featuring Flash-Blocking Coating
OTTER PRODUCTS, LLC, 2019
A protective case with a lens insert that covers the camera and flash of an electronic device. The lens insert has a lens covering the camera and a separate lens covering the flash. The camera lens has a coating that blocks light from the flash.
45. Protective Mobile Device Case with Integrated Adjustable Auxiliary Lens System
Moment Inc, 2019
A protective case for a mobile device, such as a smartphone, that has an integrated auxiliary lens system to enhance the device's camera capabilities. The case has a built-in lens module that aligns with the device's existing camera optics when the device is inserted into the case. The lens module can be adjustable and may have multiple lenses for zoom or other effects. The case protects the device and provides stable optical alignment without stressing or distorting the camera. It may also have other features like drop protection, audio pass-through, and waterproofing.
46. Mobile Device Protective Case with Integrated Lens Assembly and Water-Resistant Microphone Membrane
OTTER PRODUCTS, LLC, 2019
Protective case for mobile devices with a lens assembly that protects camera, flash and microphone while maintaining good optical and audio quality. The lens assembly has a transparent lens covering the camera and flash, with portions coated in light-blocking material to reduce light transmission. A water-resistant membrane covers the microphone.
47. Mobile Phone Camera Lens with Protective Ring and Modular Clamping Mounting Mechanism
Dongguan Honghan Electronic Materials Co., Ltd., 2019
A high-definition mobile phone camera lens with a unique mounting mechanism for stable and easy installation in mobile phones. The lens has a protective ring on the front that attaches to the phone's mounting bracket. The ring has a connecting sleeve on one side that slides into the bracket. Inside the bracket is a fixed protective glass with a lens mounted. A clamping block on the other side of the ring has a protection pad with an internal fixing post. The clamping block compresses against the phone's mounting post to secure the lens in place. This modular design allows easy lens replacement and provides stable mounting without tools or adhesives.
48. Smartphone Lens Assembly with Rotating Dual-Lens Block and Adjustable L-Shaped Slide Block
Foshan City Deyi Intelligent Technology Co., Ltd., 2019
A special lens for smartphones that can switch between wide-angle and telephoto views and is easy to install on different phone models. The lens has a rotating block with wide-angle and telephoto lenses that can be switched by rotating the block. It also has a fixed L-shaped slide block with springs that inserts into the rotating block to prevent rotation. This allows fixing the lens position on the phone. The slide block can also slide on a fixed plate to adapt to different phone lens mounting locations.
49. Mobile Phone External Lens Attachment with Spring-Loaded Clamping Base and Sliding Lens Holder
Dongguan Kuna Electronic Technology Co., Ltd., 2019
A device for attaching an external lens to a mobile phone that allows easy lens swapping. The device has a clamping base that attaches to the phone and a movable lens holder. The clamping base has left and right arms that extend from a central body. The right arm can move due to a spring. The lens holder slides over the central body. It has a lens mounting plate with threads and a boss. The lens holder slides onto the central body and screws onto the boss to secure the lens. This allows detaching the lens by sliding the holder off.
50. Adjustable U-Shaped Lens Connector with Threaded and Sliding Rods for Multi-Device Camera Compatibility
Shenzhen Perfect Precision Products Co., Ltd., 2019
Lens connector for attaching external lenses to cameras on devices like smartphones that allows the lens to be compatible with multiple brands and models of devices. The connector has a body with a U-shaped fixing frame that can be adjusted to fit different camera mounting threads. It has threaded rods, sliding rods, limit plates, and buckles to securely attach the lens while allowing adjustment and compatibility with various device cameras. The connector has vertical and horizontal buckles, grooves, and plates to accommodate the camera mounting pattern.
Several innovative solutions to adding lenses to phone covers are presented in these patents. The array of mobile phone photography accessories that are accessible to consumers has expanded, and these advances allow people to capture better pictures with their phones.
Get Full Report
Access our comprehensive collection of 87 documents related to this technology
