Lighting in Mobile Phone Cases
Mobile phone case lighting systems must operate within strict dimensional constraints while addressing multiple use cases - from selfie illumination to UV sanitization. Current solutions typically add 2-4mm of thickness to devices and draw 0.5-2W of power, presenting challenges for thermal management and battery life in everyday use.
The fundamental challenge lies in integrating additional lighting functionality without compromising the case's primary protective role or significantly impacting device ergonomics.
This page brings together solutions from recent research—including retractable lighting assemblies, UV-C sanitization systems, optimized lens arrangements for flash compatibility, and smart lighting control systems. These and other approaches focus on practical implementations that enhance device functionality while maintaining durability and user comfort.
1. Mobile Phone Case with Integrated RGB Lighting and Signal-Controlled Illumination System
SHENZHEN DEYI INNOVATION TECH CO LTD, SHENZHEN DEYI INNOVATION TECHNOLOGY CO LTD, 2024
Mobile phone case with integrated RGB lighting that provides full coverage and visibility of the case when placed face-up on a surface. The case has RGB lighting components on both the back and sides. This allows the case to illuminate from multiple directions. The back lighting uses an RGB PCB board with multiple LEDs. The side lighting uses LEDs in the button covers. A signal transceiver on the case connects to the phone to receive commands and control the lighting. This allows linked flashing of the entire case when the phone is placed face-up.
2. Smartphone Case with Embedded Bluetooth-Controlled Ambient Light Strip and Dual Power Source
ZHU XUANRUI, 2023
A smartphone case with embedded ambient light and Bluetooth connectivity to provide a user-controlled light feature. The case has a light strip along the front edge, a charging pin to connect to the phone, and a control chip with Bluetooth. The light is powered by the phone or an internal battery. The Bluetooth allows the light to be controlled remotely via the phone.
3. Mobile Phone Case with Flexible Support Bar and Integrated Adjustable LED Illumination
TAIPEI CITY UNIV OF SCIENCE AND TECHNOLOGY, TAIPEI CITY UNIVERSITY OF SCIENCE AND TECHNOLOGY, 2023
A night light mobile phone case that provides adjustable illumination around the device for better low-light viewing without needing a separate lamp. The case has a flexible support bar with a light attached at one end. The light can be positioned around the case using the flexible bar to provide adjustable lighting in the surroundings. The light can be an LED and is connected to a battery inside the case. The light can be turned on when needed for better visibility in low light conditions.
4. Mobile Phone Case with Induction-Activated Ambient Light and Magnetic Suction Plate
ZHOU DONGLAI, 2023
Magnetic mobile phone case with colorful ambient light for reminding notifications and improving drop protection. The case has an induction ambient light mechanism inside and a magnetic suction plate on the outside. The light mechanism includes a lamp bead, battery, sensor, chip, and protective shell. The light turns on when the sensor detects a nearby magnetic field from the suction plate. This provides visual notifications when the phone is in the case. The light is positioned to be visible through the case when closed.
5. Mobile Phone Case with Integrated LED PCB and Interactive Circuitry
ZHENG YUGUANG, 2023
LED light-emitting mobile phone case that has integrated lighting and interactivity features. The case has a shell with an LED PCB board attached to the inside wall. A switch on the back connects to metal foil to complete the circuit. A power supply on the bottom provides power. A glass cover closes the back. This allows the case to emit light when the switch is activated and can have sensing capabilities through the metal foil.
6. Mobile Phone Case with Detachable Integrated LED Light and Storage Compartment
GUANGDONG SENCHENG HONGDA SILICONE RUBBER CO LTD, 2023
A mobile phone case with an integrated light that can be attached and detached from the case. The case has a compartment on the back to store the light when not in use. The light has an LED, battery, and switch inside a transparent housing. The switch is exposed on the back of the case. When the light is detached, the case protects the phone. When the light is attached, it can be used as a detachable flashlight.
7. Mobile Phone Case with Integrated Light Strip Between Shell and Frame and Joint-Connected Wiring
ZHOU JINWEI, 2023
Mobile phone case with built-in fill light for low light selfies. The case has a light strip between the outer shell and inner frame. The strip is connected to a wire that goes to a joint. This provides a supplementary light source for low light selfies when using the front camera. The case can also have a power source like a battery to power the light strip.
8. Mobile Phone Case with Integrated LED System and Adaptive Light Control Mechanism
Tencent Technology Co., Ltd., TENCENT TECHNOLOGY COMPANY LTD, Tencent Technology (Shenzhen) Co., Ltd., 2022
Mobile phone case that can protect the back of the phone while allowing better display of the phone's LED lights. The case has a LED lamp, coil, power supply, and chip on the back. It communicates with the phone's control chip to coordinate LED lighting based on the case's placement. When the case is on, the phone's LEDs are dimmed. When the case is removed, the phone's LEDs are bright. This prevents the case covering the LEDs and improves LED visibility.
9. Electronic Device Case with Integrated Wireless-Controlled Fill Light System
SHENZHEN BESTVIEW ELECTRONIC CO LTD, 2022
Electronic device case with integrated fill light that can be remotely controlled by the device itself. The case has a built-in light source, battery, and electronic module. The light source has a lamp bead and diffuser plate. The electronic module has a wireless connection to the device. This allows the device to wirelessly activate and customize the fill light through the module.
10. Mobile Phone Case with Integrated Spring-Loaded Rotating Light Housing and Direct Battery Connection
DONGGUAN CAIYUN TECH CO LTD, DONGGUAN CAIYUN TECHNOLOGY CO LTD, 2021
A mobile phone protective case with integrated light that provides an easy and compact way to attach a supplementary light to a mobile phone without needing to connect via data lines. The case has a housing with a bottom shell and a soft shell connected by over-injection. The top of the bottom shell clamps onto a lamp housing assembly that contains the light source. The lamp housing has a spring-loaded rotating shaft to connect it to the case. A circuit board in the case connects to the lamp housing through a slot. This allows the light to be powered directly from the phone's battery without needing external power sources or wired connections. The case also has a movable buckle groove, a lock cover, and cord buckle positions.
11. Mobile Phone Case with Retractable Fill Light and Push-Type Self-Locking Mechanism
SUNONLINE PREC INDUSTRY LTD, SUNONLINE PRECISION INDUSTRY LTD, 2021
Mobile phone case with a retractable fill light that can be extended to illuminate the camera when needed, then retracted back into the case when not in use. The light assembly has a push-type self-locking mechanism that allows the light to be ejected from the case when pressed, and retracted back in when pressed again. The light assembly includes a control board, battery, and LED board that connect together. The push mechanism has a plunger that locks against bumps and grooves in the case.
12. Mobile Phone Case with Integrated Light Source and Dual Charging Mechanism
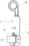
SHENZHEN YIYUANDI TECH CO LTD, SHENZHEN YIYUANDI TECHNOLOGY CO LTD, WEI SHAOJIE, 2021
Light-emitting mobile phone case that allows multiple power source options to charge the internal battery. The case has a groove to hold the phone, a pattern on the side, an embedded control board with a light source, and an induction module to charge from the phone's wireless charging or NFC coils. It also has an external connector to charge from a separate source. This lets the case be charged from the phone or separately while using it.
13. Mobile Phone Case with Foldable Dual-Color Light Surrounding Rear Camera
CHEN YUEXIANG, 2021
Mobile phone case with integrated supplementary light that provides additional illumination for low-light video recording. The case has a foldable light group attached to the back that can be extended when needed and retracted when not in use. The light has dual color options (white and warm) and surrounds the rear camera to simultaneously illuminate multiple camera lenses.
14. Mobile Phone Case with Integrated Circuitry for Supplementary Lighting and Call Notification
SHENZHEN YOUKU INNOVATION HOLDINGS CO LTD, 2021
Mobile phone case with integrated supplementary lighting and call notification features. The case has a built-in circuit board, power supply, fill light, breathing light, and function switch. The fill light can be controlled to add extra light for low-light photography. The breathing light flashes when the phone receives a call. The case can be charged through the phone's port and has a switch to turn on/off the lights.
15. Mobile Phone Case with Hinged Detachable LED Light Boards and Removable Partition
LAO SHUIYING, LI LIANG, 2021
A light-filled mobile phone case that improves low-light photography by adding detachable wide-angle LED light boards. The case has a removable PC partition, a TPU body, and an electronic component holding area. The LED light boards are hinged and fold into the case when not in use. They unfold to provide wide-angle illumination when needed. The LED boards connect electrically to the component in the case. This allows adding light without bulk or weight when not needed, but provides supplementary illumination for low-light photography.
16. Mobile Phone Case with Reversible Fill Light and Charging Port Connection
XIAO WEICHENG, XIONG KUIYING, 2021
Mobile phone case with a reversible fill light powered by the phone's charging port. The case has a fill light on the back that can rotate to face away from the case. It connects to the phone's charging port using a socket. This allows the fill light to draw power from the phone instead of having its own battery. When flipped, the fill light faces the front camera for selfies.
17. Mobile Phone Case with Flip-Out Arm and Integrated Light Guide System
SOONLEADER ELECTRONICS CO LTD, 2021
Front light-filled mobile phone case with built-in lighting for improved low-light selfies and grooming. The case has a flip-out arm with a light guide and a removable light board. The light guide extends from the arm entrance to the exit. The light board can be installed in the arm. The arm flips out to extend over the phone screen, providing a light source for better selfies and grooming in low-light conditions.
18. Mobile Phone Case with Integrated Wireless Receiver and Control Circuit for Remote Feature and Lighting Activation
LEE HYEON U, 2021
A wireless-controlled mobile phone case that allows remote control of the phone's features and lighting via an external device. The case has a built-in receiver to receive wireless signals, a control circuit to process the signals and turn on the phone's features and lighting, and a light emitting component inside the case. This allows external devices to wirelessly control the case's lights and features like camera flash or screen brightness.
19. Mobile Phone Case with Integrated Wireless Charging Coil and External Flashing Light
SHENZHEN KAICHENGXING TECH CO LTD, SHENZHEN KAICHENGXING TECHNOLOGY CO LTD, 2021
Mobile phone case with built-in wireless charging and flashing light. The case has a wireless charging coil, circuit board, switch bracket, and limit switch inside. The switch passes through a groove in the case and connects to the limit switch. Wires run between components through slots in the case. The light board is outside. The case protects the phone while providing wireless charging and lighting supplements. The switch limits charging current.
20. Mobile Phone Case with Ambient Light-Responsive Adjustable Illumination System
DU HONGLI, 2021
Mobile phone case with intelligent light supplement function that can adapt the brightness of the case's built-in light to match the ambient light. The case has a housing, control mechanism, and light supplement mechanism. A Bluetooth device in the case connects to a protected part with a light sensor. The sensor measures ambient light and sends it to the Bluetooth device. The Bluetooth device adjusts the light supplement brightness using a built-in resistor based on the ambient light level. This provides intelligent light supplement that automatically adjusts to the surrounding light.
21. Smartphone Case with LED Ring and Inductive Power System for Camera Illumination
SHENZHEN YIBO CENTURY TECH CO LTD, SHENZHEN YIBO CENTURY TECHNOLOGY CO LTD, 2021
Protective case for a smartphone with a ring of LED lights around the camera lens to provide better low light photography. The case has a housing with the phone holder, control board, power coil, and sliding switch. The ring of LED lights has an elastic member connecting it to the lens holder. The switch slides on the housing and clamps the ring to activate the lights. The coil induces power from the phone's charging cable. The lights are controlled by the board. This provides an external ring of LEDs for better low light photography compared to the phone's built-in flash.
22. Mobile Phone Case with Integrated Circuit Board and Independent Power Supply for Light Emission
SHENZHEN YIDU TECH INDUSTRIAL CO LTD, SHENZHEN YIDU TECHNOLOGY INDUSTRIAL CO LTD, 2021
A light-emitting device integrated into a mobile phone case to provide a convenient and easily portable light source for the phone. The device has a circuit board with a light source and an independent power supply connected to it. The components are integrated into the phone case so the light can be accessed and used directly on the phone without needing separate external accessories. The integrated light helps with tasks like taking pictures in low light conditions, inspecting small objects, or providing a flashlight.
23. Mobile Phone Case with Repositionable Detachable Light Device and Integrated Electrical Connectors
LI SHIFU, 2021
Detachable light-filling multifunctional mobile phone case that allows changing the position of a detachable light-filling device to adapt it for different scenarios. The case has a cavity for the phone, a detachable light device with a light ring frame that can support the phone, and electrical connectors. The light device can be removed and reattached in different positions. This allows using the light as a standalone fill light or attaching it to the case as a phone holder with integrated light. The detachable design enables versatility in using the light in various applications and angles.
24. Mobile Phone Case with Detachable and Independently Controllable LED Light Strips
GUANGZHOU CHAOTUO PLASTIC PRODUCTS CO LTD, 2021
Mobile phone case with a detachable, customizable display light strip to improve aesthetics and allow user preference. The case has a main body, control board, battery, touch switches, and LED strips. The LED strips include a color strip, red, yellow, blue, and white strips. The touch switches control the LEDs. The color strip and red/yellow/blue strips can be independently controlled. A detachable second color strip can be added for further customization. The strips can have different flashing rhythms.
25. Smartphone Case with Integrated Light Emitting Units and Wireless Charging Capability
JNB CO LTD, 2021
Smartphone case with integrated light emitting function that illuminates based on phone usage. The case has light emitting units on the sides, bottom, and back surfaces. A power supply provides power to the lights. The lights are activated based on phone state detected by a control circuit. The case can also wirelessly charge using a smartphone with wireless power transmission.
26. Mobile Phone Case with Integrated Wireless Charging Coil and Detachable Lighting Assembly
KUNMING UNIVERSITY OF SCIENCE AND TECHNOLOGY, UNIV KUNMING SCIENCE & TECH, 2021
A mobile phone case with integrated wireless charging and detachable lighting accessory. The case has a built-in wireless charging coil to charge other devices wirelessly. It also has a removable lamp assembly with a light, lens cover, and reflective surface. The lamp attaches to the case and uses power from the phone's wireless charging coil to provide supplementary lighting.
27. Portable Electronic Device Case with Integrated Front Camera Surround Lighting
Windy Place, Inc., 2021
Cases and lighting devices for portable electronic devices improve lighting conditions for front-facing cameras. The cases have built-in lights surrounding the front camera to illuminate the user's face better when taking selfies or video calls. The lighting devices can be mounted on the device display and shine on the user's face. The lights can be powered by the device itself.
28. Mobile Phone Case with Integrated Perimeter Light Source and Inner Wrapping Edge
GUOKE YIXUN BEIJING TECH CO LTD, GUOKE YIXUN TECHNOLOGY CO LTD, 2021
Mobile phone protective case with built-in light supplement feature and method for outdoor lighting using the case. The case has a back cover with an inner wrapping edge around the perimeter. The phone is sandwiched between the back cover and wrapping edge. The case has a light source integrated into the back cover or near the wrapping edge. The light can be turned on to supplement outdoor illumination when the phone is used in low light conditions.
29. Mobile Phone Case with NFC-Powered Light Control System and Integrated MCU
GUANGZHOU CHICKEN RUN NETWORK TECH CO LTD, GUANGZHOU CHICKEN RUN NETWORK TECHNOLOGY CO LTD, 2021
Mobile phone case with integrated light control that allows the case to be powered by the phone and communicate with it to control the case's lights. The case has an NFC component to collect power and instructions from the phone, an MCU to interpret the instructions, and a light unit. The NFC converts RF signals into current to power the case. This lets the case use the phone's power and communicate without batteries or separate power sources.
30. Mobile Phone Case with Wireless Reverse Charging, Heat Dissipation, and Adjustable Sliding Light Strip
AI GENGYIN, 2021
A multifunctional mobile phone case with wireless reverse charging, heat dissipation, adjustable lighting, and touch control. The case has a sliding mechanism that allows the integrated light strip to move up and down when touched or via an app. This provides adjustable lighting. The case also has a wireless reverse charging module that powers the light strip from the phone. A heat dissipation module on the bottom prevents overheating. The case allows customized lighting, touch control, and wireless charging functionality.
31. Mobile Device Case with Integrated Front-Facing Camera Illumination System
Windy Place, Inc., 2020
Enhancing the functionality of front-facing cameras on portable electronic devices to improve image quality and enable cosmetic applications. Cases with integrated lights can be mounted on devices like smartphones to provide better lighting conditions when using the front camera. The lights illuminate the user's face for better-quality selfies or video calls. The cases have one or more light sources around the display opening. The lights are powered by the device's battery.
32. Mobile Phone Case with Sound-Activated and Manual Switch-Controlled LED Array
WANG ANJIAN, 2020
Light-emitting mobile phone case with customizable LED notifications. The case has LED lights on the back that can be controlled by a circuit powered by a button battery. The circuit has a sound switch triggered by the phone's audio signals, as well as a manual switch. This allows the LEDs to flash when the phone rings, receives messages, or other events. The user can also turn on the LEDs manually. The case provides a customizable light notification feature for the mobile phone.
33. Sound-Responsive LED-Integrated Phone Case with Controller and Battery System
SHENZHEN KUNBAODA TECH CO LTD, SHENZHEN KUNBAODA TECHNOLOGY CO LTD, 2020
A music-activated light-filled phone case that uses sound to trigger the filling light. The case has a controller, battery, and LED fill lights. The fill lights are connected to the controller and battery. When music is played, it presses the controller to activate the fill lights. This provides supplementary lighting for better photo and selfie quality in low light conditions without needing a separate flash or fill light accessory.
34. Mobile Phone Case-Mounted Fill Light with Adjustable Arm and Detachable Light Module
Chongqing Shengtai Optoelectronics Co., Ltd., CHONGQING SHINETECH OPTICAL CO LTD, 2020
A self-timer fill light for mobile phones that attaches to the phone case and provides adjustable fill light for low-light photography. The light has a mounting mechanism that attaches to the back of the phone case. The mount has an adjustable arm that extends out from the case. The arm has a rotating joint and pivoting joints that allow positioning the light at different angles. The light itself has a detachable fill light that can be adjusted for brightness and color temperature. The light can be triggered by the phone's self-timer, allowing the user to position the light and then set the timer to take the photo.
35. Mobile Phone Case with Integrated LED Strip and Groove-Based Control Mechanism
LI HUI, 2020
A luminous mobile phone case with built-in LED strip that provides dynamic lighting effects. The case has a groove on the inner wall of the shell. An LED strip is inserted into the groove. There is also a control area on the bottom corner of the case. A switch on the side corresponds to this area. This allows controlling the LED lights in the strip. The case can have various lighting patterns and effects. It expands the functionality of the case and adds visual appeal.
36. Portable Electronic Device Cases and Lighting Devices with Integrated Adjustable Illumination for Front-Facing Cameras
Windy Place, Inc., 2020
Cases and lighting devices for portable electronic devices with front-facing cameras to improve image capture and user experience. The cases have built-in light sources around the camera opening to provide better lighting when using the front-facing camera. This enhances image quality and makes it easier for users to apply makeup or groom themselves using the device camera. The lighting devices mount to the device display and provide adjustable lighting for camera imaging. The devices can be powered by the device or have their own power source.
37. Mobile Phone Case with Integrated Light-Controlled Wireless Induction Charging System
DONGGUAN LEXIN PHOTOELECTRIC TECH CO LTD, DONGGUAN LEXIN PHOTOELECTRIC TECHNOLOGY CO LTD, 2019
A power-taking mobile phone case that allows charging the phone without an external power source. The case has a built-in light control chip that can communicate with the phone's charging circuit. When the phone connects to the case, the light control chip detects it and sends a signal to a drive chip that powers LEDs inside the case. The LEDs emit light to charge the phone's battery using wireless induction. The phone's charging circuit picks up the induced charge. The case also has a simple light control chip for manual LED activation.
38. Protective Case with Rotatable Retractable Lighting Assembly and Integrated Battery Pack
Jakob Spevak, 2019
A protective case for smartphones and tablets that includes a retractable light to provide front and back camera illumination in low-light conditions. The case has a built-in lighting assembly that rotates between positions to aim the light toward the front or back camera as needed. The case may also include a battery pack to power the light and charge the device.
39. Smartphone Cover with Reflective and Fluorescent Layers and Screen-Activated Display Detection
Samsung Electronics Co., Ltd., 2019
A smartphone cover accessory that enhances privacy and visibility of the device screen while adding design elements. The cover has a central area over the screen with a reflective layer to direct light and enhance visibility, surrounded by an edge area without the reflective layer. It also has a fluorescent layer to glow when the screen backlight shines through. The phone can detect the cover and trigger different screen displays when opened or closed.
40. Portable Electronic Device Case with Integrated Adjustable Front-Facing Camera Illumination System
Windy Place, Inc., 2019
Cases and lighting devices for portable electronic devices that provide enhanced lighting for front-facing cameras. The case has one or more lights near the display opening to illuminate a user's face when taking selfies. The lighting device mounts on the display and provides adjustable lighting for better front-camera photos. It can sync with the device to turn on when the camera is used.
41. Mobile Phone Case with Integrated Light-Emitting Mirror and Phone Battery-Powered Connection
Shenzhen Deanli Technology Co., Ltd., 2019
A mobile phone case with an integrated light-emitting mirror that can provide illumination without needing an external power source. The mirror assembly inside the case has a light-emitting component, lens, and control electronics all enclosed in the case back. It's electrically connected to the case's front frame conductive structure, which can access the phone's battery. This allows the phone's own power to be used for the mirror lighting instead of needing a separate battery.
42. Smartphone Case with Rotatable Camera-Directed Lighting and Integrated Battery Pack
Jakob Spevak, 2019
A protective case for smartphones that includes a lighting device to provide illumination for both the front and back cameras. The protective case has a rotating housing with lights that can be positioned to face either the front or back when using the corresponding camera. The case also contains a battery pack to power the lights and charge the phone.
43. Portable Electronic Device Case with Integrated Display-Surrounding Illumination System
Windy Place, Inc., 2018
Cases with built-in lighting to improve front camera image quality on portable electronic devices like smartphones. The cases have lights around the display opening that illuminate the user's face when taking selfies or video calls. They provide cosmetic lighting to enhance the image like makeup. The lights are activated when using the front camera and improve image quality in low light.
44. Mobile Phone Protective Cover with Integrated Light Source and Switch Mechanism
Xia Feiyan, 2018
A light-emitting mobile phone protective cover that has integrated lighting functionality. The cover has a housing to protect the phone, a light source inside the housing, and a switch to turn the light on and off. The cover can have additional features like a kickstand or card slot. The integrated lighting provides convenience for low-light situations without needing external lights or cases.
45. Phone Case with Impact-Activated Light Emission and Integrated Elastic Corner Balls
LEE DOO HEE, Lee Doo-hee, 2017
A protective phone case that emits light when dropped. The case has a body with a fitting groove to hold the phone rim, and integrated elastic balls at the corners. Inside the case, a light emitting module with battery, LED, and switch is mounted. The switch opens/closes contact between the battery and LED as it vibrates from impacts, turning the light on/off. This allows the case to emit light when dropped, making it easier to find and preventing loss in dark environments.
46. Mobile Phone Case with Integrated OLED Lighting Module and Partitioned Illumination Structure
LUMTEC LIGHTING CORP, 2017
Mobile phone case with integrated OLED lighting to improve low-light selfies. The case has an OLED lighting module inside with a partition separating the lighting area from the phone camera area. The lighting module has an opening in the case for the OLED to illuminate through. The partition has a groove separating the lighting area from a lens hole in the case for the phone camera. This allows the OLED light to illuminate the subject while the phone camera captures the image. The case also has an illumination hole near the lighting area to let the OLED light out. The OLED lighting provides a supplementary light source for selfies in low-light conditions.
47. Smartphone Case with Integrated LED Lighting, Color and Brightness Control, Battery Charging, and Detachable Connector
ALLIX CO LTD, AN JONG UK, 2017
A smart lighting device for smartphones with built-in batteries that can control color and brightness, diffuse the light, charge external devices, and function as a smartphone case. The device has a detachable case with a connector to attach to the phone, a front-mounted LED light, a diffuser cap, a controller inside the case, a battery, and power terminals. The controller receives commands from the phone to adjust LED color and brightness. It also provides charging and power to external devices. A reset button shuts off power. The case has a switch to turn on the LED.
48. Mobile Phone Case with Integrated Detachable Selfie Stick, Solar-Powered LED, and Environmental Sensors
KIM YOUNG KI, 2017
Mobile phone case with integrated selfie stick, solar charging, and self-illumination. The case has a detachable slide-out selfie stick, solar cell on the back to charge an LED, touch button to turn on the LED, light sensor to automatically light up in low light, and temperature sensor to prevent overheating. The selfie stick attaches to the case and extends for selfies. The solar cell powers the LED without draining phone battery. The touch button lights the LED when pressed. The light sensor activates the LED in dim light. The temperature sensor prevents overheating.
49. Mobile Phone Case with Temperature-Responsive Color-Changing Liquid Chamber and Integrated LED Illumination
CHEON KANG MIN, CHO HYUNG JIN, CHOI JUNG HWAN, 2017
Mobile phone case that visually indicates when the device has been used for a long time, decorates the phone with changing colors based on temperature, and emits light in response to temperature changes. The case has a temperature sensing unit with a liquid-filled chamber that changes color as the phone heats up. LEDs transmit light into the chamber to illuminate the color-shifting liquid. This allows the case to display visual cues about phone usage and temperature, enhancing appearance and providing a visual reminder to take breaks when the phone gets hot.
50. Smartphone Case with Integrated Bluetooth Speakers and Self-Timer Light System
SHENZHEN HELICHENG TECH CO LTD, SHENZHEN HELICHENG TECHNOLOGY CO LTD, 2017
A self-timer light protective case for smartphones with built-in Bluetooth speakers. The case has a main body with camera and button cutouts, a transparent inner layer with a USB connector, and a mounting plate inside. The inner layer has adhesive to attach fill lights. The mounting plate has speakers, a switch board, and a battery block. The speakers and lights correspond to the case cutouts for optimal acoustics. The USB charges the battery. The case protects the phone while providing fill light, Bluetooth audio, and self-timer functionality.
Several advancements in illuminated phone covers are demonstrated by the patents listed here. These solutions satisfy a variety of customer needs, such as UV-C light sanitization for better hygiene and thoughtfully positioned lights for better selfies. Further developments incorporate flash and lighting elements while maintaining camera functionality.
Get Full Report
Access our comprehensive collection of 66 documents related to this technology
