Mobile Phone Cases with Accessory Attachment
Modern smartphone cases must balance protection with usability while accommodating a growing ecosystem of accessories. Current attachment methods often require permanent modifications, add substantial bulk, or limit the number of concurrent accessories—with typical cases adding 3-8mm of thickness and restricting users to single-purpose attachments.
The core challenge lies in creating secure, repeatable attachment points that maintain device protection without compromising the case's primary protective function or requiring complex user interaction.
This page brings together solutions from recent research—including modular rail systems, magnetic coupling mechanisms, adaptive track designs, and reconfigurable compartment architectures. These and other approaches demonstrate how accessory attachment can be simplified while maintaining case integrity and user convenience.
1. Mobile Phone Case Attachment with Movable Gripping Member and Resilient Connectors
YINSUO GUAN, 2023
Gripping attachment for mobile phone cases that allows comfortable one-handed use, propping up the phone, adjustable screen angles, and attaching to metal surfaces. The attachment attaches to the case via sticking, magnets, or press fittings. It has a movable gripping member with a resting position, a working position for holding the phone, and a position to prop up the phone. The gripping member connects to the attachment via resilient connectors. This lets users comfortably access the phone screen with their palm, adjust the angle for viewing, and attach to surfaces like cars or fridges.
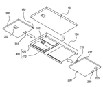
2. Mobile Device Protective Case with Detachable Sidewall for Peripheral Attachment and Ruggedized Dual-Housing Design
MobileDemand LC, 2023
Protective case for mobile devices like tablets or smartphones that enables efficient ruggedization, peripheral attachment, and protection against drops while maintaining compatibility with modular peripherals like keyboards, barcode scanners, etc. The case has a flexible rubberized housing partially enclosed by a rigid housing. The rigid housing has a detachable sidewall that can cover and protect peripheral ports when not in use. The sidewall can be removed to attach peripherals like keyboards directly.
3. Phone Case with Detachable Gripping Attachment Featuring Rotatable Arm and Magnetic Mounting
Yunxiang Wang, 2023
A phone case with a detachable attachment that allows secure one-handed holding and adjustable screen viewing. The attachment has a gripping member that attaches to the case using an adhesive or slots. It also has a rotatable arm with pins that lock into openings on the case. This lets the user adjust the grip position to fit their hand size and comfort. The attachment also has magnets for detachable mounting to the case. When attached, the grip prevents slippage in one-handed use. When detached, the pins can lock into the case openings to prop up the phone at different angles.
4. Magnetic Gripping Accessory with Recessed Housing for Secondary Magnetic Attachment
Marco Donna, 2023
A magnetic gripping accessory that attaches to portable electronic devices like phones and tablets to provide a handle and stand. The accessory has a magnetic element that allows it to be easily attached and detached from a device or case. It also has a recessed housing to hold a second magnetic element. This allows other accessories like keyrings to magnetically attach to the grip without interfering with device use.
5. Mobile Phone Case with Detachable Telescopic Support and Rotating Ring Buckle Mechanism
DONGGUAN CHENGGONG ELECTRONIC TECH CO LTD, DONGGUAN CHENGGONG ELECTRONIC TECHNOLOGY CO LTD, 2022
A mobile phone case with a detachable support that can be easily attached and removed. The case has a fixed portion inside the case housing and a detachable support that connects to the fixed portion. The support has a base, a locking part that telescopes into the base, and a rotating ring buckle on the base. The support abuts against the housing and the locking part engages with the fixed portion to secure the support in place. Pressing a button on the locking part allows the support to detach from the housing. This provides a way to easily attach and remove a support from the case when needed, without carrying a separate stand.
6. Magnetic Removable Grip Accessory with Recessed Magnet for Additional Attachments
Marco DONNA, 2022
A removable grip accessory that attaches to electronic devices like phones and tablets. The grip has magnets to attach to metal cases or devices and also has a recessed magnet to attach additional accessories like a keyring. This allows the grip to be easily attached/detached and also lets other accessories be added without removing the grip.
7. Strap Unit with Movable Clip and Retractable Mechanism for Device Attachment
Vitec Imaging Solutions S.p.A., 2022
A strap unit for electronic devices that allows users to hold and stabilize their device securely and also attach it to tripods and other accessories. The strap attaches to the device case and has a moveable clip. This clip can slide along a fixed path to expose a connector that can attach to a tripod or other accessory. The strap can be retracted when not in use.
8. Device Strap with Sliding Attachment Mechanism for Tripod Connectivity
Vitec Holdings Italia SRL, 2022
A device strap with an attachment mechanism that allows users to securely hold electronic devices and attach them to tripods or other accessories. The strap clips onto the device case and can slide along a fixed path to expose a clip that connects to a tripod. This provides a more secure grip on the device and allows it to be conveniently attached to tripods and other accessories.
9. Smartphone Card Holder Attachment with Secure Slot and Flexible Insertion Clip
NITE IZE, INC., 2022
A smartphone card holder attachment allows users to carry IDs, credit cards, and transit passes directly on the back of the phone. The attachment has a secure slot to hold the cards and a flexible clip on one end that allows cards to be easily inserted and removed. It attaches to the phone using adhesive or a case.
10. Electronics Device Case with Track-Based Accessory Attachment System Featuring Ridges and Grooves
Kristopher Jon Soderstrom, Siegfried Lauren, 2022
Electronics device case with tracks for customizable accessory attachment. The case has tracks with ridges and grooves on the outside that allow accessories with complementary protrusions to be attached at any position along the tracks. The ridges have recesses that lock the protrusions into place. This provides a convenient way to attach and remove accessories like wallets, keys, and more to a device case.
11. Mobile Phone Case with Hook-Shaped Interlocking Detachable Connection
JIUJIANG ZHENCHUANG NEW MATERIAL TECH CO LTD, JIUJIANG ZHENCHUANG NEW MATERIAL TECHNOLOGY CO LTD, 2022
An easy to disassemble and assemble all-in-one mobile phone case with a unique detachable connection between the two main body pieces. The case has an inner body with a recess to hold the phone, and outer body with a hook-shaped engaging portion along the edge. The inner body has a camera and charging interface avoidance hole that connects to the outer body. The outer body has a corresponding hook-shaped portion to interlock with the inner body. This allows the case to be quickly and easily assembled and disassembled by snapping the hooks together.
12. Protective Case with Modular Attachment Points and Rear Compartment for Accessory Integration
Andre Lamont Chenier, 2022
This is a protective case for mobile devices that provides modular, customizable attachment points for accessories. The case has an inner and outer wall that forms a rear compartment on the back of the device. The rear compartment has multiple slots to receive adaptor modules that allow connecting the case to various peripherals. The modular design allows attaching diverse accessories to the case simultaneously without needing to remove the case.
13. Strap Adapter for Mobile Phones with Detachable Contact Piece and Integrated Ring
SAM PARTNERS, SUPERCONCEPT CO LTD, 2021
A strap adapter for mobile phones that allows attaching hand straps or accessories to cases without separate coupling devices. The adapter consists of a detachable contact piece inside the case that mates with an exposed ring portion outside the case. When the phone is inserted between the case and adapter, the ring attaches to the case and the contact piece attaches to the phone. This allows straps to be hooked onto the ring and hang from the phone. The contact piece can have features like slip prevention, card slots, and preventers to keep straps from falling off if the ring breaks.
14. Mobile Phone Case with Rotatable Bracket and Protective Corner Protrusions
GUANGZHOU AITUO ELECTRONIC PRODUCTS CO LTD, 2021
Mobile phone case with an integrated bracket that allows convenient and secure attachment and detachment of the phone to surfaces. The case has a bracket connection frame at the bottom with a rotatable bracket attached. This allows the bracket to be easily detached and the phone used independently. Protrusions at the rear corners prevent the bracket from contacting and scratching the phone's camera when the bracket is rotated. This prevents wear on the phone's camera and provides a more protective and aesthetically pleasing case design.
15. Mobile Phone Case with Multi-Directional Grip Bracket and Integrated Adapter Socket
WUXI INST TECHNOLOGY, WUXI INSTITUTE OF TECHNOLOGY, 2021
A mobile phone case that allows easy multiple directional grip and provides an adapter socket. The case has a bracket mounting groove on the back with support blocks inside. A fixed adapter is underneath. A sealing plate covers the top. The back bracket inserts into the groove and connects to the sealing plate. This allows holding the phone with the sealing plate and bracket, like a handle. The adapter converts the phone's sockets for better access while gripping horizontally.
16. Mobile Phone Case with Integrated Foldable Stand and Sewn Flip Cover Mechanism
GUANGZHOU CHAOTUO PLASTIC PRODUCTS CO LTD, 2021
Mobile phone case with a foldable stand that attaches to the back of the case. The stand has a flip cover layer and a back cover layer connected to the case. The flip cover layer folds out to form a stand when needed. The back and flip covers are sewn together and fixed in place using a component. This allows the phone to be propped up for viewing without needing an external stand.
17. Mobile Phone Case with Integrated External Lens and Microphone Mounting Interfaces
WANG DIDI, 2021
Mobile phone case with built-in accessories mounting points for external lenses and microphones. The case has a lens mounting hole on the back covered by a bump to protect the camera. It also has fixing points like a cold shoe or threaded interface on the side. This allows attaching accessories like lenses and mics directly to the case for improved photography and audio capabilities. The case can have a detachable back plate with a barrier around the front edge to protect the phone screen.
18. Modular Phone Case with Rail System for Interchangeable Cosmetic and Storage Attachments
Innovative Music, LLC, 2021
Reversible modular phone case with interchangeable makeup accessories that allow users to customize their phone case with different cosmetic features and storage options. The phone case has a rail system to attach removable makeup and storage attachments. Users can swap out attachments like blush, mirrors, storage compartments, etc., to change their phone case's cosmetic appearance and functionality.
19. Smartphone Protective Case with Integrated Cable Slots, Magnetic Locking Back Cover, Rotating Hand Grip, Vertical Stand, and Magnetized Base
NANJING TANG YI INFORMATION TECH CO LTD, NANJING TANG YI INFORMATION TECHNOLOGY CO LTD, 2021
A smartphone protective case that allows connecting cables and accessories without removing the phone. The case has features like a slot for inserting cables, connectors slots for USB and charging, and a magnetic lock to secure the back cover. It also has a rotating hand grip, vertical stand mechanism, and a magnetized base. The case accommodates cables inside and has magnetic connectors to secure accessories. The locking back cover prevents phone damage if dropped. The rotating grip lets you hold the phone better or set it down vertically. The magnetic base attaches to car dashboards.
20. Modular Protective Case with Rear Compartment for Accessory Integration
Andre Lamont CHENIER, 2020
A modular protective case for electronic devices like smartphones and tablets that enables seamless integration with various accessories without needing to be removed. The case has a rear compartment formed by an inner wall that contacts the device's back surface and an outer wall. The rear compartment provides mating structures that allow diverse accessories and peripherals to be attached to the protective case with a high degree of modularity, easy accessibility, and functionality.
21. Smartphone Case with Integrated Guides and Hooks for Snap-On Module Attachment
HAN CHI HOON, 2020
Modular smartphone case that allows adding functional modules without disassembling the phone. The case has integrated guides and hooks to attach external modules. The modules have matching hooks and protrusions that engage with the case guides. This allows snap-on attachment and removal of modules like cameras, sensors, or speakers without disassembling the phone. The case also protects the phone.
22. Mobile Phone Case with Integrated Card Holders, Rotatable Earphone Brackets, and Wearable Elastic Belt
NORTHEAST FORESTRY UNIVERSITY, UNIV NORTHEAST FORESTRY, 2020
A multifunctional mobile phone case with features like card storage, earphone attachment, and wearability. The case has a lower card holder at the bottom and a middle card holder in the back. The card holders are attached to the case sides. The case also has earphone brackets on the top and bottom. The brackets can rotate using pins to connect/disconnect the earphones. The case can be worn using an I-shaped elastic belt with big and small buckles.
23. Credit Card Holder with Flexible Clip and Smartphone Attachment
NITE IZE, INC., 2020
A slim credit card holder that can be attached to the back of a smartphone. The holder has a slot for cards and a flexible clip that can be pressed away from a lip to insert and remove cards. The clip snaps back to secure the cards in place.
24. Protective Phone Case with Detachable Quick Release Grip Handle
Jeffrey Overall, 2020
A quick release grip for a protective phone case that helps with smartphone photography. It allows users to quickly attach and detach a grip handle to their smartphone case. This gives users a comfortable grip and better control of their phone while taking photos or videos. The grip can be released and removed when not needed, allowing the phone to fit easily in a pocket or bag.
25. Mobile Device Case with Adjustable Track-Based Retractable Strap Grip
Jarrod Mallory, Marianne Mallory, 2019
Case for mobile devices like smartphones and tablets that provides a customizable finger grip to prevent dropping. The case has openings to attach a flexible strap that can slide and adjust to form a loop grip. The strap can be positioned along a track to find the optimum grip size. This provides a secure grip for large devices and one-handed use. The strap can also retract flat against the case when not in use.
26. Protective Phone Case with Detachable Card Slot Bracket and Adhesive Attachment System
SHENZHEN LANHE TECH CO LTD, SHENZHEN LANHE TECHNOLOGIES CO LTD, 2019
Mobile phone accessory that combines a protective phone case with detachable card slots to provide additional functionality. The case has at least one slot for cards like IDs or business cards. A separate detachable bracket has a card block that fits into the slot. This allows users to quickly attach and remove cards from the phone case. The bracket can also have other features like hand rings, cameras, lights, or game handles. The bracket attaches to the phone case with adhesive film, which allows customization of the accessory by swapping brackets.
27. Protective Cover with Stepped Through Hole and Annular Protrusion Attachment Mechanism
EVOLUTIVE LABS CO., LTD., 2019
Protective cover assembly for handheld devices like smartphones that has an embedded attachment feature for removable accessory units. The protective cover has a through hole with a stepped interior wall. An attachment member can be inserted into the hole to provide an attachment point for accessories. The attachment member has a base plate with an annular protrusion that fits into the stepped portion of the hole. The protrusion can secure an accessory unit to the cover.
28. Modular Phone Case with Interchangeable Side-Mount Accessories
ESSENTIAL PRODUCTS, INC., 2019
Modular phone case with interchangeable accessories that can attach and detach from the case and device. The case surrounds 4 sides of the device, leaving the 5th side exposed. The detachable accessory covers that side. It can be a pocket, suction cup, camera, battery, audio port, etc. The accessories can communicate wirelessly or wired with the device. The modular design allows customization by swapping accessories as needed.
29. Smartphone Case with Modular Attachment System for Interchangeable Functional Modules
Choi Kyung-hoon, 2018
Smartphone case that allows users to attach and detach various functional modules to customize the device based on their needs. The case has a detachable battery pack and a detachable accessory module. The modules connect to the case via a coupling mechanism on the back. This allows users to swap out the battery and add features like cameras, speakers, chargers, fragrances, watches, etc. It provides a modular platform to expand smartphone functionality without needing a separate accessory.
30. Modular Protective Case with Removable Sliding Attachment Adapter and Locking Mechanism
Otter Products, LLC, 2018
Modular protective case system for electronic devices that allows interchangeable accessories to be attached and removed easily. The case has a removable attachment adapter that slides onto the case and locks in place. Accessories also have a sliding rail that inserts into the adapter and locks. This allows attaching accessories to the case without needing screws or other permanent fasteners. The locking mechanism uses features like snap fits and interference fits to secure the accessories.
31. Cell Phone Case with Integrated Accessory Compartments and Storage Features
KIM YEON WOO, Kim Yeon-woo, 2018
A multi-function cell phone case that allows carrying accessories like spare batteries, earphones, and cards inside the case itself. The case has features like a card holder, auxiliary battery stopper, earphone storage compartment, push button lid, and earphone winding section to prevent loss and make it easy to access and carry these items alongside the phone.
32. Mobile Phone Case with Removable Support Frame and Magnetic Dust Covers
GUANGDONG YIMEI IND CO LTD, GUANGDONG YIMEI INDUSTRIAL CO LTD, Guangdong Yimei Industrial Co., Ltd., 2018
A mobile phone case with integrated accessories and improved grip for large-screen devices. The case has a removable support frame that attaches to the back cover to provide a handle-like grip when holding the phone. The frame has cutouts for camera and port access. The case also has built-in dust covers for headphone jack and charging port. The covers have magnets to secure them in place and can be removed for access. The case has a magnetic blocking piece fixed to the bottom magnets to prevent interference with mobile components.
33. Phone Case with Railing System for Interchangeable Cosmetic Accessory Attachments
Innovative Music, LLC, 2018
Phone case with interchangeable makeup accessories that attach to the case providing adjustable storage and customizable cosmetic features for users. The case has a railing system that allows various attachments like makeup containers, brushes, mirrors etc. to be reversibly coupled to the case. This allows users to change the cosmetic appearance of the case and also provide storage for makeup and accessories.
34. Protective Case with Snap-Fit Rail System for Removable Accessory Attachment
Otter Products, LLC, 2017
Protective case for electronic devices that allows removable attachment of accessories using a snap-fit rail system. The case has an attachment mechanism with a receiver channel and snap features to slide in and lock removable accessories like camera grips, stands, etc. The accessories have corresponding rails with snaps to attach and securely hold in the case. This allows customizing the device functionality and features by swapping accessories. The rails can have variable width ends to create a tighter grip as they slide in the channel. The accessories can also have secondary attachment points for further securing.
35. Mobile Device Case with Integrated Kickstand, Stylus Storage, and External Memory Slot
Michael McKenzie, 2017
A mobile device case that provides additional functions like kickstand, stylus storage, external memory expansion, and protection. The case has a shell with a retainer for the device, a kickstand slot, and a stylus well. The kickstand attaches to the shell via hinges. The stylus stores in the well and extends out. The case also has a memory card slot covered by a dust cap. This allows adding storage without opening the case. The case has buttons covers and ports access for full device functionality.
36. Mobile Device Case with Modular Attachment Interface for Removable Accessories
PORTERO HOLDINGS LLC, 2016
Removable accessories and cases for mobile devices that allow users to attach additional components like handles, lights, tripod mounts, microphones, etc. The accessories can be easily attached and detached from the device case to provide additional functionality. The case has a removable attachment portion that receives a securement member from the accessory. It also has an access portion that provides access to the device component. This allows the accessory to be attached without covering the device features. The case itself can be removably attached to the device.
37. Cell Phone Case with Detachable Suction Members for Shock Absorption and Slim Profile
KIM JIN MAN, 2016
Cell phone case design with detachable suction members to protect the phone without adding bulk or requiring a separate inner case. The case has suction members on the front, back, and sides that can be removed and squeezed to attach to the phone. This allows the case to be thin and versatile since it doesn't need a separate inner case. The suction members also provide shock absorption between the phone and case.
38. Cell Phone Case with Integrated Keypad Port, Camera Lens Mount, Accessory Interfaces, and Internal Shock Absorbers
ZHAO ZHIQIN, 2015
Multi-functional cell phone case that provides protection and added functionality to the phone. The case has a hollow body with features like a keypad port, camera lens mount, accessory interfaces, and non-slip grooves. The camera lens mount protrudes slightly and has space to accommodate external lenses. The case also has internal shock absorbers. This allows attaching accessories through the interfaces, using external lenses on the camera, and preventing drops with the internal shock absorption.
39. Mobile Phone Case with Magnetically Aligned Detachable Lens Attachment System
JOO YOUN JAE, 2015
Mobile phone case with built-in lens attachment that makes it easy to align and attach external lenses without repeated alignments. The case has a detachable outer shell with magnets and a protective inner cover with magnets that match up when connected. The shell has a lens mount and the cover has a corresponding lens mount. The magnets hold the shell and cover together in a balanced force. This allows attaching a lens once and then easily detaching the shell with the lens still aligned.
Many innovative approaches for fastening accessories to phone cases are demonstrated in these patents. More intriguing and practical ways to customize and improve the operation of mobile phones should become available as these technologies advance through better case attachment options.
Get Full Report
Access our comprehensive collection of 39 documents related to this technology
