Teat Cup Design for Automated Milking Systems
Modern automated milking systems face significant engineering challenges in teat cup design and attachment. Field data shows that failed attachments can occur in 5-15% of milking attempts, with each failure adding 45-90 seconds to milking time and potentially causing stress to the animal. These challenges are compounded by the biological variability in teat position, size, and spacing across different breeds and individuals.
The fundamental challenge lies in creating teat cup designs that can reliably attach, maintain seal integrity, and provide gentle yet effective milk extraction while preventing contamination and maintaining animal comfort across thousands of milking cycles.
This page brings together solutions from recent research—including pressure-actuated valve systems, binocular camera-guided positioning, shell-and-liner assemblies with radial alignment, and intelligent attachment sequencing. These and other approaches focus on improving attachment success rates while maintaining stringent hygiene standards and animal welfare requirements.
1. Automated Milking System with Machine Learning-Based Teat Cup Attachment Sequencing
GEA FARM TECHNOLOGIES GMBH, 2024
Optimizing the sequence of attaching teat cups on a cow during automated milking to reduce failures and improve efficiency. The method involves using machine learning to determine the best sequence for attaching teat cups on a specific cow based on historical data. The learning is done by training a model to predict the success of attaching a teat cup based on factors like the previous teat cup attachments and the cow's udder geometry. This allows finding the optimal sequence for each cow that minimizes failures and reduces the number of attachment trials.
2. Mobile Robotic System with Ramp-Mounted Vertical Teat Cups for Under-Animal Dairy Livestock Treatment
AFIMILK AGRICULTURAL COOPERATIVE LTD, 2024
A system for treating dairy livestock like cows that allows robotic milking and disinfecting directly under the animal without requiring the animal to move. The system uses a mobile robot that moves along a ramp between the animal's front and hind legs to perform tasks like milking, disinfecting, and testing. The teat cups are mounted vertically on the ramp in fixed locations. This allows the robot to easily access them without needing to move the animal. The ramp design allows the robot to operate directly under the animal without requiring it to enter the stall. The ramp can also have features like flaps to cover the teat cups and tubes to connect them to the main milk line.
3. Monitoring Unit with Flow-Responsive Element and Sensor for Teat Cup Detachment Detection
GEA FARM TECHNOLOGIES GMBH, 2024
Device and method for controlling milking processes to prevent contamination when teat cups detach. The device has a monitoring unit between teat cups and milk lines. It contains a flow element that moves with milk flow. A sensor detects the flow element's position. If the flow element is detected during non-milk flow phases, it indicates a detached teat cup. The monitoring unit can then signal to stop milking vacuum to prevent air sucking into the lines. The device enables detecting and addressing detached teat cups during milking to prevent contamination.
4. Automated Milking System with Integrated Backflushing and Teat Dipping Mechanism Featuring Safety Valve and Pressure Differential Bleeding
GEA FARM TECHNOLOGIES INC, 2023
Automated system for backflushing and teat dipping milking systems to prevent contamination of milk and ensure hygiene. The system has a safety valve that seals off the milking unit during cleaning. Backflushing fluid, water, and air are pumped through the unit. A dip valve allows dip application. The safety valve bleeds pressure differentials between seals to prevent contamination. The system automates cleaning and dipping at the end of milking to minimize chemical and water usage. It can be retrofitted to existing milking units.
5. Milking Robot System with Binocular Camera for Teat Detection and Positioning
INNER MONGOLIA OUMU MACHINERY EQUIPMENT CO LTD, 2023
Intelligent milking robot system using machine vision to automate and optimize the milking process. The system has a binocular camera setup that captures images of the cow's teats. It uses image processing and detection techniques to locate the teats accurately. The camera data is transformed between pixel, camera, and world coordinate systems. This allows the robot to precisely position the milking cups for extraction. The system also sends instructions to the robotic arm to move to the teat locations based on the camera coordinates. The binocular setup provides stereo vision for depth perception to help with accurate teat detection.
6. Automated Dairy Milking System with Integrated Teat Preparation and Valve-Controlled Fluid Separation
GEA FARM TECHNOLOGIES INC, 2023
Automated dairy milking system that allows efficient and hygienic milking of cows without risking contamination of the milk lines. The system uses valves to separate milk and cleaning fluids, and has a teat preparation process inside the milking cup to avoid exposing teats to dirt. After attaching the cups, the teats are sanitized, pulsated, and rinsed inside the cup before milking starts. This prevents contamination of the milk lines. The valves also allow controlled washing of the milking equipment and storage tanks. The system uses sensors to determine when to switch between cleaning, milking, and washing modes.
7. Milker Unit with Shell and Liner Assembly Incorporating Radial Alignment Recess and Key Mechanism
GEA FARM TECHNOLOGIES INC, 2022
Milker unit for dairy animals with a shell and liner combination that reduces twisting of the liner inside the shell while maintaining good sealing contact with the animal being milked and efficiency of the milking process. The shell has an alignment recess spaced radially outwardly from the longitudinal axis, and the liner has a key that engages the recess in the shell to prevent twisting. The liner also has locking rings that engage the shell to secure the liner in place.
8. Milking Cluster with Pressure-Actuated Valve System in Teat Cup Milk Passageways
AN UDDER IP COMPANY LTD, 2022
Milking cluster with valves in each teat cup to prevent treatment fluid contamination and reduce teat compression during rest phases. The valve system has a pressure-actuated valve in each milk flow passageway from the teat cup to the cluster bowl. During milking, the valve opens to allow milk flow. During rest phases, the valve closes to prevent milk flow. This prevents treatment fluid from entering the teat cup during rest phases when milk is not being extracted. It also reduces compression on the teat during rest phases by allowing the liner to collapse more fully.
9. Robotic Arm-Based Integrated Teat Processing System with Visual Recognition and Sequential Cleaning, Milking, and Medication Components
NANJING LIRUN INFORMATION TECH CO LTD, 2022
Automated milking system for cows and other milk-producing animals that provides thorough teat cleaning, milking, and medication application in a single device. The system uses a robotic arm with a processing mechanism that moves inside a cattle restraint cage. Cameras monitor the animal's teats and a recognition module identifies them. The arm cleans, milks, and medicates the teats in sequence using components like a cleaning device, milk lining, and medication bath shell. This integrated teat processing prevents bacteria growth, improves milk quality, and eliminates the need for separate machines.
10. Automatic Milk Cup Sleeve Device with Integrated Laser Scanning and Binocular Stereo Vision for Nipple Recognition and Positioning
Beijing Vocational College of Agriculture, BEIJING VOCATIONAL COLLEGE OF AGRICULTURE, 2021
Automatic milk cup sleeve device that enables precise nipple recognition and positioning through a novel combination of laser scanning vision and binocular stereo vision. The system employs a combination of laser scanning technology to accurately identify the milk cow's nipple and a stereo vision system to precisely position the milk cup. This enables real-time monitoring of the nipple during milking, allowing for the automatic placement of the milk cup.
11. Rotary Milking Parlor Robot with Dual Movable Teat Preparation Cups
DELAVAL HOLDING AB, 2021
Preparation robot for cleaning and stimulating animal teats in a rotary milking parlor. The robot has two movable cups to prepare the teats. One cup is fixed, the other detachable. The fixed cup cleans the teat during milking. The movable cup detaches and can reach further teats. It moves between fixed and detached positions using a flexible line. After teat prep, the line retracts the movable cup back. This allows thorough teat cleaning in the time constraints of a rotary parlor.
12. Mobile Robotic System with Ramp-Based Access and Vertical Teat Cup Holders for Dairy Livestock Treatment
AFIMILK AGRICULTURAL COOPERATIVE LTD, 2021
System for treating dairy livestock like milking cows using mobile robots that move along ramps under the cows instead of bringing the cows to fixed milking robots. The system has vertical teat cup holders between stalls for the robots to access without entering the milking area. The robots have arms to attach and detach teat cups from the holders. This allows treating the cows without modifying the existing milking parlor. The robots can also do tasks like disinfection and testing. The system uses ramps instead of rotary milking parlors. The robots have rechargeable batteries and can communicate with each other. The teat cups have different lengths for easier gripping. The holders can move positions during milking to accommodate the robots.
13. Movable Automatic Milking System with Trolley-Mounted Manipulator and Integrated Camera Monitoring
UNIV YUNNAN AGRICULTURAL, 2021
A movable automatic milking system that eliminates the labor-intensive process of manually attaching and detaching milking cups. The system features a side-by-side Baoding fence, milking machine, and milking cup assembly. The milking cup is connected to the machine through a piping system, with the trolley-mounted manipulator moving to different milking stations. The system includes a camera system to monitor cow milking activity and transmit images to the control system, enabling real-time monitoring and automation of milking operations.
14. 3D Camera-Based Teat Detection System with Tail Position Prediction and Robotic Arm Alignment
DAWOON, Daun Co., Ltd., Republic of Korea, 2021
Method and apparatus for accurately detecting cow teats using a 3D camera to automate milking without human intervention. The method involves using a tail recognition camera to determine the cow's tail position, then calculating predicted breast and nipple locations based on the tail position. A nipple recognition camera is moved to those predicted locations using a robot arm, and finally the nipples are imaged and analyzed to confirm the exact locations. This allows the milking cup to be precisely positioned over the teats for efficient and accurate milking.
15. Automatic Milk Collection Device with Vacuum-Assisted Milking and Inflatable Positioning System
HEILONGJIANG KANGPU BIO-TECHNOLOGY CO LTD, 黑龙江康普生物科技有限公司, 2020
An automatic milk collection device that enables efficient and sanitary milking of dairy cows through a novel vacuum-assisted milking system. The device features a unique positioning system that inflates a massage rubber head on the milk cup body, creating a vacuum environment that prevents bacterial contamination while facilitating the removal of milk from the udder. This system enables continuous milking operations while maintaining optimal milk quality and worker safety, particularly in situations where cows are moving.
16. Mobile Milking System with Autonomous Units and Vertical Teat Cup Holders for On-Demand Milking
AFIMILK AGRICULTURAL COOPERATIVE LTD, 2020
Multiple cell voluntary milking system for dairy farms that allows cows to be milked on demand without fixed milking times. The system uses mobile milking units that travel between stalls to milk cows when they want. The cows have free access to the stalls and enter when they feel like being milked. The mobile units attach the milking equipment to the cows, then detach and return it when done. This allows flexible milking without herding the cows. The system also has vertical teat cup holders that move up and down as cows enter and exit. This enables cows to comfortably enter without interference.
17. Milk Cup Tray with Tiltable Rack and Integrated Pouring and Recovery Mechanism
北京拓博尔机器人科技有限公司, BEIJING TUOBOER ROBOT TECHNOLOGY CO LTD, 2020
A milk cup tray for milking robots that addresses common issues with traditional milk cup trays. The tray features a rack with a tray bottom plate, a tray support plate, and a milk cup tray that can be easily tilted for manual removal. The tray also includes a pouring device and recovery mechanism to facilitate automated milk transfer and cleaning. The tray's design enables both manual and automated milking operations while maintaining hygiene and convenience.
18. Milker Unit Liners with Internal Flow Diverters Featuring Flow-Diverting Chamber and Strategic Diverter Placement
GEA FARM TECHNOLOGIES INC, 2019
Milker unit liners with internal flow diverters that enhance teat dip distribution during milking. The liners incorporate a flow-diverting chamber within the teat cup, featuring a specially designed diverter that directs milk and cleaning solution to all areas of the teat, including the side opposite the teat entry point. This innovative design improves uniform dip distribution and reduces dip waste compared to conventional teat cup designs. The flow diverter is strategically positioned to facilitate effective teat dip application while maintaining structural integrity.
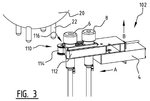
19. Pivoting Adjustable Milking Arm with Precision Cluster and Spring-Loaded Positioning System
GEA FARM TECHNOLOGIES GMBH, 2019
Automated milking arm for milking systems that enables simultaneous milking of multiple animals while maintaining precision and safety. The arm features a pivoting, adjustable design that allows it to position between animal legs, enabling efficient milking of multiple animals in a single operation. The arm incorporates a precision milking cluster and transmission system that enables precise teat placement and handling. The design incorporates a spring-loaded system that maintains optimal positioning during milking, eliminating the need for separate teat attachment points. The arm's pivoting motion enables precise animal positioning and teat placement, while the adjustable design allows for simultaneous milking of multiple animals. The system incorporates a guide roller system for smooth teat handling and a spring-activated system for teat positioning.
20. Milking Machine with Rotating Table and Precision Nipple Guide System Incorporating Integrated Cleaning Mechanism
ANHUI YOMO MACHINERY GROUP CO LTD, 2019
A milking machine with precision nipple positioning enables more efficient milking and cow comfort. The machine features a rotating table with a precision-fitted nipple guide system that accurately positions the cow's teat during milking. The guide system comprises a rotating shaft with a precision-fitted connecting rod, an inner fence, and peripheral fences. Spacer plates between the fences create milking areas. The system incorporates a cleaning system with a waste tank, cleaning cup, water pump, and suction line to maintain cleanliness during milking. The design minimizes equipment interference, prevents teat damage, and optimizes milking efficiency while maintaining cow comfort during the milking process.
21. Device with 3D Cameras for Teat Cup Geometry Measurement and Classification
DELAVAL HOLDING AB, 2019
A device and method for classifying milking equipment to optimize milking operations by analyzing the geometry of milking teat cups. The device uses 3D cameras to capture precise measurements of teat cup dimensions, which are then used to determine the appropriate teat cup liners for specific milking systems. This enables targeted liner selection based on teat cup characteristics, improving milk quality and reducing mastitis risks. The system provides real-time data on teat cup dimensions through a user interface.
22. Teat Cup with Radial Sealing Rib and Thin-Wall Region for Vacuum Management
HAPPEL WERNER, 2019
A teat cup design that enables efficient vacuum management during milking while maintaining optimal teat comfort. The design features a teat cup with a hose portion that has a specialized internal space, including a radial sealing rib and a thin-wall region. During suction, the teat is sealed at the shaft, preventing ventilation of the underlying teat tissue. This configuration ensures optimal vacuum distribution while maintaining teat integrity. The radial sealing rib improves teat seal quality, while the thin-wall region prevents vacuum creep. The teat cup design enables precise control over vacuum levels during milking, ensuring optimal milk flow while maintaining teat health.
23. Automated Milking System with Four-Way Valve Configuration for Separation of Flushing and Milking Lines
GEA FARM TEKHNOLODZHIS INK, GEA Farm Technologies Inc., 2019
Automated milking system that prevents contamination of milk collection lines and systems through a novel valve arrangement. The system features a milking machine with a milking stall where a dairy animal is placed, a milking device with many teat cups, and a flushing piping system that connects to the teat cups. The system employs a four-way valve configuration that separates the flushing and milking lines while maintaining a pressure differential. This configuration prevents cross-contamination between the flushing and milking systems, ensuring the integrity of the milk collection lines and preventing contamination of the milk itself.
24. Robotic Arm Gripper with Magnetic Fixed-Position Teat Cup Holder for Automated Teat Cup Placement
TECH HOLDINGS CORP, 2019
A gripper-mounted milking system for automated teat cup placement on udder teats, enabling precise positioning without animal agitation. The gripper comprises a robotic arm with a fixed-position teat cup holder, which is precisely positioned relative to the teat using a magnetic system. The gripper's motion is synchronized with the milking process, ensuring accurate placement of teat cups. This eliminates the traditional manual positioning method, allowing the milking system to operate with reduced animal stress.
25. Milking Cluster with Pivoting Teat Cup System and Fixed Guide Hose Arrangement
GEA FARM TECHNOLOGIES GMBH, 2018
A milking cluster for automatic milking of milk-producing animals that incorporates a pivoting teat cup system. The cluster features a teat cup with a housing, teat cup, drive device, and hose arrangement that is connected to the teat cup. The hose arrangement is mounted on a fixed guide that can be positioned in either a fixed or variable position, allowing the teat cups to be pivoted into a park position for cleaning. The teat cups can be automatically returned to the park position after cleaning, preventing contamination. This design eliminates the need for manual teat cup handling and enables efficient cleaning of the teat cups during milking operations.
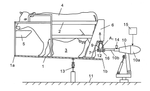
26. Milking System with Autonomous Milking Robot on Self-Propelled Trolley and Animal-Free Zone for Free Movement
LELY PATENT NV, 2018
A milking system for dairy cows that optimizes animal behavior and milk production through a unique combination of automated milking, free movement, and controlled access. The system features an autonomous milking robot that automatically connects milking cups to teats, while maintaining animal safety and hygiene. The robot is equipped with a self-propelled trolley that can travel between milking stations, allowing animals to naturally associate the milking facilities with drinking. The system also includes a dedicated animal-free zone with free movement paths, enabling cows to roam freely between feeding and milking areas. This design promotes herd behavior and natural milking patterns, while ensuring consistent animal health and milk quality.
27. Milking System with Teat Preparation Chamber and Vertical Dispensing Mechanism
DELAVAL HOLDING AB, 2018
A milking system that enables efficient milking of dairy animals while maintaining high cleaning efficiency. The system comprises a milking station with a teat preparation section that positions animals for milking at predetermined latitudinal positions. The section features a specially designed teat preparation chamber with a boundary system that positions the animal for milking, and a vertical dispensing system that applies milking equipment directly to the teats. The dispensing system features strategically positioned nozzles that spray the milking solution vertically to the teats. This design enables precise milking without animal handling time, while maintaining optimal teat cleanliness through automated preparation and dispensing.
28. Rotary Milking Parlor with Synchronized Robotic Systems for Adjacent Milking Boxes on Rotating Platform
DeLaval Holding AB, DELAVAL KHOLDING AB, DELAVAL HOLDING AB, 2018
Rotary milking parlor with multiple robotic milking systems that simultaneously service adjacent milking boxes on a rotating platform. The robotic systems attach a subset of teat cups to each animal. This allows the robots to service adjacent boxes without interference since they don't have to cross paths. Coordinated control between the robots ensures they work in sync with the platform rotation. If a robot falls behind, the adjacent robot can briefly help before returning to normal. This avoids the need for complex, colliding multi-axis robots.
29. 3D Vision System with Dynamic Leg and Teat Detection for Robotic Milking Automation
TECHNOLOGIES HOLDINGS CORP, 2018
A vision system for dairy milking operations that enables automated milking through advanced leg and teat detection. The system employs 3D vision capabilities to accurately position and maneuver robotic arms around dairy cows, while simultaneously detecting and compensating for animal movement. The system integrates with robotic arm control systems to enable real-time adjustments during milking operations, eliminating the need for hard-coded positions and algorithms.
30. 3D Vision System with Laser Scanner for Real-Time Teat Positioning and Identification in Dairy Milking Automation
TECHNOLOGIES HOLDINGS CORP, 2018
A vision system for dairy milking automation that enables real-time teat positioning and teat identification through 3D vision. The system combines a robotic arm with a laser scanner to accurately position and attach teat cups to dairy cows while maintaining precise cow positioning. The system's 3D vision capabilities enable it to detect cow movement, including leg positioning, and automatically adjust the robotic arm's position to avoid or compensate for teat movement. This enables automated milking operations with reduced labor costs and improved cow health. The system's 3D profile scanning capability provides precise teat positioning and teat identification, allowing for accurate milking operations.
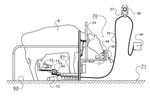
31. Milking Equipment with Pneumatically Actuated Teat Cup Suspension System and Protective Casing
J DELGADO SA, 2018
Milking equipment featuring a unique suspension system that prevents teat cups from falling during milking. The teat cups are connected to a pneumatic actuator system and are held by a cord that keeps them suspended when not in use. Each teat cup has a body with a mouthpiece and collector, housed in a protective casing, and a bushing to secure the suspension cord. This design ensures smooth release of the teat cups during milking, preventing damage to the animal's teats and the milking equipment.
32. Milking Cup with Independently Rotating Shell Between Separate Top and Bottom Lips
TECHNOLOGIES HOLDINGS CORP, 2017
A milking cup with rotating shell that enables efficient and controlled milking while minimizing mechanical stress on the animal. The cup features a body with separate top and bottom lips, a rotating shell positioned between them, and a length that matches the distance between the lips. The rotating shell enables independent rotation around the body, allowing precise control over milking flow and teat positioning. This design eliminates twisting of hoses and teats, reducing the risk of animal discomfort and equipment damage.
33. Teatcup Liner with Controlled Compression Mechanism for Consistent Teat Volume Management
Federal State Budgetary Educational Institution of Higher Education Kursk State Agricultural Academy named after I.I. Ivanov, FEDERALNOE GOSUDARSTVENNOE BYUDZHETNOE OBRAZOVATELNOE UCHREZHDENIE VYSSHEGO OBRAZOVANIYA KURSKAYA GOSUDARSTVENNAYA SELSKOKHOZYAJSTVENNAYA AKADEMIYA IMENI II IVANOVA, 2017
A teatcup liner for milking machines that enables controlled compression of the teat during milking stroke, allowing for more efficient extraction of milk from the udder. The liner features a unique design that maintains full teat volume compression throughout the milking process, preventing compression of the teat surface and ensuring optimal milk flow. The liner's compression mechanism mimics the natural milking action, with the teat cup forming a tight seal around the teat end and the milk being squeezed out through the nipple. This design enables improved milking rates, teat health, and reduced reverse flow into the udder, compared to conventional teatcup liners.
34. Rotary Platform Teat Cleaning System with Integrated Synchronized Cleaning Devices and Closed-Loop Circuit
DELAVAL HOLDING AB, 2017
Automated teat cleaning system for rotary milking platforms that optimizes cleaning between milking cycles. The system integrates cleaning devices into each milking stall, with the cleaning process synchronized with platform rotation. When the platform reaches a predetermined rotational position, the cleaning devices automatically clean teat cups between milking cycles, utilizing a closed-loop cleaning circuit that includes a milk conduit and a cleaning medium supply system. The cleaning devices are positioned strategically to facilitate efficient cleaning between milking cycles, with positioning mechanisms ensuring optimal alignment with teat cups and milk conduit connections.
35. Method for Calculating Teat-Specific Deactivation Thresholds Based on Milk Flow Characteristics
LELY PATENT NV, 2017
A method for optimizing the milking process of dairy cows that improves efficiency and reduces stress. The method calculates a deactivation threshold for each teat based on its milk flow characteristics and compares this threshold to a measured parameter during each milking cycle. If the comparison value reaches the threshold, the milking stops, but if it exceeds the threshold, the milking continues for an additional predetermined period. This approach enables early detection of teat stress and rapid termination of milking when a teat is experiencing adverse conditions, while maintaining optimal milk production.
36. Automated Milking System with Real-Time Teat Positioning and Adaptive Cup Placement Using 2D Imaging and Distance Sensing
GEA FARM TECHNOLOGIES GMBH, 2017
Method for automated milking system that enables efficient teat placement through real-time teat positioning and automated cup placement. The system uses a camera to capture 2D images of the teats, with distance measurements from the camera, to determine the optimal teat position. A positioning device and sensor then determine the relative positions of the teats among each other. This information is used to position the teat cups in the determined optimal position. The system continuously monitors the teat positions and automatically adjusts cup placement as needed to maintain optimal milking conditions.
37. Milking System with Centralized Teat Cup Storage and Rail-Guided Carrier Mechanism
DELAVAL HOLDING AB, 2016
A milking system that optimizes teat cup handling through a novel teat cup storage and attachment mechanism. The system features a central teat cup storage area positioned at the milking stall's center of gravity, with teat cups stored in a central location. A robot arm equipped with gripping members positions teat cups for milking, and a separate teat cup carrier moves between the storage area and the milking position. The carrier's motion is controlled by a rail system that transitions between storage and milking positions based on predetermined timing. This design enables efficient teat cup handling while maintaining animal safety by eliminating the need for teat cups to pass through restricted areas.
38. Milk Collection Device with Automated Control Unit and Integrated Cleaning System
Beijing Shounong Livestock Development Co., Ltd., BEIJING SHOUNONG ANIMAL HUSBANDRY DEVELOPMENT CO LTD, 2016
A milk collection device that optimizes milk handling through advanced automation and precision control. The device features a milking apparatus, pipes, and milk storage compartment with integrated cleaning system. A control unit comprises detection, processing, and adjustment modules that monitor and manage milk quality parameters, automatically detecting issues and implementing corrective actions to maintain optimal storage conditions.
39. Robotic Milking System with Automated Movable Cover Element for Teat Attachment Gripping Device
DELAVAL HOLDING AB, 2016
A robotic milking system with a gripping device that enables precise teat attachment to cows while minimizing contamination risks. The device comprises a gripping mechanism with a movable cover element that automatically transitions from a covering position to a non-covering position as the device lifts to a raised position. This position allows the cover element to maintain its protective position while the device's power member lifts, ensuring the teat cup remains clean and secure during the milking process. The cover element's unique design features a spring-loaded mechanism that automatically returns to its covering position, eliminating the need for manual intervention.
40. Teatcup Liner with Modular Ring Section Incorporating Functional Member for Enhanced Milking Operations
LIDMAR ANNELI, 2016
A teatcup liner for milking dairy animals that integrates additional functions through modular design. The liner comprises a primary section, a secondary section, and a third section, with the third section forming a ring module that connects to the primary section. This ring module provides a milking chamber with a functional member that enables specialized milking operations, such as vacuum-assisted milking or automated milking systems. The liner can be connected to a milk conveyance system or a milking machine, enabling direct milking or automated milking operations. The ring module can also incorporate sensors, lighting, and disinfection systems to enhance milking efficiency and animal health.
41. Automated Milking System with Integrated Manual and Automatic Functions and Intelligent Pulsation and Cup Removal Control
UNIV CHINA AGRICULTURAL, 2015
An automated milking system that integrates manual and automatic functions for milking operations, with advanced features like real-time monitoring, intelligent pulsation control, and automated cup removal. The system enables automated milk flow control, intelligent pulsation adjustment based on milk flow rate, and automatic cup removal without manual intervention. It also features a programmable cleaning mode, allowing customized cleaning parameters and schedules.
42. Milking Robot with Automated Teat Detection and Positioning System
LELY PATENT NV, 2015
Milking robot that optimizes teat attachment during initial milking sessions by automatically detecting teat positions during the initial stage, rather than requiring manual teat positioning. The robot employs a teat detection system that automatically locates teat positions, then positions the teat cup at a predetermined optimal height. If the teat cup is correctly positioned, it automatically attaches to the teat without the need for manual teat positioning. This approach eliminates the initial milking time delay and reduces the number of operator interventions. The robot's control system provides an operator with two decision options: to either manually position the teat cup or immediately attach it at optimal height.
Get Full Report
Access our comprehensive collection of 42 documents related to this technology
