Ultra High Pressure Extraction of Plant Proteins
Ultra-high pressure extraction of plant proteins presents unique engineering challenges, with operating pressures reaching 600-1000 bar in industrial systems. At these pressures, the physical properties of solvents change dramatically, affecting protein solubility, cellular disruption mechanisms, and mass transfer rates. Current extraction efficiencies range from 65-85% depending on the source material and process conditions.
The fundamental challenge lies in maximizing protein yield and functionality while managing the energy costs and equipment complexity associated with high-pressure operations.
This page brings together solutions from recent research—including steam atomization techniques, sub/supercritical fluid extraction methods, sequential solvent fractionation, and polyethylene glycol-based separation processes. These and other approaches focus on achieving high-purity protein isolates while preserving their native functional properties for food applications.
1. Protein Drying Method Utilizing High-Pressure Steam Atomization and Direct Spray Drying
GEA PROCESS ENG AS, 2024
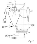
Drying non-mammalian proteins like plant proteins using a combined heating and drying process. The method involves atomizing and heating the protein liquid feed in a steam atmosphere at high pressures (5 barg or more) before direct drying in a spray dryer. This provides functionalized, texturized protein powders with reduced microbial loads and increased viscosity compared to conventional methods. The high pressure primary atomization and heating in the steam infusion chamber allows functionalization and concentration without dilution before drying.
2. Ultra-High Pressure Sub/Supercritical Fluid Extraction Method for Active Compounds from Wheat Sprouts
CHO HANG KYU, 2023
A method for extracting high-value active compounds from wheat sprouts using ultra-high pressure sub/supercritical fluid extraction. The extraction process involves grinding wheat sprouts into a fine powder, injecting the powder into a reactor, and using sub/supercritical fluid at ultra-high pressure to extract the desired compounds. The extracted compounds are then concentrated under reduced pressure to produce a high-purity extract. This approach enables efficient extraction of polyphenols, flavonoids, and other bioactive compounds from wheat sprouts, with enhanced yield compared to conventional extraction methods.
3. Protein Material Capsules with High-Pressure Compacted Powdered Protein
EGGNOVO S L, 2023
Protein materials that can be presented in small capsules. The compaction of powdered protein materials can be carried out by applying high-hydrstatic pressure to reduce the water activity of the material.
4. Enzymatic Extraction Process for High-Purity Protein Isolation from Plant Biomass Using Reducing Agent Buffer
PLANTIBLE FOODS INC, 2022
A process for producing high-purity protein preparations from plant biomass through enzymatic extraction. The method employs a buffer solution containing a reducing agent to extract proteins from plant materials, followed by mechanical lysis, enzymatic treatment, and separation steps. The extraction process maintains protein purity of at least 80% while achieving optimal protein recovery. The resulting protein preparations can be formulated into a wide range of food products with minimal impurities.
5. Production Method for High-Purity Vegetable Protein from Wild Hemp Using Ultra-High Pressure Technology
大兴安岭林格贝寒带生物科技股份有限公司, DAXINGANLING LINGOBERRY FRIGID ZONE BIOLOGICAL INDUSTRIAL GROUP CO LTD, 2019
Method for producing high-purity vegetable protein from wild hemp using ultra-high pressure technology. The method involves extracting protein from wild hemp, followed by ultra-high pressure processing to enhance protein quality and purity. This innovative approach leverages the natural resources of wild hemp while introducing cutting-edge ultra-high pressure technology to achieve superior protein yield and purity.
6. Process for Extracting Protein Isolates from Plant Materials Using Sequential Solvent Fractionation
NAPIFERYN BIOTECH SP Z O O, 2019
A process for extracting high-quality protein isolates from plant materials like oilseeds, legumes, and lentils that contains high levels of oils, fats, and lipids. The process involves pre-treating the raw material to remove impurities, then extracting proteins using an aqueous solvent. The extract is then fractionated, concentrated, and purified using a sequence of declining polarity organic solvents. This allows isolating the proteins without co-extracting the oils and fats. The resulting isolates have high protein content, low carbohydrates, low phenolics, and no high-carbon solvents. They also retain native protein properties for food applications.
7. Forage Crop Protein Concentrate Production via Plant Juice Extraction and Direct Drying
ESCON BUSINESS KG, 2015
A novel approach to producing high-quality protein concentrates from forage crops like alfalfa that can be used as feed ingredients in animal nutrition. The concentrate is produced through a process that preserves the natural nutritional value of the forage while eliminating its undesirable anti-nutritional compounds. The process involves extracting and concentrating plant juice, then drying it directly to produce a protein-rich concentrate. This concentrate can be used as a feed ingredient in animal nutrition, particularly for livestock like pigs and poultry, while maintaining its nutritional value compared to traditional protein concentrates.
Get Full Report
Access our comprehensive collection of 7 documents related to this technology
