Non Destructive Testing Methods for Reinforcement Steel
Reinforced concrete structures require regular inspection to maintain their structural integrity, with corrosion and fractures presenting significant risks. Current field measurements indicate that hidden defects can reduce load-bearing capacity by up to 30% before visible signs appear, while corrosion rates in aggressive environments can reach 100 micrometers per year in critical zones.
The fundamental challenge lies in developing inspection methods that can detect reinforcement deterioration through concrete cover while providing quantifiable data for structural assessment.
This page brings together solutions from recent research—including magnetic flux leakage detection systems, ultrasonic inspection devices, laser-based deformation measurement, and time-frequency analysis of reflected wave patterns. These and other approaches focus on providing reliable, field-deployable methods for early detection of reinforcement issues without compromising structural integrity.
1. Ultrasonic Inspection Device with Probe for Reinforcement and Concrete Integrity Analysis
Finders Co., Ltd., FINDERS CO LTD, 2025
Ultrasonic inspection device for evaluating the reinforcement state of steel and GFRP reinforcing bars in concrete structures and assessing concrete soundness. The device employs a probe to penetrate the concrete, transmitting ultrasonic waves that reflect off the reinforcement. The reflected signals are analyzed to determine reinforcement presence and arrangement, providing a comprehensive assessment of both reinforcement quality and concrete integrity. This non-destructive method enables the evaluation of both magnetic and non-magnetic reinforcement materials, as well as concrete quality, through a single inspection process.
2. Non-Destructive Corrosion Detection in Reinforced Concrete Using Laser-Based Deformation Measurement
GUANGDONG NONFERROUS INDUSTRY CONSTRUCTION QUALITY CHECK STATION CO LTD, 2024
A method for detecting corrosion in reinforced concrete beam-slab structures through non-destructive monitoring. The method employs a combination of laser-based sensors and cameras to measure the deformation of steel bars at specific cross-section positions. By establishing a quantitative relationship between steel bar corrosion rates and structural deformation, the method accurately identifies corrosion damage through precise measurement of the steel bar's position on the beam-slab structure. This enables early detection of corrosion issues before they compromise the structure's integrity.
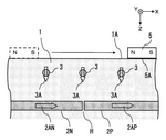
3. Magnetic Flux Leakage Detection Method for Cracks in Reinforcing Bars and Steel in Concrete Structures
SHIKOKU RESEARCH INSTITUTE CO LTD, 2023
Non-destructive testing method for detecting cracks in reinforcing bars and steel in concrete structures using magnetic flux leakage. The method employs a magnetic flux measurement section to detect leakage around buried reinforcement elements, enabling precise fracture detection even when the reinforcement is partially exposed. The technique can be adapted for various reinforcement types, including steel wires, and provides accurate fracture length estimation even in inclined concrete surfaces.
4. Non-Destructive Concrete Reinforcement Bar Break Detection via Magnetic Flux Sensor Array
SHIKOKU RES INSTITUTE INC, 2023
Non-destructive inspection method for detecting concrete reinforcement bar breaks using magnetic flux measurement. The method employs a sensor array to measure magnetic flux variations caused by reinforcement bar discontinuities. By analyzing the sensor data, the method determines the depth and length of the reinforcement bar break, enabling accurate location and characterization of reinforcement bar failures in concrete structures.
5. Rotating Magnet Disk Transducer for Inducing and Measuring Vibrations in Reinforced Concrete Structures
UNIV WEST POMERANIAN SZCZECIN TECH, 2022
Non-destructive testing of reinforced concrete structures using an alternating magnetic field to induce vibrations. The transducer employs a rotating disk with permanent magnets to generate controlled vibrations, which interact with the concrete and steel reinforcement through eddy currents and magnetic fields. The vibrations are measured using a vibration-detection system, enabling precise detection of bar cracks and corrosion through the characteristic changes in the reflected signal. This method offers a non-invasive, high-sensitivity approach to inspecting reinforced concrete structures without compromising their integrity.
6. Steel Bar Deformation Detector with Servo-Driven Screw Rod and Integrated Pressure Sensor
CHONGQING ACADEMY OF METROLOGY AND QUALITY INSPECTION, Chongqing Institute of Metrology and Quality Inspection, 2022
A steel bar strength detector that accurately measures the deformation caused by external forces on long steel bars. The detector comprises a base, a top plate, a screw rod, and a servo motor. The servo motor drives a screw rod that moves a slider. A pressure sensor is positioned above the slider. The detector measures the deformation caused by external forces on the steel bar through the pressure sensor, enabling comprehensive strength evaluation of the reinforcement.
7. Magnetic Flux-Based Non-Destructive Concrete Damage Detection Method
SHIKOKU RESEARCH INSTITUTE CO LTD, 2022
Non-destructive inspection method for detecting damage in concrete structures using magnetic flux measurement. The method employs a leakage magnetic flux method to detect damage in buried inspection targets like reinforcing bars, steel rods, or wires. It achieves accurate detection by analyzing the magnetic flux patterns generated by target material leakage. The method compensates for potential variations in magnetic field due to target material properties and arrangement, ensuring precise fracture location determination.
8. Magnetic Control System with U-Shaped Magnetization and Parallel Element Configuration for Nondestructive Testing of Prestressed Reinforcement
INTRON PLUS LLC, ОБЩЕСТВО С ОГРАНИЧЕННОЙ ОТВЕТСТВЕННОСТЬЮ ИНТРОН ПЛЮС, OBSHCHESTVO S OGRANICHENNOI OTVETSTVENNOSTIU INTRON PLIUS, 2021
A magnetic control system for nondestructive testing of prestressed reinforcement in concrete structures that improves reliability by eliminating the variable effects of transverse reinforcement. The system employs a U-shaped magnetization configuration with magnetized elements positioned parallel to the working ends of the magnetization system. This design enables precise control of the signal despite the variable influence of transverse reinforcement, which can cause signal drift. The system achieves this by using a specific positioning of the magnetized elements that compensates for the varying effects of transverse reinforcement.
9. Non-Destructive Testing Method for Steel Mesh Quality Evaluation via Electromagnetic Signal and Surface Area Coefficient Analysis
STATE GRID TIANJIN ELECTRIC POWER CO ELECTRIC POWER RES INST, 2021
Non-destructive testing method for evaluating the quality of anti-cracking steel mesh in concrete structures through surface area coefficient measurement. The method involves scanning the relationship between the specific surface area coefficient of steel mesh and electromagnetic signal values in concrete specimens, and then calibrating the corresponding signal values to determine the quality of the steel mesh. This enables non-destructive inspection of the mesh's performance in concrete structures without compromising the integrity of the concrete.
10. Device for Corrosion State Evaluation of Reinforcing Bars Using Time-Frequency Analysis of Reflected Wave Patterns
GEO SEARCH CO LTD, 2021
A device for evaluating the corrosion state of reinforcing bars in reinforced concrete structures. The device employs time-frequency analysis to extract meaningful frequency components from the reflected wave patterns at the surface of the concrete slab. By removing the surface reflections, the device enables detailed analysis of the internal wave patterns that are indicative of corrosion progression. This approach provides a more accurate and comprehensive assessment of the reinforcing bar corrosion state compared to traditional surface-based methods.
11. Magnetic Field-Based Sensor for Non-Uniform Corrosion Detection in Reinforced Concrete Structures
ZHEJIANG UNIVERSITY OF TECHNOLOGY, Zhejiang University of Technology, 2021
Non-uniform corrosion monitoring sensor for existing reinforced concrete structures using magnetic field-based detection. The sensor employs a unique configuration that enables accurate measurement of steel bar corrosion rates across complex concrete geometries, particularly in areas with varying steel bar positions. This sensor addresses the limitations of traditional uniform corrosion testing methods by providing comprehensive, real-time monitoring of steel bar corrosion in existing concrete structures.
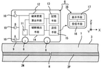
12. Device for Automated Detection of Damage in Steel Members Using Integrated Non-Destructive Testing Sensors
射阳县无损检测技术研究所, SHEYANG NONDESTRUCTIVE TESTING TECHNOLOGY INSTITUTE, 2020
A device for automatically detecting damage to steel members in concrete structures, particularly in high-risk environments. The device employs non-destructive testing methods to monitor the condition of steel components in real-time, eliminating the need for manual inspection. The system integrates multiple sensors to detect corrosion, cracks, and other damage indicators through radiography, thermal imaging, and mechanical measurements. This enables continuous monitoring of steel components in the field, reducing labor costs and improving detection accuracy compared to traditional manual methods.
13. Steel Corrosion Detection Device with Integrated Mechanical and Electrical Monitoring Systems
石家庄铁道大学, SHIJIAZHUANG TIEDAO UNIVERSITY, 2019
A steel corrosion detection device for reinforced concrete structures that enables precise monitoring of internal corrosion through a novel combination of mechanical and electrical detection systems. The device comprises a moving mechanism that drives a detection mechanism to position itself at the interface between the concrete and steel, while an electrical connection between the detection mechanism and analysis system enables real-time data processing. This integrated approach provides accurate and continuous monitoring of internal steel corrosion through both mechanical movement and electrical analysis.
14. Multi-Coil Sensor Array with Neural Network Analysis for Steel Bar Detection in Concrete Structures
UNIV JIANGSU, 2018
A non-destructive testing system for detecting steel bars in concrete structures using advanced neural network-based analysis. The system employs a multi-coil sensor array to detect steel bars through eddy current effects, while a specialized neural network model trains on the sensor data to predict both steel bar diameter and concrete thickness. The system's advanced analysis capability enables precise thickness measurement and diameter determination, overcoming limitations of traditional methods that rely on single-coil detection.
15. Sensor-Based Nondestructive Testing Method for Magnetic Flux Density Measurement in Embedded Steel Rods
SHIKOKU RESEARCH INSTITUTE INC, 2018
Nondestructive testing method for detecting damage in long steel rods embedded in concrete structures through precise measurement of magnetic flux density. The method employs a specialized sensor that measures the magnetic field around the steel rods while avoiding interference from surrounding concrete. The sensor's unique design allows accurate detection of rod damage without compromising the measurement of surrounding concrete's magnetic properties. This approach enables reliable identification of rod fractures through the precise measurement of magnetic flux density, while maintaining the integrity of the surrounding concrete.
16. Radar-Based Vibration Analysis System for Corrosion Assessment of Reinforcing Bars in Concrete Structures
UNIV GUNMA, 2018
Non-destructive method for precisely measuring the corrosion state of reinforcing bars in reinforced concrete structures using radar-based vibration analysis. The method employs a vibration radar system that generates low-frequency vibration signals within the concrete, while a high-frequency radar signal is applied to the reinforcing bar. The radar signals interact with the bar's vibration response, producing a reflected signal that is measured using an orthogonal detector. This dual-frequency approach enables accurate detection of corrosion effects on the reinforcing bar's vibration characteristics, independent of external crack presence.
17. Embedded Wireless Sensor System for In-Situ Monitoring of Steel Bars in Reinforced Concrete
爱德森(厦门)电子有限公司, EDDYSUN (XIAMEN) ELECTRONIC CO., LTD., 2018
In-situ monitoring of steel bars in reinforced concrete using wireless eddy current and electrochemical sensors. The system embeds sensors into the concrete during production, with the sensors connected by wireless charging. The system enables real-time monitoring of steel bar corrosion and thinning through simultaneous wireless data transmission between the sensors and a central analysis system. This approach eliminates the need for manual sampling, providing comprehensive monitoring of steel bar condition across large-scale concrete structures.
18. Ring-Based Sensor System for Non-Invasive Corrosion Rate Detection in Reinforced Concrete Structures
XIANGTAN UNIVERSITY, 2017
Monitoring device for reinforced concrete structures that enables precise and non-invasive detection of steel bar corrosion rate through a novel ring-based sensor system. The device comprises a stainless steel ring with a hollow core, where the steel bar passes through the core and is monitored by measuring electrical conductivity. The ring's unique design allows precise measurement of the critical corrosion zone without direct contact with the steel, while maintaining structural integrity. The system features a power source and indicator lamp, with the ring's internal structure providing a reliable and accurate measurement of the steel bar's corrosion rate.
19. Modular Wireless Electrical Capacitance Tomography System with Variable-Frequency Excitation for Reinforced Concrete Structure Inspection
INFRASTRUCTURE PRESERVATION CORP, 2016
Electrical Capacitance Tomography (ECT) for inspecting reinforced concrete structures like bridges and pipelines, enabling non-invasive visualization of internal defects and degradation. The system employs wireless, variable-frequency excitation sensors that adapt to the varying dielectric properties of steel strands and grout along the structure's length, allowing real-time imaging of internal discontinuities. The sensors employ a modular design with wireless control capabilities, enabling autonomous travel along the structure's length. The system provides high-resolution images of internal defects, enables volumetric measurement of defects, and facilitates location and volume estimation of discontinuities.
20. Rotational Magnetic Field Analysis Method for Diagnosing Reinforcement Failures in Concrete Poles
KOREA ELECTRIC POWER CORP, 2016
A non-destructive method for diagnosing concrete pole reinforcement failures through magnetic field analysis. The method employs a surface-mounted sensor to measure the magnetic field around a concrete pole, with the sensor rotating in a circumferential direction to capture the magnetic field's behavior. The sensor compares the measured magnetic field intensity to a reference field to identify changes indicative of reinforcement fracture. This approach enables the detection of internal reinforcement damage through magnetic field analysis, providing a non-invasive and reliable method for diagnosing pole failures.
21. Non-Destructive Inspection Method for Reinforcing Bar Fracture Detection Using Magnetic Flux Density Analysis
SHIKOKU RESEARCH INSTITUTE CO LTD, 2016
Non-destructive inspection method for detecting broken portions of reinforcing bars in concrete structures using magnetic sensors. The method involves magnetizing both reinforcing bars on the outside of the concrete body, then measuring the magnetic flux density along their longitudinal direction. By analyzing the differential magnetic flux density values in the fracture zone, the method accurately detects broken portions of the reinforcing bars.
22. Reinforcing Bar Fracture Detection via Differential Magnetic Flux Density Measurement
SHIKOKU RESEARCH INST INC, 2016
Non-destructive inspection method for detecting the presence or absence of a fractured portion of a reinforcing bar in reinforced concrete structures. The method employs a highly sensitive magnetized sensor to measure the differential magnetic flux density across the bar, with the sensor positioned within the concrete body to capture the magnetic field generated by the bar. The sensor's measurement provides a continuous signal that can be analyzed to determine the presence or absence of a fracture.
23. Reinforced Concrete System with Axially Cut Steel Bar and Encased Monitoring Assembly
CENTRAL SOUTH UNIVERSITY, Central South University, 2015
Non-destructive detection of concrete reinforcement bar pocking through a novel reinforcement bar embedded system. The system comprises a reinforced concrete structure with integrated reinforcing steel bars, where one steel bar is cut along its axis and secured to a screw bolt. A transparent silicone rubber layer encases the cut end, while a coiled PVC material encircles the bar. The reinforced concrete section features a reinforced steel bar with a flat section, where the cut end is positioned. The system includes a reinforcing plate positioned between the cut ends, allowing precise control over crack width. This integrated approach enables continuous monitoring of reinforcement bar pocking through the concrete section without damaging the structure.
24. Epoxy Resin Coating System for Non-Destructive Condition Assessment of Steel Reinforcement Bars in Concrete Structures
UNIV CENTRAL SOUTH, 2015
Non-destructive method for detecting the condition of steel reinforcement bars in concrete structures through a novel epoxy resin coating system. The method employs a reinforced concrete component with integrated steel bars, where one bar is cut along its axis and secured to a bolt through a transparent silicone rubber layer. The exposed bar section is then coated with a specialized epoxy resin, creating a reinforced composite structure. The coated section is then mounted on the concrete surface, where a second steel bar is positioned in a semicircle configuration. A screw is inserted through the bolt holes, and a second steel plate is inserted between the bolt holes, creating a reinforced concrete section with a controlled crack width. The method provides a comprehensive view of the reinforcement bar condition without compromising the structural integrity of the concrete.
25. Non-Destructive Inspection Method Utilizing Longitudinal Magnetic Flux Density Measurement for Detecting Broken Reinforcing Bars
SHIKOKU RESEARCH INST INC, 2015
A non-destructive inspection method for detecting broken portions of reinforcing bars in concrete structures like bridges and buildings. The method employs a novel approach that measures the magnetic flux density along the reinforcing bar's longitudinal direction before and after moving the inspection sensor. By canceling the external magnetic field, the sensor measures the bar's internal magnetic flux density, allowing precise detection of broken sections. The method's accuracy is enhanced by calculating differential values between the measured and reference flux densities. This approach enables reliable detection of broken bars without interference from other magnetic sources.
26. Corrosion Monitoring Method Using Pre-Stressed Reinforcement Sheet with Integrated Strain Measurement Points
Harbin Institute of Technology, UNIVERSITY OF SCIENCE AND TECHNOLOGY BEIJING, 北京科技大学, 2015
A method for monitoring the corrosion of reinforced steel bars in concrete structures through a novel sensor system. The method employs a thin steel reinforcement sheet with continuous strain measurement points, where the sheet is anchored to the concrete surface at varying heights. By applying pre-stress to the reinforcement sheet, the system creates localized stress concentrations around the steel bar, allowing for precise measurement of the initial corrosion time, rate, and degree. This sensor configuration enables comprehensive monitoring of both the steel bar and concrete stress states simultaneously, providing a comprehensive view of the structural integrity.
Get Full Report
Access our comprehensive collection of 26 documents related to this technology
