Emergency Response Control for Drones
In emergency response scenarios, every minute counts - yet ground teams face significant delays navigating debris, traffic, and challenging terrain. Current response times for medical emergencies in urban areas average 7-8 minutes, while rural response times can exceed 14 minutes. Natural disasters and large-scale incidents further compound these challenges by disrupting traditional access routes and communications.
The core challenge lies in deploying aerial assets rapidly while maintaining reliable coordination between drones, ground teams, and command centers across diverse emergency scenarios.
This page brings together solutions from recent research—including distributed drone networks with automated hangars, AI-powered triage and victim detection systems, and integrated air-ground response protocols. These and other approaches focus on reducing response times while enhancing situational awareness and resource deployment efficiency during critical operations.
1. Near-Field Sensing and Information Transmission System for Aerial-Ground Vehicle Coordination in Autonomous Navigation
SQ Technology (Shanghai) Corporation, Inventec Corporation, 2023
A near-field sensing information transmission and pairing system for air-land unmanned vehicles to increase the emergency response capability of ground vehicles in autonomous driving scenarios. It works by having an aerial vehicle fly ahead of a ground vehicle and sense obstacles or traffic features on the road. If any are detected, it calculates and transmits an alternative route to avoid them. The ground vehicle receives the route change request and switches to the alternative route provided by the aerial vehicle. By having the aerial vehicle scout the road ahead, obstacles can be detected and avoided in real-time, compared to a ground-only vehicle reacting when it reaches the obstacle.
2. Drone-Deployable Rope Delivery System for Remote Aerial Rescue Operations
Sony Corporation, 2023
A system for using drones to allow a person in distress to be rescued without requiring a helicopter to get close to buildings or cliffs. A drone is launched from a helicopter with a rope attached. The drone flies to the person and enables them to grab the rope. Once secured, the drone detaches from the rope and returns to the helicopter.
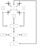
3. Distributed Network of Unmanned Aerial Vehicle Hangars with Centralized Command and Dynamic Deployment Mechanism
Matrixspace Corporation, 2023
A distributed network of unmanned aerial vehicles (UAVs) and ground stations that can rapidly deploy drones for public safety and incident response. The network consists of unmanned drone hangars on light poles connected to a central command center. The hangars house drones that can be dispatched on-demand. When a call for a drone comes in, the closest one is launched while others move closer to the incident area for faster response times. This allows a municipality to have full coverage from strategically located drone hangars without needing to deploy drones from a central location.
4. Offroad Vehicle-Integrated Drone System with Hazard Detection and Guidance Capabilities
GM GLOBAL TECHNOLOGY OPERATIONS LLC, 2024
Integrating drones with offroad vehicles to provide emergency assistance and secure guidance for vehicle occupants or other persons in the vicinity of the drone and/or vehicle. The drone scouts ahead of the vehicle to identify potential hazards or stranded persons. It relays data back to the vehicle to help the driver avoid dangers or locate missing people. The drone can also guide stranded persons back to the vehicle or call for emergency services. The drone communicates with the vehicle using sensors, cameras, and networks.
5. Drone Swarm System with Centralized Scanning and Dynamic Communication Links for Distributed Perception and Computation
BEIJING INFORMATION SCIENCE & TECHNOLOGY UNIV, BEIJING INFORMATION SCIENCE & TECHNOLOGY UNIVERSITY, 2024
A method and system for using drone swarms to quickly adapt to complex and changing disaster environments for emergency rescue. The method involves a central drone scanning to determine the target area needing rescue, then other drones in that area establish dynamic communications links to share perception and computation resources. This allows rapid, distributed perception and processing in dynamic environments where fixed infrastructure is limited or blocked.
6. Emergency Communication Resource Allocation System with Initial Vehicle Positioning and Drone Deployment Optimization
DALIAN UNIV OF TECHNOLOGY, DALIAN UNIVERSITY OF TECHNOLOGY, HUAZHONG UNIV OF SCIENCE AND TECHNOLOGY, 2024
Optimizing deployment of emergency communication resources like vehicles and drones after a disaster to cover areas with limited network coverage. It involves determining the initial position of the emergency vehicle based on lost device locations and importance, then if some devices are still outside range, finding optimal drone deployment positions to cover them. This allows comprehensive coverage using fewer resources than just the vehicle.
7. Drone-Based Non-Contact Injury Assessment System with AI-Driven Vital Sign and Wound Analysis
TAIYUAN LONGXIANG TECH CO LTD, TAIYUAN LONGXIANG TECHNOLOGY CO LTD, 2024
Non-contact injury assessment system for remote evaluation of casualties using drones and AI to analyze vital signs, wounds, and facial expressions to quickly and accurately assess injuries. The system involves a drone with cameras, sensors, and AI modules. The drone locates and assesses injuries by acquiring images and vital signs from the scene. It uses computer vision to identify wounds, deep learning to extract features, and LSTM to monitor vital signs. The drone transmits the assessment back to responders for triage and treatment guidance.
8. Drone-Based Monitoring System with Location Tracking and Automated Deployment for Tidal Flat and Valley Search Operations
BOHEMIANOS CO LTD, 2024
Using drones to provide emergency assistance and search for people in tidal flats and valleys. The system involves a drone monitoring system that tracks drone locations, stations, sensors, and flight schedules. If a user gets into distress or goes missing in a tidal flat, the system uses the user's last known location to deploy a drone to search for them. It can also notify the user via their device if they enter dangerous areas. The drone monitoring system provides tidal flat maps with safety information like tide times and dangerous areas.
9. Modular Drone System with Specialized Modules for Coordinated Traffic Accident Response
KOREA AUTOMOTIVE TECH INSTITUTE, KOREA AUTOMOTIVE TECHNOLOGY INSTITUTE, 2024
Using drones to quickly respond to traffic accidents and handle them more efficiently than traditional methods. The system involves dispatching drones with specialized modules to accidents based on their type. For example, a drone with a crane module might be sent to clear obstructions after a collision, while a drone with a firefighting module would be dispatched to put out a vehicle fire. The drones have sensors, cameras, and communication to coordinate with a central server. This allows multi-drone teams to support each other in handling complex accidents. The drones can also investigate accidents and transmit images back to the server. The system aims to provide faster, more effective, and safer accident response compared to relying on ground vehicles.
10. Drones with Integrated Sensor Arrays for Autonomous Hazardous Material Detection
Chandigarh University, 2024
Drones equipped with specialized sensors for rapid and accurate detection of hazardous materials in emergency scenarios. The drones can quickly identify chemicals, radioactive materials, etc. using sensors like mass spectrometers, X-ray fluorescence scanners, etc. This allows immediate assessment of hazardous materials in emergencies, providing real-time data to responders for effective decision-making and response planning. The drones also have navigation systems, communication modules, and machine learning algorithms to enable autonomous flight and data transmission.
11. Integrated Multi-Drone System with Centralized Fire Spread Prediction and Iterative Model Updating for Urban Search and Rescue
Dalian Maritime University, DALIAN MARITIME UNIVERSITY, 2024
Integrated multi-drone rescue system for urban fires that uses prediction of fire spread to guide the drones for efficient and safe search and rescue. The system has a central drone that analyzes initial fire and victim data, and sends an environment model to distributed drones. The distributed drones use their own sensors to update the model as they search. The central drone re-predicts fire spread based on feedback. This iterative prediction and communication allows the drones to adaptively plan paths that balance safety, distance, and collision avoidance.
12. Drone-Based Disaster Rescue System with 3D Model Path Planning and Real-Time Guidance Display
DMS CORP, 2024
Disaster coordinated rescue system using drones to guide people during emergencies in complex environments. The system involves a processing unit that plans optimal guidance paths for drones based on disaster locations and exit points in a virtual 3D model. Drones then go to road nodes along the paths and display guidance signs. This allows accurate, real-time guidance for people in unfamiliar areas like buildings or forests during disasters. The system also dynamically adjusts paths as disasters evolve.
13. Multi-UAV Communication System with Intelligent Clustering and Collaborative Pathfinding Algorithms
NANJING UNIV OF POSTS AND TELECOMMUNICATIONS, NANJING UNIVERSITY OF POSTS AND TELECOMMUNICATIONS, 2024
Multi-UAV search and rescue communication method and system using intelligent clusters to improve collaboration between multiple UAVs and rescue efficiency. The method involves deploying UAVs in overlapping and non-blind areas to fully cover the search area. UAVs share information through protocols, exchange location data, and collaborate using algorithms to determine optimal paths and actions. The system has a base station, relay UAVs, client UAVs, and a processor running the method. It uses protocols, collaborative algorithms, and real-time adjustment to enhance UAV task coordination and coverage.
14. Autonomous Traffic Control Drone System with SLAM Navigation and Integrated Communication for Highway Accident Management
HEFEI UNIVERSITY OF TECHNOLOGY, UNIV HEFEI TECHNOLOGY, 2024
Using traffic control drones for faster and more efficient accident response on highways. The system involves dispatching a traffic control drone equipped with cameras, sensors, and communication devices to an accident site when notified by a dispatch center. The drone autonomously navigates to the scene using SLAM mapping and onboard systems. It then provides visualization, warnings, and instructions using megaphones, strobes, and cameras to help rescue and cleanup efforts. The drone also collects evidence and sends data back to the dispatch center. A relay base station with power and communication links extends the drone's range. The system aims to speed up accident response compared to traditional methods by using drones for rapid, autonomous, and connected response.
15. Collaborative Search and Rescue System with UAV and Unmanned Boat Resource Pre-Allocation and Cluster Coordination
UNIV WUHAN TECH, WUHAN UNIVERSITY OF TECHNOLOGY, 2024
Collaborative search and rescue system for aircraft and boats using resource pre-allocation to improve response times and accuracy. The system involves coordinated search and rescue by unmanned aerial vehicles (UAVs) and unmanned boats. It leverages resource pre-allocation strategies and UAV cluster collaboration technology to rapidly allocate resources and rapidly identify and search for people who have fallen into the water. This improves efficiency compared to traditional methods. The system uses techniques like single target tracking and multi-target tracking with UAV clustering.
16. Unmanned Aerial Vehicle System with Multi-Modal Data Collection and Cluster Deployment for Environmental Monitoring and Survivor Localization
UNIV WUYI, WUYI UNIVERSITY, 2023
Using unmanned aerial vehicles (UAVs) to improve rescue efficiency in natural disasters by providing real-time environmental information, locating survivors, and guiding rescuers. The UAVs can operate individually or in clusters. In single rescue mode, UAVs use cameras to photograph and mark survivor locations. In cluster mode, a lead UAV collects info and sends multi-modal data to divide the area into sub-regions. UAVs deploy to those sub-regions for targeted rescue. The UAVs can also carry supplies, communicate with survivors, and use submersibles for water rescues.
17. Distributed UAV Search and Patrol Method with Partition Full Coverage and Consensus PBFT Integration
DALIAN JIAOTONG UNIV, DALIAN JIAOTONG UNIVERSITY, 2023
Distributed UAV disaster area search and patrol method that enables efficient and reliable dynamic search and perception in UAV-assisted rescue, allowing real-time monitoring of dynamically changing disaster area conditions. The method uses a partition full coverage algorithm to allocate tasks and avoid backtracking during search, and consensus PBFT to achieve real-time updates and consistency among drones during patrol. This allows accurate tracking of searched targets and updating of probability maps for disaster distribution prediction to better serve rescue operations in dynamic disaster areas.
18. UAV-Based System with Adaptive Deployment and Relay Classification for Disaster Data Transmission
GUIZHOU UNIV, GUIZHOU UNIVERSITY, 2023
UAV-assisted emergency communication system for collecting critical disaster data using drones to efficiently retrieve and transmit critical information from disaster sites where traditional communication infrastructure is damaged. The system involves using UAVs to relay and forward important sensor data from the disaster area to a base station drone. The UAVs deploy adaptively based on demand scenarios. They classify relay needs and optimize deployment to match. The UAVs also use environment sensing data to route messages through safe paths. This allows efficient and adaptive recovery of critical disaster data using drones.
19. Intersection Monitoring System with Drones for Infrastructure-Supported Autonomous Navigation of Emergency Vehicles
BOSCH GMBH ROBERT, Robert Bosch Limited Liability Company, 2023
Assisting emergency vehicles in crossing intersections using drones for infrastructure-supported autonomous navigation. The method involves deploying drones with sensors at intersections to monitor traffic. When an emergency vehicle needs to cross, the drone data is analyzed to generate infrastructure-assisted autonomous driving commands for the vehicle. This provides real-time assistance for the emergency vehicle to navigate the intersection safely without the driver having to manually navigate. The drone monitors the intersection and sends data to the emergency vehicle for automated crossing guidance.
20. Method for Autonomous Medical Equipment Deployment via Drones with Integrated Location and Condition Analysis
VOLKSWAGEN AG, 2023
Using drones to quickly deliver medical equipment to people in need in vehicles when an ambulance is not immediately available. The method involves analyzing vehicle location, drone availability, and emergency vehicle locations to decide if a drone or ambulance should provide medical equipment. The decision considers factors like symptom severity, flight conditions, and if a first responder is nearby. If a drone is chosen, the landing site is determined using maps.
21. Drone-Based Real-Time Data Acquisition and Integration System for Emergency Situations
Shandong Longyi Aviation Technology Co., Ltd., SHANDONG LONGYI AVIATION TECHNOLOGY CO LTD, 2023
Emergency data management system using drones to improve disaster response efficiency by quickly collecting and sharing critical data during emergencies. The system involves using drones to survey disaster areas and transmit the data back to emergency personnel in real-time. The drone data is integrated, analyzed, and associated with other sources to provide comprehensive and accurate information for decision-making. This allows responders to have immediate access to drone data as well as broader context for better situational awareness and faster response times.
22. Drones with Integrated Sensing, Communication, and Guidance Network for Emergency Coordination
Beijing University of Posts and Telecommunications, BEIJING UNIVERSITY OF POSTS AND TELECOMMUNICATIONS, 2023
Integrated sensing, communication, and guidance network for emergency scenarios using drones. The network allows coordinated sensing, communication, and navigation capabilities using drones to provide emergency services in complex environments. It solves the problem of separate construction of sensing, communication, and navigation networks in drone deployments. The integrated network optimizes resource allocation like drone locations, user assignments, and resource scheduling to minimize total energy consumption while meeting user requirements. It enables dynamic self-organization, flexible collaboration, multi-energy support, and intelligent decision-making for emergency networking.
23. Autonomous Drone Navigation System Utilizing Environmental Sensors for Emergency Evacuation Guidance
Alarm.com Incorporated, 2023
Using a drone to guide people to safety during an emergency like a fire. The system involves a drone that can be dispatched by a home monitoring system when an emergency is detected like a fire. The drone uses sensors in the home to identify where people are and the best path to reach them and guide them to an exit.
24. Tethered Solar-Powered Drone Tower with Deployable Fire Suppression Drones
AMERISTAR SOLAR, LLC, 2023
Solar-powered drone tower for early wildfire detection and fighting. The system uses a tower with a tethered solar-powered drone to monitor regions for wildfire activity. The tower also has non-tethered drones that can be deployed with fire retardant or other fire suppression material to fight fires when detected. The drones can refill and redeploy from the tower as needed.
25. Autonomous Drone Dispatch Platform with Real-Time Geographic Data Integration and Dynamic Assignment Adjustment
SHENZHEN XIYUE WISDOM DATA CO LTD, 2023
Intelligent dispatching platform for autonomous search and rescue drones that improves efficiency and effectiveness of disaster response by leveraging existing drone fleets and geographical databases. The platform collects geographic data from drones using both real-time transmission and recording systems. This data is processed, classified, and stored in a geographical database. When a disaster occurs, the platform retrieves the affected area's geographic data directly from the database, dispatches suitable drones, and avoids duplication of efforts. It also dynamically adjusts drone assignments based on factors like flight distance. This leverages existing drone fleets, improves search efficiency, and reduces communication needs.
26. Autonomous Drone System with AI-Driven Dispatch and Thermal Imaging for Medical Emergency Response
MAVRIK Technologies LLC, 2023
AI-powered medical emergency response using drones to provide fast and efficient medical assistance. The system receives emergency requests and dispatches an autonomous drone to the incident location. The drone can transport medical professionals, search for victims, and transport patients to medical facilities. The drones are assigned based on incident type and use features like thermal imaging and communication to aid in rescue.
27. Centralized Dispatch System for Autonomous Drone Deployment in Medical Emergencies
MAVRIK Technologies LLC, 2023
Autonomous drone system that dispatches drones to medical emergencies using a centralized dispatch system. The system receives medical assistance requests, assigns drones to the requests, and dispatches them to the incident locations. It uses a centralized dispatcher to manage drone resources and optimize response times. This allows automated drones to provide rapid medical assistance in emergency situations.
28. Drone-Based System with Integrated Sensors for Survivor Detection and Data Transmission in Disaster Zones
TYCO FIRE & SECURITY GMBH, 2023
Automated search and rescue system that uses drones to quickly locate survivors in disaster situations and relay vital information to rescuers. The drones are equipped with sensors to detect survivors buried in debris and a data link to transmit that information to a command center. This allows rapid deployment of drones to scan large areas and identify survivors without putting human rescuers at risk.
29. Multi-Node Emergency Communication System with Satellite-Borne Drones and High-Throughput Satellite Integration
CHINA SATELLITE COMMUNICATIONS CO LTD, 2023
Emergency information service system using satellite-borne drones and high-throughput satellites to provide real-time perception, information support, and emergency communication for scenarios like military operations. The system uses a multi-node platform with drones, satellites, and ground stations connected via integrated networks. It allows drones to relay data between frontline soldiers and command centers using high-throughput satellites for high speed and reliability.
30. UAV Group Flight System with Encrypted Communication and Real-Time Environmental Sensing for Coordinated Emergency Landing
National Kaohsiung University of Science and Technology, NATIONAL KAOHSIUNG UNIVERSITY OF SCIENCE AND TECHNOLOGY, 2023
Intelligent UAV group flight real-time monitoring and anti-interference safe emergency landing device based on information security. It uses encrypted wireless communication, positioning, and real-time environmental sensing to enable safe group drone flights. The device has drones with encrypted modules, an app, and edge computing. The app assigns flight positions, sequences, and triggers group flights. The drones transmit encrypted data. The edge device senses environment. If a drone deviates, loses control, or runs low on power, the edge alerts the app to initiate safe emergency landing for all drones.
31. Low-Altitude Drone Management System with 3D Electronic Space and Virtual Space-Time Server
BEIJING YANOU SCIENCE AND TECH DEVELOPMENT CO LTD, BEIJING YANOU SCIENCE AND TECHNOLOGY DEVELOPMENT CO LTD, 2023
Monitoring, controlling and disposal system for low-altitude drones that provides real-time tracking, retrospection, and collaboration for safe and efficient drone operations. The system uses a 3D electronic space, narrowband communication, and virtual space-time server to display drone flight status, retrospect historical trajectories, and coordinate emergency responses. It approves drone operations, detects anomalies, and dispatches emergency drones to resolve issues.
32. Drone-Based System with Networking Drones for Medical Supply Request Aggregation and Transport
MUDANJIANG MEDICAL UNIV, MUDANJIANG MEDICAL UNIVERSITY, 2023
A system for rapid and effective medical supply delivery at disaster sites using drones. It involves using networking drones to establish a temporary wireless network at the site, connect nearby devices, and collect medical supply requests. A central dispatch server summarizes the requests and sends them to a remote command center for fulfillment. Transport drones then bring the supplies back to the site. This allows rapid communication recovery and targeted supply delivery at disaster sites where networks are down.
33. System for Aggregating and Delivering Emergency Items Using AI, IoT Devices, and Drones
International Business Machines Corporation, 2023
Using AI, IoT, and drones to aggregate and deliver items needed during emergencies. The system uses IoT devices in homes to identify available emergency items like life jackets. AI analyzes the data to determine which items would be useful during specific emergencies. Drones are then sent to collect those items and deliver them to people in need during floods, fires, etc.
34. Cognitive Wireless Emergency Response System with Integrated Sensor and Communication Modules for Remote Operation
Prathamesh Khedekar, 2023
Secure, reliable, mission-critical grade cognitive wireless emergency response system for first responders to tackle emergency situations like hot pursuit, violence, protests, riots, natural disasters by minimizing physical risk and enabling efficient communication in the field. The system uses a cognitive client module in first responder vehicles, autonomous rovers, drones, and servers connected via a public safety grade network. It integrates sensors, cameras, and dedicated communications to allow remote response, tracking, and mapping to minimize physical risk compared to direct intervention.
35. Emergency Response System Integrating Connected Buses and Drones with Intelligent Decision-Making and Real-Time Traffic Data
SOUTHEAST UNIVERSITY, UNIV SOUTHEAST, 2023
Active emergency medical rescue system using intelligent connected buses and drones to quickly respond to accidents and emergencies. The system leverages the existing bus network to enhance medical accessibility. When an emergency occurs, the nearest bus with a drone is dispatched to the scene. The bus stops, activates the drone, and delivers medical equipment and resources. A decision-making module plans the drone route, a clinical diagnosis unit reviews scene info, and the bus network provides real-time traffic data. This coordinated system leverages buses, drones, and intelligent connectivity to provide faster, targeted emergency response.
36. Multi-Agent Reinforcement Learning-Based Crowd Evacuation Coordination with Unmanned Aerial Vehicle Swarms
Wuyi University, WUYI UNIVERSITY, 2023
Crowd evacuation method using swarms of unmanned aerial vehicles (UAVs) to guide crowds to evacuate in emergency situations. The method involves using multi-agent reinforcement learning to plan optimal evacuation paths for multiple UAVs in crowded areas. The UAVs coordinate and cooperate to evacuate crowds quickly and efficiently. They estimate crowd density using onboard cameras, group crowds, and deploy UAVs to guide evacuation. UAVs select actions to move through the area, updating Q-values to learn optimal paths. Collision avoidance is handled based on UAV priority.
37. Unmanned Aerial Vehicle System with Sensor-Integrated Communication Infrastructure for Modular Aid Delivery
Simon R. Daniel, Timothy W. Coleman, Yitzhack Schwartz, 2023
Disaster response system that uses unmanned aerial vehicles (UAVs) to deliver aid and supplies to disaster-stricken areas. The system involves a communication infrastructure with sensors that can detect incidents and send alerts. UAVs can be dispatched in response to incidents based on the sensor data. The UAVs can carry modular aid solutions like first aid kits, medical equipment, and shelters. They can be deployed by a central command UAV or by remote operators. The UAVs can also deliver items like food, water, and medicine to remote areas. The system allows rapid deployment of aid and supplies to disaster zones using UAVs.
38. Unmanned Aerial Vehicle with Explosive Fire Suppression Bombs and Integrated Fire Monitoring Sensors
Tianlitai Technology Co., Ltd., 2023
Unmanned aerial vehicle (UAV) system for rapid forest fire suppression in the early stages when fires are still small and containable. The UAV has a compartment for carrying an explosive-type fire extinguishing bomb. It also has sensors and cameras for monitoring fires. When a fire is detected, the UAV drops the bomb over the hottest area to quickly extinguish it before it spreads. The bomb has a bottom storehouse filled with volatile liquid that explodes when ignited. An initiator triggers the explosion. The bomb also has a compartment filled with fire suppressant. This allows the UAV to carry more bombs for multiple drops. The UAV's sensors evaluate fires and direct bomb drops to suppress them.
39. Unmanned Aerial Vehicle System with Interchangeable Sensors and Intelligent Data Fusion Platform for Post-Disaster Scene Analysis
CHINA SOUTH INDUSTRIES GROUP CORPORATION INST OF AUTOMATION CO LTD, CHINA SOUTH INDUSTRIES GROUP CORPORATION INSTITUTE OF AUTOMATION CO LTD, 2023
Post-disaster situation awareness system that can quickly collect information, understand scene situations and formulate corresponding disposal plans for various situations after a disaster. The system uses unmanned aerial vehicles (UAVs) with interchangeable sensors like visible light, hyperspectral, and infrared cameras to provide comprehensive coverage. The UAVs are controlled by an intelligent information processing platform connected to a communication central station. The platform fuses the sensor data to enable accurate detection of people in disaster areas, even when visibility is impaired. This helps locate survivors and guide rescue efforts.
40. Autonomous Drone System with AI-Driven Sensory Analysis and Environmental Interaction for Indoor Navigation
HOJAJI HEDIYEH, 2023
Artificial intelligence-based drone system for search and rescue in indoor environments like buildings during disasters. The drone has sensors to detect flames, people, and vital signs. It can also disperse gas, extinguish fires, and communicate with agencies. The drone uses AI to analyze data like speech, sounds, and images to identify injured people and prioritize rescue. It can also predict building collapse risks. The drone flies autonomously to respond to emergencies, return to base, charge, and take off.
41. Integrated Search and Rescue System with Wearable Devices, UAVs, and Command Center Connectivity
HEFEI UNIVERSITY OF TECHNOLOGY, UNIV HEFEI TECHNOLOGY, 2022
Field emergency rescue system for search and rescue operations in remote and rugged areas. The system uses wearable devices, unmanned aerial vehicles (UAVs), and a command center to enable effective search and rescue in challenging terrain. The system connects an intelligent watch, three ruggedized handheld terminals, a UAV, and a command center using narrowband IoT and video links. The devices have features like positioning, communication, video, vital signs monitoring, and SOS alerts. The UAV has visible light and IR cameras, laser rangefinder, and relay functions. The command center provides UAV control and software. This integrated system allows coordinated search and rescue using aerial and ground assets.
42. Unmanned Vehicle Group Flight Path Planning with Autonomous Coordination and Dynamic Obstacle Management
CHINA UNIVERSITY OF SCIENCE AND TECHNOLOGY, UNIV CHINA SCIENCE & TECHNOLOGY, 2022
Intelligent group flight path planning for unmanned vehicles that enables multiple drones to autonomously perform coordinated missions like environmental monitoring, search and rescue, and agriculture. The method involves planning flight paths, avoiding obstacles, and re-planning broken links. A lead drone initiates the mission, maps obstacles, and transmits adjusted paths to follow. If a drone loses communication, it falls back to the pre-planned route. This allows groups of drones to collaboratively accomplish tasks with intelligent path coordination.
43. Autonomous Drone Deployment System for Emergency Response Based on Fixed Camera Footage Analysis
XAVISNET INC, 2022
Security service using drones that autonomously respond to emergencies based on analysis of fixed camera footage. The system analyzes surveillance footage for events, identifies emergencies, generates drone flight patterns, dispatches drones, collects real-time drone footage, and provides security services using the footage. This allows rapid, targeted drone response to emergencies detected from fixed cameras.
44. Drone-Based Security System with Real-Time Monitoring and Event-Driven Dispatch
XAVISNET INC, 2022
Security service using drones that provides real-time monitoring, response, and tracking of emergencies in a targeted area. The system collects camera feeds from fixed cameras in the area, analyzes them for events, and dispatches drones with predefined flight patterns to investigate. The drones send live video back which is analyzed further for user notification, reporting, evidence collection, and tracking. This allows rapid, flexible, and comprehensive emergency response compared to fixed security cameras.
45. Centralized Command Platform for Coordinated Multi-UAV Operations with Information Exchange
CETC KEYI ZHIHANG NINGXIA TECH CO LTD, CETC KEYI ZHIHANG TECHNOLOGY CO LTD, 2022
A system for efficient and coordinated unmanned aerial vehicle (UAV) inspections and rescue operations using a central command platform. The system allows multiple UAVs to exchange information, collaborate, and be centrally managed instead of having dedicated pilots for each UAV. This improves task efficiency, enables real-time monitoring, and facilitates coordinated response to emergencies.
46. UAV-Assisted Pursuit and Evasion System with Non-GPS Positioning Tracker and Multi-Node Communication Network
SERGEANT SCHOOL THE CHINESE ARMED POLICE FORCE, 2021
UAV-assisted pursuit and evasion inspection system using navigation and positioning for applications like counter-terrorism, security, and emergency response where traditional GPS-based positioning is not sufficient. The system involves a positioning tracker, server, system client, ground station, and UAV. The tracker is carried by a moving target and provides real-time position data to the server. The UAV receives the target position from the server and uses it for pursuit. The ground station can also receive the target position and send it to the UAV. This allows accurate tracking of moving targets using the UAV even in environments where GPS is not available or reliable.
47. Integrated Mobile Command Platform with Ground Vehicle and UAV Coordination System
CHENGDU TIMES TECH CO LTD, 2021
An integrated mobile command platform that combines ground vehicles, unmanned aerial vehicles (UAVs), and communication systems to provide a unified and efficient emergency response system. The platform consists of a command vehicle with a drone launch pad, satellite and cellular networks, video conferencing, data processing, and office systems. This allows the command vehicle to transport a drone closer to emergencies, provide mobile drone bases, and remotely control multiple drones for coordinated response. It integrates ground and air command and control for efficient emergency management.
48. Autonomous Drone Swarm System with Collaborative Mapping and Data Sharing for High-Rise Building Fire Detection
Shantou University, SHANTOU UNIVERSITY, 2021
Drones swarm system for fire detection in high-rise buildings that enables quicker and safer fire response and evacuation. The system uses a fleet of drones to autonomously explore and map fires in multi-story buildings. The drones collaborate by sharing location data to cover the entire building. They can also provide mutual support and evacuate people. The system aims to provide comprehensive, real-time fire information, improve rescue planning, reduce danger to personnel, and minimize losses.
49. Unmanned Aerial Vehicle Terrain Data Acquisition and Route Generation Method for Disaster Scenarios
INST GEOGRAPHIC SCIENCES & NATURAL RESOURCES RES CAS, INSTITUTE OF GEOGRAPHIC SCIENCES AND NATURAL RESOURCES RESEARCH CAS, 2021
Emergency response method for unmanned aerial vehicles (UAVs) to aid in disaster relief and rescue operations. The method involves using UAVs to gather real-time terrain and disaster data, analyze it to generate optimal rescue routes, and then guide the UAVs to fly those routes to reach stricken areas faster and safer than ground vehicles. The UAVs can also provide live video feeds for situational awareness. By leveraging UAVs' aerial perspective and mobility, the method aims to reduce casualties and response times in disasters.
50. Tilt-Rotor Aircraft System with Integrated Drone Deployment and Communication Relay for Disaster Response
CHENGDU AIRCRAFT IND GROUP CO LTD, CHENGDU AIRCRAFT INDUSTRIAL CO LTD, 2021
Rescue method and system for people in disaster areas using tilt-rotor aircraft as a base platform to enable timely and efficient rescue after major disasters when ground access is impeded. The tilt-rotor aircraft acts as a relay station for communications, aerial mapping, and as a base for deploying drones for precise search, wide-area search, and conventional rescue. The tilt-rotor aircraft can hover, cruise, and carry drones, cameras, radar, and communication equipment for coordinated disaster response.
Once thought of as a novelty, drones are quickly becoming an essential tool for damage mitigation and lifesaving operations. The creative uses of drones shown here show the great potential for good that this technology may have, from search and rescue missions in disaster-affected areas to the delivery of medical supplies and early fire detection.
Get Full Report
Access our comprehensive collection of 87 documents related to this technology
