Blockchain for Secured Drone Data Management
Unmanned Aerial Vehicles (UAVs) exchange critical telemetry, flight path, and sensor data through wireless channels that are inherently vulnerable to security breaches. Field measurements show that standard encryption protocols encounter latency issues at drone operational speeds, with security handshakes adding 200-350ms delays—potentially critical during autonomous navigation. Current UAV communication systems face passive eavesdropping and active man-in-the-middle attacks that can compromise control channels operating at 2.4GHz and 5.8GHz frequencies.
The central challenge in UAV data security lies in establishing trust and maintaining data integrity across distributed aerial systems while preserving the low-latency communication essential for real-time flight operations.
This page brings together solutions from recent research—including blockchain-based identity management systems, distributed ledger approaches for secure telemetry validation, decentralized oracle networks for UAV smart contracts, and tamper-resistant public ledgers for flight plan authentication. These and other approaches demonstrate practical implementations that protect UAV communications while enabling the performance requirements of modern drone operations.
1. Blockchain System with Encrypted Data Storage, Permissioned Access, and Smart Contract Automation
STATE FARM MUTUAL AUTOMOBILE INSURANCE CO, 2025
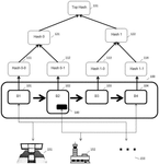
A blockchain-based system for secure data management that enables private data storage and permissioned access while maintaining distributed consensus. The system employs encryption techniques to control access to sensitive data, with nodes storing encrypted versions and only authorized nodes receiving decryption keys. Digital signatures are used to verify node identities and prevent spoofing attacks. Smart contracts are used to automate data access and management, with trigger conditions and decision logic enabling automated actions. The system ensures data privacy and security while leveraging the benefits of blockchain technology.
2. Blockchain-Based Drone Management System with Decentralized Identity and Secure Communication Mechanisms
METROSTAR SYSTEMS LLC, 2024
A system for secure drone management and communication using blockchain technology. The system enables secure authentication, authorization, and data management for drones operating in a network, using blockchain-based identity management, token-based trust mechanisms, and decentralized storage. The system also includes features for secure communication, data encryption, and machine learning model protection, as well as mechanisms for detecting and responding to compromised drones.
3. Blockchain-Based UAV Traffic Management System with Extended Altitude Capability
SKYGRID LLC, 2024
A system for managing unmanned aerial vehicle (UAV) traffic that extends beyond the current 400-foot altitude limit. The system uses a blockchain-based data structure to record and verify UAV transactions, including telemetry data, control commands, and service interactions. This immutable digital logbook enables real-time tracking and verification of UAV operations, enabling safe and efficient management of UAV traffic at higher altitudes.
4. Blockchain System with Asymmetric Key Cryptography and Smart Contracts for Distributed Data Management
STATE FARM MUTUAL AUTOMOBILE INSURANCE CO, 2024
A blockchain-based system for secure data management that enables private data storage while maintaining distributed consensus. The system employs cryptographic techniques to control access to sensitive information, including asymmetric key cryptography and digital signatures. Smart contracts are used to automate data access and validation, ensuring that only authorized nodes can access and modify data. The system maintains a distributed ledger of encrypted data, with each node maintaining its own copy, and uses a consensus mechanism to validate transactions and maintain data integrity.
5. Blockchain System with Encrypted Data Access Control and Smart Contract Automation
STATE FARM MUTUAL AUTOMOBILE INSURANCE CO, 2024
A blockchain-based system for secure data management that enables private data storage while maintaining distributed consensus. The system employs encryption techniques to control access to sensitive data, with only authorized nodes receiving decryption keys. Digital signatures are used to verify node identities and prevent spoofing attacks. Smart contracts are used to automate data access and management, with trigger conditions and decision logic enabling automated actions. The system ensures data privacy while leveraging the benefits of blockchain technology for distributed data management.
6. Decentralized Oracle System with Consensus-Based Data Feed for UAV Transportation Smart Contracts
SKYGRID LLC, 2024
A decentralized oracle system for smart contracts in UAV transportation to enable a robust and secure way to obtain data for smart contracts involving UAVs while leveraging blockchain technology. The system involves multiple oracle nodes in the UAV ecosystem that feed data into smart contracts by requesting and generating it based on a consensus of responses. This decentralized approach reduces reliance on a single centralized oracle and provides robustness and security.
7. Distributed Ledger Security Management System with Blockchain-Based Control Plane for Networked Devices
NXM LABS INC, 2023
A distributed ledger-based security management system for networked devices, particularly IoT devices, that enables secure control plane management through a blockchain-based architecture. The system employs a publish-subscribe messaging paradigm to manage control plane functions, such as access control and data integrity, while leveraging a distributed ledger to store and enforce security policies across the network.
8. Blockchain-Based Infrastructure for Secure Sensor Data Processing with Reference Value Management
SIEMENS AG, 2023
A system for secure data processing of sensor data for physical objects using a blockchain-based infrastructure. The system captures object features and generates a reference value, which is stored on a blockchain. Control functions are granted to objects based on their reference value, enabling secure data exchange and service access. The system provides a decentralized infrastructure for managing physical goods and processing their data, with applications in supply chain and industrial control scenarios.
9. Peer-to-Peer Encrypted Flight Plan Communication System with Shared Decryption Key
BETA AIR LLC, 2023
Encrypted flight plan communications between aircraft and air traffic control, enabling secure transmission of flight plans while maintaining operational integrity. The system comprises a peer-to-peer network connection between an aircraft and air traffic control, where the aircraft transmits a verified flight plan encrypted with a shared decryption key. The air traffic control receives the encrypted flight plan, decrypts it, and returns the original flight plan to the aircraft. This secure transmission enables flight plan sharing while maintaining confidentiality and integrity of the flight plan data.
10. Aircraft Position Verification via Authenticated Flight Plan Validation Using Tamper-Resistant Distributed Ledger
THE BOEING CO, 2023
Verifying aircraft position information through authenticated flight plan validation using tamper-resistant distributed ledger technology. The method involves receiving ADS-B messages with aircraft identifiers and positions, then accessing a tamper-resistant public ledger containing flight plan data for those aircraft. The system verifies the position against the flight plan path by comparing the actual position to the planned path, and only authentic flight plans are considered valid. This approach ensures the integrity of flight data while maintaining transparency to ground stations and other recipients.
11. Blockchain-Based Air Traffic Control Method for UAV Flight Planning and Management
MIN-CHUNG GIA, 2023
An unmanned aerial vehicle (UAV) logistics operation and air traffic control method based on blockchain technology for safe and efficient UAV flight planning, collision prevention, and airspace management. The method leverages blockchain features like decentralization, immutability, and consensus to provide secure and accurate flight control. It involves creating a blockchain-based airway with waypoints for UAVs to fly between. The UAVs register their flights, obtain clearance, and broadcast flight status updates. This enables real-time airspace monitoring, collision prevention, and optimized use of the airway.
12. Blockchain-Based System for UAV Communication Security and Identity Management
PRINCE SULTAN UNIVERSITY, 2022
Securing unmanned aerial vehicles (UAVs) and their communications using blockchain technology. The system uses a blockchain to secure UAV information, messages and ensure authentication and integrity of transmitted data. It provides traceability of UAV activities, manages UAV and user identities for authentication, and offloads heavy blockchain computations to the cloud while UAVs perform actions as blockchain transactions.
13. Blockchain-Based System for Recording Unmanned Aerial Vehicle Flight Data
SKYGRID LLC, 2022
Using blockchain to securely and efficiently manage unmanned aerial vehicle (UAV) air traffic. The system involves recording UAV flight data on a blockchain. When a UAV takes off, flight details are sent to a blockchain manager. The manager creates a block containing the data and adds it to the UAV's blockchain. This provides an immutable, transparent, and tamper-proof flight record for each UAV.
14. Aircraft Mesh Network with Adaptive Node Communication and Frequency-Switching Capability
BETA AIR LLC, 2022
A mesh network for aircraft enables reliable data communication between multiple aircraft through a self-healing network of nodes that adapt to changing communication conditions. The network is formed by multiple computing devices on each aircraft, which generate nodes that communicate with each other and adapt their transmission pathways based on feedback from other nodes. The network can operate over multiple frequencies and includes encryption for secure communication.
15. Blockchain-Based Autonomous User Information Management System with Policy-Controlled Data Sharing and Access Verification
HUAWEI TECHNOLOGIES CO LTD, 2022
A data sharing method, device, and system that enables autonomous management of user information through blockchain-based data sharing. The method involves a network element receiving a user data policy from a terminal device, obtaining user information based on the policy, and sending the information to a designated recipient. The transaction is recorded on a blockchain, ensuring traceability and immutability of the user data. The system also enables third-party servers to query user information while verifying access permissions through the blockchain.
16. Blockchain-Based System for Secure Data Transfer with Object-Specific Cryptographic Checksums
SIEMENS AG, 2022
A system for secure data transfer and verification using blockchain technology. The system generates a cryptographic checksum for data structures associated with physical objects, such as products or components, using object-specific characteristics calculated from sensor data. The checksum is verified by a dedicated device that captures object features and calculates the characteristic, ensuring the data structure's integrity and authenticity. The system also enables decentralized data management through a blockchain-based infrastructure, allowing for secure data transfer and verification across multiple nodes.
17. Single-Node Blockchain Trust Service Engine with Collision-Resistant Audit Trail Mechanism
SAP SE, 2022
A trust service engine for blockchain-based audit trails that enhances reliability and security by forcing attackers to conduct resource-intensive collision attacks to remain undetected. The engine operates on a single-node blockchain, leveraging the dissuasive effect of such attacks to prevent tampering, while also enabling the creation, verification, and validation of electronic signatures, seals, and certificates.
18. Dual-Blockchain Architecture for Time-Bound Activity Chain Execution with Milestone Encoding and Transaction Tracking
PROBLOCH LLC, 2022
Executing time-bound activity chains using a dual-blockchain architecture, where a baseline blockchain encodes project milestones and a realized blockchain tracks activity and value transfer. The baseline blockchain stores time-bounded activity chains with smart contracts that automate milestone execution, while the realized blockchain records validated transactions and value transfers. This architecture enables secure, automated, and transparent project execution with immutability and provenance.
19. Decentralized Data Sharing Method Using Blockchain with Consent-Based Access Control and Key Exchange
SAP SE, 2021
A method for secure data sharing enables users to manage and share their personal data across multiple services while maintaining control and security. The method employs blockchain technology to create a decentralized data storage system where data is encrypted and stored with access permissions managed through a consent-based framework. Authorized users can access and use the data through a secure interface, with data retrieval and decryption handled through a key exchange mechanism.
20. Distributed Ledger System with Independent Sub-Ledger Verification and Keyless Signature Infrastructure
GUARDTIME SA, 2021
A scalable digital transfer system that enables secure and verifiable transfer of digital assets, such as digital cash, using a distributed ledger architecture. The system employs a novel blockchain design that decomposes the ledger into multiple sub-ledgers, each verified independently, to achieve high scalability and fault tolerance. The system also employs a Keyless Signature Infrastructure (KSI) to enable efficient and secure verification of digital assets, including proof of emission, ownership, and transfer. The KSI-based architecture allows for decentralized verification and auditing of transactions, eliminating the need for a centralized authority to validate transactions.
21. Blockchain-Based Distributed Data Pool System with Encrypted Entity-Specific Data and Distributed Authorization Protocol
ADARA INC, 2021
A distributed data pool system enables secure, real-time data sharing across multiple entities while maintaining data consistency and integrity. The system uses a blockchain-based architecture to store and manage data, with each entity's data encrypted and uniquely associated with its private security data. A distributed authorization protocol ensures that data access is controlled based on entity-specific rules and policies, while maintaining a tamper-proof record of all data transactions.
22. Blockchain-Integrated System for Decentralized Trust and Identity Management in UAV Networks
PRINCE SULTAN UNIVERSITY, 2021
A blockchain-based system for securing unmanned aerial vehicles (UAVs) and their communication networks. The system integrates blockchain technology with UAVs to provide decentralized trust management, enhanced security, immutability, and data privacy. It enables secure authentication and integrity of transmitted data, action traceability, and identity management for both UAVs and users. The system offloads heavy computations to the cloud while UAVs perform actions and provide data as blockchain transactions.
23. Decentralized Message Chain Validation via Peer-to-Peer Network with Keyed Signature Chains and Asynchronous Validation
DUPONT SEBASTIEN, 2021
Decentralized message chain validation using a peer-to-peer network instead of blocks to enable instant, parallel, and unlimited transaction validation across a distributed network without centralized bottlenecks. The method involves connecting messages in chains using keys and signatures. Receivers validate messages and propagate them. Referent nodes are identified for each message. Messages are replicated based on data distribution algorithms. Asynchronous validation involves checking previous validations and device locations. This allows independent, instantaneous, and parallel validation of message chains without requiring blocks.
24. Blockchain Data Access System with Event Group Identifier and Event Access Record Generation
DRFIRST.COM INC, 2021
A system and method for efficiently accessing blockchain data by capturing specific data items and associating them with an event group identifier. The system generates event access records based on predefined policies, which are used to identify responsive blocks in the blockchain. This enables rapid querying of blockchain data by narrowing down the search space based on specific criteria.
25. Decentralized Data Management System with Blockchain-Based Identifiers and Consent Verification Protocol
FORTIFID INC, 2021
A system for decentralized data management that enables secure execution of algorithms on data sets while maintaining subject consent. The system uses blockchain-based decentralized identifiers for algorithms, data sets, and schemas, along with attestation receipts that prove consent. Clients request algorithm execution through a protocol that verifies consent and executes the algorithm on the specified data set, generating a signed response that includes the results. The system ensures data privacy and security through encryption, digital signatures, and secure channels.
26. Trusted Identity System with Steward Group-Managed Access Control and Distributed Ledger Transaction Recording
ANONYOME LABS INC, 2021
A system for enabling authorized access to protected data in computing devices, comprising a Trusted Identity System that manages permissioned access to protected data through a steward group, and a distributed ledger that records transactions related to the protected data. The system ensures that access to protected data is controlled through a cryptographic access control mechanism, and that access requests are validated against owner-defined access requirements.
27. Decentralized Blockchain-Based Electronic Data Integrity Verification System
THE ASSAY DEPOT INC, 2021
A decentralized system for ensuring the integrity of electronic information uses blockchain technology to provide data verification without relying on centralized or localized data storage. The system enables users to upload and certify electronic files or documents through a distributed blockchain network, where transactions are validated and recorded on a public ledger. The system ensures data integrity by generating a cryptographic hash of the uploaded data, publishing the hash to the blockchain, and verifying the hash against the original data upon request. The system can be used for various applications, including electronic lab notebooks, electronic health records, and structured data.
28. Blockchain-Based UAV Flight Path Management System with Cryptographic Hashing and Timestamping
T MOBILE USA INC, 2020
Securely managing and tracking unmanned aerial vehicle (UAV) flight paths using blockchain technology to prevent hacking and cyber-attacks. The system utilizes a blockchain data structure to record and verify UAV flight paths, ensuring immutability and integrity of flight data through cryptographic hashing and timestamping.
29. Decentralized Peer-to-Peer Airspace Management System with Blockchain-Integrated Flight Plan Validation
TEXTRON INNOVATIONS INC, 2020
Decentralized airspace management system for air taxi services that maintains a deconflicted flight schedule within a blockchain. The system operates through a peer-to-peer network where nodes validate and compile flight plans, generate validated airspace reservations, and interlink them into a blockchain that maintains a current deconflicted flight schedule for the airspace region.
30. Blockchain Data Security System Utilizing Cryptography for Node-Agnostic Distributed Ledger Management
STATE FARM MUTUAL AUTOMOBILE INSURANCE CO, 2020
Cryptography techniques are used to secure information stored in a blockchain to enable participation by any number of nodes, regardless of their respective permissions. The data is stored in a distributed ledger under a control of a management node.
31. Distributed Ledger System for Multi-Agency Incident Data Validation with Consensus-Based Blockchain Architecture
MOTOROLA SOLUTIONS INC, 2020
A distributed ledger system for validating and storing incident-related data across multiple agencies. The system enables multiple agencies to collaborate on incident data management through a blockchain-based architecture, where proposed data records are validated through a consensus algorithm involving multiple validator nodes from different agencies. The system ensures data integrity and authenticity through a multi-layer validation process, including intra-agency validation and inter-agency validation, and provides a tamper-evident and tamper-resistant record of incident data.
32. Blockchain-Based Aeronautical Data Management System with Quantum and Post-Quantum Encryption Techniques
THALES, 2020
A system and method for managing the lifecycle of aeronautical data stored in a blockchain, comprising steps of receiving aeronautical data from a data producer, encrypting the received data using a smart contract, and storing the encrypted data in the primary blockchain. The encryption employs quantum key distribution and/or comprises homomorphic encryption and/or post-quantum encryption. The system further comprises resources for computing, storing and networking with a view to implementing the method.
33. Blockchain-Based System for Secure Aircraft-Ground Station Communication Using Asymmetric Cryptography and Distributed Ledger Nodes
THE BOEING CO, 2020
Securely communicating between aircraft and ground stations through a blockchain-based system that employs asymmetric cryptography and distributed ledger technology. The system comprises nodes that manage their own blockchain and perform critical network actions, while ground station nodes maintain a complete ledger of all transactions. Control nodes broadcast privileged actions to the network, receive validation votes, and determine consensus among nodes to validate actions. This enables secure and decentralized management of critical network operations while maintaining integrity through voting-based consensus.
34. Blockchain-Based System for Decentralized Data Management in Unmanned Aerial Vehicles
INTERNATIONAL BUSINESS MACHINES CORP, 2020
Using blockchain technology to securely manage data associated with unmanned aerial vehicles (UAVs). It leverages distributed ledger principles to create a tamper-proof and transparent record of all UAV flights and transactions. This provides trust, accountability, and privacy while enabling features like licensing, authenticity verification, and UAV behavior mining. The blockchain allows for secure tracking and sharing of UAV flight data without relying on a central authority.
35. Blockchain-Based Encrypted Data Validation System with Public-Key Encryption and Validation Certificates
BITCLAVE PTE LTD, 2020
A system for validating data accuracy in a secure distributed environment, enabling users to store and share encrypted data while maintaining control over its use. The system employs a combination of blockchain-based storage, public-key encryption, and validation certificates to ensure data integrity and authenticity. Users can pre-certify their data through trusted validation services, share certificates with businesses, and validate data without revealing the original information. The system provides a secure and decentralized framework for data sharing and verification, enabling users to maintain control over their personal data while facilitating trusted transactions with businesses.
36. Blockchain-Based Multi-Party Consent Management Data Structure with Conditional and Temporal Parameters
GUARDTIME IP HOLDINGS LTD, 2020
A secure data structure for managing multi-party consent to actions, using a blockchain-based system that ensures irrefutable registration of consent data. The system enables multiple entities to provide consent to specific actions, with conditions and time windows, and records the consent in a tamper-evident blockchain. The blockchain-based system provides a secure and auditable record of consent, enabling entities to prove that consent was given and properly recorded.
37. Multi-Source Deterministic Oracle System with Master Oracle Data Aggregation and Digital Signature Verification in Blockchain Networks
ACCENTURE GLOBAL SOLUTIONS LTD, 2020
A system for multi-source deterministic oracles in blockchain networks, where a master oracle aggregates data from multiple oracles through digital signatures, generates a combined message, and transmits it to a participant node for verification and smart contract execution. The system ensures deterministic outcomes by leveraging a consensus-based approach to establish trust between oracles, while enabling real-time data aggregation and verification through digital signatures.
Get Full Report
Access our comprehensive collection of 37 documents related to this technology
