Tether Drone Power Optimization
Tethered drone operations face a power delivery challenge with measurable constraints: voltage drop along the tether can exceed 5% at distances beyond 100 meters, power converters operate at 85-92% efficiency depending on load conditions, and thermal management becomes critical as power density increases. These factors directly impact the available thrust-to-weight ratio, with each additional meter of tether adding approximately 15-20 grams of weight that must be compensated for by the propulsion system.
The fundamental engineering challenge lies in balancing continuous power supply against the mechanical and electrical limitations imposed by the physical connection to the ground.
This page brings together solutions from recent research—including dual-mode power systems that intelligently switch between tether and battery sources, centralized tether architectures supporting multiple UAVs, integrated cooling mechanisms for power components, and universal power supply modules for cross-platform compatibility. These and other approaches focus on maximizing flight endurance while maintaining operational flexibility in diverse deployment scenarios.
1. Unmanned Aerial Vehicle System with Dual Control and Propulsion Redundancy Featuring Tethered Power Supply Integration
TECHTRA KOEZHASZNU NONPROFIT ZRT, 2025
An unmanned aerial vehicle (UAV) system with dual control and propulsion redundancy, comprising a primary UAV with a tethered flight mode and a secondary UAV with a separate tethered power supply unit. The system enables simultaneous battery-powered control and tether-powered propulsion, eliminating the need for large capacity temporary power storage in voltage converters. The dual control architecture provides full redundancy in control and propulsion, enabling continued flight in the event of primary system failure.
2. Drone Tether System with Flexible Multi-Point Magnetic Docking and Shared Power/Data Line
U S ARMY DEVCOM ARMY RES LABORATORY, 2024
A drone and tether system enables multiple drones to share a single power and data transmission line. The system includes a flexible tether with multiple docking points, each equipped with magnetic coupling elements that allow drones to attach and detach as needed. A lead drone deploys the tether, exposing docking points to other drones, which can then charge, exchange data, and perform tasks independently before reattaching to the tether.
3. Tethered UAV System with Rigid Frame and Adjustable Propulsion for Aerial Spraying
Hagay BAR, 2023
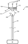
A tethered unmanned aerial spraying system for firefighting and agriculture, comprising a plurality of UAVs connected by a rigid frame and supporting beams. The system features a control unit that adjusts thrust of each motorized propeller to achieve complex maneuvers and maintain stability. The system can be equipped with a large diameter hose for firefighting or agricultural chemicals, and features GPS modules for precise control. The supporting beams are pivotable and foldable for easy transportation, and the motors are tilt-adjustable for improved stability.
4. Universal Power Supply System for Small Unmanned Aerial Vehicles with Aerial Module and Ground Station Integration
DRONE EVOLUTION LTD, 2022
A power supply system for small unmanned aerial vehicles (UAVs) that enables universal power supply compatibility across multiple UAV designs. The system comprises a ground station with a power supply and tether connector, and an aerial power supply module that connects to the UAV's power dock and features a DC-DC converter. The aerial power supply module is designed to be universally compatible with multiple UAV designs, eliminating the need for custom power supplies and tethers for each UAV type.
5. Unmanned Aerial Vehicle with Dual-Mode Power and Tether Management System
FLIR DETECTION INC, 2021
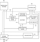
Adaptable unmanned aerial vehicle (UAV) system that can fly both under remote power with a tether and as a free-flyer, under battery power. The UAV has a tether management system that allows controlled deployment and retrieval of the tether. It also has power management circuitry to intelligently switch between ground power, battery power, and both. This allows the UAV to land safely if the tether is compromised, and provides backup power for critical systems if the ground power fails. The UAV can also draw power from both sources simultaneously for surge requirements.
6. Tethered Drone with Integrated Centrifugal Fan Cooling and Remote-Controlled Airflow Management
GIBSON JAMES WILLIAM, 2021
A tethered drone system that enables prolonged flight times while maintaining efficiency and reliability. The system incorporates a centrifugal fan within each hollow strut that draws air through the strut and directs it over internal components to cool them. The fan is powered by the same motor that drives the propeller, eliminating the need for additional power sources. The system also features a moveable port that can be remotely actuated to control airflow and prevent interference with propeller thrust. The drone body is designed to protect internal components from the elements, and the system can be integrated with a winch and ground-based transformer for continuous power supply.
7. Tethered Drone System with Electrical Transmission Wire Integration for Continuous Power Supply
FREEMAN JR MARK, 2021
A tethered drone system for continuous operation, utilizing an electrical transmission wire infrastructure to power a movable sensor platform. The system enables 24/7 surveillance and data collection capabilities, with the drone able to fly along the power line network while maintaining a stable power supply. The system addresses the limitations of traditional unmanned aircraft systems by providing persistent coverage and eliminating the need for frequent recharging or recovery.
8. Self-Powered Drone Tether System with Autonomous Tether Drone Coupling and Power Transfer Mechanism
ALBERTO DANIEL LACAZE, 2020
A self-powered drone tether system comprising a rechargeable drone, a tether drone carrying a powered tether, a coupling mechanism between the two drones, and a base station with a powered tether and deployment system. The tether drone can autonomously disconnect from the base station and reconnect to the rechargeable drone, enabling the rechargeable drone to fly beyond the tether's maximum length while maintaining power supply. The system includes sensors and fiducials to aid coupling maneuvers and prevent entanglements.
9. Unmanned Aerial Vehicle with Hybrid Drive and Tethered Power System for Extended Flight
PEGASUS AERONAUTICS CORP, 2020
An unmanned aerial vehicle system that enables long-endurance, fully mobile flight. The system comprises a UAV equipped with a hybrid drive system that generates electrical power from onboard fuel storage, and a base station with a tether that provides power to the UAV when attached. The hybrid drive system enables the UAV to operate independently of the tether, eliminating the need for batteries and allowing for extended flight times.
10. Hybrid Aircraft with Dual Mode Operation for Tethered and Untethered Flight Along Power Lines
THE BOEING CO, 2020
Aircraft that can fly both tethered to and untethered from power lines. By using existing power lines as infrastructure for specially designed aircraft to takeoff, land, and maneuver along. The aircraft have propulsion systems with vertical and horizontal thrusters for precise control during tethered flights. The aircraft can also operate untethered like conventional aircraft.
11. Tethered Drone Power System with Chopper Circuit for Transceiver and Battery Management
T-MOBILE USA INC, 2020
Powering drones carrying base station transceivers using a tethered drone configuration. The drone has a battery, propulsion system, tether connector, and a chopper circuit to bleed excess charge. It receives power via the tether while flying, charges the battery, balances cell charges, and powers the transceiver via the chopper circuit. This allows extended flight time by supplementing battery power from the tether. The chopper circuit improves efficiency by using excess battery charge to power systems in a different voltage domain.
12. Tethered Drone System with Power and Control Signal Transmission via Integrated Tether
PEARTRACK SECURITY SYSTEMS INC, 2020
Tethered drones that maintain flight via power supplied from a ground-based or mobile source, enabling perpetual operation for various industrial applications, including surveillance, crop monitoring, and surface cleaning. The drones are controlled through a tether that transmits power and control signals, and can be integrated with mobile control systems for reduced size and increased functionality.
13. Modular Aerial Vehicle with Elongated Support Structure and Tether Coupling
VANTAGE DYNAMIC AS, 2020
Aerial vehicle arrangement comprising an aerial vehicle with a modular design, comprising a thruster module and one or more sensor devices, and a tether coupling for power and data transmission. The aerial vehicle features an elongated hollow support structure with removable sections for attaching sensor devices and thruster modules, enabling flexible configuration and easy replacement. The arrangement also includes a docking station for secure storage and release, and features for autonomous control, stability, and power management.
Get Full Report
Access our comprehensive collection of 13 documents related to this technology
