Drone Drag Reduction using Aerodynamic Design
Drone aerodynamic performance suffers from multiple drag sources that collectively limit flight efficiency. Current consumer quadcopters typically experience drag coefficients between 0.8 and 1.2, with up to 40% of total drag generated by exposed rotors and struts. Field measurements show that reducing overall drag by just 15% can extend flight time by 10-18 minutes on standard battery configurations, while improving stability in crosswind conditions where lateral forces exceed 2.5 N at wind speeds of 8 m/s.
The central challenge in drone aerodynamic design lies in optimizing airframe configurations to minimize drag forces without compromising stability, payload capacity, or the practical constraints of small-scale manufacturing.
This page brings together solutions from recent research—including morphing wings that dynamically adjust their area during flight, ducted designs with diameter-specific tubes and laminar flow surfaces, winglet systems with independently actuated control surfaces, and compressed air blowing flight control systems. These and other approaches demonstrate how aerodynamic principles developed for larger aircraft can be adapted to the unique constraints of drone platforms while maintaining manufacturing feasibility.
1. Duct with Diameter-Specific Tube and Laminar Flow Surfaces for Fluid Drag Reduction
RODRIGUEZ LUIS ALIRIO, 2025
A duct for reducing drag on objects moving through fluids, comprising a smooth or grooved tube running through the object from front to rear, with a diameter between 0.5% and 5% of the object's diameter, and internal surfaces designed to maintain laminar flow at high speeds.
2. Lift-Generating Body with Vortex-Inducing Suction System and Ellipsoid Dome
MBODJ PAPA ABDOULAYE, 2025
A system for reducing drag and enhancing lift on lift-generating bodies, such as wings, by creating a low-pressure area at the tip through vortex interaction. The system features suction holes or slots connected to a plenum and an ellipsoid dome, which creates a pressure gradient that forms a vortex core. The core moves onto the upper surface, generating a low-pressure area that can be regulated through a valve system.
3. Winged Aircraft with Compressed Air Blowing Flight Control System
DELAGE AERODYNAMIQUE, 2024
A winged aircraft with a simplified flight control system that uses compressed air blowing to modify lift and drag. The aircraft includes a tank and a blowing member that directs a flow of compressed air towards the wing's air flow zone to control roll, pitch, and yaw movements. The blowing member can be positioned upstream or downstream of the leading edge, and can be configured to eject air at the wing tip. The system eliminates the need for traditional flight control surfaces, reducing drag and weight while enabling remote or autonomous control.
4. Vertical Takeoff and Landing Drone with Morphing Wings for Dynamic Area Adjustment
ECOLE POLYTECHNIQUE FEDERALE DE LAUSANNE, 2024
Vertical takeoff and landing drone with morphing wings that can change shape to improve stability and maneuverability in windy conditions. The drone has wings that can dynamically adjust their area during flight to compensate for crosswinds and use wind currents for assistance. This allows reducing energy consumption compared to fixed wing drones with a compromise between hover and flight performance. The wing shape variation is controlled by servos to symmetrically or asymmetrically change the wing area based on wind direction. This allows reducing drag in headwinds, increasing lift in tailwinds, and leveraging wind currents for yaw control.
5. Aircraft Winglet System with Independently Actuated Control Surfaces for Blended Wing Body Configuration
BLENDED WING AIRCRAFT INC, 2023
Aircraft with aerodynamic control using winglet surfaces, particularly for blended wing body aircraft where conventional control surfaces are impractical. The winglets incorporate control surfaces at their trailing edges, which are actuated by a controller to provide roll, pitch, and yaw control. The winglet control surfaces can be independently controlled to achieve precise control of the aircraft.
6. Aircraft Configuration with Nacelle-Based Auxiliary Wings and Stabilizers for Vortex Interaction
INST SUPERIEUR DE LAERONAUTIQUE ET DE LESPACE, 2023
An airplane with reduced induced drag, comprising an elongated fuselage, two nacelles arranged on either side of the fuselage, and two wings arranged on either side of the fuselage. The nacelles form auxiliary wings with positive lift, and the stabilizers form secondary wings with negative lift. The auxiliary and secondary wings interact to cancel or significantly reduce the intensity of marginal vortices, thereby reducing induced drag.
7. Aerial Towed Platform with Pivotally Connected Flat Plate Airfoil and Rounded Leading Edge
THE SUPPES FAMILY TRUST, 2023
Aerial towed platform for drones with a flat plate airfoil design that achieves high lift-to-drag ratios and enables efficient solar-powered flight. The platform features a pivotally connected flat plate airfoil with a rounded leading edge and a distributed load, which is propelled by a forward joint and a propulsor. The design enables robust and efficient flight, particularly for solar-powered aircraft, and can be used in combination with hybrid electric-fuel engines and VTOL drones.
8. VTOL Hexrotor Aircraft with Canard-Mounted Forward Rotors and Tiltable Aft Rotors in Concentric Configuration
BELL TEXTRON INC, 2022
A VTOL hexrotor aircraft with a canard configuration for distributed propulsion. The aircraft features six rotors, with two forward rotors mounted on top of canard pylons, two middle rotors on wing pylons, and two aft rotors on wing pylons that tilt down for hover mode. All rotors are mounted in a concentric circle around the aircraft's center of gravity, providing equal spacing and redundancy for control. The configuration enables both hover and cruise modes, with the aft rotors tilting between positions for transition.
9. Supersonic Aircraft with Dynamic Shape-Adjusting Surfaces for Sonic Boom Suppression
AERION INTELLECTUAL PROPERTY MANAGEMENT CORP, 2022
A supersonic aircraft system that dynamically adjusts aircraft shape to trade drag for sonic boom suppression. The system deploys active surfaces to modify the aircraft's nose, fuselage, wings, and tail sections to minimize sonic boom over restricted terrain, while retracting these surfaces to optimize drag over unrestricted terrain. A real-time flight management controller determines the optimal aircraft configuration based on terrain restrictions and adjusts the aircraft shape accordingly.
10. VTOL UAV with Foldable Fixed Wing and Twin-Ducted Fan Configuration
UNIV SOUTH CHINA TECH, 2022
A vertical take-off and landing (VTOL) unmanned aerial vehicle (UAV) with a foldable fixed wing and twin-ducted fan power system. The ducted fans provide stability against crosswinds during vertical takeoff and landing, while the foldable wing reduces frontal area and enhances anti-wind capability. During horizontal flight, the wing expands to generate lift. The system employs electric power and a lithium battery energy source.
11. Surface-Attached Devices Generating Counter-Rotating Vortices for Fluid Interaction
PEER BELT INC, 2021
A method and apparatus for reducing fluid drag and enhancing heat transfer in vehicles, vessels, and aircraft. The method involves applying surface-attached devices that produce turbulence with minimal separation, creating a stable, counter-rotating vortex structure that extends along the surface and promotes downward fluid motion. The devices can be used to reduce drag, improve heat exchange, and delay stall characteristics in various applications, including turbine blades, propellers, and control surfaces.
12. Ring-Wing Fan Engine with Wing-Shaped Outer Duct Shell
LI QINGYUAN, 2021
A ring-wing fan engine that increases lift and improves energy efficiency by combining a ring-wing with an outer duct shell. The duct shell is modified to create a wing-like shape that generates lift, while the ring-wing provides additional lift and stability. This design enables vertical takeoff and landing capabilities, and can be applied to both ducted UAVs and conventional turbofan engines.
13. Wing Configuration with Rearward-Positioned Root Leading Edge and Trailing Edge Alignment
Taylor DiAnte' Brown, 2021
A method for reducing drag and increasing stability in vehicles and objects with wings by positioning the wing's root leading edge as far back as possible, with the root trailing edge located at or behind the fuselage trailing edge. This configuration enables the vehicle or object to achieve maximum streamlining and drag reduction, resulting in improved stability and aerodynamic performance.
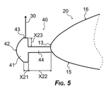
14. Hinged Wing Structure for Multirotor Drones with Detachable Integration and Aerodynamic Continuity
BACHMANN HELMUTH G, 2021
A hinged wing design for multirotor drones that enables detachable wing attachment while maintaining aerodynamic performance. The wing integrates with existing multirotor drone frames through a hinged structure, allowing it to be easily mounted and removed. This design addresses limitations of existing multirotor wing attachments, such as mechanical pivoting mechanisms and wing attachment points, by providing a continuous, integral wing system. The hinged wing configuration enables quick and secure attachment while maintaining aerodynamic performance, while the integrated design eliminates drag from attachment points.
15. Aerodynamic Surface with Hierarchical Closed-Loop Flow Control System Comprising Multiple Local and Global Control Zones
ORBITAL RESEARCH INC, 2021
A missile or aircraft with a hierarchical closed-loop flow control system for enhanced aerodynamic control, maneuverability, and stabilization. The system comprises multiple airflow control zones on the aerodynamic surface, each with a local closed-loop control system and a global control system to coordinate the local control systems. The local control systems utilize sensors and active flow control devices to control airflow phenomena such as flow separation and reattachment, while the global control system integrates the local control systems to achieve overall aerodynamic performance.
16. Aerodynamic Drag Reduction Device with Contoured Hollow Structure and Gas Injection System
SHARMA VIKRANT, 2021
A device for reducing aerodynamic drag in aerospace systems, comprising a hollow structure with an optimized external contour for minimum drag, and internal chambers containing fuels that auto-ignite or react to produce hot gases. The device injects these hot gases into the airflow around the vehicle through nozzles, achieving drag reduction through both shape optimization and heat/energy addition. The device can be retrofitted to existing vehicles or integrated into new designs, and its performance is optimized for various flight conditions.
17. Rotor Blade with Miniature Vortex Generators for Unmanned Aerial Vehicles
HANGZHOU ZERO ZERO TECH CO LTD, 2020
An unmanned aerial vehicle (UAV) with improved efficiency and reduced noise, featuring a rotor blade with miniature vortex generators. The vortex generators, strategically placed along the upper surface of the rotor blade, generate flow vortices that enhance energy exchange between the boundary layer and mainstream flow, delaying separation and reducing noise. The miniature size of the vortex generators allows for integration into existing rotor blade designs, while their optimized height range ensures effective flow control without excessive drag.
18. Retractable Flaps with Flush Integration for Variable Lift and Drag Control
Taylor DiAnte' Brown, 2020
Retractable flaps for vehicles and objects that can deflect to generate lift or drag and then retract flush with the surrounding surface to minimize drag and improve aerodynamics. The flaps are designed to operate in the same functionality as traditional flaps but with the added benefit of retractability, allowing them to be hidden when not in use and reducing turbulence and drag. The flaps can be used for steering, trajectory adjustment, and braking on a wide range of vehicles including aircraft, spacecraft, watercraft, and projectiles.
19. Microstructure Film with Precision Grooves for Unmanned Aerial Vehicle Rotors
UNIV SHENZHEN, 2020
Microstructure drag reduction film for unmanned aerial vehicle rotors that enhances aerodynamic performance through precise, sharp grooves. The film features micro-scale, precisely engineered grooves with sharp peaks that maximize drag reduction while minimizing film thickness. The manufacturing process employs a novel extrusion roll forming method that enables precise control over groove dimensions and shape, particularly for achieving optimal peak profiles.
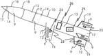
20. Adjustable Fairings with Movable Coupling for Aerodynamic Drag Reduction in Aerial Vehicles
AMAZON TECHNOLOGIES INC, 2020
Adjustable fairings for aerial vehicle components that reduce aerodynamic drag in multiple flight configurations. The fairings are movably coupled to motors, motor arms, and other structural components, and can move or rotate based on airflow to minimize drag. This enables improved control and safety of aerial vehicles in various flight orientations.
21. Aircraft Boundary Layer Ingestion System with Upstream Nozzle Element for Flow Acceleration and Deceleration
UNITED TECHNOLOGIES CORP, 2020
A system to promote accelerated boundary layer ingestion on an aircraft, comprising a fuselage, a boundary layer ingestion (BLI) propulsor inlet, and a nozzle element disposed upstream from the inlet. The nozzle element accelerates boundary flows flowing toward the interior side of the BLI propulsor inlet and decelerates boundary flows flowing toward the exterior side, thereby homogenizing the boundary layer profile and promoting efficient ingestion of boundary layer air.
22. Asymmetrical Vortex Generator Arrangement for Aircraft Wave Drag Reduction
THE BOEING CO, 2020
A drag reduction system for aircraft that reduces wave drag caused by vortex generators. The system comprises a first vortex generator and a second vortex generator positioned on the aircraft, with the first and second vortex generators being asymmetrical to each other in relation to a coupling axis. The asymmetry is achieved by longitudinally aligning the trailing edge of the first vortex generator with the leading edge of the second vortex generator, while maintaining structural and aerodynamic integrity.
Get Full Report
Access our comprehensive collection of 22 documents related to this technology
