Aerodynamic Design of Drone Propulsion Systems
Modern drone propulsion systems generate thrust in conditions that demand careful aerodynamic optimization. Wind tunnel measurements reveal that propeller efficiency can drop by 15-20% at high angles of attack, while interference between multiple rotors creates complex flow fields with localized pressure gradients exceeding 250 Pa. These aerodynamic interactions directly impact flight endurance, with each percentage point of propulsive efficiency typically translating to 1-1.5 minutes of additional flight time for battery-powered systems.
The fundamental challenge lies in balancing thrust production against aerodynamic drag, power consumption, and acoustic signature across diverse flight regimes from hover to high-speed forward flight.
This page brings together solutions from recent research—including ducted fan assemblies with peripheral smaller ducts that prevent Coanda effect interference, swiveling rotor systems for vectored thrust control, wing-like propeller guards that generate supplementary lift, and propellers designed to stow within nacelles during cruise flight. These and other approaches demonstrate how carefully engineered propulsion systems can significantly extend flight capabilities while maintaining aerodynamic efficiency.
1. Lift Generating Device with Ducted Jet Stream and Curved Surface for Aircraft
CHANGINAVIATION CO LTD, 2025
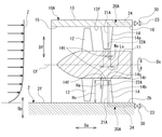
A lift generating device for an aircraft that improves the reliability and safety of vertical takeoff and landing (VTOL) aircraft by utilizing a ducted jet stream system. The system includes an inlet duct, a jet stream generator, and a curved duct that guides the high-velocity jet stream along a curved surface to generate lift. The duct design incorporates a straight section to maintain constant centrifugal force and a curved section with a specific angle to optimize lift generation. The system also employs a Coanda effect to draw in surrounding air and increase the flow rate of the jet stream.
2. Rotor Management System with Magnetic Positioning and Adaptive Halting Axis for Electric Aircraft
BETA AIR LLC, 2025
A system and method for rotor management in electric aircraft to reduce drag during cruise flight. The system determines a drag minimization axis for each rotor and positions it in a halting point where the first end points in one direction of the axis and the second end points in the opposite direction. The system uses magnetic elements to halt and position the rotors, and continuously updates the halting point based on sensor feedback. The system can also utilize machine learning models to determine optimal halting points.
3. Ground-Effect Aircraft with Lifting Body and Variable Pitch Lift Span Featuring Crossover Propulsor and Drag-Minimizing Fence System
SUPPES GALEN, 2025
Ground-effect aircraft with enhanced lift and efficiency through novel aerodynamic principles. The aircraft features a base case lifting body enhanced with lift-span technology and cross-over propulsor, which work together to optimize lift generation and pressure retention. The design incorporates a variable pitch lift span, a crossover propulsor, and a unique fence system that maintains close clearance ratios while minimizing drag. The aircraft achieves higher lift and L/D efficiency by leveraging the ground to block pressure dissipation, rather than relying on traditional wing curvature.
4. Engine with Movable Aerodynamic Element for Vertical Take-Off and Landing Aircraft
LILIUM EAIRCRAFT GMBH, 2024
Engine for a vertical take-off and landing aircraft, comprising an aerodynamic component with a movable aerodynamic element that defines an aerodynamic surface in contact with an airstream passing through the engine. The aerodynamic element is configured to move between a first position and a second position in response to the engine's movement between a hover position and a cruise position, thereby adapting the aerodynamic conditions within the engine to optimize performance in both operating modes.
5. Ducted Fan Assembly with Peripheral Smaller Ducts and Specific Length-to-Diameter Ratio Configuration
MITSUBISHI HEAVY INDUSTRIES LTD, 2024
Ducted fan device for VTOL aircraft with improved thrust and noise reduction. The device features a cylindrical larger duct and multiple smaller ducts surrounding fans, with the smaller ducts positioned outside the larger duct on the upstream side. The smaller ducts are arranged at equal angular intervals and have a specific length-to-diameter ratio to optimize airflow and prevent Coanda effect interference. This configuration controls air separation at the larger duct's lip portion, enhancing thrust and quietness during transition modes and crosswind conditions.
6. Drone with Aerodynamic Wing-Like Propeller Guards for Lift Generation
SNAP INC, 2024
A drone design that generates lift through aerodynamic wing-like propeller guards rather than traditional propeller guards. The guards, which are part-annular in shape, extend radially from the drone's body and are strategically positioned to intercept the propellers' airflow. By optimizing the guard's angle and shape relative to the propellers' path, the drone achieves lift while maintaining stability and minimizing drag. The guards are integrated into the drone's aerodynamic system, eliminating the need for separate safety features while maintaining safety performance.
7. Propulsion Assembly with Swiveling Rotor System for Vectored Thrust Control
TEXTRON INNOVATIONS INC, 2024
Controllable vectored thrust in propulsion assemblies for aircraft that allows for vertical takeoff, hovering, and landing capability like a helicopter, but also provides forward flight speed and range like a fixed-wing aircraft. The propulsion assembly has a rotor system that can swivel about a fixed pivot axis. By changing the angle of the rotor axis relative to the aircraft, it allows shifting the center of gravity and direction of thrust vectors. This provides benefits like reducing thrust requirements when an engine fails, improving stability and maneuverability in hover, and allowing forward/aft and side translation without changing attitude.
8. Electric Aircraft Structure with Single-Piece Wing and Central Joint Boom System
BETA AIR LLC, 2024
A structure for an electric aircraft featuring a single-piece wing with an integrated airfoil, and a boom system comprising a central joint attached to the wing and two segments extending from the joint to support a propulsor. The boom joint is designed to provide a stable and rigid connection between the wing and the propulsor, enabling efficient and reliable propulsion of the electric aircraft.
9. Curved Boom Structure Supporting Non-Linear Array of VTOL Rotors with Aerodynamic Drag-Reducing Profile
HONDA MOTOR CO LTD, 2024
Aircraft with a boom supporting multiple VTOL rotors in a non-linear array, where the boom is curved in the lateral direction to accommodate the rotor layout, and features a specially designed shape to reduce aerodynamic drag during cruise operations.
10. VTOL Aircraft with Pivoting Thrust Units and Stowable Propellers in Nacelles
JOBY AERO INC, 2024
A vertical takeoff and landing (VTOL) aircraft with pivoting thrust units that transition from vertical to horizontal thrust during flight. The units feature stowable propellers that nest within the nacelles during forward flight, eliminating drag and optimizing efficiency. The propellers are powered by electric motors that rotate with the units, eliminating the need for gimbal systems or torque drives. The aircraft achieves VTOL capabilities through the pivoting thrust units, which can be fully stowed during forward flight.
11. Unmanned Aerial Vehicle with Ducted Fan Propulsion and Integrated Lid Actuator for Roll and Pitch Control
TOPSPIN ROBOTICS SIA, 2024
An unmanned aerial vehicle (UAV) with a ducted fan propulsion system, comprising a ducted body with a vertical axis, a fan motor, and a fan positioned within the duct. The fan motor is electronically connected to a flight controller that controls the fan motor for thrust generation and an actuator for lid control, enabling roll and pitch control.
12. Louvered Lift Fan Cover with Variable Range Louver Devices for VTOL Aircraft
AURORA FLIGHT SCIENCES CORPORATION A SUBSIDIARY OF THE BOEING CO, 2024
A louvered lift fan cover for vertical takeoff and landing (VTOL) aircraft that enables efficient transition between hover and forward flight modes. The cover features a plurality of louver devices positioned at the inlet opening of the fan duct, with each louver device having a fixed and movable portion. As the cover moves between open and closed positions, the curvature profiles of the airflow channels between adjacent louver devices change, reducing flow separation and turbulence during transition. The louver devices are designed to rotate through different limited ranges, with the forward-most louver device having the smallest range and the rear-most louver device having the largest range. This design enables smooth airflow control during mode transition, minimizing drag and vibration.
13. Rotorcraft with Circular Wings Featuring Convex Surfaces for Coanda Effect-Induced Lift
SUBARU CORP, 2024
A rotorcraft design with circular wings underneath the rotors that provide lift and stability benefits. The rotors generate the primary lift, but the circular wings with convex upper surfaces create Coanda effects that generate additional lift. The airflow over the wings is deflected downward by the curvature, providing a third source of lift. This reduces the overall size and weight of the rotorcraft compared to traditional designs that rely solely on the rotors for lift. The circular wings also improve stability during ground taxiing and reduce the center of gravity by allowing components like wheels and batteries below the rotors.
14. Aircraft Wing with Pivotable Thrust-Generating Wingtips and Concave Vortex-Reducing Edges
LILIUM EAIRCRAFT GMBH, 2024
Wing design for aircraft with improved aerodynamic performance. The wing has a fixed lift generating portion and a moveable lift modifying portion connected to it. The moveable portion can pivot along the wing's extension direction and contains propulsion devices to generate thrust. This allows the wing tips to move and create lift modification while also providing thrust. The concave wingtip shape reduces vortices compared to conventional wings. The moveable wingtips extend rearward and have inclined rear edges. The fixed wingtips can also have inclined edges. This configuration improves lift and reduces drag compared to fixed wingtips with gaps.
15. eVTOL Aircraft with Underwing Ducted Fans and Rotor Blades Having Zero Sweep Leading Edges and Elliptical Trailing Edges
TEXAS TECH UNIVERSITY SYSTEM, 2024
An electric vertical takeoff and landing (eVTOL) aircraft with underwing ducted fans featuring specially shaped rotor blades with zero sweep leading edges and elliptical trailing edges. The aircraft's wings have an undercambered lower surface, and the ducted fans are mounted to this surface. The rotor blades have flat tips and are attached to a hub with a defined pitch angle. The ducted fan configuration includes a larger fan array, an outer fan array near the wing tip, and an inner fan array between the larger and outer arrays.
16. Electric Aircraft Wing with Integrated Distributed Ducted Fan Power Units and Movable Wing Flaps
COMMERCIAL AIRCRAFT CORP CN, 2024
An electric aircraft with integrated distributed ducted fans, comprising a wing with a ducted fan power unit, where the ducted fan power unit includes multiple ducted power units, each comprising a duct, a propeller rotatably fixed within the duct, and an electric motor drivingly connected to the propeller. The wing includes an inner wing section with a flap receiving portion and an inner wing flap that can move between an extended and retracted position, and an outer wing section with an outer wing flap that can move between an extended and retracted position. The aircraft also includes a fuselage, a tail section, and a landing gear system.
17. Air Mobility Device with Rotatable Wings and Distributed Propulsion Utilizing Coandă Effect Enhancement
HYUNDAI MOTOR CO, KIA CORP, 2024
An air mobility device that increases flying range through Coandă effect enhancement and reduces noise through distributed propulsion. The device features a main body with compression motors, rotatable wings with open spaces, and blowers that utilize compressed air to generate additional propulsion. The wing design incorporates asymmetric streamlined shapes to optimize airflow and enhance the Coandă effect, while the distributed propulsion system minimizes noise generation.
18. Air Mobility System with Foldable Wing and Deployable Overlapping Section
KIA CORP, HYUNDAI MOTOR CO, 2024
An air mobility system with a foldable wing that reduces air resistance during vertical takeoff and landing. The wing features a deployable section that overlaps with the main wing during vertical flight, and deploys during cruising to improve efficiency. An actuator and controller enable controlled folding and deployment of the wing section.
19. Toroidal Propeller with Deformable Blades for Variable Pitch Control
ALPRAAZ AB, 2024
A variable toroidal propeller for air and water applications that combines the efficiency and quiet operation of toroidal propellers with the pitch control of variable pitch propellers. The propeller features a toroidal blade that deforms in response to actuator activation, allowing for adjustable pitch and optimized performance across different operating conditions.
20. Aircraft Wing with Retractable Leading-Edge Slat and Stowable Distributed Propulsors
CORNERSTONE RESEARCH GROUP INC, 2024
A distributed propulsion system for aircraft that stows propulsors within a leading-edge compartment when not in use. The system features a moveable slat that extends from the wing to expose the propulsors, which are then operated during takeoff and landing to provide increased power and lift. The slat retracts to enclose the propulsors when not in use, eliminating parasitic drag and maintaining the aircraft's aerodynamic profile during cruise.
21. Ducted Fan with Rotor and Spaced Stators for VTOL Aircraft
TEXTRON INNOVATIONS INC, 2023
A ducted fan design for vertical takeoff and landing (VTOL) aircraft that provides high forward thrust and lift efficiency with reduced noise. The ducted fan has a rotor with blades and stators extending from the hub to the duct. The rotor blades can rotate around their pitch-change axes. The key feature is spacing the stator leading edges well behind the rotor plane, at least 1.5 times the stator thickness. This allows the stators to support the rotor while avoiding aerodynamic interference and losses. The separated stators improve thrust and lift efficiency compared to conventional ducted fans.
22. Rotorcraft with Array of Lift Devices Featuring Fixed and Tiltable Thrust Groups
BAE SYSTEMS PLC, 2023
Rotorcraft with variable thrust direction, comprising an array of lift devices supported on a structure, with a first group generating thrust in a fixed direction and a second group tiltable to generate thrust in a different direction, controlled by a flight control system.
23. Flying Vehicle with Multicopter Mechanism and Main Wing Featuring Variable Lift and Deployable Surface for Landing Stability
AERONEXT INC, 2023
A flying vehicle that combines a multicopter mechanism with a main wing to achieve both vertical takeoff and landing and stable landing with improved fuel efficiency. The vehicle features a flying part connected to a plurality of rotor wing parts and a main wing, where the main wing is configured to have a reduced lift during landing compared to the lift during cruise. The main wing's reduced lift during landing enables the vehicle to maintain stable descent while also employing an additional moving surface above the main wing during landing, which deploys during landing to further reduce lift. The vehicle also features a fan that produces an upward wake during landing.
24. Flying Vehicle with Wing-Mounted Tilt-Rotor and Stacked Vertical Thrust Rotor Assemblies
VERTICAL AEROSPACE GROUP LTD, 2023
Flying vehicle with distributed propulsion system comprising a pair of rotor assemblies, each comprising a tilt-rotor and a stacked plurality of vertical thrust rotors, mounted on the wings to provide redundancy and efficiency during vertical takeoff and landing (VTOL) and high-speed cruise operations.
25. All-Electric VTOL Aircraft with Wing-Integrated Ducted Fan and Sealing Louvers
DR ING H.C F PORSCHE AG, 2023
An all-electric vertical takeoff and landing (VTOL) aircraft with a ducted fan integrated into the wing, where the fan is enclosed by a cylindrical housing to reduce thrust losses. The fan is sealed during cruising conditions by louvers at the inlet and outlet, and the upper wing surface is sealed against the lower wing surface to prevent pressure compensation.
26. Lift Augmentation System with Distributed Electric Propulsion for Blown Lift Tailplane
ELECTRA AERO INC, 2023
A lift augmentation system for aircraft featuring a blown lift tailplane with distributed electric propulsion units (DEPUs) that produce slipstreams to augment lift. The DEPUs are operatively coupled to the leading edge of the tailplane and configured to blow over both upper and lower surfaces. A computing device controls the power level of the DEPUs based on sensor data and flight conditions to optimize lift augmentation.
27. Flettner Rotor with Porous Shroud and Rotating Circular-Arc Insert for Localized Suction Zone Creation
UNIV JOHNS HOPKINS, 2023
A Flettner rotor for wind-assisted propulsion of ships and other vehicles, featuring a porous outer shroud with a rotating circular-arc insert that creates a localized suction zone to enhance lift and propulsion performance. The insert can be configured to rotate in multiple positions to create multiple suction ports, and can be directed at various angles to optimize performance in different wind conditions.
28. Wing-Shaped Rotor with Laminar Airflow Generator and Venturi-Induced Thrust Mechanism
LOTHER NORBERT, 2023
Aerodynamic drive unit for driving a generator, comprising a wing-shaped rotor with a laminar airflow generator that creates a negative pressure zone above the wing, utilizing the Venturi effect to generate thrust and drive rotation.
29. Variable-Sweep Wing Aerial Vehicle with Distributed Propulsion and Wing-Mounted Ducted Fans
WANG XI, 2023
A variable-sweep wing aerial vehicle for VTOL, STOL, and horizontal flight, featuring a distributed propulsion system with wing-mounted ducted fans and a rear fuselage-mounted pusher fan. The wing configuration adapts to different flight modes, with transverse wings for VTOL and longitudinal wings for horizontal flight, while blown flaps enhance lift efficiency. The design enables safe ground operation and minimized footprint.
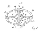
30. Rotary-Wing UAV with Internal Cavity Pressurization and Lift Propeller System
BONAVIDE LTD, 2023
A rotary-wing unmanned aerial vehicle (UAV) with enhanced lifting capability while maintaining a compact horizontal span. The UAV features a body with an internal cavity, an exhaust arrangement with a lift propeller, and a pressurizing arrangement with one or more auxiliary propellers that force air into the cavity to create a high-pressure zone. This pressurization enables the lift propeller to generate greater lift without the need for additional propellers or increased horizontal span.
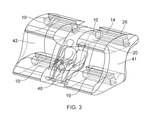
31. Micro-Air Vehicle with Pivotable Blade Cycloidal Rotors and Coaxial Configuration
THE TEXAS A&M UNIVERSITY SYSTEM, 2023
Micro-air vehicle (MAV) design with high maneuverability, confined space capability, and gust tolerance for applications like indoor search and rescue, surveillance, and traffic monitoring. The MAV has cycloidal rotors instead of fixed wings or conventional rotors. The cycloidal rotor blades pivot to adjust pitch. This allows hovering, low-speed flight, and tight turns. The blades are made of carbon fiber for light weight. The cycloidal rotor configuration provides higher thrust and efficiency compared to fixed-wing or conventional rotors at low Reynolds numbers. The MAV has two coaxial cycloidal rotors counterbalanced by a tail rotor.
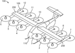
32. Quadrotor VTOL Craft with Short-Span Crossflow Fan Propulsion Elements
NORAERO AS, 2023
A multirotor, distributed propulsion vertical take-off and landing (VTOL) craft with a compact quadrotor configuration, comprising four short-span crossflow fan lift, propulsion, and control elements (LPCEs) arranged around a central fuselage. The LPCEs provide both efficient distributed propulsion in forward flight and sufficient vertical thrust for VTOL operation, while maintaining a footprint similar to a car. The craft's design enables reduced energy consumption, increased range, and improved hover reserve compared to conventional eVTOL configurations.
33. Aircraft Fan Device with Rotor Shaft and Moving Blade Fluid Suction Mechanism to Suppress Airflow Separation
MITSUBISHI HEAVY IND LTD, 2023
An aircraft with a fan device that expands its operating range and improves propulsion efficiency by suppressing airflow separation in the housing. The fan device includes a rotor shaft, moving blades, a housing, stationary blades, and a moving blade fluid suction portion. The housing has openings at both ends and covers the rotor shaft and blades, with stationary vanes extending inward from the housing's inner surface. The moving blade fluid suction portion draws air from the housing's outer region, preventing separation and stall near the rotor blades.
34. Aircraft Airfoil with Integrated Thrust Unit and Movable Outlet Cover for Directional Airflow Control
HORIZON AIRCRAFT INC, 2023
An aircraft airfoil with an internal thrust unit, comprising a skin structure with a lower surface, a thrust system connected to the skin structure, and an outlet cover connected to the skin structure and movable between a forward flight position and a vertical flight position. The outlet cover deflects airflow in a rearward direction during forward flight and allows airflow to be directed downward during vertical flight.
35. Aircraft Propulsion System with Dual Configuration Adaptive Pitch Propellers and Integrated Hydraulic Control Mechanism
PYKA INC, 2022
Aircraft propulsion system with adaptive pitch propellers for improved efficiency across flight phases. The system features dual propulsion systems, one in a tractor configuration and one in a pusher configuration, with propellers that can change pitch to optimize performance during takeoff, climb, and cruise phases. The system also includes a hydraulic system for control surface movement and landing gear extension, and a safety system to prevent door opening during rear propeller deployment.
36. Aircraft Propulsion System with Detachable Rectangular Nacelles and Rotatable Control Surfaces
WRIGHT ELECTRIC INC, 2022
Aircraft propulsion system featuring detachable, rectangular nacelles mounted above the wings, each containing multiple electric motors and fans. The nacelles have rotatable control surfaces at intake and exhaust ends to provide thrust vectoring, thrust reversing, and enhanced lift during takeoff and landing. The nacelles are designed to reduce drag and installation constraints compared to traditional round nacelles, while also improving safety and reducing the risk of bird strikes.
37. Vertical Take-Off and Landing Aircraft Engine with Movable Aerodynamic Exhaust Nozzle and Integrated Flight Mode Transmission System
LILIUM EAIRCRAFT GMBH, 2022
An engine for a vertical take-off and landing aircraft, comprising a variable area exhaust nozzle with a movable aerodynamic element, a transmission connecting the nozzle to the aircraft component, and a control device that directly links the nozzle movement to the engine's position change between hover and cruise modes. The transmission enables the nozzle to adapt its aerodynamic configuration to the flight mode, while the control device ensures precise control over the nozzle's movement.
38. Cyclogyro Rotor with Eccentric Offset Blade-Mounted Bearing System for Controlled Pitch Movement
CYCLOTECH GMBH, 2022
A cyclogyro rotor design for aircraft propulsion that reduces structural loads through optimized blade pitch movement. The rotor features a blade-mounted bearing system with an adjustable eccentric offset, enabling controlled pitch movement of the blades while maintaining structural integrity. The bearing system is positioned at an offset distance from the axis of rotation, allowing the blades to rotate around this offset while maintaining normal thrust direction. This design enables precise control of blade pitch angles, eliminating the traditional harmonic vibrations that can cause structural stress.
39. VTOL Aircraft with Retractable Conformal Folding Propeller Blades
JOBY AERO INC, 2022
Vertical takeoff and landing (VTOL) aircraft with folding propeller blades that retract into the aircraft body for low drag during forward flight. The propeller blades are designed to conform to the shape of the aircraft body when stowed, reducing drag compared to blades that fully extend outside the body. This allows the blades to be nested inside the body when not needed instead of retracting them completely. The blades are aerodynamically similar to conventional blades but integrated into the body for lower overall drag. This provides a VTOL aircraft with a high lift-to-drag ratio and reduced failure points compared to tilting or folding propeller mechanisms.
40. Cross Flow Fan with Vane-Integrated Tongue and Jetting Portion for Fluid Loss Reduction
MITSUBISHI HEAVY IND LTD, 2022
Cross flow fan for aircraft lift generation, comprising a plurality of vanes disposed at predetermined intervals around a rotational axis, a tongue portion disposed on the outer circumference of each vane, and a jetting portion that injects fluid along the wall surface of the discharge flow path to reduce fluid loss. The fan includes a facing wall member with an upstream wall having a curvature radius matching the vane trajectory, a downstream wall with a gradually increasing curvature radius, and a diffuser wall. The jetting portion is positioned on the downstream wall to counteract increasing gap between the vane and wall surfaces.
41. Cyclorotor Thrust Vectoring System with Perpendicular Dual-Axis Control Cam Positioning
UNITED STATES OF AMERICA AS REPRESENTED BY THE SECRETARY OF THE AIR FORCE, 2022
A system for controlling thrust vectoring of a cyclorotor, comprising a control cam positionable relative to a drive shaft of a cyclorotor along each of a first axis and a second axis, where the drive shaft is rotatable about a third axis, and where the first axis and the second axis are substantially perpendicular to the third axis. The system further includes a frame having a plurality of sides, where the frame is disposed at least partly around the drive shaft of the cyclorotor, a first positioning assembly disposed on a first side of the frame, where the first positioning assembly is structurally configured to move the frame along the first axis, and a second positioning assembly disposed on a second side of the frame, where the second positioning assembly is engaged with the control cam and structurally configured to move the control cam relative to the frame along the second axis.
42. Ducted Fan System with Rigid Rotor Assembly and Integrated Pitch Control Mechanism
TEXTRON INNOVATIONS INC, 2022
A ducted fan system for a rotorcraft that achieves improved thrust efficiency through precise control of fan pitch. The system features a rigid rotor assembly with a control tube that translates to rotate the rotor blades about their pitch-change axes, eliminating the need for external pitch links and horns. This design maintains the structural integrity of the rotor hub while enabling precise control of fan pitch to optimize thrust generation.
43. Unmanned Aerial Vehicle with Enclosed Ducted Fan Circuits and Internal Rotating Cylinders
CARNEGIE CAMERON, 2022
A circuit-based unmanned aerial vehicle (UAV) designed for safe operation around people. The UAV has enclosed air duct circuits with internal rotating cylinders and fans to generate directional forces. The ducts prevent contact with the rotating parts, making it safe for close interaction. The ducted fan configuration allows vertical, horizontal, and thrust control for maneuverability. The UAV has multiple ducted circuits arranged in a modular configuration to optimize performance.
44. Air Vehicle Configuration with Distributed Electrical Propulsion and Integrated Secondary Propulsion for Enhanced Low-Speed Control
ISRAEL AEROSPACE IND LTD, 2022
A short takeoff and landing (STOL) air vehicle configuration that enables powered landing on moving platforms and short runways. The configuration features a distributed electrical propulsion (DEP) system with secondary propulsion units integrated into the wings, which provides augmented lift and enhanced drag to enable controlled flight at low speeds. The DEP system is optimized for damping separated wake conditions and can generate control moments in roll, pitch, and yaw at air speeds below the nominal stall speed. The configuration enables STOL and super-STOL (SSTOL) capabilities, allowing conventional takeoff and landing (CTOL) aircraft to be converted for operation on moving platforms and short runways.
45. VTOL Aircraft with Retractable Rotor Enclosure System
BELL TEXTRON INC, 2022
A vertical takeoff and landing (VTOL) aircraft with retractable rotors, comprising a fuselage, wings, and booms that house rotors on their underside. During forward flight, doors on the booms enclose the rotors, while for VTOL operations, the doors retract to expose the rotors for lift and propulsion. The design enables efficient transition between vertical and horizontal flight modes, while minimizing drag and download forces.
46. Adaptive Ducted Fan Propulsion System with Integrated Cinematic Deployment Mechanism and Automated Structural Elements
Alexandru Balan, 2022
An adaptive ducted fan propulsion system for aircraft, comprising an integrated cinematic deployment mechanism that optimizes the inlet nozzle to enlarge the air mass absorption capacity, thereby increasing thrust and reducing energy consumption while maintaining a standard ducted fan diameter and mass. The system features automated structural elements that can be actuated to adapt to variable atmospheric conditions, enabling improved performance in low-pressure environments and during takeoff and ascent phases.
47. Propulsor Management System with Automatic Stowing Mechanism for eVTOL Aircraft Transition
BETA AIR LLC, 2022
A system and method for propulsor management in electric aircraft, particularly vertical takeoff and landing (eVTOL) aircraft, that enables efficient transition between hover and fixed-wing flight states by automatically stowing propulsors during edgewise flight to reduce drag. The system includes a flight controller that detects state transitions and sends parking commands to the propulsors, which are then moved into a stowed position using inverters.
48. Propeller with Loop-Structured Blades for Non-Axial Lift and Thrust Redirection
SHARROW ENGINEERING LLC, 2022
A propeller with non-axial lift generation and axial thrust redirection, comprising a hub or rim with a plurality of blades extending outward or inward. Each blade forms a loop structure with an intake, exhaust, and tip portion, and has a leading edge distance greater than the trailing edge distance in at least part of the tip portion. The propeller creates a mixture of free stream and jet stream fluid flow aft of the propeller, with a mixing area greater than the propeller diameter.
49. VTOL Aircraft with Tilting Fans and Electrically Actuated Transition Mechanism
WISK AERO LLC, 2022
A vertical takeoff and landing (VTOL) aircraft with improved design efficiency, reduced cost, and safety features. The aircraft employs a plurality of tilting fans that can transition between a horizontal position for vertical lift and a vertical position for forward flight. The tilting mechanism is actuated by an electric motor or other actuator, and the flight control system controls the fan positioning based on sensor data and flight parameters. The design enables efficient vertical takeoff and landing, as well as horizontal cruise flight, while minimizing the number of components and associated weight.
50. Hybrid VTOL Propulsion System with Selectively Coupled Pivoting Rotor
ISRAEL AEROSPACE INDUSTRIES LTD, 2022
A hybrid propulsion system for VTOL air vehicles that allows efficient transition between vertical and horizontal flight using an optimized propulsion solution. The system has a pivoting rotor that can be selectively coupled to either an internal combustion engine or an electric motor. For vertical takeoff and landing, the rotor is coupled to the electric motor for high thrust with reduced noise. In horizontal flight, the rotor is decoupled from the electric motor to reduce drag. This allows the internal combustion engine to power the aircraft without losses from the electric motor. The pivoting rotor provides redundancy and improved efficiency compared to conventional hybrid systems.
Get Full Report
Access our comprehensive collection of 88 documents related to this technology
