Low Noise Propeller for UAV
UAV propellers generate sound through complex aerodynamic mechanisms, with tip vortices producing broadband noise exceeding 70 dB at typical operational distances. Wind tunnel measurements reveal that blade-passage frequency components dominate at 200-800 Hz, while turbulent boundary layer interactions contribute to higher-frequency acoustic signatures. These acoustic patterns vary with rotational speed, pitch angle, and inflow conditions—presenting significant challenges for noise-sensitive applications.
The fundamental engineering tradeoff lies in balancing noise reduction against aerodynamic efficiency, as design changes that minimize acoustic signatures often compromise thrust performance and power consumption.
This page brings together solutions from recent research—including monolithic bladed disk rotors with optimized hub-to-tip ratios, propellers with downward-angled swept tips to reduce vortex interactions, shrouds with integrated Helmholtz resonators, and specialized blade profiles with thick airfoils arranged at varying circumferential angles. These and other approaches provide practical pathways to quieter UAV operations while maintaining the thrust and efficiency requirements critical for mission performance.
1. Monolithic Bladed Disk Rotors with Specific Design Parameters for Noise Reduction
WHISPER AERO INC, 2025
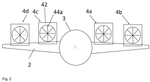
Aerodynamic rotors for air-moving devices with reduced noise levels, comprising a single-part bladed disk with a homogenous, monolithic construction. The rotors achieve low acoustic power as a fraction of input power, enabling quiet operation while maintaining airflow and thrust performance. Design parameters include specific ranges for blade quantity, tip chord, hub-to-tip ratio, and blade incidence angle.
2. Aviation Propeller with Thick Airfoil Blades at Constant Pitch and Varying Circumferential Angles
PURVIS JAMES W, 2025
A novel aviation propeller with thick airfoil blades at constant pitch angles arranged at varying circumferential angles, providing high thrust and reduced acoustic signatures comparable to toroidal propellers, and scalable from small drones to large hovercraft.
3. Multi-Stage Fan System with Rotor Position Adjustment for Noise Cancellation in Aircraft Propulsion Units
RTX CORP, 2024
Reducing the noise generated by a propulsion unit of an aircraft like a hybrid or electric aircraft. The propulsion unit has a multi-stage fan with two rotors driven by a motor. The position of the rotors is determined based on the motor signature. The rotor positions are then adjusted to actively cancel the noise produced by the rotors. This is done by changing parameters like phase and speed to mitigate the combined noise from both rotors.
4. Ducted Fan Assembly with Peripheral Smaller Ducts for VTOL Aircraft
MITSUBISHI HEAVY INDUSTRIES LTD, 2024
Ducted fan device for VTOL aircraft with improved thrust and noise reduction. The device features a cylindrical larger duct and multiple smaller ducts surrounding fans, with the smaller ducts positioned outside the larger duct on the upstream side. The smaller ducts are arranged at equal angular intervals and have a specific length-to-diameter ratio to optimize airflow and prevent Coanda effect interference. This configuration controls air separation at the larger duct's lip portion, enhancing thrust and quietness during transition modes and crosswind conditions.
5. Propeller Blade with Downward-Angled Swept Tip and Gradually Decreasing Chord Length and Installation Angle
SHENZHEN HOBBYWING TECH CO LTD, 2024
A propeller blade for an unmanned aerial vehicle (UAV) that reduces tip vortex disturbance between adjacent blades. The blade features a downward-angled tip with a swept angle, where the chord length and installation angle decrease gradually from the blade body to the tip. This design enables the blade tip to deflect high-pressure airflow away from the adjacent blade, minimizing vortex interaction and improving propeller efficiency.
6. Propeller Blade Tip Noise Reduction System with Novel Shroud Design
GREENJETS LTD, 2024
Aircraft and drone noise reduction system that targets the open tips of propeller blades, a previously underaddressed source of acoustic noise. The system employs a novel shroud design that significantly reduces vortex noise, rotational noise due to thickness, and thrust noise, providing a comprehensive solution to propeller noise reduction.
7. Fan with Bristle-Based Damping Elements on Propeller Edges for Noise Reduction
METALMARK INNOVATIONS PBC, 2024
A fan with noise reduction features that maintains airflow while minimizing noise. The fan includes a body section with a casing and propellers, and at least one damping element with bristles that can be serrations or velvet-like structures. The bristles can be attached to the propeller edges or surfaces, and can be made of flexible materials like silicone. The damping element can be integral to the body section or attached as a separate component.
8. Thrust Generating Device with Chevron Nozzle and Air Duct for Noise Reduction in UAVs
KOREA ADVANCED INSTITUTE OF SCIENCE AND TECHNOLOGY, 2024
A low-noise thrust generating device for unmanned aerial vehicles (UAVs) that achieves comparable thrust to conventional propeller-driven UAVs while significantly reducing noise levels. The device employs an air duct with a narrow injection port and a chevron-shaped nozzle to generate thrust through a combination of reaction force and static pressure difference. The air duct is designed with a unique shape and internal geometry that enhances thrust performance and reduces noise generation. The device is integrated into a UAV body and can be arranged in multiple radial directions to provide stable and efficient flight.
9. Aircraft Propeller with Tip-Optimized Blade Chord and High Camber Profile
SKYDIO INC, 2024
A propeller for aircraft with a unique blade design that maximizes thrust and efficiency while minimizing noise. The blade features a maximum chord length at the tip, a thin profile, and a high cambered surface. The pitch-to-diameter ratio is approximately 1:1, allowing for smooth transition of blade tip vortices into the axial direction. This design enables increased thrust, improved efficiency, and reduced noise compared to conventional propellers.
10. Shroud with Integrated Helmholtz Resonators for Noise Reduction in Air Moving Devices
TOYOTA MOTOR ENGINEERING & MANUFACTURING NORTH AMERICA INC, TOYOTA JIDOSHA KABUSHIKI KAISHA, 2024
Shroud design for air moving devices like fans and drones that reduces noise by using Helmholtz resonators. The shroud surrounds the blades and has an annular cavity and opening facing the blades. A Helmholtz resonator is defined by this cavity and opening. As the blades rotate, the resonator reflects and cancels out some of the generated noise, reducing overall noise emission from the air moving device.
11. Personal Aircraft with Fixed Non-Planar Rotor Configuration for Independent Lift and Control
WISK AERO LLC, 2024
A personal aircraft with vertical takeoff and landing capability, featuring multiple independently controlled rotors for redundant lift and control. The rotors are oriented in fixed, non-planar positions to provide lateral and longitudinal control without attitude changes, and are optimized for low-speed and high-speed flight conditions. The aircraft design enables safe, quiet, and efficient operation, with features such as low-tip-speed rotors, ducted rotors, and foldable wings.
12. Propeller Blade with Angled Surface and Edge Serrations
UNIV CALIFORNIA, 2024
A noise-reducing and efficiency increasing propeller blade design for drones and other applications. The blade has a pattern of serrations covering the entire surface, as well as serrations on the leading and trailing edges. The serrations on the surface are angled relative to the blade axis when viewed from the side. The serration pattern reduces noise by keeping the flow attached and preventing separation. The angled surface serrations also improve efficiency. The edge serrations further reduce noise by reducing flow separation. The combined serration pattern provides both noise reduction and efficiency improvement compared to plain blades.
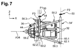
13. Rotor Blade Attachment System with Tool-Free Bayonet-Style Locking Mechanism for Autonomous Aerial Vehicles
SKYDIO INC, 2024
Autonomous aerial vehicle technology featuring a rotor blade attachment system that enables secure, tool-free, and vibration-resistant mounting of propellers to a motor shaft. The system employs a bayonet-style locking mechanism that maintains blade position under various flight conditions, including pusher configurations and three-dimensional flight. The design eliminates the need for separate propeller nuts and addresses issues with nut loosening and loss.
14. Airfoil Profile with Chordwise Pressure Center Alignment and Pitch-Down Momentum Configuration
AIRBUS OPERATIONS GMBH, 2024
An airfoil profile for reducing noise in aircraft, comprising a leading edge portion and a trailing edge portion spaced apart along a chordwise direction, an airfoil centroid, and upper and lower airfoil surfaces shaped such that the pressure center of the lifting force is positioned at or behind the airfoil centroid along the chordwise direction. The airfoil surfaces are configured to generate a pitch-down momentum that urges the leading edge portion towards a lower angle of attack, thereby reducing noise generation through vortex shedding and separation.
15. Ducted Propeller System with Rearward Hub and Stators for VTOL Aircraft
HONDA MOTOR CO LTD, 2024
VTOL aircraft thrust generation system with improved efficiency and reduced noise compared to conventional propeller systems. The system uses a ducted propeller design with a cylinder, hub, and stators around the propeller blades. This duct covers the propeller periphery. The hub and stators are positioned rearward of the propeller. The duct reduces airflow turbulence and noise compared to an exposed propeller. It also improves thrust efficiency by capturing more airflow and reducing losses. The duct can be attached to the rear wing or center of the aircraft. Multiple ducted propeller units can be lined up for thrust vectoring.
16. Air Mobility Device with Rotatable Wings and Distributed Propulsion Utilizing Coandă Effect Enhancement
HYUNDAI MOTOR CO, KIA CORP, 2024
An air mobility device that increases flying range through Coandă effect enhancement and reduces noise through distributed propulsion. The device features a main body with compression motors, rotatable wings with open spaces, and blowers that utilize compressed air to generate additional propulsion. The wing design incorporates asymmetric streamlined shapes to optimize airflow and enhance the Coandă effect, while the distributed propulsion system minimizes noise generation.
17. Ducted Fan Engine with Downstream Guide Vanes Incorporating Helmholtz-Type Acoustic Liners
LILIUM EAIRCRAFT GMBH, 2024
Electrically driven ducted fan engine for aircraft that reduces noise without adding significant weight or aerodynamic drag compared to using acoustic liners on the entire engine housing. The engine has a rotor inside a duct with fixed guide vanes downstream. The guide vanes have acoustic liners to reduce noise. This focuses noise reduction efforts where it matters most, avoiding the issues of using liners on the whole housing. The liners can be Helmholtz-type with cavities covered by perforated plates to absorb sound energy.
18. Rotating Disk Assembly with Centrifugal Air Expulsion and Directional Airflow Control
PJ CO LTD, 2023
A noiseless flight propellant system that eliminates propeller noise through a novel air-blowing mechanism. The system comprises a rotating disk assembly with open-air core disks that draw in air and expel it in a centrifugal flow pattern, and a hemispherical air collector that channels the expelled air in a predetermined direction. The system also includes an inverted cone-shaped air converger and a steering wing for flight control.
19. Aerospace Engine with Spiral Shaft and Integrated Noise Reduction Assembly
BINHAI INDUSTRIAL RESEARCH INSTITUTE OF TIANJIN UNIVERSITY CO LTD, 2023
A low-noise engine for aerospace vehicles that reduces vibration and noise during high-speed operation. The engine features a spiral shaft with a noise reduction device comprising a rotating rod, low-pressure gas machine, heat sink, and shock-absorbing elements. The device is designed to mitigate vibrations and noise through a combination of mechanical and elastic structures, including springs, damping rods, and shock-absorbing plates.
20. Unmanned Aerial Vehicle with Integrated Ion Thruster and Thrust Vectoring System for Vertical and Directional Control
UNDEFINED TECH CORP, 2023
An unmanned aerial vehicle (UAV) with vertical takeoff and landing (VTOL) capability that generates low noise levels. The UAV uses an ion thruster with asymmetrical electrodes subjected to a potential differential to produce vertical thrust, and a vector thrusting device to control roll, pitch, and yaw. The ion thruster electrodes are integrated into the primary structure of the craft, eliminating the need for separate engines or wings. A thrust vectoring system with pivoting fans enables controlled flight in any direction while maintaining low noise levels.
21. Turbomachine Module with Variable Pitch Stator Vanes on Monobloc Inter-Compressor Casing
SAFRAN AIRCRAFT ENGINES, 2023
Turbomachine module with reduced noise comprising an un-ducted propeller and a stator vane with variable pitch, where the stator vanes are mounted on an inter-compressor casing downstream of the low-pressure compressor, and the casing is a monobloc structure with an annulus and sleeves to carry the vanes.
22. Dual-Rotor Yaw Control System with Ducted Counter-Rotating Fixed Pitch Blades and Integrated Vertical Control Surface
TEXTRON INNOVATIONS INC, 2023
A yaw control system for rotorcraft that addresses blade stall and noise issues in traditional tail rotors. The system features a dual-rotor configuration with a clockwise and counterclockwise tail rotor, each with fixed pitch blades, to provide balanced anti-torque thrust. The rotors are housed in ducts and can operate at reduced speeds in forward flight, minimizing noise and power consumption. The system also includes a rotatable vertical control surface, such as a rudder, to manage yaw control during forward flight.
23. Aerial Vehicle Propulsion System with Variable Speed Rotor Operation for Noise Frequency Scattering
LILIUM EAIRCRAFT GMBH, 2023
Reducing noise pollution from aerial vehicles like drones by optimizing propulsion unit designs and operating strategies. The aerial vehicle has multiple propulsion units, each with a rotor with integral components like blades. By operating the propulsion units at different speeds during flight, it scatters the tonal noise frequencies from the rotors due to different aerodynamic interactions. This reduces overall noise compared to having all propulsion units spinning at the same speed. The controller can manage the propulsion unit speeds.
24. Ducted Fan Assembly with Pretensioned Spoke Mounting and Integrated Vibration Damping
UNIVERSITY OF KANSAS, 2023
A ducted fan assembly with a novel mounting technique that utilizes a plurality of slender spokes to physically restrain a central propulsor, preswirl the flow, and provide high levels of dimensional stability to the duct while damping out sounds and vibrations. The spokes are pretensioned and have a head or grapple mechanism that allows one end to be attached to a shaft, bearing assembly, and/or powerplant within the duct, while the other end contains an adjustment mechanism to precisely trim and center the shaft. The spokes can be treated with constrained layer damping or active materials to further reduce vibrations. The assembly can be configured with multiple spokes and cross-members to enhance safety, stability, and vibration reduction.
25. Tilt Rotor Aircraft Control System with Dual-Swashplate for Blade Flapping Adjustment
TEXTRON INNOVATIONS INC, 2023
Control system for tilt rotor aircraft that reduces noise by allowing blades to flap during flight, achieved through a dual-swashplate design where a stationary swashplate adjusts out-of-plane angle and a rotational swashplate adjusts pitch, with a computing device controlling both to enable flapping motion.
26. Centrifugal Fan with Volute Tongue and Air Outlet for Vortex Suppression
MIDEA GROUP CO LTD, 2023
A centrifugal fan with reduced noise generation, comprising a volute case, a volute tongue, and a wind wheel. The volute tongue prevents backflow of airflow generated by the wind wheel into the volute, guiding it to the air outlet cavity. The air outlet design prevents vortex formation and subsequent oscillation against the volute wall, thereby reducing noise generation.
27. Rotor Control Method with Shroud-Integrated Acoustic Feedback for Tonal Noise Reduction
KOPTER GERMANY GMBH, 2023
Method for controlling a rotor of an aircraft with a shroud, comprising adjusting the rotational speed and angle of attack of the rotor blades to reduce tonal noise emissions. The control data supply unit for the aircraft provides the necessary control data for the rotor adjustments, taking into account the acoustic characteristics of the shrouded rotor. The aircraft itself includes a control unit that implements the rotor control method during operation.
28. Axial Fan Impeller with Dual Area Blade Design and Non-Uniform Adjacent Blades
AMOTECH CO LTD, 2023
A noise-reducing axial fan impeller that minimizes noise generated by air flow resistance in high-power or specific flow rate conditions. The impeller features a unique blade design with a first area unit that generates blowing power and a second area unit that reduces flow resistance to minimize noise while maintaining blowing performance. The second area unit is formed on the outer surface of the blade and has a larger gap between the blade and the fan housing compared to the first area unit. The impeller also features a non-uniform shape of adjacent blades to further reduce noise in specific flow rate conditions.
29. Lifting Fan for Hovercraft with Inclined Passage and Cone-Shaped Shrouds
K MARINE CO LTD, 2023
A lifting fan for hovercraft that improves airflow efficiency and reduces noise and vibration by introducing air at an angle through an inclined passage formed between an upper shroud and a lower shroud, with the upper shroud higher in the center and lower on the outer side, and the lower shroud having a cone-shaped structure with a higher center and a lower outer side. The fan features a rotating shaft coupled to the center of the lower shroud, a plurality of blowing blades between the upper and lower shrouds, and an air outlet part on the outer side of the upper and lower shrouds and the distal ends of the blowing blades.
30. Rotor Alignment System with Magnetic Halting for Drag-Optimized Positioning in Electric Aircraft
BETA AIR LLC, 2023
System and method for rotor management in electric aircraft to reduce drag. The system determines a drag minimization axis of a rotor and sends a halting command to magnetic elements to position the rotor in a stable, drag-optimized configuration. The halting point is determined based on the rotor's geometry and aerodynamics, and the system continuously monitors and updates the rotor's position to maintain optimal drag reduction during flight.
31. VTOL Aircraft Propulsion System with Dual Engine-Driven Rotor Groups and Rotational Hinge
YUAN DEFANG, 2023
A redundant propulsion system for small VTOL aircraft that increases reliability and reduces noise. The system features two groups of rotors with fixed pitch, each driven by a separate engine, connected by a rotational hinge. The rotors operate at higher RPM and smaller diameters to minimize noise. In the event of engine failure, the second group of rotors can provide emergency landing propulsion.
32. Propeller Blade Design Method with Iterative Multidisciplinary Geometry Adjustment for Balanced Performance Metrics
MASSACHUSETTS INSTITUTE OF TECHNOLOGY, 2023
Multidisciplinary optimization of propeller blade design to balance performance metrics like noise, thrust, and power. The optimization involves iteratively adjusting blade geometry based on aerodynamic, structural, aeroacoustic, and electrical analyses until a minimum of weighted design parameters is found. The method allows finding blade shapes that optimize multiple criteria simultaneously, rather than optimizing each discipline sequentially.
33. Micro-Air Vehicle with Cycloidal Rotors and Pivoting Carbon Fiber Blades
THE TEXAS A&M UNIVERSITY SYSTEM, 2023
Micro-air vehicle (MAV) design with high maneuverability, confined space capability, and gust tolerance for applications like indoor search and rescue, surveillance, and traffic monitoring. The MAV has cycloidal rotors instead of fixed wings or conventional rotors. The cycloidal rotor blades pivot to adjust pitch. This allows hovering, low-speed flight, and tight turns. The blades are made of carbon fiber for light weight. The cycloidal rotor configuration provides higher thrust and efficiency compared to fixed-wing or conventional rotors at low Reynolds numbers. The MAV has two coaxial cycloidal rotors counterbalanced by a tail rotor.
34. Propeller System with Phase-Offset Blade Synchronization for Noise Reduction
UNITED STATES OF AMERICA AS REPRESENTED BY THE ADMINISTRATOR OF NASA, 2023
Reducing the noise generated by multiple propellers on aerial vehicles like drones by phasing their blade movements. The propellers have the same number of blades, rotate at the same speed, and are offset by a phase angle determined by the blade count. This reduces the radiated sound power at the blade passing frequency. The phase locking can be achieved mechanically or electronically. The propeller axes can be parallel. The phase offset angle is around 180 degrees divided by the blade count.
35. Aircraft Propulsion Unit with Dual-Path Force Transmission Interface
AIRBUS OPERATIONS, 2023
A propulsion unit for an aircraft comprising an electric motor, a propeller, and an intermediate element that transmits forces between the motor and propeller. The unit includes a primary structure supporting the thruster assembly, with a force transmission interface connecting the intermediate element to the primary structure. The interface features a first force path for transmitting thrust forces perpendicular to the propeller axis and a second force path for transmitting forces parallel to the propeller axis.
36. Electric Aircraft Controller with Drive Motor Frequency Modulation for Rotor Blade Cleaning
DENSO CORP, 2022
Controller for electric aircraft that reduces noise during rotor blade cleaning by controlling the drive motor to operate at a frequency below the human audible range.
37. Propulsor Fan Array with Blade Tip Tensioning and Circulation Control Duct Lip Blowing
WHISPER AERO INC, 2022
An array of propulsor fans with reduced noise emission, comprising a plurality of propulsor fans that collectively generate thrust, each fan having a blade fan with a plurality of blades tensioned at their tips to maintain a consistent pitch during operation, thereby reducing noise caused by blade angle changes. The propulsor fans can be integrated into a multi-motor drive system and can incorporate circulation control duct lip blowing to enhance thrust and prevent duct lip stall.
38. Shrouded Rotor System with Perforated Inner Wall for Acoustic Attenuation in Urban Air Mobility Vehicles
ROHR INC, 2022
Acoustic system for Urban Air Mobility (UAM) vehicles comprising a shroud with a hollow chamber and perforated inner wall surrounding the rotor blades, designed to reduce noise levels through a combination of acoustic attenuation and structural support.
39. Ducted Rotor Aircraft with Internal Structural Elements for Noise Reduction and Vibrational Stability
TEXTRON INNOVATIONS INC, 2022
Structural configurations for ducted rotors of aircraft, including ducted-rotor aircraft, that reduce noise and increase vibrational stability. The configurations feature internal structural elements that support the rotor motor and aerodynamic exterior skins, optimized to minimize noise generation and enhance rotor stability.
40. Propeller Blade with Base-Mounted End Plate for Gap Sealing
HAMILTON SUNDSTRAND CORP, 2022
A propeller blade with an end plate to reduce airflow losses and improve efficiency. The end plate is positioned at the blade base and projects outwardly of the pressure or suction side surface, sealing the gap between the blade and spinner and preventing vortices that can degrade aerodynamic performance.
41. Propeller with Tapered Beta Angle for Unloaded Tip Zone
WISNIEWSKI ENTERPRISES, BAYLOR UNIVERSITY, 2022
A propeller design that achieves high efficiency and low noise by intentionally reducing lift in the tip zone. The design departs from traditional propeller design by tapering the beta angle near the tip to lower the angle of attack, resulting in a lift coefficient that approaches zero or less. This creates an unloaded tip zone that reduces the strength of the tip vortex and induced drag, leading to lower noise and higher overall efficiency.
42. Cross Flow Fan with Vane-Integrated Tongue and Jetting Portions for Fluid Loss Reduction
MITSUBISHI HEAVY IND LTD, 2022
Cross flow fan for aircraft lift generation, comprising a plurality of vanes disposed at predetermined intervals around a rotational axis, a tongue portion disposed on the outer circumference of each vane, and a jetting portion that injects fluid along the wall surface of the discharge flow path to reduce fluid loss. The fan includes a facing wall member with an upstream wall having a curvature radius matching the vane trajectory, a downstream wall with a gradually increasing curvature radius, and a diffuser wall. The jetting portion is positioned on the downstream wall to counteract increasing gap between the vane and wall surfaces.
43. Electric Distributed Propulsion System with Multi-Rotor Speed and Direction Control Logic
TEXTRON INNOVATIONS INC, 2022
An electric distributed propulsion system for aircraft that includes multiple rotors controlled by motors via rotational speed, with a logic system that manages motor speed and direction to achieve desired thrust while avoiding a specific range of motor speed conditions. The system enables precise control of anti-torque yaw authority, particularly in low-thrust regimes where traditional motor control systems can exhibit speed dead bands.
44. Active Noise Control Method for Rotorcraft Utilizing Acoustic Holography and Adaptive Sound Field Reconstruction
UNIV NANJING AERONAUTICS & ASTRONAUTICS, 2022
Global active noise control method for rotorcrafts that uses acoustic holography and sound field reconstruction to achieve adaptive and effective control of global rotor noise. The method involves measuring rotor noise, estimating optimal acoustic modal coefficients using acoustic holography, generating a secondary sound field to cancel rotor noise, and online adjusting the control signal to compensate for rotor speed fluctuations.
45. Noise Reduction System for Air Mobility with PWM-Controlled Propeller Modules and Frequency-Sensitive Noise Sensing Units
HYUNDAI MOTOR CO, KIA CORP, 2022
A noise reduction system for air mobility that efficiently reduces various types of noise generated by propeller operation. The system includes propeller modules with inverters, motors, and propellers, and a control unit that performs PWM control to reduce noise attributable to carrier frequencies and fundamental frequencies. The system also includes noise sensing units to detect noise and derive frequency wavelengths, and an object sensing unit to detect adjacent persons. The control unit filters and reduces noise based on frequency wavelengths, and specifically reduces shaft frequency noise transmitted to adjacent persons.
46. Ducted Fan Engine with Rotor-Stator Configuration for Noise Reduction
LILIUM EAIRCRAFT GMBH, 2022
A ducted fan engine for vertical takeoff and landing aircraft, comprising a shroud with a circular cross-section, a rotor with at least 19 blades, and a stator with fewer vanes. The rotor blades are designed to reduce fan tones by chopping incoming turbulence, and the stator vanes reduce downstream propagation of rotor noise. The engine can be part of an array of multiple engines, and can be pivoted for thrust vectoring. The aircraft can have multiple arrays of engines, including some in the front and rear, and can achieve low noise emissions during hovering.
47. Aerial Vehicle System with Propeller-Based Noise Cancellation and Communication Mechanisms
AMAZON TECH INC, 2022
Automated aerial vehicle (AAV) noise cancellation and communication system. The system cancels noise generated by the AAV's propellers by modulating the rotational speed of a second propeller to produce anti-noise. The system also enables visible communication by synchronizing LED illumination patterns on multiple propellers. The system further enables audible communication by modulating propeller rotational speeds to produce specific sound patterns.
48. Cycloidal Rotor with Non-Circular Blade Orbits and Selective Track Shape Engagement
OPTIVECTOR LTD, 2021
A cycloidal rotor with optimized performance and reliability, featuring blades that follow non-circular orbits without continuous actuator control. The rotor includes multiple track shapes for blade trajectory, pitch, and cross-sectional control, which can be selectively engaged based on operating conditions. The rotor also incorporates adjustable vanes for flow control and a counteracting system to mitigate centrifugal forces on the blades.
49. Rotor Assembly with Concentric Shafts and Electric Motors for Pitch Control
FLIR UNMANNED AERIAL SYSTEMS AS, 2021
A rotor assembly for generating thrust and controlling collective and/or cyclic pitch in vehicles, comprising two or more electric motors with adjustable relative rotational angles, connected to concentric rotor shafts that rotate around a common axis. The motors control the pitch of one or more rotor blades through a predefined mechanical ratio, enabling fast and precise collective and cyclic pitch control without traditional swash plates and servos.
50. Propeller with Oblique Tip Sweeping Portion and Optimized Blade Surface Orientation
SZ DJI TECHNOLOGY CO LTD, 2021
A propeller design for aircraft that balances efficiency and power consumption by employing a unique blade shape with an oblique sweeping portion at the tip, extending from the leading edge to the trailing edge. The blade's pressure and suction surfaces are oriented to optimize airflow, while the sweeping portion reduces drag and enhances thrust. The propeller is optimized for use with high-KV motors, particularly those with a KV value of 1860±60 revolutions/(minute·volt), and is suitable for multi-rotor aircraft applications.
Get Full Report
Access our comprehensive collection of 89 documents related to this technology
