Anti Icing Coatings for Aircraft Surface
This page presents innovative patents for aircraft anti-icing coatings, using:
- Superhydrophobic and Icephobic Surface Treatments – Anodized porous aluminum oxide layers with hydrophobic topcoats, sol-gel nanoporous coatings with self cleaning properties, and silicone elastomer xylene-oil formulations enabling interfacial slippage.
- Carbon-Based Nanomaterial Integration – Graphene oxide and carbon nanotube dispersion in elastomer matrices, graphene foam composites with embedded electrical contacts for Joule heating, and functionalized graphene nanoplatelets.
- Advanced Polymer and PTFE Formulations – Hyperbranched polyester acrylate with fluorine-modified components for dual-curing, nanoparticle-enhanced PTFE creating hydrophobic micro-structures, and fluorine-silicone modified acrylic resins.
- Leading Edge Specialized Coatings – Zinc-rich primer with fluorine-silicone topcoat featuring non-uniform thickness profiles, polyurethane primer with gradual thickness taper for wing components, and organosilicon-modified compositions for low surface energy.
1. Dual-Curing Anti-Icing Coating Composition with Hyperbranched Polyester Acrylate and Modified Epoxy Acrylate for Aircraft Surfaces
Guangdong Power Grid Co., Ltd., 广东电网有限责任公司韶关供电局, SHAOGUAN POWER SUPPLY BUREAU GUANGDONG POWER GRID CO LTD, 2023
Dual-curing anti-icing coating for aircraft surfaces that combines improved weather resistance with enhanced durability. The coating comprises a hyperbranched polyester acrylate, modified epoxy acrylate, fluorine-modified polyurethane acrylate, pentaerythritol tetraacrylate, and tetrahydrofurfuryl acrylate. The coating is prepared through a specific mixing ratio of these components, with optional fluorine-containing additives, and cured using a cationic sulfide initiator. The dual-curing process enables the coating to achieve superior weather resistance and durability while maintaining excellent anti-icing performance.
2. Elastomer Coatings with Dispersed Carbon-Based Nanomaterials for Icephobic Aircraft Surfaces
ZENTEK LTD, 2023
Carbon-based nanomaterial-enhanced elastomer coatings for aircraft surfaces to prevent ice formation. The coating incorporates low loadings of functionalized graphene oxide, carbon nanotubes, or graphene nanoplatelets into an elastomer matrix, enhancing both durability and icephobicity. The coating demonstrates superior ice resistance compared to traditional deicing systems, with a lower shear force required to shed ice. The nanomaterials' dispersed distribution within the elastomer matrix enables controlled icephobicity while maintaining mechanical integrity.
3. Composite Anti-Icing Coating with Nanoparticle-Enhanced PTFE Layer for Epoxy Resin Surfaces
SHANGHAI JIAO TONG UNIVERSITY, 2022
A composite aircraft anti-icing coating that addresses the issue of water adhesion and ice formation on epoxy resin surfaces. The coating combines a hydrophobic PTFE layer with nanoparticles, where the nanoparticles form a three-dimensional branched structure on the PTFE surface. This creates a hydrophobic micro-structure that significantly delays ice formation and maintains the surface's anti-icing properties even in extreme low-temperature conditions. The coating's unique structure prevents mechanical interlocking between the surface and ice, while the PTFE layer maintains its hydrophobic properties. This approach enables effective anti-icing performance on carbon fiber reinforced epoxy composite materials without compromising their structural integrity.
4. Method for Forming Superhydrophobic Surface on Metal Substrates Using Anodized Porous Aluminum Oxide Layer and Hydrophobic Coating
AIRBUS SAS, 2021
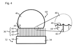
A method for creating a superhydrophobic surface on metal substrates, such as airfoil leading edges, by anodizing the metal to form a porous aluminum oxide layer, widening the nanopores, and applying a hydrophobic coating. The resulting surface exhibits enhanced water and ice repellency, enabling the prevention of ice accretion on aircraft components without the need for traditional ice protection systems.
5. Dual-Layer Coating with Thermal Insulating and Superhydrophobic Properties
RAFAEL ADVANCED DEFENSE SYSTEMS LTD, 2021
A coating that prevents ice formation on surfaces through a novel combination of thermal insulation and superhydrophobicity. The coating comprises a thermal insulating layer (e.g., foam) and a superhydrophobic surface layer (e.g., Ultra Ever Dry). When a supercooled water drop impacts the surface, the insulating layer prevents heat transfer, while the superhydrophobic surface layer prevents ice formation by minimizing contact area between the drop and surface. This dual-layer approach effectively prevents ice formation by both thermal insulation and superhydrophobicity.
6. Self-Lubricating Icephobic Coating Comprising Silicone Elastomer, Xylene, and Silicone Oil with Variable Infusion Levels and Composition Ratios
YEONG YONG HAN, 2019
A self-lubricating icephobic coating for aircraft surfaces that provides ultra-low ice adhesion and superior strength through a novel combination of hydrophobicity, low surface roughness, coating elasticity, and lubrication-enabled interfacial slippage. The coating is formed by mixing a silicone elastomer with xylene and a silicone oil, with optimal infusion levels and composition ratios. This material exhibits exceptional performance in harsh icing environments, including cryogenic temperatures, by maintaining a liquid layer on the interface with accreted ice, while maintaining mechanical stability. The coating can be applied to aircraft surfaces, including leading edges of wings, propellers, and engine components, through various coating methods, including drop casting, flow coating, spin coating, dip coating, and spraying.
7. Graphene Foam Composite Coating with Integrated Electrical Contacts for Aircraft Surface Deicing
THE FLORIDA INTERNATIONAL UNIVERSITY BOARD OF TRUSTEES, 2019
A graphene-based deicing system for aircraft surfaces that combines electrical heating with a continuous graphene foam matrix. The system comprises a silicone-graphene foam composite infused with electrical contacts, which is cured to form a composite coating. The composite is applied to a metal substrate and connected to a power source. When exposed to electrical current, the composite deices surfaces by promoting uniform heat dissipation through phonon transport. The graphene foam matrix provides exceptional thermal conductivity while the silicone matrix facilitates water removal through hydrophobic properties. The composite can be applied as a coating over metal surfaces, enabling rapid ice removal at temperatures as low as -14°C.
8. Leading Edge Fairing Assembly with Silicone-Modified Acrylic Resin Coating and Organosilicon Monomer Composition
溧阳市哈大成果转化中心有限公司, LIYANG HADA ACHIEVEMENTS TRANSFORMATION CENTER CO., LTD., 2016
A leading edge fairing assembly for aircraft that enhances ice protection through a novel anti-icing coating. The assembly features a silicone-modified acrylic resin coating applied to the leading edge fairing surface, which provides superior ice control properties compared to conventional anti-icing systems. The coating is formulated with a specific organosilicon monomer composition and is applied through a controlled spraying process. This coating system enables effective ice prevention on the leading edge fairing, particularly in icing conditions, while maintaining low surface energy and energy consumption.
9. Vertical Fin Leading Edge Coating with Polyurethane Primer and Fluorine-Silicone-Modified Acrylic Topcoat Featuring Gradual Thickness Taper
Liyang Ha Da Achievement Transformation Center Co., Ltd., LIYANG HADA ACHIEVEMENTS TRANSFORMATION CENTER CO., LTD., 2016
Anti-icing coating for vertical fin leading edges of aircraft wings that effectively prevents ice formation while maintaining aerodynamic performance. The coating comprises a primer and topcoat comprising a polyurethane primer and an organic fluorine and silicone-modified acrylic paint, with a specific thickness profile that enhances ice nucleation suppression while maintaining structural integrity. The coating's unique thickness profile, with gradual taper from front to rear, optimizes ice formation suppression at the leading edge while minimizing aerodynamic impact.
10. Aircraft Horizontal Stabilizer Coating with Silicone-Modified Acrylic Resin and Nano-Silica for Ice Nucleation Suppression
LIYANG HADA ACHIEVEMENTS TRANSFORMATION CENTER CO LTD, 溧阳市哈大成果转化中心有限公司, 2015
A leading edge coating for aircraft horizontal stabilizers that prevents ice formation through a novel combination of hydrophobic surface treatment and controlled ice nucleation inhibition. The coating, comprising a primer and topcoat, employs a silicone-modified acrylic resin with nano-silica and calcium carbonate to enhance ice nucleation suppression while maintaining aerodynamic performance. The coating's thickness profile, with gradual tapering from front to rear, optimizes ice prevention at the leading edge while minimizing performance degradation.
11. Aircraft Stabilizer Leading Edge Coating with Hydrophobic and Thermal Management Properties Featuring Zinc-Rich Primer and Fluorine-Silicone Modified Acrylic Topcoat
LIYANG HADA ACHIEVEMENTS TRANSFORMATION CENTER CO LTD, Liyang Ha Da Achievement Transformation Center Co., Ltd., 2015
A leading edge coating for aircraft stabilizer surfaces that prevents ice formation through a novel combination of hydrophobic surface modification and controlled thermal management. The coating comprises a primer and topcoat, with the primer featuring an inorganic-rich zinc layer and the topcoat comprising an organic fluorine and silicone-modified acrylic paint. The coating's unique thickness profile, with gradual tapering from front to rear, enhances its effectiveness in preventing ice formation while maintaining aerodynamic performance.
12. Leading Edge Assembly Head with Fluorine-Silicone Modified Acrylic Anti-Icing Coating
LIYANG HADA ACHIEVEMENTS TRANSFORMATION CENTER CO LTD, Liyang Ha Da Achievement Transformation Center Co., Ltd., 2015
A leading edge assembly head for aircraft that incorporates a specialized anti-icing coating to prevent ice formation on critical surfaces. The coating, comprising an organic fluorine and silicone-modified acrylic resin, provides enhanced ice protection through its unique hydrophobic properties. This coating is applied to the leading edge of the head assembly, where ice formation is most critical, and is designed to prevent ice nucleation and promote ice melting. The coating's performance is demonstrated through its ability to maintain ice-free surfaces even in subsonic flight conditions, where conventional anti-icing systems may fail.
13. Method for Forming Nanoporous Anodized Layer with Sol-Gel Coating on Metallic Substrate
EADS DEUTSCHLAND GMBH, 2015
A method for producing a superhydrophobic coating with self-cleaning properties on a metallic substrate, comprising anodizing the substrate in an electrolyte solution containing ammonium sulphate and ammonium fluoride to form a nanoporous layer, and then applying a sol-gel coating to the nanoporous layer. The resulting coated substrate exhibits high resistance to icing, contamination, and erosion, and can be used in aircraft to prevent ice formation and surface contamination.
14. Winglet Leading Edge Assembly with Integrated Fluorine-Silicone Modified Acrylic Resin Coating
LIYANG HADA ACHIEVEMENTS TRANSFORMATION CENTER CO LTD, Liyang Ha-Da Achievement Transformation Center Co., Ltd., 2015
Anti-icing winglet leading edge assembly with enhanced ice control through a novel surface treatment. The assembly features an integrated anti-icing coating comprising an organic fluorine and silicone-modified acrylic resin. This coating provides superior ice protection at the winglet leading edge by forming a hydrophobic layer that prevents supercooled water droplets from forming on the surface. The coating is applied through a spray process, enabling efficient coverage of the critical leading edge area.
15. Wing Leading Edge Component with Anti-Icing Coating System Featuring Non-Uniform Thickness and Silicone-Modified Acrylic Topcoat
LIYANG HADA ACHIEVEMENTS TRANSFORMATION CENTER CO LTD, Liyang Ha Da Achievement Transformation Center Co., Ltd., 2015
A wing leading edge component for aircraft that enhances ice protection through advanced anti-icing technologies. The component features a specially developed anti-icing coating system comprising a primer and topcoat, where the primer is a zinc yellow acrylic polyurethane primer and the topcoat is a silicone-modified acrylic paint. The coating system provides enhanced ice prevention capabilities through its unique surface characteristics, particularly on the wing leading edge where aerodynamic performance is critical. The coating system's non-uniform thickness profile, with gradual variations across the leading edge, optimizes ice prevention while minimizing aerodynamic performance degradation.
16. Coating System with Organic Silicon Modified Acrylic Resin for Aircraft Wing Leading Edges
LIYANG HADA ACHIEVEMENTS TRANSFORMATION CENTER CO LTD, 溧阳市哈大成果转化中心有限公司, 2015
A coating system for preventing ice formation on aircraft wing leading edges, particularly on the horizontal empennage front edge. The coating comprises an organic silicon modified acrylic resin that forms a protective ice coating layer on the wing surface. The resin is applied in a specific thickness pattern to achieve optimal anti-icing performance while maintaining aerodynamic efficiency. This coating system provides enhanced protection against ice formation at the critical leading edge of aircraft wings, particularly in subsonic flight conditions, while maintaining the wing's aerodynamic performance.
17. Method for Applying Polyurethane-Based Film with Silicone-Modified Acrylic Polyol and Silicone Fluid
PPG IND OHIO INC, 2015
A method for mitigating ice buildup on aircraft parts and other substrates, comprising applying a curable film-forming composition that reduces ice adhesion. The composition comprises a polyurethane matrix with a silicone-modified acrylic polyol resin and a specific type of silicone fluid, which improves compatibility and enhances hydrophobic properties. The coating is applied to the substrate surface, providing a durable and effective ice-release coating that meets aircraft coatings material specifications.
18. Aircraft Wing Leading Edge Coating System with Silicon-Modified Acrylic Ester and Epoxy Primer Layers
LIYANG HADA ACHIEVEMENTS TRANSFORMATION CENTER CO LTD, Liyang Ha Da Achievement Transformation Center Co., Ltd., 2015
A coating system for aircraft wing leading edges that prevents ice formation through a modified acrylic resin coating. The coating comprises a base layer of epoxy primer, followed by a silicon-modified acrylic ester coating. The silicon-modified coating is applied to the leading edge of the wing, specifically at the 1/5 chord point, and maintains uniform thickness throughout the wing surface. This design enables effective ice prevention while maintaining aerodynamic performance and structural integrity. The coating system is particularly effective in subsonic flight conditions where icing can significantly impact aircraft performance.
19. Vertical Tail Wing Front Edge Assembly with Integrated Fluorine-Silicon Modified Acrylic Resin Coating
LIYANG HADA ACHIEVEMENTS TRANSFORMATION CENTER CO LTD, Liyang HaDa Achievement Transformation Center Co., Ltd., 2015
A vertical tail wing front edge assembly for aircraft that prevents ice formation on the leading edge through a novel coating system. The assembly comprises a vertical tail wing front edge shell with an integrated ice coating layer that utilizes a specially formulated acrylic resin modified with fluorine and silicon. This coating system provides enhanced ice protection while maintaining aerodynamic performance characteristics, particularly beneficial for aircraft operating in subsonic flight conditions where icing can compromise lift and stability.
20. Vertical Tail Wing Front Edge Assembly with Modified Acrylic Resin Anti-Icing Coating
LIYANG HADA ACHIEVEMENTS TRANSFORMATION CENTER CO LTD, 溧阳市哈大成果转化中心有限公司, 2015
A vertical tail wing front edge assembly for aircraft that incorporates an anti-icing coating system. The assembly features a vertical tail wing front edge with a specially designed coating layer that prevents ice formation on the leading edge. The coating is achieved through a proprietary process that modifies the acrylic resin used in the coating process, creating a uniform thickness profile across the leading edge. This coating layer is applied to the vertical tail wing front edge using a specialized spray process, ensuring uniform coverage and optimal performance characteristics.
21. Application of Zinc-Huang Acrylic Polyurethane and Fluorine Silicon-Modified Acrylic Ester Coating on Aircraft Wing Leading Edge
LIYANG HADA ACHIEVEMENTS TRANSFORMATION CENTER CO LTD, Liyang Ha-Da Achievement Transformation Center Co., Ltd., 2015
A method for protecting aircraft wing surfaces from icing by applying a specialized coating to the front edge of the wing. The coating, comprising a base of zinc-huang acrylic polyurethane and an organic fluorine silicon-modified acrylic ester, is applied to the front edge of the wing using a spray coating process. The coating enhances anti-icing properties while maintaining aerodynamic performance, particularly critical for aircraft operating at subsonic speeds. The coating is specifically designed to prevent ice accumulation and maintain structural integrity at the wing's leading edge, where icing can cause significant aerodynamic losses.
22. Aircraft Wing Tip Coating System with Fluorine Silicon Modified Acrylic Resin and Specialized Spray Application
LIYANG HADA ACHIEVEMENTS TRANSFORMATION CENTER CO LTD, Liyang Ha-Da Achievement Transformation Center Co., Ltd., 2015
A coating system for aircraft wing tips that prevents ice formation on the leading edge through a specialized application process. The coating comprises an organic fluorine silicon modified acrylic resin with a modified surface finish. The resin coating is applied to the wing tip surface using a specialized spray process, where the surface finish is optimized to create a uniform, even ice coating. This process ensures optimal ice formation characteristics while maintaining aerodynamic performance. The coating system provides enhanced ice protection and aerodynamic benefits at low Mach numbers, particularly relevant for aircraft operating in subsonic flight regimes.
23. Polymer Matrix Coating with Dispersed Second Particles and Hydrophobic Stabilizing Third Particles for Ice Nucleation Control
BOEING CO, 2015
Coatings for aircraft surfaces that delay ice formation through a novel approach to ice nucleation control. The coatings contain a matrix of polymer and second particles, with the second particles having a composition different from the third particles. The second particles are dispersed throughout the polymer matrix, with the third particles stabilizing their dispersion and exhibiting hydrophobic properties. This composition enables the second particles to effectively prevent ice nucleation while maintaining the polymer matrix structure. The coatings achieve superior ice delay compared to conventional methods, particularly at high altitudes where ice formation can significantly impact aircraft performance.
24. Turbojet Engine Nacelle Air-Inlet Lip Assembly with Ice-Repellent Coating and Integrated Piezoelectric Actuators
AIRCELLE SA, 2011
A turbojet engine nacelle air-inlet lip assembly with an ice-repellent coating that prevents ice formation or improves ice shedding, eliminating the need for hot air bleed systems or electrical heating elements. The coating, which can be incorporated into a matrix or combined with piezoelectric actuators, reduces the energy required to break up ice layers, allowing wind forces to remove ice from the lip assembly.
25. Multilayer Composite Polymer Coatings with Signal-Activated Removable Outer Layer and Deactivatable Adhesives
WALLACH MORTON L, 2010
Multilayer composite polymer coatings for aircraft deicing and submarine periscope defouling, where the outer layer can be selectively removed by applying a signal, such as electrical, pressure, or heat, to release the top layer. The coatings employ removable adhesives that can be deactivated by chlorinated hydrocarbons, allowing controlled layer removal. The system enables deicing and defouling without the need for continuous power or fluid application, reducing maintenance and improving performance.
26. Aerospace Vehicle Leading Edge Structures with Integrated Nickel-Impregnated Icephobic Coatings
GEN ELECTRIC, 2009
Aerospace vehicle leading edge structures that enhance ice shedding characteristics through advanced coatings. The structures feature a flowpath surface with integrated nickel-impregnated coatings that protect against ice accumulation and shedding. The coatings, specifically applied to the leading edge surfaces, provide superior icephobic properties compared to conventional coatings, enabling reliable protection against ice formation and ingestion during flight operations.
27. Aircraft Deicer with Moisture-Resistant Coating on Passage-Defining Surfaces
GOODRICH CO B F, 2003
Aircraft deicer with moisture-resistant coating on passage-defining surfaces to prevent water absorption through fabric plies, enhancing adhesive bond strength and deicer lifespan. The coating prevents moisture ingress during operation, particularly at warmer temperatures, where conventional adhesives may be compromised.
28. Zinc Oxide/Acetic Acid Coating with Superhydrophobic and Thermal Management Properties for Aircraft Wings
NANJING UNIVERSITY OF AERONAUTICS AND ASTRONAUTICS, 2025
A zinc oxide/acetic acid super hydrophobic coating for aircraft wings that enhances ice removal through a novel combination of thermal management and surface modification. The coating, comprising zinc oxide and acetic acid, forms a durable, water-repellent layer on the wing surface that prevents ice formation while maintaining aerodynamic performance. The coating's unique properties enable efficient ice removal during flight conditions, while its thermal management system ensures consistent temperature distribution across the wing surface.
29. Fluorine-Containing Polyphosphazene Visible Light Curing Coating with Nanosheet Morphology
SHANGHAI JIAO TONG UNIVERSITY, Shanghai Jiao Tong University, 2023
A fluorine-containing polyphosphazene visible light curing aircraft anti-icing coating that enables efficient and environmentally friendly flight safety through controlled supercooling and ice detachment. The coating utilizes a fluorine-containing polyphosphazene with nanosheet morphology as a functional auxiliary agent, enabling the formation of a hydrophobic surface that prevents supercooled water droplet accumulation and promotes ice detachment. The coating is prepared through blending of the fluorine-containing polyphosphazene with oligomers, reactive diluents, and visible light initiators, and is cured using visible light. This innovative approach addresses the limitations of conventional anti-icing coatings by providing a controlled, supercooling-resistant surface that prevents ice formation while maintaining aerodynamic performance.
30. Polyurethane-Based Coating with Stress-Localized Phases for Ice-Shedding
ELEMENTAL COATINGS LLC, 2022
Polyurethane-based, stress-localized ice-shedding coatings that achieve low ice adhesion while maintaining durability under extreme environmental conditions. The coatings consist of a high-shear modulus polyurethane matrix phase, a low-shear modulus Phase II-A phase comprising thermoplastic elastomer, wax, and high-oleic oil, and a low-shear modulus Phase II-B phase comprising silicone elastomer and silicone oil. The Phase II-A and Phase II-B phases are uniformly distributed within the high-shear modulus matrix phase, creating a stress-localized surface that initially detaches ice from the material before propagating. The coatings exhibit exceptional durability under rain erosion conditions with wind speeds exceeding 172 meters per second.
31. Amphiphilic Copolymer-Based Icephobic Coating with Self-Lubricating Quasi-Liquid Layer
MASSACHUSETTS INSTITUTE OF TECHNOLOGY, 2021
A scalable, self-lubricating icephobic coating that achieves low ice adhesion through a novel amphiphilic copolymer-based approach. The coating comprises a polymer matrix and an amphiphilic copolymer, where the copolymer incorporates water-soluble PEG molecules that form a quasi-liquid layer at the ice-substrate interface. This self-lubricating layer prevents ice nucleation and growth, while the polymer matrix provides mechanical robustness. The coating can be applied to various surfaces, including aircraft, ships, wind turbines, and solar panels, through spin coating or other methods, and exhibits superior ice adhesion performance compared to conventional deicing systems.
32. Coatings with Low Interfacial Toughness for Passive Ice Detachment
THE REGENTS OF THE UNIVERSITY OF MICHIGAN, 2021
Anti-icing coatings exhibiting low interfacial toughness with ice, enabling efficient ice removal from large surfaces without high force requirements. The coatings achieve this through a novel interfacial property - low interfacial toughness (LIT) with ice - that enables passive ice removal without the conventional need for high ice detachment force. The coatings have an interfacial toughness of less than 1 J/m2, enabling efficient ice removal from surfaces like wind turbine blades and boat hulls.
33. Polymer Coating with Hydrogen Bond Disruption Properties for Ice Adhesion Reduction
Boeing Company, Commonwealth Scientific and Industrial Research Organisation, THE BOEING CO, 2020
A polymer that reduces ice adhesion to surfaces, particularly in aircraft and vehicle applications. The polymer forms a protective coating that specifically breaks the hydrogen bonding between ice and the surface, thereby preventing ice formation. The polymer can be applied to various materials, including metals, composites, and polymers, and exhibits improved performance compared to conventional ice-reducing coatings.
34. Mixed Coating Material with Cold Curing Resin and Particulate Fluororesin for Aircraft Wing Surfaces
SUBARU CORP, 2019
A mixed coating material for aircraft wings that provides comprehensive anti-icing capabilities across all surfaces, particularly in regions inaccessible to conventional anti-icing systems. The coating consists of a cold curing resin and a particulate fluororesin, with the fluororesin content exceeding 43% in the cured state. This composition enables the formation of a durable, water-repellent coating film that effectively prevents ice formation on wing surfaces, including leading edges, trailing edges, and other areas where conventional anti-icing systems may fail. The coating system is cured at room temperature, eliminating the need for high-temperature heating and reducing power consumption.
35. Method of Applying Curable Polyurethane-Based Film with Primer and Final Coating on Substrates
PPG Industries Ohio, Inc., PPG INDUSTRIES OHIO INC, PPG INDASTRIZ OGAJO INK, 2018
A method for suppressing ice formation on substrates by applying a curable film-forming composition. The method comprises applying to a substrate a curable film-forming composition comprising polyurethane, followed by a primer application, and then a final coating. The curable film-forming composition comprises polyurethane, followed by a primer application, and then a final coating.
36. Airfoil with Electrically Conductive Layer Comprising Carbon Allotropes, Conductive Polymers, and Sulfonic Acids
THE BOEING CO, 2018
Airfoils for rotor blades and other aircraft components that incorporate electrically conductive materials to provide both de-icing functionality and static charge dissipation. The conductive materials comprise a combination of carbon allotropes, electrically conductive polymers, and sulfonic acids, which can be applied to the airfoil surface through various deposition methods. The conductive layer enables efficient de-icing through electrical heating, while also preventing static charge buildup on the airfoil surface.
37. Titanium Aircraft Wing with Nanoscale Electrochemically Oxidized Layer for Droplet Repellence
SUZHOU LAVENNANO TECH INC, 2017
Aircraft wing with frost and ice prevention, comprising a titanium wing body with a functional nanoscale layer that repels condensed droplets. The layer is formed through an electrochemical oxidation process using a hydrofluoric acid or ammonium fluoride electrolyte, and exhibits low surface energy and improved droplet adhesion properties.
38. Leading Edge Fairing Assembly with Fluorine-Enhanced Silicone-Modified Acrylic Resin Coating
LIYANG HADA ACHIEVEMENTS TRANSFORMATION CENTER CO LTD, Liyang Ha Da Achievement Transformation Center Co., Ltd., 2015
A leading edge fairing assembly with integrated anti-icing coating that prevents ice formation on critical surfaces. The assembly features a silicone-modified acrylic resin coating with fluorine-based additives, which provides enhanced hydrophobic properties and superior ice-repellent performance compared to conventional hydrophobic coatings. The coating is applied through a specialized spraying process to the leading edge of the fairing, ensuring uniform coverage and optimal ice prevention.
39. Surface Treatment with Superabsorbent Polymer Layer Retaining Aqueous Freeze-Point Depressant Solution
CARTER JAMES THOMAS, 2015
A surface treatment for preventing ice formation on aircraft and other structures, comprising a superabsorbent polymer layer that retains an aqueous freeze-point depressant solution, providing extended anti-icing protection against single and repeated icing events. The treatment is applied as a coating, film, or sprayed layer, and can be formulated with various freeze-point depressants, including ethylene glycol, propylene glycol, and sodium citrate. The superabsorbent polymer layer absorbs and retains the freeze-point depressant solution, maintaining its effectiveness under adverse weather conditions.
40. Engine Inlet Leading Edge Components with Variable Thickness Anti-Icing Coating System
LIYANG HADA ACHIEVEMENTS TRANSFORMATION CENTER CO LTD, Liyang Ha Da Achievement Transformation Center Co., Ltd., 2015
Engine inlet leading edge components with enhanced ice protection through a novel anti-icing coating system. The coating comprises a primer and topcoat, with a specific thickness profile that optimizes ice formation and removal characteristics. The coating is applied to the leading edge of the engine inlet, with unique taper profiles that enhance ice shedding while maintaining aerodynamic performance. The coating's surface energy modification properties enable efficient ice nucleation and rapid ice melting, while the primer and topcoat provide durable adhesion and protection against environmental factors.
41. Aircraft Surface De-Icing Device with Integrated Heat Emission and Mechanical Deformation Mechanism
AIRBUS DEFENCE AND SPACE GMBH, 2015
A device for de-icing and preventing ice formation on aircraft surfaces, comprising a heat-emitting device that emits heat along a predetermined line to create a breaking point in ice accumulation, and a deformation device that mechanically removes ice and water droplets along the same line. The device can be integrated into aerodynamic profile elements such as wings, fins, and engine intakes, and can be used in combination with surface coatings to enhance ice prevention.
42. Engine Inlet Channel Front Edge Assembly with Multi-Layer Coating Featuring Inorganic Zinc-Rich Primer and Organic Fluorine Silicon Modification
LIYANG HADA ACHIEVEMENTS TRANSFORMATION CENTER CO LTD, Liyang Ha Da Achievement Transformation Center Co., Ltd., 2015
Engine air inlet channel front edge assembly to prevent ice formation on leading edges of engine inlet channels. The assembly comprises a front edge coating comprising a bottom paint and surface paint comprising a primer derived from inorganic zinc-rich prime lacquer, modified with organic fluorine silicon. The bottom paint has a dry film thickness of 17 microns, while the surface paint has a dry film thickness of 31 nanometers. The coating is applied to the front edge of the inlet channel, with the bottom layer forming the base and the surface layer forming the top, and is characterized by a gradual transition from thick to thin. This coating provides effective ice protection while maintaining optimal inlet performance.
43. Coatings with Block Copolymer and Particle Aggregates for Durable Hydrophobic, Oleophobic, and Anti-Icing Surface Properties
ROSS TECHNOLOGY CORP, 2015
Coatings and surface treatments that provide hydrophobicity, olephobity, and anti-icing properties for surfaces exposed to various environmental conditions. The coatings achieve these properties through the incorporation of block copolymers and second particles, which form localized aggregates that prevent particle migration. The coatings can be applied in single-step or two-step processes, with the two-step method involving silanization followed by particle incorporation. The coatings exhibit excellent durability in wet conditions, including resistance to water, acids, bases, and organic solvents, as well as resistance to mechanical abrasion.
44. Pulsed Electrothermal De-Icing System with Interference-Enhanced Thermal Wave Reflection
GOODRICH CORP, 2014
A pulsed electrothermal de-icing system for aircraft surfaces that achieves improved thermal efficiency through interference-based ice removal. The system employs a heating substrate with a thin coating, where the coating's thermal effusivity is greater than the substrate's, enables constructive interference of thermal waves reflected from the coating with those generated in the substrate. This interference enhances peak substrate temperatures under pulsed electrical power, allowing efficient ice removal while minimizing back-formation.
45. Composite Silicone Polymer Matrix with Embedded Hydrophobic Particles for Superhydrophobic Surface Coating
UNITED TECHNOLOGIES CORP, 2012
Superhydrophobic coatings for reducing ice formation on surfaces through enhanced water-repellency. The coatings comprise a silicone polymer matrix combined with multiple hydrophobic particles, which provide superior water durability beyond conventional hydrophobic coatings. This composite structure enables stable water contact angles greater than 140° while maintaining low hysteresis, thereby inhibiting ice adhesion and preventing water accumulation.
46. Aircraft Wing Surface Treatment with Reflective Metallic Film and Integrated Hollow Cells for Thermal Insulation
GARRIGUS DARRYL F, 2003
A surface treatment for aircraft wing surfaces that prevents non-environmental frost and ice formation during flight. The treatment comprises a reflective metallic film bonded to the wing surface, with additional hollow cells integrated into the film. The film and cells create a thermal barrier between the wing surface and ambient environment, preventing moisture condensation and frost formation. This innovative approach enables aircraft operators to maintain efficient flight operations while minimizing the need for costly de-icing procedures.
Get Full Report
Access our comprehensive collection of 46 documents related to this technology
