Active Oxygen Scavenging Food Packaging: Materials & Mechanisms
Oxygen-induced deterioration in packaged foods leads to significant waste and quality issues across the supply chain. Even trace amounts of oxygen (>0.1%) can trigger oxidation reactions that affect color, taste, and nutritional value, while oxygen levels above 2% accelerate microbial growth. Current packaging solutions must balance oxygen removal rates with the generation of secondary compounds that can impact food quality.
The fundamental challenge lies in developing oxygen scavenging systems that rapidly achieve and maintain near-zero oxygen levels without introducing unwanted chemical byproducts or compromising package integrity.
This page brings together solutions from recent research—including iron-based active scavengers with controlled reaction rates, polymer-integrated oxygen barriers, natural scavenging compounds like tea extracts, and multi-layer absorbent systems. These and other approaches focus on practical implementation in commercial food packaging while addressing safety, cost, and sustainability requirements.
1. Smart Preservation Device with Integrated Sensor System and Preservative Chamber for Wireless Environmental Monitoring in Sealed Containers
ZEROPLUS TECHNOLOGY CO LTD, 2025
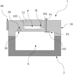
A smart preservation device that monitors and controls the moisture and oxygen levels inside sealed containers like food packages, to extend shelf life. The device has a chamber inside to hold preservatives like desiccants, deoxidizers or dehumidifiers. It has a Bluetooth module and sensors to measure environmental parameters like humidity and oxygen. When attached to a container, the sensors send data wirelessly. This allows tracking of conditions inside sealed containers without opening them. The device enables monitoring of preservative effectiveness and optimized replacement times.
2. Coating Formulation with Dispersed Inorganic Oxygen Scavenger in Polymer Matrix
AGENCY FOR SCIENCE TECHNOLOGY AND RESEARCH, 2025
Coating formulation, article, and method to prepare oxygen scavenging packaging for food preservation. The coating formulation contains an inorganic oxygen scavenger like iron dispersed in a polymer matrix using surfactants, activators, and hydrophilic agents. The dispersion improves oxygen scavenging compared to undispersed powders. The coating can be applied to food packaging to actively remove oxygen from the enclosed space, extending shelf life. The dispersing agents prevent agglomeration of the oxygen scavenger particles.
3. Double-Layer Sealed Box with Activated Carbon Circulation Sealing Device and Dual-Chamber Jacket
HUNAN UNIVERSITY, 2025
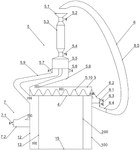
Double-layer sealed box with activated carbon circulation sealing device that provides improved sealing performance and cost efficiency compared to using inert gases like argon. The sealed box has an inner chamber and an outer chamber separated by a double-layer jacket. Instead of continuously introducing expensive inert gases like argon into the outer chamber, an activated carbon circulation sealing device is used. The device contains activated carbon canisters filled with a water and oxygen scavenging material. The carbon canisters circulate between the outer chamber and an external reservoir to absorb moisture and oxygen from the outer chamber atmosphere. This eliminates the need for continuous inert gas flow and allows recycling of the absorbed water and oxygen. The activated carbon sealing device provides better sealing performance compared to using inert gases, while also reducing costs by avoiding continuous gas flow and enabling recycling.
4. Poly(Butylene Succinate) Film Coated with Hydroxypropyl Methylcellulose with Sea Buckthorn Extract and Its Ethosomes—Examination of Physicochemical and Antimicrobial Properties Before and After Accelerated UV Aging
szymon macieja, magdalena zdanowicz, malgorzata mizielinska - Multidisciplinary Digital Publishing Institute, 2025
The new generation of food packaging should not only be biodegradable, but also provide additional protective properties for packaged products, extending their shelf life. In this paper, we present the results research on cast-extruded poly(butylene succinate) (PBS) films coated with hydroxypropyl methylcellulose (HPMC) modified CO2 extract from sea buckthorn (ES) or its ethosomes (ET) at amounts 1 5 pph per HPMC. addition, developed were exposed to accelerated aging (UV radiation and elevated temperature) determine effect films properties. Based SEM, it can concluded that in uncovering coatings bulk. GPC showed a decrease molecular weight PBS after treatment, additionally amplified by presence However, addition ES ET low concentrations reduced level polyester degradation. coating treatment increased oxygen barrier (a 324 cm3/m2 24 h neat 208 ET5). Despite colored coating, color differences compared imperceptible (E < 1). combination resulted complete inhibition growth E. coli S. aureus, which was observed non-aged samples. obtained demonstrate an improvement bioactive ... Read More
5. Blow-Molded Plastic Container with Targeted Intermediate Barrier Layer Containing Oxygen Scavengers
RING CONTAINER TECHNOLOGIES LLC, 2025
Blow-molded plastic containers for food and beverage packaging that have a barrier layer inside the container walls to extend shelf life. The containers are manufactured by injecting a base material into the top mold and then a separate material containing oxygen scavengers into the bottom mold. The bottom layer has inner, outer, and intermediate sections. The oxygen scavenger is only in the intermediate section between the inner and outer layers. This allows targeted placement of the barrier layer without adding it to the entire wall thickness. The inner and outer sections are made of the base material. This avoids using high concentrations of oxygen scavengers in the entire wall, reducing cost. The container is blown from the preform without trimming to preserve the layered structure.
6. Multi-Layer Oxygen Scavenger Packaging with Fluorine-Free Oil-Resistant Intermediate Layer and Perforated Thermoplastic Resin Layers
MITSUBISHI GAS CHEMICAL COMPANY INC, 2025
Oxygen scavenger packaging material and oxygen scavenger package that can provide excellent oil resistance and oxygen scavenging performance without using fluorine-containing materials. The packaging material has an inner layer containing a thermoplastic resin, an intermediate layer containing an oil-resistant paper without fluorine, and an outer layer containing a thermoplastic resin. The oxygen scavenger package includes the oxygen scavenger wrapped in this packaging material. The inner and outer layers have air holes passing through them, while the intermediate layer has air holes passing through both inner and outer layers. This allows oxygen scavenging while preventing oil permeation through the intermediate layer.
7. Oxygen Scavenger Composition with Iron and Metal Salt in Air-Permeable Container Featuring Controlled Water Layer Thickness
MITSUBISHI GAS CHEMICAL COMPANY INC, 2025
Oxygen scavenger composition, package, and production method that provides a high oxygen absorption rate in the initial reaction stages for effective deoxygenation. The composition contains iron, a metal salt, and water with optimized water content on the iron surface. This optimized water layer thickness enhances the initial oxygen absorption rate compared to lower or excessive water levels. The package uses an air-permeable container that allows water supply to the composition to maintain the desired water layer. This enables fast deoxygenation in sealed containers by providing an oxygen scavenger with high initial absorption rate.
8. Porous Silica Composite with Encapsulated Metal Nanoparticles and Partial Polymer Coating
AGENCY FOR SCIENCE TECHNOLOGY AND RESEARCH, 2025
Composite material for oxygen scavenging and barrier applications that improves oxygen scavenging capacity while preventing agglomeration of nanoparticles. The composite material has a porous silica particle with metal nanoparticles encapsulated within the pores. A polymer coating partially surrounds the silica particle. This design allows oxygen to contact the metal nanoparticles in the pores while preventing particle aggregation. The polymer coating also protects the nanoparticles during handling.
9. Combination Container with Inner Oxygen-Permeable Layer and Outer Oxygen Barrier Including Intermediate Oxygen Absorber
DAI NIPPON PRINTING CO LTD, 2025
Reducing oxygen degradation of liquids contained in sealed containers by using a combination container with an inner container that has oxygen permeability and an outer container with an oxygen barrier. The inner container with oxygen permeability contains the liquid and is sealed by a stopper. An oxygen absorber is placed between the inner container and the outer container to absorb oxygen. The outer container with the oxygen absorber prevents external oxygen from reaching the inner container. This provides a sealed environment with reduced oxygen levels to prolong the shelf life of the contained liquid.
10. Granulated Oxygen Scavenger Composition with Dispersed Iron and Method of Production
MITSUBISHI GAS CHEMICAL COMPANY INC, 2025
Oxygen scavenger composition and method for producing it that absorbs oxygen rapidly at the start of an oxidation reaction. The composition is a mixed granule containing a water retention agent, swelling agent, metal salt, water, and iron, all mixed together for granulation. This disperses the iron throughout the granule and keeps it close to water, increasing the initial oxygen absorption rate. The granulation step is done by mixing the components instead of molding, making it simpler and cheaper than prior methods.
11. Method for Preserving Synsepalum dulcificum Berries via Pulp Separation and Freeze Drying with Oxygen Barrier Packaging
NATURES WILD BERRY, 2025
Preserving Synsepalum dulcificum (miracle fruit) berries to maintain their potency for extended periods. The preservation method involves separating the pulp of the fresh berry into parts, then freeze drying the berry with the separated pulp. This prevents moisture from degrading the miraculin compound that causes sour foods to taste sweet after eating miracle fruit. The freeze dried berries are also stored in oxygen barrier packaging with an oxygen absorber to further preserve the miraculin potency.
12. Ascorbic acid‐loaded fish gelatin nanoparticles/fish skin collagen fiber antioxidant film for extending the shelf life of chilled mirror carp (<i>Cyprinus carpio L</i>.) fillets
junren zhao, maheshati nuerjiang - Wiley, 2025
Abstract This study focused on the impact of ascorbic acidloaded fish gelatin nanoparticles/fish skin collagen fiber (ColAAFGNP) antioxidant films for preserving chilled mirror carp. Both control and samples wrapped with exhibited quality deterioration increased storage time, resulting in spoilage by eighth day. The treated ColAAFGNP significant improvements at 10 days compared to control. Specifically, thiobarbituric acid reactive substances, carbonyl content, pH, total volatile base nitrogen, viable count, Psychrophilic bacteria count were reduced 31.7%, 23.9%, 2.2%, 28.1%, 28.6%, 22.4%, respectively. These findings suggested that effectively lipid protein oxidation, microbial growth, decline freshness, thereby extending shelf life least 2 days. In addition, hardness, springiness, chewiness, resilience, lightness, whiteness values film increased, while redness, yellowness centrifugal loss decreased control, indicating color, texture, moisture retention. beneficial effects attributed controlled release nanoparticles, which played a key role scavenging free radicals pr... Read More
13. Smart Packaging Materials: A Review of Existing and Emerging Packaging Technologies and their Applications
kartikay sharma, renuka yadav, reshu rajput - Sciencedomain International, 2025
Packaging of food plays a crucial role in the enhancement shelf-life products, by acting as barrier between inside packaging and outside environmental conditions. This provides unfavourable conditions for microbes to grow thus remains consumable form longer period time. Several types materials have been used till date such LDPE, HDPE, PET etc. Oxygen scavenger, antimicrobial films taste modifiers are examples active technologies that directly interact with or its surroundings prevent spoilage increases shelf-life. Informed decisions can be made at every stage supply chain due real-time information about condition given intelligent packaging, which is up indicators, sensors data carriers. The integration these technologies, termed smart packaging represents significant advancement, combing preservation improved communication. From early oxygen absorber modern bio-based films, this study charts evolution over It also examines several kinds systems, like flavour control, CO2 ethylene scavengers antioxidant packaging. rising demand reduce wastage guarantee safety underlines necessi... Read More
14. Blow-Molded Container with Multi-Layered Bottom Section Featuring Selective Barrier Placement
RING CONTAINER TECHNOLOGIES LLC, 2025
Blow-molded containers for food packaging with selective barrier layers to improve shelf life. The containers have a two-part molding process. First, a top portion is injection molded from a single material. Then, a bottom portion with inner, outer, and intermediate sections is molded using a combination of the main material and a barrier material like an oxygen scavenger. The intermediate section with the barrier is positioned between the inner and outer sections. This allows a barrier layer to be concentrated and selectively positioned within the wall thickness. The bottom molding is done after the top to avoid trimming waste.
15. Oxygen Removal Module with Electrolyte and Water Tank System for Refrigerators
HEFEI MIDEA REFRIGERATOR CO LTD, MIDEA GROUP CO LTD, HEFEI HUALING CO LTD, 2025
Oxygen removal module for fresh food storage in refrigerators that prevents food spoilage due to oxygen. The module has an electrolyte tank with an air pressure balance port connected to a water tank. The water tank supplements water to the electrolyte tank. This prevents water shortage in the electrolyte tank after long operation due to oxygen consumption. The water tank also has a feeding port with a plug. The electrolyte tank has an oxygen exhaust hole with a floating ball that blocks it when the tank tips over. A pressure release valve is at the top. This allows oxygen removal from the food storage space while preventing water loss issues.
16. Review on Innovative Smart Packaging Solutions for Seafood Preservation
c manaswini, k dhanapal, k sravani - Sciencedomain International, 2025
Innovative techniques are used into smart packaging to promote food preservation, guaranteeing longer freshness, increased safety, and less waste. This strategy optimizes quality streamlines supply chain operations by combining intelligent, active, connected technologies. Time-temperature indicators (TTIs), oxygen scavengers, biosensors, radio-frequency identification (RFID) devices, internet-connected digital platforms for real-time monitoring important For extremely perishable goods like seafood, which degrade quickly because of their high protein moisture content, these improvements especially important. Smart reduces waste, improves traceability, guarantees adherence strict safety rules facilitating tracking assessment. An step toward effective sustainable management is this technical development.
17. Plastic Containers with Selective Barrier Material Placement for Enhanced Shelf Life and Recyclability
RING CONTAINER TECHNOLOGIES LLC, 2025
Plastic containers for food and beverages that have improved shelf life without compromising recyclability. The containers have selective placement of barrier materials like oxygen scavengers near the center to reduce the total amount needed. This allows using less of the expensive barrier materials while still providing the same or better shelf life. By concentrating the barrier materials in certain areas, less overall barrier material is needed compared to uniform distribution. This enables recycling the containers without yellowing issues that occur with high barrier concentrations. The containers are made by selectively injecting barrier materials into specific layers of the preform.
18. Oxygen Scavenger Comprising Synthetic Amorphous Silica with Drying Oil and Oil-Soluble Metal Catalyst
MITSUBISHI GAS CHEMICAL COMPANY, INC., 2025
Oxygen scavenger for storage of products like food and pharmaceuticals that absorbs oxygen without requiring moisture and suppresses change in carbon dioxide gas concentration in the product. The oxygen scavenger contains synthetic amorphous silica impregnated with a drying oil and an oil-soluble metal catalyst. The synthetic amorphous silica acts as a carrier for the oil and catalyst to absorb oxygen. The oil provides the oxygen scavenging reaction and the catalyst promotes oxidation. This allows oxygen scavenging in products with variable humidity without drying out or generating CO2.
19. Packaging Materials with Oxygen-Absorbing Compounds Incorporating Unsaturated Five-Membered Rings and Electron-Donating Groups
DAI NIPPON PRINTING CO., LTD., ROCK PAINT CO., LTD., 2025
Oxygen-absorbing compounds, adhesives, and coatings for packaging materials that can be used to replace oxygen absorbers, gas flushing, and vacuum sealing for packaging. The oxygen-absorbing compounds have unsaturated five-membered rings with electron-donating groups. They are used in adhesives and coatings along with oxidation catalysts to form absorbing layers on packaging. The compounds absorb oxygen during storage and prevent deterioration of packaged goods. They have lower odor compared to traditional absorbers like iron salts.
20. Iron-Based Oxygen Scavenger Powder with Low Solubility Alkaline Agent and Metal Halide for Controlled Oxidation
MITSUBISHI GAS CHEMICAL COMPANY INC, 2024
Oxygen scavenger powder for food packaging that reduces heat generation when the package is opened. The powder contains iron, a metal halide, and a barely water-soluble alkaline agent. The alkaline agent has low water solubility and high pH. It suppresses iron oxidation and heat generation by forming a high pH coating on the iron as moisture is absorbed. This slows iron corrosion when the package is opened.
21. Oxygen Absorber Comprising Unsaturated Oligomer, Inorganic Particles, and Activated Carbon with Controlled Oligomer Adsorption
MITSUBISHI GAS CHEMICAL COMPANY INC, 2024
Oxygen absorber for food packaging that reduces odor while maintaining high oxygen absorption. The absorber contains an unsaturated oligomer, oxygen absorption promoter, carrier, inorganic particles, and activated carbon. The key is adsorbing less than 6.5% of the oligomer onto the inorganic particles. This prevents excessive oligomer migration and off-gassing during oxygen absorption. The inorganic particles absorb volatile compounds before the oligomer reacts with oxygen. The activated carbon further reduces odor.
22. Polymeric Preform and Container with Active Oxygen Scavenger Layer Incorporating Recycled Polymer
AMCOR RIGID PACKAGING USA LLC, 2024
Polymeric preform and container that can have a high percentage of recycled material while maintaining oxygen barrier properties. The container has an active oxygen scavenger layer with up to 25% recycled polymer to extend shelf life. This layer contains an oxygen scavenger, catalyst, and recycled polymer. The rest of the container has at least 25% recycled polymer. This allows using more recycled material in the container while still providing oxygen barrier properties.
23. Deoxidizer Package with Integrated Oxygen Monitoring and Moisture Control Components
QUANHZOU TOPONE BIOTECHNOLOGY CO LTD, 2024
Deoxidizer package for food preservation that allows monitoring of oxygen levels inside the package to ensure food quality. The package has a deoxidizer bag containing an oxygen absorber, a drying bag with desiccant, and a detection bag with oxygen concentration test paper. Breathable papers allow air exchange between the bags. This allows the deoxidizer to remove oxygen, the desiccant to dry moisture, and the test paper to monitor oxygen levels in the food package.
24. Layered Packaging Material with Oxygen Absorbing Adhesive and Antioxidant Shielding Resin
DAINIPPON PRINTING CO LTD, 2024
Boil/retort compatible oxygen absorbing packaging material for foods that prevents oxygen deterioration during processing and storage. The material has a specific layered structure. It consists of base, ink, metal foil, oxygen-absorbing adhesive, antioxidant shielding resin, and sealant layers. The oxygen absorbing adhesive contains an oxygen absorber compound with unsaturated 5-membered rings. The antioxidant shielding resin and sealant layers prevent oxygen ingress and antioxidant migration. This balance of oxygen absorption, barrier properties, and interlayer adhesion allows the packaging to absorb oxygen during processing while preventing odor transfer.
25. Multilayer Oxygen-Absorbing Packaging Material with Electron-Donating Unsaturated 5-Membered Ring Adhesive
DAINIPPON PRINTING CO LTD, 2024
Oxygen-absorbing packaging material for microwaveable containers that generates less odor, absorbs oxygen inside containers to prevent food spoilage, and is microwave-safe. The material has layers in order: base, printing ink, shielding resin, oxygen-absorbing adhesive, antioxidant shielding resin, and sealant. The oxygen-absorbing adhesive contains unsaturated 5-membered rings with carbon-carbon double bonds and electron-donating groups. The shielding resin prevents ink ink components from affecting the oxygen absorber. The antioxidant-shielding resin protects the oxygen absorber from antioxidants in the sealant.
26. Breathable Packaging with Integrated Atmosphere Adjusters for Gas Absorption and Moisture Release
MITSUBISHI GAS CHEMICAL CO INC, 2024
Maintaining freshness of fruits and vegetables by packaging them with atmosphere adjusters that absorb oxygen, carbon dioxide, and release moisture to create optimal conditions inside the package. The adjusters are stored alongside the fruits and vegetables in breathable packaging. This allows gas balance adjustment without using specialized equipment. The adjusters absorb oxygen and CO2, generate moisture, and prevent excessive respiration. The breathable packaging allows some ventilation but prevents large gas exchange. This prevents spoilage by adjusting the interior atmosphere to optimal levels for the specific fruits and vegetables.
27. Oxygen Scavenger-Integrated Packaging System with Iron-Based Chemistry for Zero Oxygen Concentration in Meat Storage
TEWARI GAURAV, 2024
Packaging system for extending the shelf-life of retail-ready meat cuts by reducing oxygen concentration to zero within a few hours after packing. The system involves using oxygen scavengers with iron-based chemistry placed inside meat trays or bags containing nitrogen instead of air. This rapidly removes oxygen to prevent discoloration and spoilage, allowing longer shelf-life of centrally prepared meat cuts. The scavengers absorb oxygen rapidly due to their chemistry and placement inside the packages. By reducing oxygen to zero, it restores the meat's ability to prevent browning and extends shelf-life compared to partial oxygen depletion.
28. Oxygen Absorbing Material Comprising Iron Powder, Titanium Oxide, Calcium Oxide, and Polyolefin Resin
MITSUBISHI GAS CHEMICAL COMPANY INC, 2024
Oxygen absorbing packaging material with improved light blocking and odor suppressing properties while maintaining oxygen absorption. The oxygen absorbing material contains a specific ratio of iron powder, titanium oxide, calcium oxide, and polyolefin resin. This composition allows the oxygen absorbing properties of iron powder to be combined with improved light blocking and odor suppression from the other components. The oxygen absorbing material can be used as a film or layer in packaging applications like food containers or cover materials to provide extended shelf life.
29. Oxygen Scavenger-Based Packaging System with Iron Chemistry for Meat Trays and Master Bags
GAURAV TEWARI, 2023
Packaging system for extending the shelf-life of retail-ready meat cuts by reducing oxygen levels to prevent discoloration. The system involves using oxygen scavengers inside the meat trays and master bags containing multiple trays. The scavengers absorb oxygen rapidly to achieve zero oxygen levels in a short time after sealing. The scavengers based on iron chemistry can do this due to their fast oxygen absorption rates. Placing them inside trays and bags optimizes oxygen removal. The zero oxygen environment prevents metmyoglobin formation and maintains meat color.
30. Multi-Material Blow Molded Containers with Integrated Oxygen Scavenging Layer
RING CONTAINER TECHNOLOGIES LLC, 2023
Blow molded containers for food packaging that reduce costs and waste compared to conventional containers. The containers are made by injection molding a first material for the top and a second material with an oxygen scavenger for the bottom. The bottom has inner, outer, and intermediate portions. The inner and outer portions are the first material, the intermediate portion contains the oxygen scavbler. This allows targeted barrier layers without dispersing them throughout the container. The intermediate portion thickness is between the inner and outer. The bottom is blow molded into the container without trimming. This minimizes scrap compared to trimming the entire preform.
31. Polymer Composition with Butadiene and Titanium Dioxide for Oxygen Scavenging
POLYVALOR LIMITED PARTNERSHIP, 2023
Oxygen scavenger compositions for packaging applications that have improved oxygen scavenging properties. The compositions contain a base polymer, a butadiene polymer, and titanium dioxide. The butadiene polymer scavenges oxygen when catalyzed by the titanium dioxide. The compositions can be used to make packaging films, bags, containers, etc. that absorb oxygen and prevent oxidation of the packaged items. The base polymer can be ethyl cellulose, the butadiene polymer is preferably low molecular weight unfunctionalized polybutadiene, and the titanium dioxide is added in an amount to catalyze the butadiene oxidation. The compositions can be prepared by solution mixing, melt extrusion, or electrospinning techniques.
32. Oxygen Scavenging Packaging Incorporating Tea-Based Materials
CSP TECHNOLOGIES INC, 2023
Using tea as an oxygen scavenger in packaging to extend the shelf life and improve quality of oxygen sensitive products like food, beverages, pharmaceuticals, and cosmetics. The tea is incorporated into packaging materials or used as sachets to scavenge oxygen and prevent deterioration of packaged products due to oxygen exposure. The tea provides an environmentally friendly, biodegradable, and consumer-preferred oxygen scavenging alternative to synthetic additives. The tea's increased oxygen uptake rate in packaging allows more effective scavenging compared to other natural scavengers.
33. Multi-Layer Food Packaging Pad with Integrated Chemical Agent Distribution and Absorption Mechanism
ARES CAPITAL CORP, 2023
Food packaging with absorbent pads that improve the quality of packaged foods by controlling the internal atmosphere and inhibiting spoilage. The pads have a multi-layer architecture with fluff made from wood pulp for liquid absorption and a tissue laminate layer containing chemical agents like CO2 generators. The tissue layer provides a substrate for the fluff during manufacturing and allows controlled distribution of chemicals. The pads also have options like oxygen scavengers and ethylene inhibitors. This design allows tailored chemical reactions to extend food shelf life by controlling factors like CO2 levels, oxygen, and ethylene.
34. Oxygen-Absorbing Laminate with Inorganic Barrier and Unsaturated 5-Membered Ring Oxygen Absorber
DAINIPPON PRINTING CO LTD, 2023
Oxygen-absorbing laminate for packaging materials that generates little odor, has excellent oxygen barrier properties, oxygen absorption, interlayer adhesion, and heat-sealing. The laminate structure includes printing ink, ink shield, inorganic barrier, oxygen absorber layer, and sealant. The oxygen absorber compound contains unsaturated 5-membered rings with carbon-carbon double bonds and electron-donating groups. It absorbs oxygen to prevent deterioration of packaged contents. The laminate suppresses gas permeation and absorbs oxygen inside the package to prevent oxidation.
35. Heteroatom-Substituted Aryl Compounds with Unsubstituted Methylene Positions for Oxygen Scavenging in Packaging Materials
PLASTIPAK PACKAGING INC, 2023
Oxygen scavenging compounds for packaging materials that contain a heteroatom-substituted aryl group. The aryl group can have unsubstituted methylene positions. These compounds react with oxygen in the presence of transition metals to mitigate oxidative damage to packaged contents. The compounds can be incorporated into polymers or used as additives in packaging compositions to extend shelf life of oxygen-sensitive materials.
36. Transparent Oxygen Scavenging Compositions with Specific Chemical Structure and Transition Metal in Polymer Matrix
PLASTIPAK PACKAGING INC, 2023
Substantially transparent oxygen scavenging compositions for packaging of oxygen-sensitive materials. The compositions contain a base polymer, an oxygen-scavenging compound with a specific chemical structure, and a transition metal. The compounds scavenge oxygen from the packaging environment to extend shelf life of sensitive products like food, beverages, and pharmaceuticals. The compositions are substantially transparent due to improved dispersion of the scavenger compound in the polymer matrix.
37. Mixed Granule Oxygen Scavenger Composition with Uniform Iron Dispersion and Hydrogen Suppression
MITSUBISHI GAS CHEMICAL COMPANY INC, 2023
Oxygen scavenger composition for food packaging to prevent oxidation and hydrogen generation. The composition contains a mixed granule of water retention agent, swelling agent, metal halide, water, iron, and alkaline substance. It is prepared by mixing all ingredients instead of layering them. This disperses the iron throughout the granule and provides a uniform oxygen absorption surface. The alkaline substance helps suppress hydrogen generation. The composition can absorb oxygen without container deformation.
38. Container with Removable Regenerable Gas Absorbing Elements
KINGS FLAIR INNOVATIVE MARKETING LTD, 2023
Food container with removable gas absorbing elements to preserve freshness of food items. The container has a body with a cavity to hold food and a lid. Removable gas absorbing elements like membranes with zeolite, activated carbon, or potassium permanganated silica are placed inside the container or attached to the lid. These elements absorb spoiling gases like ethylene, moisture, and odor to keep the food fresher for longer. The elements can be easily removed and regenerated by heating to restore their gas absorption capacity.
39. Composite Photo-Oxygen Barrier with Light-Blocking and Active Oxygen Absorbing Components
QUANZHOU YUEKE PIGMENT CO LTD, 2023
A photo-oxygen barrier for packaging materials that protects light and oxygen sensitive products like food, beverages, medications, and cosmetics. The barrier is a composite material containing 1-65% of a light-blocking composition, 1-30% of an active oxygen absorber, and 5-98% of a base material. The light-blocking composition can contain titanium dioxide, aluminum powder, and carbon black. The active oxygen absorber contains cobalt. The barrier can be made by melt extrusion or mixing the components in a base material.
40. Compact Granular Oxygen Scavenger Composition with Dispersed Iron and Optional Porous Particle Layer
MITSUBISHI GAS CHEMICAL COMPANY INC, 2023
An oxygen scavenger composition for use in sealed containers to prevent oxidation of stored products. The composition contains a water retention agent, a swelling agent, an ammonium salt, water, and iron. The composition can be made by mixing these ingredients together to form a mixed granule. The granule disperses iron throughout, allowing rapid oxygen absorption. An optional outer layer of porous particles further enhances oxygen scavenging. The compact mixed granule with dispersed iron and water has high oxygen absorption rate.
41. Laminate Packaging Material with Oxygen-Absorbing Adhesive and Inorganic Barrier for Boil/Retort Processing
DAINIPPON PRINTING CO LTD, 2023
Oxygen-absorbing packaging material for boil/retort processing that reduces oxygen ingress, prevents deterioration of contents, and suppresses odor change. The packaging has layers in order: substrate, inorganic barrier, oxygen-absorbing adhesive, shielding resin, and sealant. The oxygen-absorbing adhesive contains an oxygen-absorbing compound with unsaturated 5-membered rings and an oxidation catalyst. The shielding resin is nylon, polyolefin, or polyester. This laminate provides excellent oxygen barrier, absorption, adhesion, and heat sealing for boil/retort processing while avoiding odor migration.
42. Transition Metal-Loaded Polymer Compositions with High Metal Loadings for Oxygen Scavenging Applications
WELLS FARGO BANK NA, 2023
Transition metal-loaded polymer compositions for oxygen scavenging in packaging materials. The compositions have a transition metal composition dispersed in a polymer carrier at high metal loadings >30,000 ppm. This allows easier handling and processing compared to dispersing the metal catalyst in the final article. The metal-loaded polymer masterbatch can be compounded with an oxygen scavenger composition in a ratio >85% to make a single-component catalyst/scavenger for packaging. The metal catalyzes the oxygen scavenging reaction.
43. Carrot-Integrated Packaging Material with Oxygen Scavenging Properties
CSP TECHNOLOGIES INC, 2023
Using carrots as a natural oxygen scavenger in packaging to extend the shelf life of oxygen-sensitive products like food, beverages, and pharmaceuticals. The carrots are incorporated into packaging materials or used as sachets inside containers to reduce the oxygen level and prevent deterioration. Carrots have unexpectedly high oxygen scavenging properties. Placing carrots in packages can maintain product quality by removing residual oxygen. The carrots can be presented in sachets or dispersed in packaging materials like films.
44. Blow Molded Containers with Selective Intermediate Barrier Layers Containing Oxygen Scavenger
BANK OF AMERICA NA, 2023
Blow molded containers with selective barrier layers for food packaging applications. The containers have a top portion made of one material and a bottom portion with an inner, outer, and intermediate section. The inner and outer sections use the same material while the intermediate section contains an oxygen scavenger. This allows targeted placement of the barrier layer inside the container wall thickness. The intermediate section thickness can be less than the inner and outer sections. This prevents the barrier from extending through the outer or inner sections when molded. The selective barrier layer improves shelf life of packaged food without adding excessive costs from high concentrations of barrier material throughout the container.
45. Antibacterial Oxygen Absorber Packaging Material with Heat-Sealable Resin Layer Containing Antibacterial Agent
TOPPAN PRINTING CO LTD, 2022
An antibacterial oxygen absorber packaging material for food preservation that maintains antibacterial properties after opening. It combines an oxygen absorber with an antibacterial packaging material. The oxygen absorber inside is enclosed in a bag made from a heat-sealable resin layer with an antibacterial agent like aldehydes on the inner side. This prevents oxygen and bacteria growth inside the package. The antibacterial agent impregnated resin layer allows gas exchange but kills bacteria. The oxygen absorber bag inside provides long-term oxygen scavenging. The outer bag prevents odor transfer.
46. Packaging Materials Incorporating Daucus-Based Oxygen Scavenging Components
CSP TECHNOLOGIES INC, 2022
Packaging materials that contain daucus, the common carrot species, to reduce oxygen levels inside containers and extend the shelf life of packaged oxygen-sensitive products. The carrot extract acts as an oxygen scavenger when hydrated, effectively removing oxygen from the packaging environment. This is achieved by incorporating dried carrot powder into sachets, films, or containers that are placed inside the product packaging. The carrot scavenges oxygen as it absorbs moisture from the package, thereby controlling and lowering the oxygen levels.
47. Iron Nanoparticle-Encapsulated Porous Silica Composite with Polymer Coating
AGENCY FOR SCIENCE TECHNOLOGY AND RESEARCH, 2022
Composite material for oxygen scavenging in food packaging that combines iron nanoparticles encapsulated in a porous silica particle with a polymer coating. The composite has enhanced oxygen scavenging capacity compared to bare iron nanoparticles due to the encapsulation preventing particle aggregation and improving oxygen contact. The polymer coating further protects the iron/silica composite from degradation. The composite can be used as an oxygen scavenger in containers or integrated into packaging films.
48. Polyether-Polyester Copolymer with Transition Metal End-Capped Polyether Segments and Bridging Elements
AVIENT SWITZERLAND GMBH, 2022
A polyether-polyester copolymer with end-capped segments that can scavenge oxygen in packaging materials. The copolymer has segments made of polyether and polyester, bridging elements connecting them, and end-caps on the polyether segments. The end-caps contain transition metal catalysts that accelerate oxygen scavenging reactions. The copolymer can be added to plastic materials like PET, PBT, or polyolefins to provide active oxygen barriers for packaging applications. By adjusting the copolymer concentration, the oxygen scavenging rate can be tuned to match specific product needs.
49. External Control Deoxidizing Bag with Non-Woven Outer Layer and Transfer Cylinder for Leak Prevention
Hunan Province Dong'an County Xiongzhi Food Co., Ltd., 2022
Transfer type external control deoxidizing bag for food preservation that avoids leaking while maintaining high deoxygenation effectiveness. The bag has an outer non-woven fabric layer and an inner material layer containing deoxidizer. Oxygen from the food package enters through a transfer cylinder between the layers and gaps between extended hard sheets. This prevents deoxidizer leakage. The transfer cylinder and hard sheets allow oxygen transfer while preventing deoxidizer escape. The unsaturated deoxidizer has space to move in the inner layer during bag transport. The bag also has ellipsoids to prop up the outer layer and prevent collapsing.
50. Mixed Granule Oxygen Scavenger Composition with Dispersed Iron and Metal Salt
MITSUBISHI GAS CHEMICAL CO, MITSUBISHI GAS CHEMICAL COMPANY INC, 2022
Oxygen scavenger composition for food packaging that absorbs oxygen quickly and efficiently to prevent spoilage. The composition is made by mixing a water retention agent, swelling agent, metal salt, water, and iron powder. The ingredients are blended to form a mixed granule with dispersed iron throughout. This provides a high oxygen absorption rate at the initial stage of iron oxidation. The composition can be used in sealed containers to absorb oxygen in a short time period. The mixed granule is formed by direct mixing rather than pressure molding.
Get Full Report
Access our comprehensive collection of 112 documents related to this technology
