Plant-Derived Desiccants for Food Packaging
Plant-derived desiccants present a significant advancement for sustainable food packaging, with traditional silica gel packets consuming approximately 4.2 kilojoules per gram of water absorbed while exhibiting limited biodegradability. Hemp fiber alternatives demonstrate a remarkable 35% increased moisture absorption capacity through combined surface adsorption and capillary condensation mechanisms, while maintaining structural integrity under varying humidity conditions from 30% to 80% RH.
The fundamental challenge lies in developing plant-based desiccants that match or exceed the performance of synthetic alternatives while offering improved environmental outcomes and food-compatible safety profiles.
This page brings together solutions from recent research—including hemp fiber fillers with porous cloth interfaces, integrated tubular spacer sheaths containing sectioned hygroscopic particles, terpene-infused breathable coatings, and compartmentalized storage systems with controlled gas exchange mechanisms. These and other approaches demonstrate how plant-derived materials can be engineered to provide effective moisture control while addressing biodegradability concerns in modern food packaging applications.
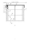
1. Degradable Packaging Box with Integrated Desiccant Compartments and Controlled Gas Exchange Mechanism
NANTONG BOHU PACKAGING PRODUCT CO LTD, Nantong Bohu Packaging Products Co., Ltd., 2025
A degradable moisture-proof packaging box structure that enables controlled gas exchange while maintaining dryness. The box comprises a sealed container, a desiccant storage compartment embedded within the container, and a sealing cover with a desiccant storage compartment. The sealing cover is mounted on the outer sleeve of the container and features a desiccant compartment. The desiccant storage compartment is inserted into the sealed container, and the sealing cover is covered over the container. The gas exchange mechanism allows air to pass through the upper portion of the sealing cover while maintaining the desiccant's moisture-absorbing capacity. The sealing cover is then sealed to the outer sleeve, maintaining atmospheric pressure to prevent moisture loss.
2. Food Packaging Bag with Integrated Desiccant Storage Compartment and Sealed Cavity Design
浙江跨跃印刷有限公司, ZHEJIANG KUAYUE PRINTING CO LTD, 2024
Moisture-proof and environmentally friendly food packaging bag with integrated desiccant storage. The bag features a sealed top and bottom, a cavity for desiccant, and a storage box at the bottom. The bag has a front panel with an installation compartment, allowing users to place desiccant directly inside the bag. The bag's design enables effective moisture control while maintaining food integrity, with the desiccant compartment preventing direct contact with food.
3. Packaging System with Integrated Two-Way Humectant and Terpene-Infused Breathable Coating
DESICCARE INC, 2024
Humidity control system that integrates plant extracts into packaging to enhance flavor and aroma in products while maintaining controlled humidity levels. The system comprises a humidity controller containing a two-way humectant that combines with essential oils or terpenes to provide flavor and aroma benefits. The humectant is incorporated into a package with a breathable coating, such as polyethylene, and can be a pure terpene or a blend of terpenes. The system enables controlled release of flavor and aroma compounds into the environment while maintaining optimal humidity levels, eliminating the need for direct exposure to plant extracts.
4. Humidity Regulation Composition with Desiccant, Aluminosilicate Additive, and Glycerin Humectant
JAIN MANISH, 2023
Desiccant-based humidity regulator composition for maintaining constant relative humidity in containers. The composition contains a desiccant like silica gel with specific water activity, an additive like aluminosilicate, and a humectant like glycerin. The desiccant absorbs moisture to reach desired water activity, the additive forms an aluminosilicate gel, and the humectant prevents lumping. This composition provides prolonged constant humidity control with oxygen absorption properties.
5. Dry Bag with Hemp Fiber Filler and Porous Cloth for Moisture Absorption and Capillary Condensation
浙江艾伦新材料有限公司, ZHEJIANG AILUN NEW MATERIALS CO LTD, 2023
A dry bag containing hemp fiber filler that replaces traditional desiccant blocks while achieving dehumidification through a unique combination of moisture absorption and capillary condensation. The bag incorporates hemp fiber, which is naturally absorbent, and incorporates a specially designed porous cloth that enables efficient moisture transfer. The hemp fiber filler can be recycled, reducing waste and material costs, while the bag's design enables effective dehumidification through both surface absorption and capillary action.
6. Food Packaging Bag with Integrated Tubular Spacer Sheath Containing Sectioned Hygroscopic Particles
Fujian Liangdian Printing Co., Ltd., 2023
Moisture-proof food packaging bag with enhanced desiccant performance through a novel spacer design. The bag comprises a sealed body with an integrated moisture-proof spacer, featuring a tubular sheath containing hygroscopic particles. The sheath is divided into multiple sections with strategically positioned holes, each containing a specific number of particles. The sheath is then filled with a moisture-absorbing material, creating a continuous moisture barrier within the bag. The bag's inner and outer packaging films are fixedly connected, with the moisture-absorbing material strategically positioned between them. This innovative spacer design enables precise control over moisture distribution within the bag, while the hygroscopic particles work in conjunction with the moisture-absorbing material to achieve optimal desiccant performance.
7. Carton Structure with Integrated Desiccant Layer for Moisture Absorption
Hangzhou Yifeng Printing Co., Ltd., 2023
A carton with enhanced moisture protection through desiccant treatment. The carton incorporates a desiccant layer within its structure, where the desiccant absorbs moisture from the environment. This desiccant layer is strategically positioned within the carton's internal compartments to prevent water ingress while maintaining structural integrity. The desiccant treatment enables the carton to maintain its structural integrity even when exposed to moisture, thereby preventing water damage and ensuring the carton remains intact during storage and transportation.
8. Carton Structure with Desiccant-Infused Sponge Liner Bonded to Backboard
Hefei Qinyi Packaging Materials Co., Ltd., 2023
Moisture-proof carton comprising a sponge liner and inner carton, where the sponge liner is positioned between the inner carton and the backboard, and the sponge liner is bonded to the backboard. The sponge liner contains desiccant material to absorb moisture. The sponge liner is positioned inside the carton body, with the inner carton positioned inside the sponge liner, and the backboard positioned at the top of the carton body.
9. Food Packaging Bag with Central Chamber Desiccant and Controlled Airflow Mechanism
Ningbo Lvran New Materials Co., Ltd., 2022
Food packaging bag with desiccant bag that ensures dryness and maintains food freshness. The bag features a sealed outer cover with air holes and a stop piece at the end. The bag has a central chamber containing a desiccant pack, which is sealed within a rubber pad. A sleeve rod connects the central chamber to the cover, while a cover piece seals the opening. This design provides controlled airflow and maintains dry conditions within the packaging, preventing water vapor accumulation and promoting food freshness.
10. Food Packaging Box with Compartmentalized Storage and Desiccant Integration
Longlide Intelligent Technology Co., Ltd., LONGLIDE INTELLIGENT TECHNOLOGY CO LTD, 2022
Food packaging box that prevents moisture absorption, mold growth, and odors in dried food like sea cucumbers and abalones. The box has separate compartments for the food and desiccant. It uses a sealed plastic lid with an inner parafilm seal. The food compartment has multiple independent storage buckets to control portion sizes. The desiccant compartment has a desiccant with anti-odor properties. This prevents moisture, mold, and odors from affecting the food.
11. Food Packaging Structure with Integrated Moisture-Absorbing Layer and Ventilated Inner Layer
LI QUAN, 2022
Food container or packaging structure for maintaining crispiness of fried foods during transportation, comprising a drying function layer positioned between the outer and inner layers. The drying function layer, comprising a moisture-absorbing material, is integrated into the packaging structure's walls and bottom. The structure enables moisture absorption through ventilation holes in the inner layer, thereby maintaining crispiness of food contents without direct contact between the moisture-absorbing material and food.
12. Food Container with Desiccant Layer for Moisture Control and Ventilated Absorbency
Li Quan, QUAN LI, 2022
Food container and packaging structure that maintains crispiness and flavor of freshly prepared food during transportation. The structure features a desiccant layer between the outer and inner layers, with the desiccant strategically positioned on the side walls, upper cover, or bottom of the container. This design enables effective moisture control while preventing direct contact between food and desiccant, thereby preserving the crisp texture and aroma of the food. The desiccant layer is optimized to maximize its absorbency through ventilation holes, ensuring optimal drying performance.
13. Food Storage Device with Automated Airflow System and Desiccant-Integrated Seals
XU WENBIN, 2022
Moisture-proof food storage device with an automated airflow system to prevent mold growth by continuously circulating and drying the air inside. The device has a box with dividing partition, sliding seals, and a rotating shaft. The shaft drives one seal to move down, allowing air into the other cavity through the partition. Then it moves back up, pulling air from that cavity. This exchange circulates and dries the air using desiccant bags in the seals and partition.
14. Composite Food Packaging Sheet with Mesh Sleeve, Desiccant Box, and Multilayered Degradable Moisture-Proof Body
Wang Lijun, LIJUN WANG, 2021
Moisture-proof sheet for food packaging that dehumidifies, antibacterial, and degrades after use to avoid pollution. The sheet has a mesh sleeve, moisture-proof body, and desiccant-filled box. The body has layers for degradation, bacterial inhibition, and odor control. The mesh sleeve prevents sheet absorption and contamination. The box absorbs moisture, covers prevent reabsorption, and the sheet degrades.
15. Desiccant Medium with Non-Particulate Humidity-Attracting Material and Vapor-Permeable Isolation Wrapper
DRY AIR SOLUTIONS LLC, 2021
Desiccant products for food storage that prevent moisture-related damage through controlled humidity management. The products contain a desiccant medium comprising an absorbent substrate treated with a non-particulate humidity-attracting material, with a specially designed wrapper that allows water vapor to pass through while isolating the desiccant medium's aqueous solution from the external environment. This design enables the desiccant to absorb moisture while preventing condensation on food surfaces, maintaining optimal storage conditions.
16. Packaging Box with Internal Drying Mechanism and External Waterproof Membrane
PUTIAN PRINTING CO LTD, Putian Printing Co., Ltd., 2021
Moisture-proof packaging box with an internal drying mechanism and external waterproofing to prevent moisture damage. The box has an outer box with a cavity, an inner box inside, and a drying box inside the inner box. The drying box has ventilation holes and is filled with a desiccant. The outer box has a waterproof membrane. This allows moisture absorption inside the box by desiccants, while preventing external moisture with the membrane.
17. Food Packaging Box with Composite Film Bag, Aluminum Foil Seal, and Non-Woven Fabric Reinforcement
Shanghai Enso Packaging Design Co., Ltd., SHANGHAI ENSO PACKAGING DESIGN CO LTD, 2021
Moisture-proof food packaging box with improved desiccant retention and structural integrity. The box features a composite film packaging bag with desiccant, sealed by aluminum foil, and reinforced with a non-woven fabric at the bottom. The desiccant is strategically positioned with its desiccant side facing the bag, while the non-woven fabric prevents desiccant migration. The desiccant is secured to the bag using a reinforced connection system, with the bag itself attached to the box's outer surface. A reinforced box cover ensures the desiccant remains in place while maintaining structural integrity.
18. Packaging Box with Integrated Desiccant System and Breathable Membrane Partition
中山市博思特包装科技有限公司, 2021
A moisture-proof packaging box with a novel desiccant system that addresses the common issue of desiccant leakage. The box features a partition with a middle layer containing desiccant packs, surrounded by breathable membranes that cover the desiccant grid. This design integrates desiccant packs into the packaging structure, eliminating the need for separate desiccant packages while maintaining moisture control. The breathable membranes ensure airflow while maintaining desiccant effectiveness, while the desiccant packs maintain their desiccant properties within the sealed environment.
19. Humidity Control System with Integrated Plant Extract Infusion for Flavor and Aroma Release
DESICCARE INC, 2021
A humidity control system that combines humidity regulation with flavor and aroma enhancement in applications like food packaging. It involves incorporating plant extracts like essential oils or terpenes into humidity control materials like humectants or two-way moisture control products. This allows flavors to be released gradually into the environment as humidity levels change. The extracts are mixed into the humidity control material at a specific concentration to balance flavor release with moisture control. The infused humidity control material can be used in packaging to maintain humidity levels while also infusing the surrounding environment with flavor and aroma from the plant extracts.
20. Food Packaging Material with Embedded Hygroscopic Compounds for Moisture Equilibrium
PRODUCE-SAFE LTD, 2021
Anti-spoilage food packaging material containing hygroscopic materials like salt, sulfate, magnesium, and calcium to maintain the moisture level inside the package. The hygroscopic materials absorb water vapor from the food and package space to create an equilibrium relative humidity inside the package. This prevents moisture loss, mold growth, and spoilage. The packaging material can be a thin film with the hygroscopic materials embedded or a multi-layer structure with hygroscopic layers. The hygroscopic functionality starts when the package is closed and maintains the moisture level every time it's sealed.
21. Packaging Bags with Starch-Based Biodegradable Polymers and Controlled Photodegradation Properties
JIANGSU CHENGJU BIODEGRADABLE PLASTIC CO LTD, 江苏橙桔生物降解塑料有限公司, 2020
Degradable packaging bags with enhanced drying properties for food packaging. The bags incorporate starch-based biodegradable polymers that combine the benefits of both photodegradable and biodegradable materials. This unique blend enables the bags to degrade through controlled photodegradation while maintaining their biodegradability, resulting in improved drying performance for food packaging.
22. Packaging Carton with Dual-Layer Structure and Integrated Desiccant Compartment
Yiwu Beisha Packaging Co., Ltd., YIWU BEISHA PACKAGING CO LTD, 2020
Packaging carton with integrated drying and desiccant system for food preservation. The carton features a unique dual-layer structure with a separate drying compartment integrated into the carton body. The compartment contains a desiccant and a storage box that can be accessed through a detachable door. This compartment provides a controlled environment for maintaining food quality during transportation. The carton's folding design enables the drying compartment to be easily accessed and utilized as a separate unit.
23. Degradable Fresh-Keeping Bag with Integrated Dual Bag Structure and Third Sealing Strip Venting System
Suzhou Younuo Plastic Industry Co., Ltd., SUZHOU UONE PLASTIC CO LTD, 2020
A degradable fresh-keeping bag that maintains food freshness through controlled water vapor exchange while preventing cross-contamination. The bag comprises a main sealed bag with an integrated auxiliary sealed bag, both containing drying agents. A unique venting system utilizes a third sealing strip positioned between the main and auxiliary bags, with the auxiliary bag's sealing strip positioned on one side of the third strip. This configuration enables direct venting through the third strip while maintaining the main bag's sealing integrity. The bag's internal drying system ensures consistent moisture levels, while the venting system prevents water vapor accumulation and cross-contamination between stored foods.
24. Food Container with Integrated Cylindrical Desiccant Reservoir for Moisture Absorption
PARSONS KEVIN R, 2020
A food container that maintains crispiness and prevents sogginess of food placed inside through controlled moisture management. The container features a desiccant reservoir with a cylindrical shape that projects downward from the lid when sealed, containing desiccant material that absorbs moisture from food. The reservoir is integrated into the container's sidewall, with apertures allowing air flow between the container and reservoir. The desiccant reservoir is designed to maintain its shape and absorb moisture through its unique cylindrical shape, while the lid provides a secure seal.
25. Storage Container with Dual-Plate Humidity Valve for Controlled Moisture Exchange
BUNDESREPUBLIK DEUTSCHLAND VERTR DURCH DAS BUNDESMINISTERIUM DER VERTEIDIGUNG VERTR DURCH DAS BUNDES, 2019
Storage container for moisture-sensitive goods that uses a humidity valve to efficiently use the desiccant and prevent over-drying of the contents. The container has a desiccant container inside to absorb moisture. The humidity valve has two plates, one with high swelling and one with low swelling in moisture. The valve opens when the humidity increases due to the plates' differential expansion. This allows moisture exchange without requiring a separate humidity control system. The valve closes when humidity decreases. This prevents premature desiccant saturation and frequent replacements.
26. Food Packaging Box with Integrated Desiccant and Heat-Conducting Dehumidification System
HEFEI ZHENGXIAOWAN CATERING CO LTD, 合肥蒸小皖餐饮有限公司, 2019
A moisture-proof food packaging box that uses a built-in desiccant and heat conduction to effectively prevent moisture ingress. The box has a dehumidification groove on the top of the body filled with silica gel desiccant. A sealing cover plate closes the groove. The side of the groove away from the interior is covered with a wire mesh and a plastic tube. A heat-conducting plate connects to the mesh. The side of the plate not connected to the mesh has a drying sheet. This setup allows air to flow through the mesh and tube while transferring heat from the plate to dry the air.
27. Food Packaging Box with Dual-Layer Walls and Integrated Desiccant Cavity
HUBEI KEYI COLOR PRINTING PACKING CO LTD, Hubei Keyi Color Printing and Packaging Co., Ltd., 2019
Moisture-proof food packaging box with improved storage duration and food safety. The box comprises a box body with two layers of box walls, an outer wall, and an inner wall. A desiccant is placed in a cavity formed between the outer and inner walls. A through hole is provided in the box body, connecting the cavity to an external space. The through hole and desiccant cavity are designed to create a pressure differential that prevents moisture from entering the box while maintaining optimal desiccant effectiveness.
28. Moisture-Proof Food Packaging Box with Desiccant Compartments and Inverted Buckle Retention System
Xinjiang Uygur Autonomous Region Product Quality Supervision and Inspection Institute, XINJIANG UYGUR AUTONOMOUS REGION PRODUCT QUALITY SUPERVISION AND INSPECTION INSTITUTE, 2019
A moisture-proof food packaging box with enhanced desiccant performance. The box comprises a box body, a moisture-proof sleeve, and an inner box body. The box body features a lower support bar, a cover plate with an upper support bar, and a ventilating plate with supporting legs. The inner box body includes desiccant compartments, a tank with a second desiccant package, and through-holes for the desiccant sleeve. The desiccant sleeve is connected to the box body through an inverted buckle that extends through the through-holes. The buckle features a rubber ring at its outer end, ensuring secure retention of the desiccant package. This design provides improved desiccant distribution and retention within the box, enhancing moisture protection for food products.
29. Compact Desiccant Composition with Specific Proportions of Polyvinyl Alcohol, Silica, Natural Ore, Calcium Sulfate, Polystyrene, Polylactic Acid, Magnesium Oxide, Carbon, Polyacrylamide, Starch, and Water-Absorbent Resin
XUZHOU AIDI FOOD CO LTD, 2019
Desiccant for dried fruits like durian to reduce the problem of the desiccant taking up most of the space when storing dried fruits. The desiccant is a powdered mixture with specific component proportions. It contains polyvinyl alcohol, silica powder, natural ore powder, calcium sulfate, polystyrene, polylactic acid, magnesium oxide, carbon powder, polyacrylamide, starch, and water-absorbent resin. The mixture absorbs moisture from the dried fruit without occupying excessive space.
30. Desiccant Composition Incorporating Carbonized Ginkgo Leaf Residue and Calcium Chloride
SHANGHAI XING LING SCI & TECH PHARMACEUTICAL CO LTD, 2018
A ginkgo leaf filter residue desiccant for effectively removing moisture from materials like food, electronics, and packaging. The desiccant is made by mixing ginkgo leaf filter residue, calcium chloride, sodium hydroxide, calcium oxide, activated carbon, plant starch, flavor, and water. The ginkgo leaf residue is obtained by carbonizing ginkgo leaves, washing, and heating. The desiccant has high moisture absorption capacity, fast drying speed, and can be regenerated.
31. Food Desiccant with Integrated Fast-Acting Dehydration, Controlled Deoxidation, and Antimicrobial Properties
YUAN GUO-SEN, 2018
Food desiccant and preparation method for improving food safety through controlled dehydration. The desiccant combines a fast-acting desiccant with a controlled deoxidation and antimicrobial function, eliminating the need for hazardous materials and reducing packaging-related contamination risks. The desiccant's unique combination enables precise control over dehydration rates, ensuring consistent moisture levels while preventing moisture-related spoilage.
32. Method for Preparing Starch-Based Desiccant with Crosslinked and Combined Edible Components
TANG LINYUAN, 2018
A method for preparing a food desiccant that uses natural and edible materials to create a desiccant for food preservation. The method involves steps like gelatinizing starch, adding oil and polyethylene glycol, crosslinking with trimetaphosphate, washing, drying, and combining with other materials like sepiolite, whey protein isolate, sodium caseinate, glycerin, and potassium sorbate. The resulting desiccant has moisture absorption properties and can be used in food packaging to prevent spoilage and deterioration.
33. Method for Producing Food-Grade Paper Products with Activated Carbon from Distiller's Grains
LIN HAN CHIEN, 2018
A method for producing food-grade paper products that incorporates activated carbon derived from distiller's grains, which is inherently resistant to moisture. The activated carbon, produced through a process combining fermentation and distillation, is added to food-grade paper pulp during the papermaking process. The activated carbon enhances the paper's moisture-proofing properties by controlling water activity, preventing microbial growth, and maintaining food integrity. The resulting paper exhibits superior moisture resistance compared to conventional moisture-proofing agents, making it suitable for food packaging applications.
34. Multi-Layer Packaging with Cellulose Nanofibrils, Clay, and CO2-Releasing Layers on Kraft Paper
UNIVERSIDADE FEDERAL DE LAVRAS, 2018
Smart multi-layer packaging for perishable agricultural products like coffee beans, seeds, and grains that absorbs moisture inside the package to prevent mold growth and releases CO2 to inhibit respiration. The packaging is made by depositing layers on kraft paper using cellulose nanofibrils, clay, starch, CO2-releasing active principles, and a wax coating for waterproofing. The nanofibrils increase moisture barrier, clay improves gas barrier, and the active principles control CO2 levels inside the package.
35. Packaging Box with Separated Desiccant Layer and Moisture Barrier
GUIZHOU CHENGYOUWANGJI SHANYUAN FOOD CO., LTD., 贵州成有王记善沅食品有限公司, 2018
A moisture-proof packaging box that maintains food freshness while preventing direct contact with the packaging material. The box incorporates a desiccant layer that is separated from the food by a moisture barrier, ensuring the food remains dry while the desiccant maintains its desiccant properties. This design prevents moisture transfer between the food and packaging material, while the desiccant maintains its effectiveness.
36. Plant Fiber Desiccant Comprising Zeolite and Activated Carbon Integration
东莞市九绿高分子材料有限公司, DONGGUAN JIULV HIGH POLYMER MATERIAL CO., LTD., 2018
A plant fiber desiccant that significantly enhances moisture absorption and adsorption capacity, while reducing environmental impact. The desiccant comprises a combination of zeolites and activated carbon, with zeolites providing superior adsorption capabilities and activated carbon offering enhanced moisture absorption properties. The desiccant is prepared through a controlled process involving zeolite and activated carbon synthesis, ensuring consistent performance and environmental safety.
37. Desiccant Material with Selective Moisture-Absorbing Pore Structure and Controlled Synthesis Process
ANHUI RUNBANG DRYING EQUIPMENT CO LTD, 2018
Desiccant for preventing moisture-related degradation of electronic components and food packaging. The desiccant comprises a desiccant material with a unique pore structure that selectively absorbs moisture while maintaining structural integrity. The desiccant can be prepared through a controlled chemical synthesis process that preserves its desiccant properties while minimizing environmental impact.
38. Desiccant Composition for Moisture Control in Expanded Food Packaging
JIESHOU BAOJIA PACKAGING MATERIALS CO., LTD., Jieshou City Jiabao Packaging Materials Co., Ltd., 2018
Desiccant for packaging expanded foods that prevents moisture-related issues during storage and transportation. The desiccant absorbs moisture from the food while maintaining a stable environment, preventing oxidation and degradation. The desiccant is particularly effective for puffed foods, which are prone to moisture-related problems. The desiccant is non-toxic and environmentally friendly, eliminating the need for nitrogen gas or other inert gases that can compromise food quality.
39. Moisture-Proof Food Storage Container with Open-Sided Box Body and Shaking Cover for Desiccant Separation
Shaanxi Poly Huaying Packaging Co., Ltd., SHAANXI BAOLI HUAYING PACKAGING CO LTD, 2017
A moisture-proof food storage container with improved desiccant separation and moisture management. The container features an open-sided box body with a central cavity, and a shaking cover with integrated padding. The container's unique design allows desiccant packets to be separated from the food while maintaining effective moisture control. The shaking cover provides additional protection against spills and maintains air circulation. The open sides enable easy access to the desiccant while preventing moisture from entering the container.
40. Packaging Element with Pulp Fiber Layer and Integrated Moisture-Regulating Agents
Filip Tintchev, 2017
Moisture-regulating element for packaging that maintains optimal humidity conditions for moisture-sensitive products. The element comprises a layer of pulp fibers with integrated moisture-regulating agents that draw moisture from the air, preventing condensation and promoting optimal storage conditions. The agents can be naturally occurring materials like salt or naturally occurring compounds, or engineered materials specifically designed for moisture management. This element enables controlled humidity levels while preventing excessive moisture accumulation that can lead to spoilage.
41. Composite Desiccant with Zeolite, Bentonite, and Nano Silver Ion Powder
ZHENG FANG, 2017
Highly effective desiccant for drying applications that absorbs more moisture and has longer storage life compared to conventional desiccants. The desiccant composition contains zeolite, bentonite, diatomaceous earth, starch, bamboo fiber, chitosan, activated alumina, pine bark extract, licorice antioxidant, and nano silver ion powder. The ingredients are mixed and ground to form a composite that absorbs more moisture due to the combination of materials. The antioxidants prevent oxidation during moisture absorption, and the silver ion powder extends storage time.
42. Non-Toxic Food Desiccant Comprising Natural Material Mixture and Associated Preparation Method
YI JIE, 2017
Non-toxic food desiccant formulation and preparation method to replace traditional toxic desiccants like silica gel and calcium oxide in food packaging. The non-toxic desiccant contains a specific mixture of natural materials like sweet potato starch, bentonite, coconut shell powder, tea, cassia seed, ginkgo biloba, jasmine, and bamboo charcoal. The preparation involves grinding and mixing these ingredients, then heating and stirring to form the desiccant.
43. Spherical Desiccant Particles Comprising Montmorillonite Clay Reacted with Hydrochloric Acid and Traditional Chinese Medicine Extract
ANHUI BOSHUO TECHNOLOGY CO LTD, 2017
A green, high-performance desiccant for removing moisture from environments like food products and electronics. The desiccant is made by a unique preparation process that involves reacting montmorillonite clay with hydrochloric acid, extracting traditional Chinese medicine, and mixing the extract with starch and activated carbon to form spherical desiccant particles. The particles are dried to a low moisture content. The green desiccant has improved adsorption capacity compared to traditional desiccants due to the clay reaction and extract addition.
44. Food Packaging Box with Integrated Structural Membrane for Active Moisture Removal
YUNNAN YUEBANG FOOD AND BEVERAGE CO LTD, 云南跃邦食品饮料有限责任公司, 2017
A food packaging box that combines structural integrity with dehumidification properties. The box incorporates a specially designed membrane layer that actively removes moisture from the food environment, maintaining optimal humidity levels while preventing water absorption. This membrane layer is integrated into the box's structure, providing both structural support and moisture management capabilities. The box's unique design enables efficient food preservation while maintaining food quality, making it particularly suitable for perishable food items like fruits and vegetables.
45. Biological Desiccant Comprising Microbially Processed Plant-Derived Materials
HUBEI YIZHI KONJAC BIOTECHNOLOGY CO LTD, WUHAN POLYTECHNIC UNIVERSITY, Hubei Yizhi Konjac Biological Technology Co., Ltd., 2017
A novel biological desiccant derived from plant-based materials, such as konjac powder, which offers enhanced desiccant properties compared to conventional desiccants. The desiccant is produced through a novel process that utilizes microorganisms to break down the plant's natural water-absorbing compounds, creating a highly effective and environmentally friendly desiccant. The process involves fermentation of plant materials in controlled environments, followed by purification and drying steps to produce the desiccant. This biological approach eliminates the need for chemical desiccants and their associated safety concerns while maintaining superior desiccant performance.
46. Integrated Food Packaging with Anticorrosive Tank and Desiccant-Preservative Layer System
ZHIHONG GAO, 2016
Food packaging that combines moisture-proofing, corrosion resistance, and desiccation capabilities through a novel assembly design. The packaging comprises a primary housing with an internal cavity containing an anticorrosive tank, a desiccant layer, and a preservative layer. The primary housing is sealed with a sealing bag, and the secondary housing is connected through a ventilation hole. The design integrates desiccant and preservative layers into the secondary housing, creating a self-contained moisture management system. The assembly features a reinforced bottom plate, side plates, and a reinforced side wall, all integrated into a single, compact package.
47. Desiccant Pack with Integrated Antimicrobial and Odor-Neutralizing Agents
LEE KYU JOO, 2016
A desiccant pack with enhanced dehumidifying capacity, antibacterial, sterilizing, and deodorizing properties, particularly beneficial for food storage. The pack comprises a desiccant material with increased dehumidifying capacity, combined with functional substances like antimicrobial agents and odor-neutralizing agents. The pack is designed to maintain optimal storage conditions while providing comprehensive protection against moisture, microorganisms, and unpleasant odors. The desiccant material absorbs moisture from the air, while the antimicrobial agents prevent microbial growth, and the odor-neutralizing agents eliminate unpleasant odors. The pack is packaged in a material with fine pores that allows for effective moisture transfer while maintaining structural integrity.
48. Food Packaging with Cassette-Integrated Absorption Blocks and Slot-Configured Gate for Controlled Moisture Transfer
XUCHANG UNIVERSITY, Xuchang University, 2016
Moisture-proof food packaging with integrated absorption blocks that maintain food integrity through controlled moisture transfer. The packaging features a unique cassette design with integrated absorption blocks that are strategically positioned to absorb moisture from the food environment. The cassette is mounted within a gate, which is shaped to facilitate moisture transfer through slots. This innovative design enables the packaging to maintain food freshness while preventing moisture migration between compartments.
49. Desiccant Material with Selective Moisture Absorption for Puffed Food Packaging
JIESHOU BAOJIA PACKAGING MATERIALS CO LTD, 2016
A desiccant for puffed food packaging that improves moisture control and prevents oxidation during storage and transportation. The desiccant is a non-toxic, moisture-absorbing material that can be incorporated into the puffed food packaging. It selectively absorbs moisture from the food while maintaining its structural integrity, preventing moisture-related issues like dampness and oxidation that can compromise the product's quality. The desiccant can be incorporated into the packaging material itself or used as a separate component to enhance desiccant performance.
50. Food Container with Bottom-Mounted Desiccant Pack and Ring Beam Structure Featuring Integrated Ventilation Holes
HEILONGJIANG POLYTECHNIC, Heilongjiang Vocational College, 2015
Moisture-proof food containers with desiccant packs and a desiccant-based food compartment. The containers feature a bottom-mounted desiccant pack, a closure with integrated handle, and a ring beam structure with integrated ventilation holes. The bottom plate has multiple spacer plates and ventilation holes, while the upper plate features a base plate and multiple holding positions. The container's design enables multiple desiccant packs to be placed in the bottom compartment, with the upper plate providing additional ventilation and compartmentalization.
Get Full Report
Access our comprehensive collection of 50 documents related to this technology
