Vacuum Packaging for Food Preservation
Food deterioration through oxidation and microbial growth leads to significant waste, with estimates suggesting that 30% of food products spoil before consumption. Traditional packaging methods struggle to maintain optimal atmospheric conditions, particularly for products with varying moisture content and gas exchange requirements.
The fundamental challenge lies in creating reliable vacuum seals while maintaining package integrity and allowing practical access to stored contents.
This page brings together solutions from recent research—including smart vacuum indicators for storage containers, multilayer films with controlled degradation properties, and vacuum skin packaging technologies that prevent film implosion. These and other approaches focus on extending shelf life while maintaining food quality and addressing environmental concerns around packaging materials.
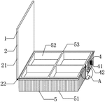
1. Lidded Vacuum Food Storage Container with Pressure-Responsive Visual Indicator and Sealing Mechanism
ZWILLING JA HENCKELS AG, 2024
Vacuum food storage container with an indicator to show if a negative pressure has been achieved inside. The container has a lid with a sealing profile around the edge that contacts the container top when closed. The lid also has an opening with a valve to suck out air and create a sub-atmospheric pressure. A flexible profile connects the lid interior to the edge. When no vacuum is present, the flexible profile holds the interior up. If a vacuum is created, the interior can move down due to the lower pressure. This visual indicator shows if a vacuum has been achieved inside the container.
2. Packaging Material with Low-Haze BOPE/MDOPE Film and Perforations for Controlled Gas Exchange
PERFO KNOWLEDGY B V, PERFO KNOWLEDGY BV, 2024
A packaging material and method for preserving respiring produce like fruits, vegetables, flowers, and herbs by controlling the package atmosphere. The packaging material is a low-haze Biaxially Oriented Poly Ethylene (BOPE) or Mono Directed Oriented poly Ethylene (MDOPE) film. The film has specific perforations to enable gas exchange. The film's carbon dioxide transmission rate is at least 1000 ml/24 hrs per 100g produce. This allows controlling CO2 and O2 levels inside the package to extend shelf life without spoilage. The film's low haze and controlled perforations prevent fogging while preserving quality.
3. Vertical Flexible Packaging Bag with Integrated Air Exhaust Mechanism Comprising Pressing Assembly, One-Way Valve, and Exhaust Pipe
WENZHOU FANGXU PRINTING CO LTD, 2024
Vertical flexible packaging bag with an integrated exhaust mechanism to remove air from the bag and extend shelf life of the contents. The exhaust mechanism has a pressing assembly, one-way valve, and exhaust pipe embedded in the side wall. The pressing assembly has an extrusion frame, eardrums, and springs. The main pipe connects the pressing assembly and valve. The valve allows air out but prevents inward flow. The elbow guides air to the main pipe. This exhaust system discharges bag air without crushing contents.
4. Vacuum Nitrogen Filling Device with Telescoping Rod and Hydraulic Clamping Mechanism for Packaging Bags
SHANGHAI QINDIAN MACHINERY MANUFACTURING CO LTD, SHANGHAI QINDIAN MACHINERY MFG CO LTD, 2023
A vacuum nitrogen filling and preservation device for pre-made dishes that effectively seals and fills packaging bags with nitrogen to keep pre-made dishes fresh. The device has a box with a vacuum nitrogen filling mechanism, telescoping rod, and sealing component with a positioning component to securely hold the packaging bag during filling. It uses hydraulic drives, brackets, and plates to clamp and limit the bag position. This prevents shifting during filling that affects sealing and preservation.
5. Two-Part Packaging System with Controlled Gas Permeability and Integrated Freshness Monitoring for Produce Preservation
ASAHI KASEI CORP, 2023
Preserving fruits and vegetables for longer periods while maintaining freshness by using a two-part packaging system with controlled gas permeability. The inner body houses the produce and the outer body surrounds it. The inner body material has low oxygen and high CO2 permeability to control respiration. The outer body lets gas exchange. This prevents excessive oxygen depletion or CO2 buildup inside. An oxygen absorber can be used inside the outer body. A recording device monitors fruit freshness based on gas composition changes. A control unit adjusts temperature and outer gas based on recorded freshness.
6. Synthetic Resin Film Packaging with Defined Oxygen Transmission Characteristics for Controlled Atmosphere Preservation
SUMITOMO BAKELITE CO LTD, 2023
Preserving the freshness of packaged fruits and vegetables by controlling oxygen levels inside the package. The method involves using a packaging bag made of a synthetic resin film with specific oxygen transmission properties. The bag should have a rate of change in oxygen concentration inside the package after 3 days at 20°C, 50% RH of 0.5% to 400% and an oxygen transmission rate of 2-50,000 cc/m2.day.atm. This allows controlling oxygen levels to prevent spoilage without completely sealing the bag.
7. Container with Non-Return Valve Vents and Vacuum-Sealed Compartment Lid
BIOTYFOOD, 2023
Vacuum storage box for preserving food without requiring cold or hot chains. The box has a container with an inner volume and a lid that seals tightly around the container. The container has vents with non-return valves that connect to the outside environment. The lid has a separate vacuum-sealed compartment. When the lid is closed, air can flow into the inner volume through the lid valve, but gas can't flow back. This allows the inner volume to be sealed and vacuumized when the lid is on, preventing oxidation of stored food. The vents and lid valve let pressure equalize when the lid is open.
8. Vacuum Drawer System with Integrated Pump and Seal Mechanism
JULIUS BLUM GMBH, 2023
A vacuum drawer system that allows food to be stored without refrigeration and prevents spoilage for longer periods of time. The system involves installing a vacuum pump inside a drawer to evacuate the air when the drawer is closed, creating a vacuum seal. This prevents oxygen from reaching the food and slows spoilage. Before opening the drawer, the vacuum is released and the food is ventilated. The vacuum pump is installed in a cover that attaches to the drawer pullout. This converts an existing drawer into a vacuum drawer without modifying the cabinet or refrigerator. It avoids the environmental issues of plastic packaging and reduces food waste.
9. Co-Extruded Multi-Layer Film Bags with Prodegradant-Infused Polyethylene Layers
BRAUKMANN GMBH, 2023
Naturally degradable vacuum-sealable plastic bags that can decompose in the environment after use. The bags have layers made from film materials containing a prodegradant additive like D2W, along with regular polyethylene. The prodegradant enhances biodegradation of the bags when exposed to certain conditions like heat and UV. The bags can store food and seal vacuum-tight. The prodegradant amount is 5% of the polyethylene. The bags are made by co-extrusion, casting, blowing, and molding the film layers.
10. Ethylene/Alpha-Olefin and Cyclic Olefin Copolymer Blend Top Web for Vacuum Skin Packaging
CRYOVAC INC, 2023
Vacuum skin packaging (VSP) method for food products that prevents implosion of the top web during vacuum sealing. The top web film used in VSP has a specific composition to resist implosion when conforming to the product and support surface. The top web contains a blend of ethylene/alpha-olefin copolymer and cyclic olefin copolymer in specific amounts. This blend composition allows the web to conform closely to product shapes without fracturing during vacuum sealing.
11. Method for Oxygen Reduction in Gas Replacement Packaging Using Sequential Evacuation and Nitrogen Flow
TOYO SEIKAN KAISHA LTD, 2023
Packaging method to reduce oxygen in containers after gas replacement packaging of contents. The method involves efficiently removing oxygen from the contents before gas replacement to further reduce oxygen in the container. The contents are placed in a chamber, evacuated, then decompressed while continuing evacuation. Nitrogen is allowed to flow in while decompressing. This removes oxygen from the chamber walls. Then nitrogen is introduced to restore pressure. After that, the contents are taken out and packaged. The decompression/nitrogen flow steps remove more oxygen from the contents and chamber, allowing longer shelf life with reduced oxygen absorption by the container.
12. Reclosable Metal Food Can with Inwardly Directed Sealing Surface and Vacuum Seal Lid Assembly
CROWN PACKAGING TECH INC, CROWN PACKAGING TECHNOLOGY INC, 2023
Reclosable metal food can with a vacuum seal to store perishable foods like infant formula without using plastic. The can has a bead with an inwardly directed sealing surface around the opening. The lid has a curl with a channel and sealing compound. When pressed on, the lid seal engages the bead sealing surface and forms a vacuum seal. The lid can be easily reopened and reclosed without breaking the seal.
13. Cross-Linked Thermoplastic Multilayer Film with Internal Frangible Layer for Vacuum Skin Packaging
ANDREA FANFANI, 2023
Easy-to-open vacuum skin packaging (VSP) for food products that allows simple opening of the package without removing the top film or cutting. The VSP packaging uses a cross-linked thermoplastic multilayer top film with an internal frangible layer that delaminates during opening. The frangible layer contains immiscible polymers that have poor affinity and internal weakness. Cross-linking the film prevents issues with encapsulation and improves formability. The bottom web is a standard VSP web. The cross-linked top film allows easy peeling apart during opening without tearing or encapsulation.
14. Automated Bulk Packaging System with Sealing and Treatment Mechanisms for Perishable Products
RLMB Group, LLC, 2022
Improved methods and apparatuses for sealing and treating perishable products in bulk packaging to protect and preserve them during storage and transport. The methods involve sealing the open top of bulk containers like bins using automated systems. The containers can be cooled before sealing, and nitrogen infused. Sanitizers and functional substances can also be added. The sealing can use devices to collect, twist, and seal the liner, or tape and seal a lid. This provides a leak-proof enclosure for modified atmosphere and treatment.
15. Food Packaging Bag with Multi-Directional Vacuum Suction System
SHANGHAI QINGFENG COLOR PRINTING CO LTD, 2022
Food packaging bag with improved vacuum sealing to prevent spoilage and extend shelf life. The bag has a placement cavity inside the main body with an interlayer between them. The interlayer has a fixed suction pipe with multiple connecting pipes extending into the cavity. This allows vacuuming from multiple directions inside the cavity instead of just the main body, preventing bulging and improving sealing effectiveness. An external pump can be connected to the suction pipe.
16. Food Packaging Device with Venturi Nozzles for Oxygen and Vapor Removal
MULTIVAC SEPP HAGGENMUELLER SE & CO. KG, 2022
Packaging device for food products like trays that has a simple and inexpensive method to remove oxygen and vapor from the packaging before sealing. The device uses Venturi nozzles in the discharge line to create a negative pressure inside the packaging during filling. This aids in vapor purging and improves sealing. The Venturi nozzles allow low-cost oxygen and vapor removal without expensive vacuum pumps. They also prevent damage from sucking in water vapor.
17. Dual-Chamber Vacuum Sealing Machine with Simultaneous Inner and Outer Chamber Air Extraction
ANHUI ANCIENT JICI HALL BIOTECHNOLOGY LIMITED CO, ANHUI ANCIENT JICI HALL BIOTECHNOLOGY LTD CO, 2022
Vacuum sealing machine for food packaging that prevents oxidation and spoilage by ensuring complete vacuum inside the packaging. The machine has a dual chamber setup with a vacuum pump that vacuums both the outer chamber and the inner vacuum chamber simultaneously. This prevents air from re-entering the inner chamber when sealing, avoiding oxidation and spoilage. The air extraction component also acts on the package to remove any residual air.
18. Collapsible Bag Container Assembly with One-Way Valve and Air Extraction Mechanism
ROJAS ENZO, 2022
A consumables container assembly that maintains freshness by evacuating air from the container using an air extracting device. The container has a collapsible, internal bag for containing consumables and a one-way valve. The valve seals the bag when closed but can be moved to openings by applying negative pressure with the extracting device. This sucks air out through the valve openings, creating a vacuum to preserve the consumables.
19. Thermoplastic Film with Lauric Arginate Ethyl Ester Coating
CRYOVAC LLC, 2022
A thermoplastic film for packaging that has one or both surfaces coated with a composition containing lauric arginate ethyl ester (LAE) without any polymer. The LAE coating provides antimicrobial properties to prevent contamination of packaged foods. The coating composition can be a dispersion of LAE in a water, ethanol, isopropyl alcohol, and ethyl acetate mixture. The coated film can be used to make flexible containers, vacuum skin packages, lidded packages, and wrapped packages for food products.
20. Handheld Device with Interchangeable Gas Canisters for Modified Atmosphere Packaging and Gas Content Estimation
GLUP LLC, 2022
Compact handheld device for modified atmosphere packaging (MAP) of perishable items like food to extend shelf life. The device seals containers with vacuum and backfilling gas, using interchangeable gas canisters. It estimates remaining gas in a canister for repeatable gas delivery. The device attaches to containers, seals with negative pressure, backfills with gas, and allows monitoring of canister gas content.
21. Vacuum Sealing and Weight Measurement System with Unique Identifier Scanning for Food Storage Containers
BARATZ OFER, BEN ARI AMIR, BEN-ARI AMIR, 2022
A smart food storage system that tracks and manages perishable food items to reduce waste. The system uses vacuum sealing, weight measurement, and unique identifier scanning to monitor and extend the shelf life of stored food. When a container is placed on the base unit, it seals and measures the weight. By tracking weight changes, the system knows when the contents have been replaced. It also scans unique identifiers on the containers and lids to ensure proper sealing. With this data, it provides freshness insights and alerts when items approach expiration.
22. Refrigerator Door with Integrated Movable Vacuum Chamber for Packaging
Hisense Refrigerator Co., Ltd., KAISHIN ICE BOX CO LTD, Hisense (Shandong) Refrigerator Co., Ltd., 2021
Refrigerator with vacuum packaging capability to improve food preservation without occupying storage space. The refrigerator has a vacuum packaging device inside the door that creates a sealed vacuum chamber. This chamber can move towards the bottom support seat to create a vacuum by extracting the air. Alternatively, it can move away from the bottom seat to allow air relief. The vacuum chamber seals against the bottom seat to create a vacuum or relieve pressure as needed. This allows vacuum packaging of food items in the refrigerator without needing separate vacuum drawers. The vacuum packaging device is integrated into the door to save space.
23. Vacuum Bag with Integrated Vacuum Device and Non-Stick Interior Surfaces
SHENZHEN SONGXIN SILICONE PRODUCTS CO LTD, 2021
Vacuum bag for storing air-sensitive materials like food that can be sealed with a vacuum to prevent spoilage. The bag has a base, peripheral wall with an opening, and a vacuum device on one side. The inner surfaces of the sides have non-stick members to prevent sticking during vacuum sealing. This allows efficient vacuum sealing of the bag without air trapped inside, preventing spoilage and maximizing storage space.
24. Portable Food Packaging Box with Rotatable Cover and Vacuum Mechanism Incorporating One-Way Valves and Pressure Indicator
GUANGZHOU HUAXIA VOCATIONAL COLLEGE, 2021
Portable food packaging box with vacuum capability to extend food shelf life. The box has a rotatable cover, exhaust pipe, one-way valves, operating tube, sliding plates, squeeze rod, and pressure indicator. To vacuum the box, squeeze the rod to slide the inner plate up and suck air between the valves. When the rod is released, the plate slides down to exhaust the air. A pressure indicator lights when the vacuum is achieved.
25. Packaging Box with Integrated Gas-Based Freshness-Keeping System and Hinged Lid
JIANGSU PEIFEITE PACKAGING MAT CO LTD, JIANGSU PEIFEITE PACKAGING MATERIAL CO LTD, 2021
A food preservation packaging box with an integrated freshness-keeping system that uses gas to extend the shelf life of packed food. The box has a hinged lid, internal compartments, a gas filling component, and valves. The compartments contain a stable subarea and a gas storage cavity. The gas filling component connects to the compartments and has valves to fill with freshness-extending gases like carbon dioxide or nitrogen. This creates a sealed environment inside the box with controlled freshness-extending gas to preserve the food.
26. Vacuum Storage Box with Sealable Lid and Detachable One-Way Valve for Air Removal
GUIYANG UNIVERSITY, GUIZHOU ZHUCHENG AGRICULTURAL TECH CO LTD, GUIZHOU ZHUCHENG AGRICULTURAL TECHNOLOGY CO LTD, 2021
A vacuum storage box for preserving fruits and vegetables without refrigeration. The box has a sealable lid that attaches to the body with a buckle. Inside the lid is a detachable one-way valve that connects to a detachable vacuum pump. When attached, the vacuum pump can remove air from the box to create a vacuum seal. This prevents spoilage by removing oxygen and sealing out ethylene gas. The vacuum can be released and the lid removed when access is needed.
27. Breathable Peel-Reseal Film Structure for Multi-Serving Food Packaging
Nazir Mir, 2021
Packaging food products that optimizes the food product life, provides the food product in a ready to eat form, and allows the package with breathable peel-reseal function for multiple servings. The packaging includes an open-open breathable, peelable and resealable film structure that promotes atmospheric conditions within the package that promotes the prolonging of shelf-life of food product and the maintenance of excellent food product quality during the life-cycle of the packaged food product, including throughout the food product processing, and may also allow the food to be served in multiple offerings in situ, allowing maximum quality and nutrient retention.
28. Method for Storing Apple Snacks in Metal Cans Using Air Removal and CO2-N2 Gas Mixture Sealing
National University of Food Technologies, NATIONAL UNIVERSITY OF FOOD TECHNOLOGIES, 2021
Method for storing apple snacks in metal cans to preserve their chemical composition and extend shelf life. The method involves removing air from the container, filling it with a food gas mixture of CO2 and N2 (without oxygen), and sealing the container. The lack of oxygen prevents spoilage bacteria and slows oxidation of the snacks. The CO2 inactivates aerobic microbes while the N2 prevents fats from oxidizing. The vacuum removes air before filling to prevent reintroduction of oxygen. This prevents color, odor, and taste changes during storage.
29. Valve-Integrated Vacuum Food Storage Container with Movable Check Ball and Seal Indicator
SUNBEAM PRODUCTS INC, 2021
Vacuum food storage container system with a valve assembly to allow vacuum sealing to extend freshness and prevent spoilage. The container lid has an opening and adjacent air channel. A valve extends through the opening with a movable check ball. Moving the ball between open and closed positions allows air flow. This lets vacuum sealing using an adapter, but also allows normal storage. An indicator would show if the container is properly sealed.
30. Flexible Foil-Walled Vacuum-Sealed Container with Low-Oxygen Chamber for Pickled Foods
MARCATUS QED INC, 2021
A vacuum-sealed container for pickled foods that improves shelf stability and convenience without refrigeration or artificial preservatives. The container has a flexible foil wall that defines a sealed chamber. The pickled food is filled into the chamber, sealed, and vacuumized to remove air. This creates a low-oxygen environment that slows spoilage. The foil wall prevents moisture loss and keeps the food crunchy. The vacuum seal also prevents contamination and spoilage during transport and storage. The container can be pasteurized to further extend shelf life. The vacuum sealing and pasteurization allow shelf stability without refrigeration and artificial preservatives.
31. Non-Thermal Sterilization and Packaging Method for Cut Vegetables with Controlled Gas Composition and Oxygen Permeability
AIR LIQUIDE JAPAN GK, ROCK FIELD CO LTD, SUMITOMO BAKELITE CO, 2021
Maintaining the freshness of cut vegetables using a method that involves sterilizing the vegetables without heating, packaging them in a synthetic resin sheet material with specific oxygen and carbon dioxide levels, and replacing the gas inside the package with a mixture containing 1-10% oxygen and 3-30% carbon dioxide. The oxygen and carbon dioxide levels immediately after replacing the gas and 24 hours later should be 1-10% and 3-30%, respectively. The oxygen permeation of the packaging material should be 2-50,000 cc/m2*day at 23°C and 60% RH. This controlled gas composition and oxygen permeability helps prevent spoilage and maintain freshness.
32. Vacuum Packaging Box with Nitrogen Filling and Internal Cushioning Storage Box
HUNAN HUXIANGGONG FOOD CO LTD, 2021
A nitrogen-filled vacuum packaging box for preserving food that addresses the issues of squashing and oxygen permeability in traditional packaging methods. The box has a sealing knob to evacuate air, a nitrogen filling feature, and an internal storage box. This allows vacuum sealing, nitrogen filling, and double nitrogen protection to preserve food without squishing or oxidation. The inner storage box provides cushioning and shock absorption.
33. Vacuum-Packed High-Moisture Food Snacks with Controlled Water Activity and Oxygen-Impermeable Membrane
TEXAS TECH UNIVERSITY SYSTEM, 2021
Shelf-stable, high-moisture food snacks that require no preservatives, gas flushing, or oxygen absorbers. The snacks are made by drying a pre-pasteurized food item to a water activity between 0.86 and 0.94, then vacuum-packing it in an oxygen-impermeable membrane. The drying step pasteurizes the food. This allows natural, moist, chewy snacks without preservatives or additives.
34. Thermoformed Support with Through Holes for Controlled Atmosphere Packaging System
CRYOVAC LLC, 2021
A packaging system for vacuum and modified atmosphere packaging of products like food items. The system involves a support with through holes and a process to make it. The support is used in packaging with a film where vacuum or modified atmosphere is created. The holes allow air extraction during vacuum packaging. The support can be made by thermoforming a sheet material. The packaging process involves introducing gas into the package through the holes while simultaneously sealing the film. This maintains a controlled atmosphere inside the package.
35. Portable Vacuum Packaging Device with Integrated Sealing Mechanism and Hinged Enclosure
SHANDONG KANGBEITE FOOD PACKAGING MACHINERY CO LTD, 2021
Compact and movable vacuum packaging machine for food production that combines vacuum sealing and packaging in a single portable device. The machine has a box with a hinged door, internal vacuum mechanism, sealing mechanism on top, wheel on bottom, and supporting mechanism. This allows vacuum extraction, sealing, and portability in a compact unit without separating vacuum and sealing steps.
36. High Pressure and Temperature Vacuum Sealing Process for Precooked Food Preservation
ANGELO PIETRO ROSSIN, 2021
A process to create high quality, long shelf life precooked food products like meat, fish, vegetables, etc. that are perceived as having better quality ingredients and no harmful additives. The process involves vacuum packaging the food at high pressure and temperature, then holding it at a constant temperature for a specific time. This process preserves the food quality and texture without using preservatives. The vacuum sealing removes oxygen to prevent spoilage, and the high pressure and temperature denatures bacteria to further preserve the food. The constant temperature holding prevents further cooking and texture loss.
37. Vacuum Storage Chamber System with Independent Pressure and Oxygen Level Control
Ripelocker LLC, 2021
Controlling environmental conditions inside vacuum storage chambers to preserve perishable products like fruits and vegetables. The system optimizes energy efficiency, reduced senescence, and resource allocation. It independently controls pressure and oxygen levels inside the chambers using techniques like pumping, oxygen enrichment, and slow oxygen leakage. This allows lower pressure for gas diffusion without anaerobic damage. The system also flushes chambers periodically to remove harmful gases.
38. Food Packaging with Overlapping Sealing Edges and PET/PE/EVOH/PE Laminate Configuration
BERKHOUT LANGEVELD B V, BERKHOUT LANGEVELD BV, 2021
A packaging design for food products that provides long-lasting freshness and shelf life without sacrificing consumer appeal. The packaging has a unique configuration with overlapping sealing edges on the sides and bottom that enclose the largest possible volume. This eliminates the need for a separate closing flap that can curl and reduce sealing effectiveness. The overlapping edges seal tightly and reseal if opened. The sealing edge width is 2-5mm and the foil thickness is 15-80um. The overlapping edges are made of a PET/PE/EVOH/PE laminate.
39. Packaging Bag with Partitioned Exhaust Valve and Integrated Dehumidifying Chamber
CHUANPEN INTERNATIONAL PACKING CO LTD, 2020
A packaging bag with a freshness preservation exhaust valve that reduces air and moisture inside the bag to extend the shelf life of packaged dried foods. The exhaust valve has a body with a partition separating a chamber from a filling chamber. The chamber has a plate and flange with seals. The filling chamber has a breathable film and seals. When packaging, the outer seals are removed and the inner seal is adhered to the bag. Squeezing the bag moves the plate to exhaust air through the outer hole. The preservative in the filling chamber can dehumidify or deoxidize remaining air. This prevents deterioration from residual air.
40. Rigid Container Vacuum Sealing with Low-Pressure Blended Food and Water for Sterilization
AUXILIAR CONSERVERA SA, 2020
Vacuum packaging of food products in rigid containers that allows longer shelf life without deterioration of quality and without the need for excess covering liquids. The method involves packing the food in a container, mixing it with a small amount of water, closing the container under vacuum, and sterilizing the packed food by heating it in the sealed container. The vacuum prevents oxygen degradation and overcooking during sterilization. The water vaporizes during cooling, removing excess moisture. The vacuum level is maintained by blending the food and water at low pressure. The closed container can then be opened without breaking seals or tearing covers.
41. Two-Stage Vacuum Packaging Method for Organic Meat Using Nitrogen-Carbon Dioxide Gas Flush
Sun Beef, LLC, 2020
Packaging organic meat in low-oxygen bags to extend shelf life without using preservatives or non-organic materials. The process involves placing pre-portioned organic meat on trays, wrapping them in film, and putting multiple wrapped trays in a bag filled with air. The air is evacuated in two stages using a vacuum, then the bag is flushed with a gas blend of nitrogen and carbon dioxide but without carbon monoxide. The bag is sealed to preserve the meat for 18 days in the unopened state, and another 2 days after opening.
42. Packaging System with Oxygen Scavengers and Nitrogen Sealing for Meat Preservation
GAURAV TEWARI, 2020
A packaging system, method, and apparatus for increasing the shelf-life of retail-ready meat cuts by reducing oxygen levels to prevent discoloration. The system involves placing the meat cuts in trays with oxygen scavengers like iron-based packs, then sealing the trays in bags with high nitrogen gas. This rapidly drops the oxygen to zero and extends shelf-life beyond what vacuum packing alone can provide. The scavengers restore the meat's ability to prevent discoloration by removing oxygen.
43. Storage Bags with Integrated Vacuum and Gas Replacement Ports Featuring Check Valves
HAGY GIKEN KK, 2020
Gas replacement storage bags for preventing oxidation and spoilage of packaged foods. The bags have a vacuum suction port and a gas replacement port with built-in check valves. To degas, a vacuum pump is connected to the vacuum port and the air is removed. Then, a gas replacement pump is connected to the gas port and the bag is filled with inert gas. This prevents oxygen from entering the bag and preserves the contents.
44. Vacuum Packaging Machine with Heat Sealing Mechanism and Chamber Drawer Assembly
Sambo Tech Co., Ltd., 2020
Vacuum packaging machine that seals food bags using heat instead of air to prevent spoilage. The machine has a vacuum chamber with a drawer to hold the bags. Inside the chamber, there are supports to hold the bag openings and a cylinder to raise a heat sealing device over them. When the chamber is vacuumed, the cylinder raises to seal the bags with heat. This prevents air from entering during storage.
45. Container System with Integrated Oxygen and Moisture Scavenger and Barrier Layers
JPMORGAN CHASE BANK NA, 2020
Container system to improve shelf life of products sensitive to oxygen and moisture like food, drugs, supplements, cosmetics, and tobacco. The containers have a scavenger element to absorb oxygen and moisture, along with barrier layers on the walls and bottom to prevent ingress. This prevents shortening of product shelf life due to trapped oxygen and moisture. The scavenger can be placed inside the container, the product added, then sealed. The containers can also be flushed with inert gas and hermetically sealed.
46. Annular Flap Valve Assembly with Stem and Sliding Button Mechanism for Vacuum Sealing Food Storage Containers
SUNBEAM PRODUCTS INC, 2020
A valve assembly for vacuum sealing food storage containers to preserve food freshness. The valve has an annular flap covering air holes in the lid. A stem extends into the container. When vacuum sealing, the stem engages the flap and pulls it up to uncover the holes. When releasing vacuum, a button slides the flap down to cover the holes. This allows vacuum sealing and releasing without breaking the seal. A vacuum adapter attaches to the lid to connect to a vacuum pump.
47. Apparatus with Joining Elements for Sealed Package Formation with Air Discharge Passage Closure
CORAZZA S P A, CORAZZA S.P.A, 2019
A process and apparatus for making a sealed package for containing a food product like processed cheese that reduces air inside the package to prevent spoilage. The apparatus has joining elements that close the air discharge passage inside the package after filling. The joining elements have elongated sections that extend into the container to create expansion pockets for the product. This prevents excess air from being trapped and extending the product's shelf life. The joining elements seal the air discharge passage once the product is inside, preventing air from entering.
48. Apple Snack Packaging with Modified Atmosphere and Oxygen Scavenger in Multi-layered Rigid Container
National University of Food Technologies, 2019
Storing apple snacks in a modified atmosphere to preserve their quality and extend shelf life. The method involves vacuum packing the snacks in a rigid container, filling the container with a food gas mixture of CO2 and N2, and sealing it. This removes oxygen and prevents bacteria growth. An oxygen scavenger sachet is also included to absorb any residual oxygen. The container has multiple layers of cardboard, aluminum, and polyethylene to prevent moisture, light, and gas leakage.
49. Gas-Tight Packaging Method for Apple Snacks Using CO2-N2 Mixture in Specific Ratios
National University of Food Technologies, 2019
Storing apple snacks in a gaseous medium to preserve the original chemical composition and extend shelf life without oxygen. The method involves packing apple snacks in a light, gas-tight, moisture-proof package. Air is removed by vacuum and the package filled with a food gas mix of CO2 and N2 in ratios of 20-40% CO2 and 80-60% N2. This prevents oxidation, mold, fungus, and fermentation by inhibiting aerobic microbes and oxygen.
50. Fruit Snack Packaging Method with Vacuum Air Removal, CO2-N2 Gas Mixture, and Oxygen Scavenger Integration
National University of Food Technologies, 2019
Preserving the quality and extending the shelf life of fruit snacks without using oxygen in the packaging. The method involves removing air from the packaging using vacuum, filling it with a food-grade gas mixture composed of carbon dioxide (CO2) and nitrogen (N2) in specific ratios, and sealing the package. An oxygen scavenger sachet is also placed in the package to absorb any remaining oxygen. This prevents oxidation and spoilage of the fruit snacks during storage.
Get Full Report
Access our comprehensive collection of 72 documents related to this technology
