Acoustic Attenuation in HVAC Ducting
Sound propagation in HVAC ducting systems presents multifaceted acoustic challenges, with airflow-generated noise typically measuring between 35-65 dBA depending on velocity and system configuration. Measurements indicate that untreated sheet metal ducting can transmit both airborne noise and structure-borne vibrations across distances exceeding 30 meters with minimal natural attenuation. Breakout noise from ducting surfaces and regenerated noise at outlets further compound these acoustic phenomena, creating complex sound fields that affect occupant comfort in built environments.
The fundamental engineering challenge involves attenuating broadband acoustic energy while maintaining proper airflow parameters and minimizing system pressure drop.
This page brings together solutions from recent research—including micro-perforated acoustic metamaterials with anisotropic properties, resonance-targeted cavity sections, spiral ventilation components with optimized geometries, and active noise cancellation systems employing dual microphone configurations. These and other approaches demonstrate how acoustic engineering principles can be applied to create practical HVAC systems that balance airflow requirements with effective noise control.
1. Duct Silencer with Sectional Sound Absorbing Element and Integrated Fastening Mechanism
NABER HOLDING GMBH & CO, 2024
Silencer for reducing noise in ducts like HVAC systems. The silencer has a sound absorbing damping element that extends along the duct length. It also has a holding device that secures the damping element in sections. This allows the silencer to be installed in ducts like flat ducts. The holding device has a fastening mechanism to secure the silencer in the duct.
2. Air Duct Assembly with Spiral Case and Wind Wheel for Noise Reduction
AUX Air Conditioner Co., Ltd., AUX AIR-CONDITIONING CO LTD, 2023
Air duct assembly for mobile air conditioners that reduces noise compared to conventional designs. The duct has a spiral case with a wind wheel that rotates inside. The spiral case has two lateral walls forming the air outlet. The wind wheel extends into the outlet and creates a gap between the walls. The length of the outlet is 1.5-2 times the gap. This configuration allows the wheel to move freely without rubbing the walls, reducing noise.
3. Air Duct Assembly with Spiral Case and Wind Wheel for Noise-Reduced Airflow
AUX Air Conditioner Co., Ltd., AUX AIR-CONDITIONING CO LTD, 2023
Air duct assembly for air conditioners that reduces noise while maintaining airflow. The assembly has a spiral case with a wind wheel inside that rotates. The wind wheel extends through an air outlet formed by adjacent lateral walls. The distance between the walls is in a range that balances airflow and noise. The contained angle between the walls is also optimized. This configuration allows efficient airflow without excessive noise.
4. Ventilation System Air Distributor with Integrated Noise-Reducing Baffles, Curved Duct, and Diffuser
WUHAN UNIV OF SCIENCE AND TECHNOLOGY, WUHAN UNIVERSITY OF SCIENCE AND TECHNOLOGY, WUHAN ZHIGONG TECH CO LTD, 2023
Ventilation system air distributor that reduces noise at the air outlet. The distributor has a unique design with noise elimination features. It comprises an air inlet pipe, adjusting mechanism, inlet module, connecting module, exhaust module, and exhaust pipe. The inlet module has an internal structure with baffles and fins to silence the incoming air. The connecting module connects the inlet and exhaust modules and has a duct with a curved shape to further reduce noise. The exhaust module has an outlet with a diffuser to spread the air quietly. This internal noise reduction eliminates the need for external mufflers.
5. Ventilation Duct Noise Reduction Device with Dual Microphone System and Dynamic Echo Cancellation
Qingdao University of Technology, QINGDAO UNIVERSITY OF TECHNOLOGY, 2023
Active noise reduction device for ventilation ducts that can simultaneously reduce noise and allow acoustic interaction. The device uses a reference microphone inside the duct, an error microphone at the opening, and a digital signal processor. The reference microphone picks up noise inside the duct, the error microphone picks up noise from the duct opening, as well as external sounds. The processor generates an inverted noise signal based on the reference microphone input and plays it through a loudspeaker. This cancels out the noise radiating from the duct opening. The processor also processes the external sound input to remove duct noise. This allows clear acoustic interaction while reducing duct noise. The processor dynamically adjusts parameters using the echo cancellation module to improve stability.
6. Air Duct Noise Reduction Device with Sound-Absorbing Layer and Spiral Ventilation Disc
CHINA COMPUTER ROOM EQUIPMENT ENG CO LTD, CHINA COMPUTER-ROOM EQUIPMENT ENGINEERING CO LTD, 2023
Noise reduction device and method for air ducts that effectively reduces noise levels in ventilation systems without impeding airflow. The device is installed inside an air duct and consists of a sound-absorbing layer, a support bracket, a block, and a spiral ventilation disc. The sound-absorbing layer is fixed to the duct inner wall and has holes for sound absorption. The block provides support for the layer. The spiral ventilation disc attaches to the block and duct supports. The disc's spiraling shape helps maintain airflow while reducing noise. A buffer assembly on the block further reduces noise transmission.
7. Ventilation Duct with Adjustable Honeycomb Panel-Based Noise Reduction Mechanism
NANJING SUNBURSTE BUILDING TECH CO LTD, NANJING SUNBURSTE BUILDING TECHNOLOGY CO LTD, 2023
A noise-reducing ventilation duct with adjustable noise reduction level. The duct has an inner cylinder with honeycomb panels inside, surrounded by the main duct. The cylinder has a wind gathering plate at one end and a support plate at the other. The duct also has a fan. By adjusting the position of a sound insulation material between the plates, the alignment of air holes can be changed to increase noise reduction. The fan, wind gathering plate, and support plate keep airflow through the duct. This allows regulating noise reduction as external noise levels change.
8. Ventilation Duct Silencing System with Resonance-Targeted Cavity Sections and Sound-Absorbing Material
FUJIFILM CORP, 2022
Silencing system to reduce noise from ventilation ducts in buildings like homes and offices. It uses silencers installed in the ducts to suppress resonant frequencies. The silencers have cavity sections with openings that connect to the duct. They contain sound-absorbing material. By placing the silencers where duct resonance occurs, they convert duct-resonant frequencies into heat instead of amplifying them. The silencer opening is sized to allow duct resonance while preventing silencer resonance. This enables broadband noise reduction without duct length restrictions. The silencers can be integrated into air volume adjusters.
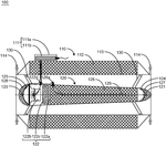
9. HVAC Duct Noise Control System with Anisotropic Micro-Perforated Acoustic Metamaterials
ACOUSTIC METAMATERIALS INC, 2022
Acoustic metamaterial noise control system for HVAC ducts that reduces noise propagation through ducted HVAC systems by using micro-perforated acoustic metamaterials. The system combines absorptive materials with acoustic metamaterial principles to significantly reduce sound radiation within or emanating from ducts. The metamaterial blocks are placed at duct ends and contain stacked micro-perforated sheets with specific dimensions and spacing to absorb and reflect sound waves. The metamaterials have anisotropic acoustic properties engineered using transformation acoustics theory to enhance noise reduction over broadband frequencies.
10. Silencing Pipe Group with Noise Attenuator and Three-Way Connection for Air Intake Ducts
Zhejiang Nafon Purification Technology Co., Ltd., Zhejiang Yuhuan Nafu Purification Technology Co., Ltd., ZHEJIANG NAFLOW PURIFICATION TECHNOLOGY CO LTD, 2022
Silencing pipe group for reducing noise from air intake ducts in buildings. The group consists of a main duct, a silencing pipe, and a noise attenuator. The silencing pipe is fixed to the main duct and extends in front of the air outlet. The noise attenuator is a three-way connection pipe that can be closed to further reduce noise at the outlet. The silencing pipe and attenuator create turbulence and decay to mitigate noise transmission from the main duct. The attenuator allows closing the outlet to further attenuate noise. This group can be installed on ducted fresh air systems to significantly reduce indoor noise levels.
11. Air Duct Assembly with Honeycomb Guide Pipe for Noise Reduction
GREE ELECTRIC APPLIANCES INC OF ZHUHAI, GREE ELECTRIC APPLIANCES INC.OF ZHUHAI, 2022
Air duct assembly for air conditioners that reduces noise compared to conventional designs. The duct has a honeycomb-shaped guide pipe inserted into the duct wall. The open end of the guide pipe connects to the main duct, and the closed end is sealed. This diverts airflow away from the duct wall at the volute tongue where noise is generated during fan rotation. The honeycomb shape reduces turbulence and noise compared to a smooth duct wall.
12. HVAC Duct with Microperforated Sections Having Specified Flow Resistance
3M INNOVATIVE PROPERTIES CO, 2022
Reducing noise in HVAC ducts and other airflow systems using microperforated sections. The ducts have a non-perforated section followed by a section with microperforations. The microperforations have an average flow resistance of 50-8000 MKS Rayls. The microperforated section can be inserted into existing ducts or used in new ducts. The microperforations reduce noise compared to solid ducts by allowing some sound to leak out. The higher flow resistance of the microperforations compared to solid ducts prevents major airflow disruption.
13. Ceiling-Mounted Air Conditioner with Integrated Noise-Reducing Duct Structure and Parallel Air Passages
ANHUI MEIBO INTELLIGENT ELECTRIC APPLIANCE GROUP LIMITED CO, ANHUI MEIBO INTELLIGENT ELECTRIC APPLIANCE GROUP LTD CO, 2022
Noise reduction structure for ceiling mounted air conditioners to significantly reduce noise levels compared to conventional designs. The structure involves a specialized air duct design in the indoor unit of the air conditioner. The duct has parallel air passages inside the duct walls, which allows direct airflow through the ducts without a separate fan. The ducts are wrapped in noise dampening material to further reduce vibrations and airflow noise. This reduces wind noise and vibrations from the evaporator coils. The ducts also have flexible fins to absorb and dampen pressure fluctuations. The noise reduction is done inside the ducts instead of adding external silencers, which saves space.
14. Muffler with Rotatable Internal Silencing Sheets for Adjustable Insertion Loss
Ningbo Yuanhai Bochuang Technology Co., Ltd., NINGBO YUANHAI BOCHUANG TECHNOLOGY CO LTD, 2022
Muffler with adjustable performance for ventilation systems that allows the noise reduction capability to be dynamically adjusted based on airflow conditions. The muffler has a mechanism to rotate the internal silencing sheets, increasing or decreasing their separation distance to change the insertion loss. This allows optimizing noise reduction at varying air volumes and prevents decline in acoustic performance as flow increases. The rotating mechanism is driven externally to synchronously move the silencing sheets.
15. Modular Silencer Panel with Perforated Plastic Side Wall for Acoustic Absorption
General Electric Company, GENERAL ELECTRIC CO, 2021
A lightweight, modular, and cost-effective silencer panel for reducing noise in ducts and pipes. The panel has a plastic perforated side wall instead of a heavy steel enclosure. The plastic allows sound waves to propagate into the acoustic absorbing material through the perforations. The panels can be easily connected together to form a larger silencer. They slide into a duct frame rather than being custom-welded in place.
16. Noise Reduction Distribution Box with Perforated Wall for Airflow and Sound Attenuation
ZKZS ELECTRONIC TECH CO LTD, ZKZS ELECTRONIC TECHNOLOGY CO LTD, 2021
Noise reduction distribution box, air conditioning piping system, and air conditioner to improve noise control and stability. The noise reduction distribution box has two ports, one connected to the air conditioner and one to the duct, with a perforated wall between them. This allows airflow while attenuating noise. The perforations are small and dense to prevent low frequency impedance. This suppresses duct noise without needing active speakers. The perforated wall prevents crosstalk between the two ports.
17. Duct-Internal Noise Reduction Device with Absorptive Panels and Protruding Fixing Members
SAMSUNG HEAVY IND, SAMSUNG HEAVY IND CO LTD, 2021
A noise reduction device for ducts that effectively reduces noise generated inside the ducts without removing and replacing sections of the duct. The device is installed inside the duct and consists of multiple noise panels that absorb incoming noise and multiple fixing members that protrude from the duct and connect to the noise panels to hold them in place. This allows reducing duct noise without wasting duct sections, minimizing cost and installation time compared to removing and replacing sections.
18. HVAC Unit Insert with Labyrinth Passageway and Acoustically Absorbing Material
ROBERT BOSCH GMBH, ROBERT BOSCH LLC, 2021
Reducing noise in residential or commercial HVAC and heat pump units by using an insert with a labyrinth passageway lined with acoustically absorbing material. The insert goes inside the housing and surrounds components like the fan, compressor, and heat exchanger. The labyrinth passageway causes the sound wave to reflect multiple times before exiting the housing, attenuating the noise. The insert also has perforated panels in strategic locations to further attenuate specific frequencies.
19. HVAC Duct Muffler with Spiral Sound Absorbing Panels and Vibration-Securing Mechanisms
LUO YINGBIN, 2020
Muffler for HVAC systems that reduces noise more effectively compared to traditional mufflers. The muffler is installed inside the HVAC ducts and uses spiral-shaped sound absorbing panels to divert air flow and reduce impact noise. The panels are fixed to the duct walls using adhesive. This muffler design also uses clamping rods and positioning rods to secure the muffler components in place, preventing vibration and further noise. The sound-absorbing sponge lining on the duct walls provides additional noise reduction.
20. Ducted Air Conditioner with In-Duct Active Noise Cancellation System
QINGDAO HISENSE HITACHI AIR CONDITIONING SYSTEM CO LTD, 2020
Ducted air conditioner with active noise reduction to improve user comfort. It uses a noise detection device in the duct to sense the conditioner's operating noise. An adjustable noise reduction device is placed in the duct after the detection device. The controller analyzes the detected noise and generates an anti-phase noise to cancel it. This reduces the overall noise level inside the building when air flows through the duct.
21. Flow Duct Silencer with Rotating Impeller and Variable Speed Control
KOMPETENZZENTRUM DAS VIRTUELLE FAHRZEUG, KOMPETENZZENTRUM-DAS VIRTUELLE FAHRZEUG, 2020
Compact flow duct silencer for reducing noise in air ducts like HVAC systems, exhaust pipes, and intake manifolds without causing significant back pressure. The silencer uses a rotating impeller inside a chamber in the duct. The impeller closes off the duct cross-section as it rotates, reflecting sound waves back towards the source. A speed controller adjusts the impeller rotation to minimize back pressure and pulsations. This replaces the original loud source with a quieter tonal source that is independent of the duct noise. An optional active noise control system can further reduce tonal components.
22. Air Duct Splitter with Resonant Perforated Plate and Dual Absorbers for Low Frequency Noise Attenuation
KOREA RESEARCH INSTITUTE OF STANDARDS AND SCIENCE, SIPAN, 2019
Splitter for air conditioning ducts that reduces noise levels in the low frequency range of 125 Hz or less. The splitter has three components: a first sound absorber, a second sound absorber, and a perforated plate sandwiched between them. The perforated plate vibrates at a resonant frequency. The first and second absorbers enhance the resonance effect. This provides significant low frequency sound absorption in addition to the porous absorbers' middle/high frequency absorption.
23. Noise Attenuation System with Sound-Absorbing Mufflers for Openings in Structures
NOISEOUT INC, 2019
Noise attenuation system for structures like buildings with openings for devices like HVAC ducts or lights that can't be fully enclosed. The system involves using specialized noise-absorbing mufflers positioned around the openings to attenuate noise without affecting transmission loss. The mufflers have inner surfaces lined with sound-absorbing material to capture and absorb noise emitted from the devices. This prevents direct acoustic paths from the devices through the openings. The mufflers are designed based on wavelength and suppression level to match the device's noise.
24. Ventilation Pipeline Noise Reduction Device with Upstream Detection and Autocontrol Feedback for Phase-Opposed Noise Cancellation
SHANGHAI MARINE DIESEL ENGINE RES INSTITUTE, SHANGHAI MARINE DIESEL ENGINE RESEARCH INSTITUTE, 2019
A noise reduction device for ventilation systems that actively cancels out noise in pipelines. The device has an upstream sensor to detect the primary noise from the airflow. It generates an opposite secondary noise inside the device that cancels out the primary noise. This is achieved through autocontrol feedback using a downstream sensor. The secondary noise is made in phase opposition to the primary noise to cancel it out. The device can be mounted in pipelines to reduce airflow noise in ventilation systems.
25. Anisotropic Stack of Perforated Sheets in HVAC Ducts for Acoustic Metamaterial Noise Reduction
ACOUSTIC METAMETERIALS INC, 2019
Acoustic metamaterials for noise reduction in HVAC ducts. The technique uses an anisotropic stack of perforated sheets inside ducts to significantly reduce noise compared to conventional methods. The stack has at least three perforated sheets with gaps between them. The sheets have small diameter perforations and thin thickness. The gaps and perforation size are designed based on acoustic metamaterial theory to create anisotropic acoustic properties. The stack reflects and absorbs sound waves back into the duct instead of transmitting through.
26. Cabinet Air Conditioner with Split Airflow Path and Offset Heat Exchanger Outlet
TCL Air Conditioner Co., Ltd., TCL AIR CONDITIONER CO LTD, 2024
Cabinet air conditioner design that reduces noise by buffering the airflow out of the heat exchanger before it enters the ducts. The air conditioner has a shell with an air inlet in the rear and an air outlet in the front. The airflow path is split into two sections. The heat exchanger is between the cross-flow fan and rear shell. The air outlet of the heat exchanger is not opposite the air inlet of the through-flow duct. This causes the air to turn or shift as it leaves the heat exchanger before entering the ducts. This buffering reduces the peak air speeds and noise at the outlet.
27. Compressor Airflow Noise Reduction Using Cavity-Resonator with Tensioned Acoustic Resistive Screen
DYSON TECHNOLOGY LTD, 2024
Reducing noise in devices with compressors that generate airflow by using a cavity adjacent to the airflow duct to create a noise-damping resonator. An acoustic resistive screen is held in tension over an aperture in the wall separating the duct and cavity. The screen is configured to resist airflow between the duct and cavity, forming a resonator with the cavity. The screen properties are optimized for the device geometry to maximize noise attenuation.
28. Air Duct Airflow Regulation Structure with Rotatable Adjustment Part and Positioning Features
AUX Air Conditioner Co., Ltd., AUX AIR-CONDITIONING CO LTD, 2024
Airflow regulation structure for air ducts in air conditioners to prevent unbalanced airflow and surging noise at the outlet. The structure allows adjustment of the airflow direction inside the duct. It consists of a rotatable adjustment part that can be fixed in place using positioning features. The adjustment part has a rotating shaft that can be turned to change the duct airflow path. Limiting grooves and protrusions prevent the shaft from rotating too far and ensure stable adjustment. This prevents unbalanced airflow and surging noise at the duct outlet.
29. Fan and Air Conditioner with Two-Section Stepped Volute Tongue for Enhanced Airflow Transition
AUX Air Conditioner Co., Ltd., AUX AIR-CONDITIONING CO LTD, 2024
A fan and air conditioner design with improved airflow and reduced noise compared to conventional designs. The fan has a two-section volute tongue that steps in height. The first section extends along the air duct opening and the second section extends from the end of the first section. This smooths the airflow transition and reduces vortex formation compared to a single tongue. The air conditioner has a matching stepped volute tongue in the duct cover and seat. This joint configuration improves airflow in the duct and reduces noise compared to conventional ducts.
30. Fan Module with Central Backflow Prevention Body for Compact Ventilation Systems
Ziehl-Abegg SE, ZEAL ABEG SA, 2024
Fan module for reducing backflow and losses in compact ventilation systems like air ducts. The module has a fan with a backflow prevention body on the pressure side. The body has a shape that prevents air from flowing back towards the fan in the central region near the axis. This prevents toroidal vortices and losses that can occur with freewheeling fans in narrow ducts. The backflow prevention body can be removably attached to the fan's existing mounting. Placing multiple modules close together in ducts without significant flow loss.
31. Air Conditioner Fresh Air Module with Motor-Isolating Partition and Separate Compartment
GD MIDEA AIR-CONDITIONING EQUIPMENT CO LTD, 2024
Fresh air module for air conditioners that reduces noise compared to conventional modules. The module has a housing with an inlet and outlet, a fan assembly with a motor and wind wheel, and a partition between the motor and fresh air duct. The motor is outside the duct in a separate compartment. This isolates the motor noise from the airflow, preventing amplification and reducing overall noise.
32. Acoustic Panel System with Porous Housing and Rear Wall Separation for HVAC Chambers
Johnson Controls Tyco IP Holdings LLP, 2024
Acoustic panel system for HVAC systems that improves acoustic performance, installation ease, and accessibility compared to conventional panels. The system uses an acoustic absorptive panel with a porous housing covering the absorptive material on all sides. The housing allows sound waves to engage the absorber while also providing structure. The panel is mounted in HVAC chambers with gaps between the panel rear and chamber wall. Channels attach to the chamber to slide the panel in. This separates the panel from the wall for better absorption and access.
33. Air Port Device with Perforated Silencing Cover and Integrated Airflow Guide Cone
Zhuhai Gree Electric Appliances Co., Ltd., GREE ELECTRIC APPLIANCES INC OF ZHUHAI, 2024
Air port device and air conditioning unit with reduced noise. The air port device has a silencing cover inside the air duct between the inlet and outlet. The cover has holes for airflow and disperses it to reduce turbulence. It also has a cone to guide air uniformly. This reduces noise by scattering and refracting sound, lowering flow velocity, and absorbing noise with cotton.
34. Air Duct with Detachable Volute Covers and Extendable Tongues for Controlled Airflow Expansion
AUX Air Conditioner Co., Ltd., AUX AIR-CONDITIONING CO LTD, 2024
Air duct design for air conditioners that reduces vortex wind phenomenon, noise, and improves user experience compared to conventional spiral case air ducts. The duct has detachable volute covers and seats that form extendable tongues to gradually expand airflow from the inner duct to the outer duct. This reduces vortices and noise compared to sudden expansion in conventional ducts. The outer tongue extends further than the inner tongue and the outer duct opening is smaller. The tongues' lengths and angles are balanced to further reduce noise.
35. Air Duct with Extended Outlet Frame and Modified Geometry for Wall-Mounted Air Conditioner Indoor Unit
ZHEJIANG ZHONGGUANG ELECTRIC APPLIANCES GROUP CO LTD, 2024
An air duct design for a wall-mounted air conditioner indoor unit that improves airflow and reduces noise. The duct has components like an evaporator, wind wheel, volute, front and rear tongues, and air deflector arranged from the inlet to outlet. The key difference is that the air outlet frame extends from the front and rear tongues and has a greater horizontal distance between the impeller and the front plate compared to traditional designs. This modified outlet geometry improves airflow and reduces noise compared to conventional duct configurations.
36. Ventilation Duct Silencing System with Internal Silencers Exhibiting Specific Elasticity Modulus and Anti-Resonance Properties
FUJIFILM CORP, 2023
A silencing system for ventilation ducts that provides both high ventilation and soundproofing performance. The system uses silencers inside ducts instead of external resonators. The silencers have specific properties to prevent resonance amplification and noise generation. The silencers have a standardized elasticity modulus range of 0 < Re[Bn] < 1 and Im[Bn] > 0 inside the duct. This prevents resonance and amplification while still allowing airflow. The silencer geometry and materials also prevent wind noise generation compared to external resonators.
37. Ventilation Duct Silencers with Cavity-Connected Porous Material for Balanced Sound Insulation and Airflow
FUJIFILM CORP, 2023
A silencing system to prevent negative pressure buildup in enclosed spaces while still allowing ventilation. The system uses silencers installed in ventilation ducts that have specific geometry to balance sound insulation and airflow. The silencers have a cavity connected to the duct and a porous material inside. This configuration allows sound absorption without restricting airflow. It satisfies a specific relationship between opening area and transmission loss to prevent negative pressure issues.
38. Indoor Air Conditioner Unit with Fan Diameter and Duct Outlet Dimension Relationships
Zhuhai Lingda Compressor Co., Ltd., Zhuhai Kaibang Motor Manufacturing Co., Ltd., ZHUHAI LAMDA COMPRESSORS CO LTD, 2023
Indoor unit for air conditioners that improves airflow performance and reduces noise. The indoor unit has a duct with opposing walls and a fan inside. The fan diameter, duct outlet length, and width have specific relationships. This limits fan size based on outlet dimensions. It allows optimizing fan size for duct dimensions to improve airflow and reduce noise compared to arbitrary fan sizes. The relationships are: d = a*L2 - b*L2 = 2 - c (fan diameter vs outlet length) and d = a1 - e*a1^3 + f = 2 + g (fan diameter vs outlet width) with a=2.85-2.95, b=1.51e-3-1.61e-3, c=1241.3-1261.3, e=6.05-6.
39. Air Conditioner Duct Device with Vibration Absorbing and Dust Sedimentation Mechanisms
JILIN PROVINCE HONGXING RAIL VEHICLE & EQUIPMENT CO LTD, 2023
Air conditioner duct damping device to reduce vibration and noise in air conditioning systems. The device consists of an external mechanism, an internal collection mechanism, and a bottom sedimentation mechanism. The external mechanism stabilizes the device during operation and counteracts vibration. The internal collection mechanism has a rotating main board and outer board that absorb vibrations. The bottom sedimentation mechanism collects dust and uses water to form cakes that prevent dust spreading. The device is installed in air conditioner ducts to dampen vibrations and reduce noise.
40. Curvilinear Duct Liner with Compressible Core and Elastic Outer Layer
JOHNS MANVILLE, 2023
Universal duct liner insulation for curvilinear ducts like oval ducts in HVAC systems that provides a smooth and consistent airstream surface with improved airflow efficiency compared to traditional insulation. The insulation is a compressible layer sandwiched between an inner insulation layer and an outer elastically deformable layer. The compressible layer conforms to the curved duct shape when compressed by the outer layer, preventing drooping and sagging. This ensures uniform insulation thickness around the duct interior, reducing inconsistencies compared to loose insulation.
41. Indoor Air Conditioner Unit with Pivoting Volute Section for Adjustable Airflow Duct Width
HAIER SMART HOME CO LTD, QINGDAO HAIER AIR CONDITIONER GENERAL CORP LTD, QINGDAO HAIER AIR CONDITIONING ELECTRONIC CO LTD, 2023
Air conditioner indoor unit and air conditioner with reduced noise at low airflow rates. The indoor unit has a volute with a pivoting section that can rotate to decrease the width of the airflow duct. This forces removal of the return flow area and prevents airflow discontinuities and drafts at low speeds. The pivoting duct section reduces noise by eliminating turbulent areas and airflow separation at low flow rates.
42. Duct and Tube Noise Reduction with Resonant Structures for Phase-Offset Sound Absorption
FUJIFILM CORP, 2023
Compact noise reduction using resonant structures in ducts and tubes. The soundproof structure body has a resonant structure inside a duct or tube that absorbs sound. The resonant structure is positioned and sized to optimize absorption by offsetting the phase difference between reflected waves from the resonator and duct opening. This requires the resonant frequency and duct opening reflections to have a phase difference within π/3.
43. PET Composite Folding Plate Periodic Structure with Resonance Units for Low Frequency Noise Suppression in Automotive Air Ducts
CHINA FAW GROUP CORP, 2023
PET composite folding plate type periodic structure noise reduction air duct for automotive air conditioners that provides improved low frequency noise reduction compared to conventional PET piping. The duct uses a folded plate acoustic crystal structure inside the duct to suppress sound transmission in the low frequency range. The structure consists of a folded PET plate with resonance units that vibrate in response to sound waves. When the plate frequency matches the resonance units, energy is localized in the resonators and the plate vibration is restrained. This forms a band gap where sound waves are suppressed. The folded plate structure is embedded in the duct using injection molding.
44. Composite Air Duct with Multi-Layered Sound-Absorbing and Insulating Exterior
TIANJIN TONGSHENG ELECTROMECHANICAL TECH DEVELOPMENT CO LTD, TIANJIN TONGSHENG ELECTROMECHANICAL TECHNOLOGY DEVELOPMENT CO LTD, 2023
A sound-absorbing composite air duct for reducing noise in ventilation systems. The duct has multiple pipes with connected flanges at the ends and an asbestos insulation layer on the outer surface. The asbestos is covered by a first sound-absorbing layer, followed by a protective layer. This layered construction on the duct's exterior provides sound absorption to mitigate noise transmission through the duct.
45. Air Duct with Flanged Sections Incorporating Trumpet-Shaped Sound-Absorbing Plates and Joint Dampers
CHINA CONSTRUCTION EIGHTH ENG DIVISION DEVELOPMENT CONSTRUCTION CO LTD, CHINA CONSTRUCTION EIGHTH ENGINEERING DIVISION DEVELOPMENT CONSTRUCTION CO LTD, 2023
A sound-reducing air duct design for ventilation systems that uses damping and diversion techniques to reduce noise levels. The duct has straight and curved sections connected by flanges. The curved section has multiple sound-absorbing plates with trumpet shapes. The straight section has dampers at the joints. This setup absorbs noise from the airflow passing through the duct elbows and reduces noise generated by the duct itself. The trumpet-shaped plates divert the airflow with larger openings facing the flow direction to further absorb noise using resistance.
46. Concentric Tube Structure with Inner Tube Placement for Broadband Sound Attenuation and Air Permeability
FUJIFILM CORP, 2023
Soundproof structure body for reducing sound in a wide frequency band while maintaining air permeability in a tube structure like ducts. The body has a smaller section tube inside a larger section tube. It generates reliable sound reduction at frequencies where resonance is least likely in the outer tube. This is achieved by positioning a smaller section tube inside the outer tube at specific points to disrupt resonance. By designing the tube cross-sections and inner tube placement, the body provides wide-band transmission loss without reducing airflow.
47. Air Conditioner with Internal Flow Guide for Ducting
LG Electronics Inc., LG ELECTRONICS INC, 2023
Air conditioner with an internal guide to reduce flow separation and noise in the ducting. The guide directs the airflow from the heat exchanger to the air blowing module instead of allowing it to contact the case walls. This prevents flow separation, pressure loss, and noise compared to the prior art. The guide also prevents cold air from circulating inside the case and freezing the exterior.
48. Ventilation Duct Muffler with Dual-Layer Sound Insulating Cotton and Auxiliary Pipe
YANGZHOU XINYANG VENTILATION EQUIPMENT CO LTD, 2023
Low wind noise muffler for basement ventilation ducts that reduces noise levels from basement ventilation systems. The muffler has a pipe body with an inner layer of sound insulating cotton. An attached pipe is connected to the main pipe on the outside. The attached pipe also has a sound insulating cotton layer. When wind pressure is high, some of the wind enters the attached pipe through the main pipe. It is further silenced and noise reduced by the second sound insulating cotton layer in the attached pipe. This reduces wind speed in the main pipe and further lowers the noise levels.
49. Air Duct with Integrated Bell-Shaped Absorption Device for Pressure Pulsation Reduction
HANON SYSTEMS, 2023
Reducing pressure pulsations in air conditioning systems by integrating the absorption device into the air duct instead of using a separate housing. The absorption device is shaped like a bell with a smaller opening connected to the duct by a widening transition area. The bell diameter gradually decreases towards the bottom, matching the duct diameter there. This smooths the flow transition and reduces pulsations compared to a separate housing.
50. Volute-Shaped Air Duct with Internal Sawtooth Flow Divider
TCL AIR CONDITIONER CO LTD, TCL AIR CONDITIONER ZHONGSHAN CO LTD, 2023
Air duct component and air conditioner design to reduce duct noise and improve comfort. The duct has a volute shape with an outlet and a flow guiding piece inside. The guiding piece has a sawtooth shape on one side near the volute. When air exits the volute, it first contacts the sawtooth section. The sawtooth divides the air flow into smaller sections that touch different parts, reducing concentration of impact and noise. The sawtooth shape also creates different wave paths between the air sections to prevent superposition and cancelation.
Get Full Report
Access our comprehensive collection of 131 documents related to this technology
