Photocatalytic Air Filtration in HVAC Systems
Modern HVAC systems must handle an increasingly complex mix of indoor air pollutants, from volatile organic compounds (VOCs) to microbial contaminants. Traditional filtration methods struggle to eliminate molecular-level pollutants, while photocatalytic oxidation can achieve removal efficiencies above 90% for many VOCs when properly implemented with sufficient catalyst surface area and light exposure time.
The fundamental challenge lies in balancing photocatalytic reaction efficiency with practical constraints of airflow resistance, light distribution, and catalyst durability in real HVAC installations.
This page brings together solutions from recent research—including multi-layered photocatalytic architectures, dual-light-activated catalyst systems, nanotube-structured transition metal oxides, and integrated particle-photocatalytic-carbon filter arrangements. These and other approaches focus on optimizing both pollutant removal effectiveness and system integration within existing HVAC infrastructure.
1. Foldable Air Filter Device with Multi-Layered Photocatalytic Architecture and Dual-Sided Light Sources
SAMSUNG ELECTRONICS CO LTD, 2024
Air filter and purifying device that combines advanced photocatalytic technology with a compact, foldable design. The device features a multi-layered filter architecture with both UV and visible light sources, where the UV light source is positioned at one side of the filter and the visible light source is positioned at the other. The filter layers are arranged in a specific pattern to maximize photocatalytic activity while maintaining airflow. The device can be integrated into various applications such as air purifiers, water purifiers, refrigerators, and washing machines, providing comprehensive air and water purification capabilities.
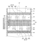
2. Air Purification Device with Folded Filter Assembly and Dual-Light-Activated Photocatalytic Layers
SAMSUNG ELECTRONICS CO LTD, 2024
Air purification device with integrated UV and photocatalytic components for enhanced air cleanliness. The device comprises a folded filter assembly with a static electricity-enhanced filter layer and a photocatalytic filter layer containing titanium dioxide, tungsten oxide, or zinc oxide photocatalysts. The device incorporates a UV light source and visible light source for simultaneous illumination of the photocatalysts. The photocatalysts are positioned in separate regions of the filter layer, with the UV light source positioned on one side and the visible light source on the other. This configuration enables optimal photocatalytic activity while maintaining air flow through the device.
3. Air Purification Device with Dual-Surface Photocatalyst Configuration and Combined Electrostatic Adsorption
SAMSUNG ELECTRONICS CO LTD, 2024
Air purification device that combines electrostatic adsorption with photocatalytic oxidation to achieve enhanced air purification. The device comprises an air filter with two distinct photocatalytic regions: one with titanium dioxide (TiO2) for hydrophobic contaminants and another with copper-based photocatalysts for hydrophilic contaminants. The TiO2 photocatalyst layer is positioned on one surface of the filter, while the copper-based photocatalysts are positioned on the other surface. The device incorporates a UV light source module that can operate in conjunction with a visible light source module. The device provides improved air purification performance by leveraging both electrostatic adsorption and photocatalytic oxidation mechanisms.
4. Filter Module with Integrated Photocatalytic and Dust Collection Layers in Tubular Configuration
LEE JUNG MIN, 2024
A filter module for air purifiers that combines multiple air purification functions in a single housing. The module comprises a hollow tube-shaped filter with a photocatalytic layer that enables air purification through UV light activation, and a dust collection filter with a titanium oxide layer that captures airborne particles. The module is mounted within the air purifier's housing, with the photocatalytic filter positioned at the top and the dust collection filter at the bottom. The module's unique design allows the photocatalytic filter to be fixedly supported by the dust collection filter, while maintaining optimal airflow through the hollow tube structure.
5. Air Treatment Device with Photocatalytic Filter and Integrated Light Source for Sterilization
DAEWOO COMPRESSOR CO LTD, 주식회사 대우컴프레셔, 2023
Air treatment device that improves air purification efficiency by killing bacteria and viruses remaining in the filter. The device includes a frame having an inlet for air to flow in and an outlet for the air to be discharged; an air processing unit disposed inside the frame and configured to process air introduced through the inlet; and a sterilizing unit that sterilizes air introduced through the inlet, wherein the sterilizing unit includes a photocatalytic filter, a light source unit capable of irradiating light to the photocatalyst filter, and a sterilization unit that sterilizes air introduced through the inlet.
6. Photocatalytic Air Purifier with Nanotube-Structured Transition Metal Oxide Plates
SAMSUNG ELECTRONICS CO LTD, 삼성전자주식회사, 2023
Photocatalytic air purifier with enhanced light efficiency using nanotube-structured transition metal oxides. The device comprises a photocatalytic filter with multiple nanotube-plate arrangements, where each plate features a nanotube structure with a hollow space through which air can pass. The plates are arranged in a specific pattern to optimize light absorption and air flow. The photocatalytic filter can be integrated into a compact air conditioner, featuring a space between the plates for air circulation. The nanotube structure enables superior light absorption and surface area for photocatalytic reactions, while the hollow spaces enhance airflow.
7. Flat Folded Support with Dual-Sided Photocatalytic Coating for Air Cleaning in Vehicle Air Conditioning Systems
MAHLE INTERNATIONAL GMBH, 2023
Air cleaning device for motor vehicle air conditioning systems that addresses traditional limitations of photocatalytic air filters. The device employs a flat, folded support with integrated photocatalytic coating on both sides, ensuring consistent exposure to pollutants and odors. This design enables superior removal of gases and odors compared to traditional photocatalytic filters, particularly in environments with high pollutant concentrations like motor vehicle interiors.
8. Three-Stage Vehicle Air Conditioning Filter System with Sequential Particle, Photocatalytic, and Activated Carbon Filters
MAHLE INT GMBH, 2023
Three-stage filter system for cleaning air in vehicle air conditioning systems. The system has a particle filter, a photocatalytic filter device, and an activated carbon filter in sequence. This allows progressively finer filtration of particles, odors, and gases. The photocatalytic filter device contains catalyst material that breaks down odor-causing substances. The system can also have a recirculating air path that bypasses the particle filter and feeds back cleaned air for further filtration by the photocatalytic and carbon filters.
9. Integrated Air Purifier Filter Module with Photocatalytic and Titanium Oxide Layers
LEE JEOUNGMIN, 2023
A filter module for air purifiers that combines multiple air purification functions in a single housing. The module comprises a hollow tubular filter, a photocatalytic filter, and a titanium oxide layer, all integrated into a single unit. The photocatalytic filter uses ultraviolet light to break down pollutants, while the titanium oxide layer acts as a natural photocatalyst. The module features a detachable upper filter holder and a permanent magnet attachment point, allowing the filter to be easily installed and removed. The design enables efficient air purification through multiple stages of filtration, with the photocatalytic filter providing additional antimicrobial properties.
10. Air Purifying Filter with Bent Multi-Dimensional Structure and Integrated Photocatalytic, Adsorptive, and Sterilizing Layers
SAMSUNG ELECTRONICS CO LTD, 2023
Multifunctional air purifying filter with enhanced performance through integrated photocatalytic, adsorptive, and sterilizing capabilities. The filter incorporates a breathable support layer, mesh layer, and filter layer featuring a bent multiple-dimension design, which enables optimal airflow management while maintaining pressure differential. The filter layer incorporates photocatalytic, adsorptive, and sterilizing materials, including titanium dioxide, zeolite, and copper-based compounds, respectively, to achieve comprehensive air purification. The design enables improved performance compared to conventional filter configurations while maintaining compact size.
11. Composite Photocatalyst Structure with Enhanced Surface Area and Structured Secondary Photocatalyst Arrangement
SAMSUNG ELECTRONICS CO LTD, 2022
A composite photocatalyst structure that enables continuous removal of gaseous pollutants from air under ambient temperature and pressure conditions, while maintaining high photocatalytic activity. The structure comprises a primary photocatalyst with enhanced surface area and band gap energy, supported by secondary photocatalyst particles with superior photocatalytic activity. The secondary photocatalyst particles are arranged in a structured arrangement on the primary photocatalyst surface, creating a synergistic photocatalytic environment. This composite photocatalyst structure enables efficient decomposition of pollutants at room temperature, while maintaining the photocatalytic activity of the primary photocatalyst.
12. Photocatalyst Comprising Metal Oxide on Metal Oxide Particle with Glucose and Sodium Hydroxide Impregnation and Surface Fluorination
SAMSUNG ELECTRONICS CO LTD, 2022
A photocatalyst for air purification that enables continuous, efficient removal of pollutants without secondary regeneration steps. The photocatalyst comprises a metal oxide supported on a surface of a metal oxide particle, where the metal oxide particle is prepared through a process that includes impregnation with glucose and sodium hydroxide followed by surface fluorination. This photocatalyst achieves enhanced decomposition efficiency of gaseous pollutants through its unique surface chemistry, which enables selective oxidation/reduction reactions while minimizing secondary pollution. The photocatalyst can be used in ceramic filters and air purification devices, offering a continuous and reliable solution for air purification applications.
13. Air Filtration Device with UV-Activated Photocatalytic Nanoparticle Filter System
OKYAY ALI KEMAL, 2022
Air filtration device with antimicrobial properties using photocatalytic nanoparticles. The device incorporates a closed chamber housing with an inlet and outlet, a fan for air exchange, and a radiation source positioned to deliver UV light through a filter containing photocatalytic nanoparticles. The filter's photocatalytic surface converts UV radiation into reactive radicals that degrade airborne microorganisms, while the fan provides controlled airflow. The device features filter slots for frequent filter replacement, enabling continuous antimicrobial protection.
14. Air Conditioning System with Integrated Photocatalytic Air Purification Module and Sequential Air Filtration
SOLYTECH ENTERPRISE COROPRATION, 2022
Air conditioner with integrated air purification that simultaneously regulates indoor temperature and humidity. The system comprises an air conditioner unit with an air inlet and air outlet, an air purification module positioned adjacent to the inlet, and an air filter located on the side of the purification module. The purification module contains a photocatalyst carrier and UV light source, while the air filter is positioned on the other side. When the air conditioner operates, the purification module processes the air through both purification and heating/cooling functions, while the air filter captures pollutants from the purified air before it enters the unit. This integrated approach enables both temperature control and air purification capabilities.
15. Photocatalytic Filter System with Light-Activated Mesh Substrate for Air Purification
DENSO CORP, 2022
Air purifier with a unique photocatalytic filter system that utilizes a light-emitting unit to activate the photocatalytic material. The filter comprises a mesh-shaped substrate that contains the photocatalyst, which is activated by light emitted from the light-emitting unit. This activated photocatalyst converts pollutants into harmless gases, while the mesh structure allows air to pass through while maintaining the photocatalyst's position.
16. Matrix-Arranged Photocatalytic Air Filter with Integrated Flow Channels and Sensor-Activated Chambers
ZHIWEI ZHAO, Zhao Zhiwei, 2022
A photocatalytic air purification filter element that combines air filtration with photocatalytic degradation of harmful gases. The element comprises multiple filter units arranged in a matrix, with each unit featuring a retention chamber that houses a photocatalytic material. The retention chambers are connected through a network of air flow channels that create a unique flow pattern. The element's air inlet is connected to a gas flow sensor, while the outlet is connected to a quality sensor. The photocatalytic material in each retention chamber is activated by UV light, where it undergoes photocatalytic degradation of pollutants. The element's air flow channels create a dynamic flow pattern that enhances the photocatalytic process, while maintaining air circulation.
17. Concentric Cylindrical Filter Assembly with Spring-Loaded Base for Modular Media Replacement
FIELD CONTROLS LLC, 2022
Concentric filter arrangement for air treatment systems that enables easy replacement of filter media while maintaining system performance. The arrangement comprises a pre-filter layer, a smaller particle filtration layer, a carbon layer, and a photocatalytic layer, arranged in a continuous cylindrical configuration. The filter arrangement is secured to a frame with a spring-loaded base that allows the lower segment to be raised, creating a compact, cylindrical housing. This design enables seamless replacement of filter components while maintaining airflow through the system.
18. Multi-Layer Air Purifier Filter Assembly with Integrated Photocatalytic and Ventilation Structures
南方科技大学, SOUTHERN UNIVERSITY OF SCIENCE AND TECHNOLOGY, 深圳市康弘智能健康科技股份有限公司, 2022
Air purifier filter assembly with enhanced photocatalytic performance through a novel multi-layer design. The assembly features a ventilation duct with integrated sterilization and purification net structures, where a photocatalytic material layer is attached to each net. This layer stores and releases active oxygen groups generated by UV illumination, enabling continuous pollutant removal even in absence of light. The photocatalytic material layer achieves superior photocatalytic activity compared to traditional photocatalysts, enabling long-lasting purification performance. The assembly integrates a ventilation system with the purification net structures, allowing continuous air purification through both mechanical and photocatalytic means.
19. Air Purifier Filter Assembly with Multi-Layered Photocatalytic and Sterilization Layers Incorporating Ag Nanoparticles
Shenzhen Kanghong Intelligent Health Technology Co., Ltd., 2022
Air purifier filter assembly with enhanced photocatalytic performance through a multi-layered design. The assembly comprises a housing, ventilation duct, and a filter assembly with a three-stage purification net structure. The filter assembly incorporates a sterilization layer and a photocatalytic layer, where Ag nanoparticles and photocatalytic materials are strategically integrated into the filter medium. The three-stage purification net structure features an air inlet, a first sterilization layer, a second sterilization layer, and a third sterilization layer, with the sterilization layers strategically positioned to maximize airflow contact. The filter assembly is designed for improved air purification efficiency and user experience, with the sterilization and photocatalytic layers working in tandem to eliminate airborne contaminants.
20. Photocatalytic Oxidation System with Sunshade-Integrated Photocatalyst Layer
BAYERISCHE MOTOREN WERKE AG, 2021
A method for purifying air in vehicles through photocatalytic oxidation of pollutant compounds using a sunshade. The method integrates a photocatalytic layer onto a substrate material, where the photocatalyst particles react with air to produce hydroxyl radicals. The sunshade, with its integrated photocatalytic layer, provides both UV light protection and air circulation. When the sunshade is retracted, the photocatalyst layer remains exposed to UV light, enabling continuous oxidation of pollutants. The system can be integrated with conventional HVAC systems for optimal performance.
21. HVAC Filter System with Sequential Primary and Activated Carbon Filters and Integrated Ultraviolet Lamp
张阳, YANG ZHANG, 2021
A new HVAC filter system that addresses the challenge of air sterilization in HVAC systems. The system comprises a filter box with inlet and outlet pipes, a primary filter screen, an activated carbon filter, and an ultraviolet lamp. The primary filter screen is positioned at the front of the box, while the activated carbon filter is positioned at the rear. The ultraviolet lamp is connected between the primary and activated carbon filters, and the filter box has a wind deflector to direct airflow. The system achieves effective air sterilization through the combination of these components, providing a comprehensive solution for HVAC applications where air purification is critical.
22. Air Purification Device with Dual-Sided Photocatalytic Filter Irradiation System
DENSO CORP, 2021
Air purification device that optimizes light distribution across a photocatalytic filter. The device comprises a photocatalytic filter with two irradiation members, one positioned upstream of the air inflow surface and the other downstream of the air outflow surface. The irradiation members are arranged to face the portion of the air outflow surface that is different from the highest light intensity area, ensuring optimal light distribution across the filter while minimizing ventilation resistance.
23. Compact Air Purification Unit with Integrated Photocatalytic Filter and Heat Exchanger
SENSE WIN INDUSTRIAL CO LTD, 2021
Air purification system that provides effective air filtration without occupying floor space. The system comprises a compact air purification unit with integrated air intake and exhaust, a photocatalytic filter, and a dedicated ventilation system. The unit incorporates a heat exchanger and a machine body within a single enclosure, enabling efficient air purification while maintaining minimal footprint.
24. Photocatalytic Air Purification System with Mesh-Walled Chamber and Multi-Layer Photocatalyst Coating
SHANG HONNG TECHNOLOGY CO LTD, 2021
A photocatalytic air purification system with enhanced airflow efficiency and purification effectiveness. The system features a specially designed chamber with mesh walls and a reaction chamber that incorporates a photocatalytic layer on all surfaces. The mesh walls and reaction chamber walls are coated with titanium dioxide, zinc oxide, or tungsten oxide photocatalysts, while the chamber's interior is filled with particulate matter. This multi-layered design increases airflow interaction with the photocatalyst, enhancing purification efficiency by capturing airborne contaminants.
25. Photocatalytic Air Purification System with UV Light Source, Charged Particle Dust Collection, and Substrate-Supported Photocatalytic Material
KOREA PHOTONICS TECHNOLOGY INSTITUTE, 2021
A photocatalytic air purification system that combines a UV light source with a photocatalytic material to remove airborne pollutants. The system features a UV light source unit with a spaced photocatalytic material, a dust collection unit that generates charged particles through UV light, and a fan system to circulate the air. The photocatalytic material is supported by a substrate, which can be flexible or rigid, and the system incorporates a control unit to manage fan operation. The system achieves enhanced pollutant removal through the photocatalytic material's ability to neutralize airborne contaminants, including VOCs, viruses, and bacteria, while maintaining a safe and healthy indoor environment.
26. Filter Screen with Integrated Photocatalyst Layer for Enhanced Pollutant Degradation
GUANGXI WUXING MATERIAL TECHNOLOGY CO LTD, 广西五行材料科技有限公司, 2020
A photocatalyst-coated filter screen for air purification systems that enhances the efficiency of photocatalytic air cleaning. The filter incorporates a photocatalyst layer on the filter medium, which enables continuous degradation of pollutants like formaldehyde, benzene, and VOCs through photocatalytic reactions. The photocatalyst layer is integrated into the filter medium, eliminating the need for separate photocatalytic units. This design enables one-pass air purification, significantly improving the system's overall performance compared to traditional photocatalytic devices.
27. Air Cleaning Apparatus with UV-Transmitting Collection Filter and Photocatalyst Supporting Filter
NIKKISO CO LTD, 2020
Air cleaning apparatus that optimizes UV light utilization for both dust collection and virus inactivation. The apparatus employs a collection filter that transmits UV light of a specific wavelength, while a photocatalyst supporting filter absorbs and converts UV light to produce active photocatalysts. The UV light is directed through the collection filter to the photocatalyst supporting filter, where it enables efficient inactivation of airborne pathogens. This dual-function approach ensures both dust collection and virus elimination through the same UV light source, eliminating the need for separate UV light sources for each component.
28. Air Purifier with Tubular Photocatalytic Section and Catalytic Activated Carbon Fins
UNIV LANZHOU JIAOTONG, 2019
Air purifier with enhanced photocatalytic function that improves air purification efficiency and reduces operating costs. The air purifier incorporates a tubular photocatalytic section within its filter assembly, featuring a central photocatalyst film and catalytic activated carbon fins. The photocatalytic section is arranged in an orderly manner with its entrances facing the filter layer, and is supported by a central axis. The photocatalytic section utilizes UV light to degrade pollutants, while the catalytic activated carbon enhances the reaction area. This innovative design combines the benefits of photocatalytic technology with traditional filter technology, enabling faster pollutant removal rates and lower operating costs compared to traditional filter-based systems.
29. Air Purification System with Integrated Photoelectrochemical Filter and Dynamic Airflow Control Mechanisms
MOLEKULE INC, 2019
Air purification system that enhances photoelectrochemical air purification through controlled airflow patterns. The system integrates a photoelectrochemical filter assembly with an intelligent airflow control system that dynamically regulates airflow to optimize pollutant oxidation. The system employs both passive and active airflow control mechanisms to enhance residence time of pollutants near the filter assembly, thereby increasing filtration efficiency. The system incorporates vanes to generate hydrodynamic mixing within the enclosed space, enabling efficient pollutant removal while maintaining system integrity.
30. Air Purification Filter with Photocatalytic Medium and UV-Reflective Layer for Controlled Ozone Generation
4C CO LTD, 2018
Air purification filter with enhanced sterilization and cleaning capabilities through photocatalytic action. The filter incorporates a UV lamp, a photocatalytic filter medium, and a reflective layer that minimizes helium gas release. The photocatalytic medium converts UV radiation into ozone-reducing active compounds while the reflective layer at the filter's outer corner enhances UV absorption, reducing the amount of generated ozone. The filter's photocatalytic and reflective design creates a self-sustaining cycle of sterilization and cleaning, while maintaining a refreshing environment.
31. Air Purifier with Multi-Stage Filter System and Photocatalytic Nano-Titanium Dioxide Element
Zhongshan Aohong Electronic Technology Co., Ltd., ZHONGSHAN AOHONG ELECTRONICS TECHNOLOGY CO LTD, 2017
An air purifier using photocatalytic technology to effectively remove pollutants from the air. The purifier has a housing with an inlet and outlet, a filter screen, a fan, and a control circuit. The filter screen has multiple stages: a primary filter, a nano-titanium dioxide filter, a high efficiency HEPA filter, and an activated carbon filter. The primary filter captures larger particles. The nano-titanium dioxide filter uses photocatalysis to break down pollutants. The HEPA filter removes fine particles. The activated carbon filter adsorbs odors. An ultraviolet lamp at the inlet further sanitizes the air. The control circuit has features like an air quality indicator, dust sensor, and remote control lockout.
32. Air Purifier with Dual-Layer Filtration and Spiral Photocatalyst-Coated Air Flow Stopper
SICHUAN RUNXIN ZHUOYU TECHNOLOGY CO LTD, Sichuan Runxin Zhuoyu Technology Co., Ltd., 2017
Air purifier that eliminates airborne pollutants through a novel dual-layer filtration system. The device comprises a housing with an integrated duct and two air filters positioned between the duct's inner and outer walls. The air flow stopper features a spiral-shaped surface with a photocatalyst coating that enables self-cleaning properties through a fan-assisted motion mechanism. This dual-layer approach combines mechanical and photocatalytic cleaning mechanisms to effectively capture a wide range of airborne contaminants.
33. Air Purification Device with Multi-Layer Photocatalytic Filter System and Dual Photocatalyst Screens
ZHONGSHAN JINCHENG ENVIRONMENTAL PROTECTION TECHNOLOGY CO LTD, Zhongshan Jincheng Environmental Protection Technology Co., Ltd., 2017
Air purification device utilizing a multi-layer photocatalytic filter system. The device features a filter element with an outer filter screen and a first photocatalyst filter screen, where the photocatalyst filter screen comprises a filter screen body filled with photocatalyst material. The top of the filter element has a second photocatalyst filter screen. The photocatalyst material in the filter screen body is activated by UV light to degrade pollutants and microorganisms, while the second photocatalyst filter screen further enhances the purification process.
34. Photocatalyst Filter with Enhanced Activity and Durability via Innovative Preparation Methods
SUZHOU JIANLONG ENVIRONMENTAL PROTECTION TECHNOLOGY CO LTD, 2016
High-efficiency photocatalyst filter for air purification that addresses the limitations of traditional photocatalysts. The filter incorporates a photocatalyst material with enhanced photocatalytic activity, improved durability, and increased surface area through innovative preparation methods. The photocatalyst material is specifically designed to maintain its photocatalytic properties under the operating conditions of air purification systems, ensuring effective pollutant removal while minimizing degradation. This approach enables higher performance photocatalysts for air purification applications compared to conventional materials.
35. Photocatalytic Air Treatment System with Loosely-Packed Medium and High Air Permeability
ZENTOX CORP, 2016
Photocatalytic air treatment system with a photocatalyst supported on a medium through which air passes. The system features a loosely-packed medium with an air permeability of more than 247 CFM/ft2, where the photocatalyst is supported by the medium. This design enables more photocatalytic sites to be irradiated by UV light, resulting in enhanced oxidation of target compounds in the air stream. The system achieves faster oxidation rates compared to denser-packed media, particularly when using pleated support structures with high air permeability.
Get Full Report
Access our comprehensive collection of 35 documents related to this technology
