Gearbox Noise Insulation for Wind Turbines
Wind turbine gearboxes generate significant mechanical noise and vibrations, with typical sound pressure levels reaching 85-95 dB inside the nacelle. These vibrations propagate through the drivetrain and tower structure, creating both airborne and structure-borne noise that affects turbine reliability and nearby communities.
The fundamental challenge lies in isolating gearbox vibrations while maintaining the precise alignment and load-bearing capacity needed for power transmission.
This page brings together solutions from recent research—including elastomeric damping systems, specialized shock absorber configurations, adjustable support frames, and layered vibration isolation structures. These and other approaches focus on practical implementation strategies that improve both acoustic performance and maintenance accessibility while ensuring drivetrain stability.
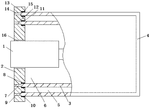
1. Gear Reducer Housing with Dual-Shell Structure and Integrated Noise Reduction Component
CHANGZHOU ZHEMENG MACHINERY MANUFACTURING CO LTD, CHANGZHOU ZHEMENG MACHINERY MFG CO LTD, 2024
Noise reduction box structure for gear reducers that significantly reduces noise levels compared to conventional reducer housings. The structure has a base with an inner shell and an outer shell, with a noise reduction component installed between them. The component has a docking plate, sound-absorbing plate, and heat dissipation plate fixed inside the gap. The sound-absorbing plate has perforations filled with sound insulation cotton. The heat dissipation plate has corrugated sections connected by hollow aluminum blocks. This cavity-mounted noise reduction component absorbs and dissipates noise inside the gearbox.
2. Wind Turbine Resonance Control Device with Rotating Vibration Sensor and Adjustable Fan Blade Angle
SUZHOU FENGHUA WIND POWER EQUIPMENT MAINTENANCE CO LTD, 2024
A resonance control device for wind turbines to reduce vibrations and noise. It consists of a housing with sound-absorbing material, a vibration sensor, and a rotating block. The vibration sensor detects turbine vibrations and transmits the signal to a steering gear. This gear adjusts the fan blade angle to counteract the vibrations and prevent resonance. The rotating block allows the sensor and gear to rotate with the turbine. The housing absorbs noise from the turbine. This setup reduces vibrations and noise by actively mitigating resonance.
3. Wind Turbine Gearbox Output Shaft with Tuned Mass Damper Incorporating Circumferentially Movable Mass Block
GOLDWIND SCIENCE & TECH CO LTD, GOLDWIND SCIENCE & TECHNOLOGY CO LTD, 2024
Transmission system for wind turbines that reduces high-frequency vibration and improves fatigue life. The system uses a tuned mass damper on the output shaft of the gearbox to absorb torsional vibrations. The damper has a mass block that can move relative to the shaft circumferentially. The mass block has a torsional stiffness matched to the output shaft's torsional stiffness. This provides a resonant frequency matching to absorb vibrations. The damper also has elastic and damping elements to allow motion. The damper rotates with the shaft and absorbs torsional vibrations in its own circumferential direction.
4. Gear Spokes with Dual-Layer Web Structure Comprising Inner Sub-Webs and Outer Web
HAOZHI TECH ELECTRIC DRIVE TONGCHENG CO LTD, HAOZHI TECHNOLOGY ELECTRIC DRIVE CO LTD, 2024
A two-layer web structure for gear spokes that reduces noise and improves NVH performance in gearboxes. The spokes have an inner and outer web surrounding the gear axis. The inner web is divided into equally spaced sub-webs between adjacent outer web gaps. This two-layer configuration provides a stronger and stiffer gear spoke compared to a single web. The improved spoke stiffness reduces gear misalignment and transmission error, which lowers gear noise and improves overall NVH levels.
5. Gear Assembly with Wear-Resistant Shells, Anti-Slip Rubber Plugs, and Sound-Absorbing Tubes
XINJIANG UNIV, XINJIANG UNIVERSITY, 2024
Noise reduction gear with features like wear-resistant shells, anti-slip rubber plugs with sound-absorbing tubes, and threaded holes for easy replacement of the wear-resistant shells. The wear-resistant shells reduce noise from gear tooth collisions, the anti-slip rubber plugs with sound-absorbing tubes further absorb noise, and the threaded holes make it easy to replace the wear-resistant shells.
6. Wind Power Gearbox Elastic Support Device with Elastic Connections and Adjustable Base Assembly
DATANG CHIFENG NEW ENERGY CO LTD, DATANG NEW ENERGY CO LTD, 2024
Elastic support device for wind power gearbox to reduce vibrations and improve reliability. The device uses a combination of elastic connections between the gearbox housing and base member, as well as an elastic support for the input shaft. The housing has front and rear connecting seats with elastic plates below. The base has corresponding seats. The input shaft has an elastic sleeve and buffer plate. An adjustable assembly on the base provides elastic support for the gearbox housing.
7. Gear Assembly with Integrated Noise Reduction and Thermal Management Components
HANGZHOU JUNPAI WINDOW DECORATION CO LTD, 2023
Gear assembly with noise reduction features to mitigate gear vibration and noise during operation. The assembly includes a gear body, a noise reducing positioning component, a buffering heat-conducting component, and a thermally conductive rubber column. The noise reducing positioning component attaches to one side of the gear body and has a positioning opening. The buffering heat-conducting component connects to the positioning component and absorbs heat from the gear body. The rubber column is embedded in the gear body wall to further absorb heat and deformation. This setup helps reduce gear noise by fixing, buffering, and absorbing forces that can cause vibrations and noise during gear operation.
8. Generator Torque Modulation for Gearbox Vibration Cancellation in Wind Turbines
VESTAS WIND SYSTEMS AS, 2023
Reducing noise from wind turbine gearbox vibrations by controlling generator torque. The method involves optimizing generator torque modulation to match and cancel out vibrations from gear meshing. By adjusting the phase and amplitude of the torque signal, the generator's torque can be made to match and counteract the gearbox vibrations. This reduces the overall vibration level and therefore noise. The optimization is done by measuring generator speed and gearbox vibrations, and iteratively finding the torque settings that minimize total vibration. The optimized torque settings are then used during turbine operation.
9. Wind Turbine Vibration Control System with Selective Actuator Activation Based on Operating Conditions
VESTAS WIND SYSTEMS AS, 2023
Controlling airborne tonal noise generated by wind turbine components like gearboxes by optimizing vibration control systems. The method involves selectively activating vibration control actuators based on wind turbine operating conditions to reduce component vibrations and tonal noise. This prevents unnecessary actuator usage and energy consumption for vibrations that don't lead to tonal noise. It also avoids situations where actuator oscillations reduce vibrations but increase tonal noise. The actuator selection and amplitude are adjusted based on machine learning or manual calibration to find the optimal trade-off between vibration reduction and tonal noise suppression.
10. Damping Plate Structure with Integrated Cushioning Pads for Gearbox Vibration Isolation
LIU JIANG, 2023
Vibration and noise reduction structure for wind turbine gearboxes to mitigate the high vibration and noise levels generated by the gearbox. The structure uses specialized damping plates with integrated cushioning pads to isolate and absorb vibrations between the gearbox and the frame. The damping plates extend along the gearbox length and have protrusions with flanges on one end that fit into matching holes on the gearbox housing. The cushioning pads are sandwiched between the protrusions and flanges when the gearbox is installed. This allows softer contact between the pads instead of the hard contact between the main body flanges. The pads provide additional vibration damping between the gearbox and frame compared to just the main body flanges.
11. Multi-Planet Gear Transmission Gearbox with Integrated Vibration Damping and Temperature Monitoring
HANGZHOU LINJIANG QIANJIN GEARBOX CO LTD, 2023
Wind power generation gearbox with improved damping and shock absorption to reduce vibrations and noise. The gearbox has a multi-planet gear transmission with primary and secondary planetary assemblies. The primary assembly connects to the main shaft and secondary assembly has an output shaft. The gearbox also has features like oil brush rings, a spring-loaded support base, and counterweight blocks to absorb vibrations and improve stability. A temperature sensor on the rear cover monitors internal temperatures. The improved damping and stability reduces gearbox failures and extends overall equipment life.
12. Gear Assembly with Sleeved Body and Securing Rods for Noise Reduction in Transmission Systems
YANCHENG DONGKUI TECH CO LTD, YANCHENG DONGKUI TECHNOLOGY CO LTD, 2022
A noise reduction gear for reducers to eliminate noise caused by wear and gaps between gears and transmission shafts over time. The gear has a sleeved body that fits over the transmission shaft. Fixed rings on the shaft have fastening rods and restricting rods to secure the sleeved body in place. This prevents relative movement between the gear and shaft that creates noise from wear.
13. Modular Vibration-Damping Support Structure with Sliding Table and Integrated Monitoring for Wind Turbine Gearboxes
LIAONING INSTITUTE OF SCIENCE AND TECH, LIAONING INSTITUTE OF SCIENCE AND TECHNOLOGY, 2022
Vibration-damping support structure for wind turbine gearboxes that allows easier maintenance, fault detection and reduction of vibrations. The structure has a box with slide rails and electric sliders inside. A sliding table is sandwiched between the sliders. The gearbox sits on a connecting seat on top of the sliding table. This setup allows the gearbox to slide and pivot slightly to dampen vibrations. A vibration sensor, noise detector and remote transfer module are installed to monitor gearbox health. This allows remote fault diagnosis and proactive maintenance. The modular design allows easy removal and replacement of the gearbox without disassembling the entire support structure.
14. Planetary Gear with Elastomer-Integrated Gear Segments for Vibration Decoupling
FM ENERGIE GMBH & CO KG, FM ENERGIE GMBH & CO.KG, 2022
A planetary gear for use in machines like wind turbines that reduces radial and torsional vibration-induced noise. The gear has an outer transmission flange on each end and a fixed ring gear between them. To decouple radial and torsional vibrations, the gear segments have elastomer elements sandwiched between them. These elements are flexible in the radial and torsional directions but rigid axially, providing insulation against structure-borne noise. The ring gear diameter is smaller than the gearbox housing diameter to prevent contact between the ring gear and housing. This allows the elastomer elements to separate the ring gear from the housing and further decouple vibrations.
15. Gearbox with Noise Source Identification and Targeted Vibration Damping Mechanisms
ZHEJIANG INDUSTRIAL UNIV, ZHEJIANG INDUSTRIAL UNIVERSITY, 2022
Vibration and noise reduction gearbox design that uses noise source identification to isolate and dampen specific gear meshing vibrations. The gearbox has a case with parallel input and output shafts, gears, bearings, and a vibration damping pad on the output shaft head. Plates with raised structures connect the gear sides to the case. Sound-absorbing plates inside the case. Microphones around the box locate noise sources. This allows targeted damping and isolation of specific gear meshing vibrations to reduce overall gearbox noise.
16. Three-Stage Gear Reducer with Parallel Shaft Arrangement and Noise-Reducing Internal Baffle System
REYNOD TRANSMISSION SCIENCE AND TECHNOLOGY LIMITED CO, REYNOD ZHEJIANG TRANS SCIENCE AND TECHNOLOGY LIMITED CO, 2022
A three-stage gear reducer with reduced noise and shock compared to conventional designs. The reducer has a housing with input, output, and intermediate shafts arranged in parallel. The shafts connect to a mounting baffle inside the housing. The baffle has silencing holes with energy absorbing rings and covered with noise-reducing asbestos mesh. This internal baffle and shock absorbing structure helps reduce noise and vibrations in the reducer.
17. Compound Gear with Shock-Absorbing Grooves, Sound-Absorbing Wheel, and Replaceable Tooth Sections
METALLOCENE PREC MANUFACTURING SUZHOU CO, METALLOCENE PRECISION MANUFACTURING CO, 2022
Compound noise reduction gear with multiple features to reduce gear noise. The gear has a body with positioning holes at the ends, shock-absorbing grooves on the sides, and a sound-absorbing wheel at one end. The wheel has a connecting shaft with internal and external threads. The other end of the body connects to a noise reduction wheel on a mounting shaft. This allows replacing worn tooth sections instead of the whole gear, reducing waste. The shock-absorbing grooves and plates with springs dampen vibrations. The sound-absorbing wheel further reduces noise when meshed with other gears.
18. Gear Reducer Noise Reduction Shell with Sound-Gathering Cavities and Absorbing Rods
JIANGSU JINHUAI REDUCER CO LTD, 2022
Noise reduction device for gear reducers that significantly reduces the noise generated by gearboxes in applications like automation equipment. The device is installed around the outside of the gear reducer motor and has multiple sound-gathering cavities inside the noise reduction shell. Above each cavity is a sound-absorbing annular cavity with fixed sound-absorbing rods that have outer protrusions. The inner walls have sound-absorbing balls connected by lines. This design captures and absorbs vibrations and impacts from the gearbox to reduce noise. Additionally, the device has features to cushion and isolate the motor from external forces.
19. Gearbox with Movable Gear Mounts in Isolated Cavities for Vibration Damping
HANGZHOU SHENGZE HARDWARE CO LTD, 2022
Low-noise, high reduction ratio gearbox for machines like motors and drives. The gearbox has a unique housing design with separate cavities for the gears. The gears are mounted on movable inner surfaces within the cavities instead of being fixed to the housing. This allows the gears to float and isolate vibrations from the housing. The cavities have openings to each other and to the exterior, enabling oil flow and cooling. The floating gears reduce noise compared to fixed gears due to isolation from the housing.
20. Gear with Elastic-Filled Tooth Gaps and Internal Sound-Absorbing Cavity
GAOYOU JINGBIAO GEAR MANUFACTURING CO LTD, GAOYOU JINGBIAO GEAR MFG CO LTD, 2022
A noise reduction gear design to reduce the noise generated by gear meshing. The gear has teeth with gaps filled with elastic material. This cushions the contact between teeth and reduces vibrations and noise. The gear body also has an internal mounting hole with an assembly hole. This allows noise-reducing material like sound-absorbing cotton to be inserted into the gear body cavity through the assembly hole. This further improves noise reduction by absorbing vibrations inside the gear.
21. Gear Assembly with Sliding Frames, Vibration-Absorbing Blocks, and Lubricated Noise Reduction Mechanism
TAIZHOU HUACHEN MACHINERY CO LTD, 2021
Gear with noise reduction function that can significantly reduce gear noise compared to conventional gears. The gear has sliding frames, blocks, and springs that absorb vibrations and oil lubrication to reduce friction and noise. The sliding frames allow the gear teeth to move slightly during meshing, reducing impact and noise. The blocks, springs, and oil system enable controlled lubrication and sliding motion to reduce friction and noise. The sliding frames are fixed to the gear housing using bolts that pass through brackets. This allows moving the frames to match gear meshing positions for optimal noise reduction. The gear also has a weight block to stabilize the sliding frames.
22. Reduction Gear with Thin-Walled Tubular Housing and Internal Sound Absorbing Material
SUMITOMO HEAVY INDUSTRIES, SUMITOMO HEAVY INDUSTRIES LTD, 2021
Reduction gear with reduced thickness tubular housing to prevent noise. The reduction gear has a hollow tubular housing with a sound absorbing material inside to prevent resonance and reduce noise. The housing is thin to reduce size and weight. The sound absorbing material inside absorbs vibrations and prevents noise from resonating in the housing. This prevents noise from the housing even when the thin walls are vibrating. The reduction gear also has features like internal gears and a carrier for speed reduction.
23. Gear Structure with Isolated Teeth Contact Area and Central Connecting Groove
JIANGSU XINGLIDA GEAR CO LTD, 2021
Gear structure that reduces noise during operation by separating the teeth contact area from the outer surface of the gear. The gear has a central axis and a connecting groove opening in the middle. Side plates are installed on either side of the gear. This configuration allows the teeth to engage without direct contact between the gear and the mating component, reducing noise compared to a traditional gear. The connecting groove isolates the teeth contact area from the outer surface of the gear, which can vibrate and generate noise.
24. Double-Layer Sound Insulated Gear Reducer with Dual-Stage Gear Arrangement and Integrated Oil Pressure System
HANGHZOU MINGMEI MACHINERY CO LTD, 2021
Double-layer sound insulated gear reducer that reduces noise compared to conventional gear reducers. The reducer has a housing, bearings, shafts, gears, and an oil tank. The housing, inner walls, and soundproof shell have sound-absorbing pads and cavities. The gears are arranged in two stages with outer gears meshing. The oil tank has a sliding rod and piston to create oil pressure. Spray plates at the bottom of the oil outlets further reduce noise.
25. Gear Assembly with Amortization Dishes, Damping Plates, and Spring-Loaded Vibration Mitigation System
JIANGSU ZHONGLI GEAR CO LTD, 2021
A noise reducing gear design with features like amortization dishes, damping plates, and springs to significantly reduce gear noise. The gear has an inner hole, amortization dishes that surround the gear, aprons between the dishes, and studs that pass through the gear and dishes. The amortization dishes and aprons create irregular paths for sound waves to weaken them. The dishes also have inner holes. The gear, dishes, and aprons are fixed together with studs and nuts. The gear vibrates during operation, but the dishes and aprons slide on damping plates that compress springs to counteract the vibrations and reduce noise.
26. Multi-Stage Gear Set with Bevel and Helical Gears for Noise Mitigation
JIANGSU JINCHANGCHENG SPEED REDUCER CO LTD, 2021
Noise reduction gear set for reducers that reduces noise levels compared to traditional single stage reducers. The gear set uses a combination of bevel and helical gears in a multi-stage configuration. The stages have progressively larger gears with vertical and horizontal meshing connections. This allows stepped reductions in speed while mitigating noise compared to a single large gear. The multi-stage setup allows reducing speed gradually in stages, decreasing noise versus a single stage reduction.
27. Gear Reducer with Integrated Shock Absorber and Noise-Dampening Sleeves
DONGGUAN YONGKUN MOTER CO LTD, 2021
A silent type gear reducer that reduces noise and vibration compared to conventional gear reducers. The silent reducer has a shock absorbing component with a silencer inside the housing. The output shaft slides in sleeves with connecting blocks between them, surrounded by a cotton sleeve for further noise reduction. The housing slides on the shock absorber component. This isolates and dampens the noise and vibration from the gear reducer during operation.
28. Mechanical Transmission System with Anti-Noise and Sound Insulation Device Incorporating Limit Blocks, Damping Layer, and Soundproof Cover
Jiangsu Guomao Reducer Co., Ltd., JIANGSU GUOMAO REDUCER CO LTD, 2021
Reducing noise and vibration in mechanical transmission systems using an anti-noise and sound insulation device for reducers. The device has features like limit blocks to reduce eccentric loading and axial offsets, a damping layer on the reducer base, a soundproof cover, and a noise monitor to detect gear aging and replace gears proactively. These components reduce resonance, offsets, and wear that contribute to noise generation in gear transmissions.
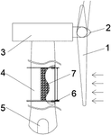
29. C-Shaped Mounting Device with Internal Rubber Pads for Vibration Damping in Wind Turbine Gearboxes
SHANGHAI DONGHAI WIND POWER GENERATION COMPANY LTD, 2021
Vibration damping device for wind turbine gearboxes that reduces vibration and noise transmission from the gearbox to the main frame and tower. The device uses C-shaped mounting pieces with internal rubber pads and bumps to replace the flange between the gearbox and frame. The rubber provides resistance to dampen vibrations and prevent loosening or breakage of the connection. The C-shaped mounting pieces provide a more stable and secure attachment compared to the flange.
30. Wind Turbine Drivetrain Vibration Dampening System with Sensor-Controlled Counter-Vibration Torque Mechanism
General Electric Company, 2021
Reducing noise from wind turbines by actively dampening vibrations in the drivetrain components. A noise reduction system is added to the wind turbine that includes a sensor to measure vibrations, a controller to analyze the vibration signal, and a braking mechanism to apply a counter-vibration torque. The controller determines when vibrations above a threshold occur and activates the braking mechanism to counteract those vibrations. This reduces the transmitted vibrations that can emit as noise from the tower and blades. The braking mechanism can vary the counter-vibration frequency and phase to optimally dampen the detected vibrations.
31. Wind Turbine Gearbox Support with Damping Block Compression Mechanism and Arc-Shaped Pallet
CHANGZHOU WUJIN SANLIAN CASTING CO LTD, 2021
A wind turbine gearbox support mechanism to reduce vibrations and noise in wind power generators. The mechanism has a bottom plate, a support plate, and a top plate. Fixed blocks are welded to the bottom plate and penetrate through grooves in the support plate. Damping blocks are attached to the fixed blocks inside the grooves. A pressure rod goes through the damping blocks and connects to the fixed blocks. This allows the fixed blocks to squeeze the damping blocks for vibration damping. The top plate has limit plates to prevent excessive compression. The gearbox body is mounted on an arc-shaped pallet connected to the top plate. The bottom plate has a groove for a rod that threads into pipes on the gearbox housing. This supports the gearbox. The ring plate attaches to the rod and pipes.
32. Method for Calculating and Selecting Elastic Support Stiffness for Adaptive Gearbox in Low-Wind Speed Wind Turbines
Guodian United Power Technology Co., Ltd., GUODIAN UNITED POWER TECHNOLOGY CO LTD, 2020
Method for selecting the elastic support of an adaptive gearbox for low-wind speed wind turbines to avoid excessive vibration and improve transmission chain reliability. The method involves calculating the required stiffness of the elastic support based on factors like fan load, space constraints, and deformation limits. The calculated stiffness is then used to select an appropriate elastic support that matches the requirements. This allows choosing a support with a stiffness that prevents excessive vibration without causing other issues. The selected support is checked for bearing capacity and then used in the wind turbine to provide vibration isolation for the gearbox and transmission chain.
33. Modular Gear Assembly with Sliding Lock Mechanism and Sound Absorbing Panels
JIUJIANG VOCATIONAL & TECHNICAL COLLEGE, JIUJIANG VOCATIONAL AND TECHNICAL COLLEGE, 2020
Combined noise reduction gear with separable components to reduce noise and allow easier maintenance compared to solid integrated gears. The gear has an inner sleeve with buttons and springs that can slide and lock into fixed holes in the gear. This allows replacing just the sleeve or gear section that wears instead of the whole gear. The gear also has sound absorbing panels on the inner edges to reduce noise when the gears mesh.
34. Gear Assembly with Integrated Rubber Vibration and Noise Reduction Components
VCST AUTO PARTS CHANGZHOU CO LTD, VCST AUTO PARTS CO LTD, 2020
Rubber vibration reduction and noise reduction gear for machinery applications that aims to mitigate vibrations and noise during gear transmission. The gear consists of a regular gear body with rubber components integrated inside. The front and back of the gear body connects to the inner sides of the rubber noise reduction mechanism. The rubber inside the gear helps absorb vibrations and reduces gear knocks and noise compared to traditional metal gears.
35. Adjustable Gear with Integrated Soundproof Layers and Threaded Noise Reduction Mechanism
VCST AUTO PARTS CHANGZHOU CO LTD, VCST AUTO PARTS CO LTD, 2020
An adjustable noise reduction gear with a mechanism to reduce noise when the gear is in motion. The gear has a gear body, an outer ring body with an outer soundproof layer, a ring with an inner soundproof layer, and a connecting gear. The outer ring body and ring are connected to the gear body. An annular shallow groove on the right side of the gear body has an internal thread. The left side of the outer surface of the connecting cylinder connects to the right side of the outer surface of the internal thread. The left side of the outer surface of the mounting thread connects to the outer surface of the mounting shaft. This configuration allows the gear to be adjusted, while the noise reduction mechanism with the soundproof layers, connecting cylinder, and internal thread reduces gear noise.
36. Gear with Integrated Multi-Layered Noise Reduction and Sound Absorption System
QUANZHOU YINYI MACHINERY CO LTD, 2020
Low-noise gear with multiple noise reduction features to minimize vibration and noise when the gear is in operation. The gear has a first noise reduction device with a sound hole, a first sound-guiding plate, a C-shaped sound-absorbing plate, and a sound-absorbing cotton. The C-shaped plate absorbs most sound waves, and the rest scatter into a second sound guide plate with a smaller hole. This reduces the sound transmitted through the second hole. A muffler with a semi-arc through hole and arc-shaped curve further absorbs sound waves. Inside the muffler, a composite layer with sound absorption, insulation, and resonance absorption layers further reduces sound transmission. The gear teeth are on the outer surface.
37. Detachable Frame Device with Elastic Support Members for Gearbox Vibration Damping
Zhuzhou Times New Material Technology Co., Ltd., ZHUZHOU TIMES NEW MATERIAL TECHNOLOGY CO LTD, 2020
Gearbox vibration damping device for wind turbine gearboxes that reduces gearbox vibration and noise while simplifying design and improving reliability compared to existing devices. The device uses detachable upper and lower frames with elastic support members that can be easily replaced if worn. This allows the gearbox torsion arm to move between the elastic supports, damping vibrations without the complex, height-adjustable metal frame and layered springs of existing devices. The detachable frames simplify assembly and enable access for replacing elastic members. The device avoids issues like stress concentration, low safety factor, and insufficient lateral stiffness of layered springs.
38. Modular Gear System with Removable Tooth Sleeve and Integrated Sound-Absorbing Ring
HANGZHOU JIANXIA MACHINERY CO LTD, 2020
A new type of gear for reducers that reduces noise and enables easier maintenance compared to conventional gears. The new gear has a modular design where the teeth are on the outer surface of a removable connecting sleeve that can be replaced if the teeth wear or break. This allows swapping just the damaged sleeve instead of the entire gear body. The sleeve connects to a limiting block that prevents backlash and a fixing ring that attaches to the reducer housing. The sleeve and ring are held together with a bolt through matched holes. A sound-absorbing ring around the fixing ring reduces noise compared to conventional gears with teeth on the body.
39. Wind Turbine Tower Noise Reduction Device with Rotatable Mount and Irregularly-Shaped Sound Absorption Holes
UNIV YANGZHOU, YANGZHOU UNIVERSITY, 2020
A noise reduction device for wind turbines that reduces noise propagation from the blades to the tower and mitigates vibrations. The device is installed on the tower and has a rotatable mounting assembly. It contains a noise reduction assembly that covers part of the tower section affected by blade noise. The assembly has irregularly-shaped holes to absorb, reflect and transmit sound waves. By placing the device on the tower, it reduces blade noise reflection, tower vibrations, and secondary noise. The rotatable mount allows adjustment based on turbine conditions. This reduces the amount of noise reduction material needed compared to wrapping the whole tower.
40. Gear Reducer with Sound-Absorbing Layer and Integrated Heat Dissipation Features
JIANGSU ZHENXIANG SPEED REDUCER CO LTD, 2020
A high-strength low-noise gear reducer that reduces noise and improves dust protection compared to conventional reducers. The reducer has a housing with a sound-absorbing cotton layer on the inside. The reducer body, output shaft, and other internal components penetrate through the cotton layer and housing walls. This isolates the noise-producing components from the outside. It also has features like bevel and spur gears, a rotating rod, impeller, and belt drive to transmit power. The housing has heat dissipation holes and the cotton layer helps absorb vibrations and reduce noise.
41. Gear Reducer with Symmetrical Cavity and Spiral Convex Columns for Noise Attenuation
SAILE TRANS EQUIPMENT HANGZHOU CO LTD, SAILE TRANSMISSION EQUIPMENT CO LTD, 2020
Low-noise gear reducer with reduced internal noise levels compared to conventional planetary reducers. The reducer has a housing, gear reduction structure, and noise reduction structure. The gear reduction is fixed in the housing middle. A symmetrically fixed cavity holds the noise reduction components. These include a motor, bevel gears, shafts, cylinders, and connecting plates with convex columns. The columns have a spiral structure to further reduce noise. The convex shapes on the connecting plates and cylinders create a noise path for vibrations to dissipate.
42. Radially Movable Rolling Bearing Support with Damping Gap for Wind Power Gearboxes
NANJING HIGH ACCURATE DRIVE EQUIPMENT MANUFACTURING GROUP CO LTD, NANJING HIGH ACCURATE DRIVE EQUIPMENT MFG GROUP CO LTD, NANJING HIGH SPEED GEAR MANUFACTURING CO LTD, 2020
A combined bearing damping support structure for wind power gearboxes to reduce vibration and noise. It uses a rolling bearing with an outer ring that can move radially. The bearing is sandwiched between two positioning plates. Seals on the bearing ring contact the housing wall to form a damping gap. An oil pump fills the gap with oil to create a damping film. This allows radial movement of the bearing and ring to absorb vibrations instead of transmitting them.
43. Wind Power Generator with Modified Wind Wheel and Sealed Housing for Noise Reduction
HANGZHOU LESHOU TECH CO LTD, HANGZHOU LESHOU TECHNOLOGY CO LTD, 2020
Environmentally friendly low-noise wind power generator that reduces noise during operation compared to conventional wind turbines. The noise reduction is achieved by modifying the wind wheel design to prevent periodic low-frequency sounds and sealing the generator and gearbox to reduce noise transmission. The wind wheel has a deflector with blades and grooves that prevent periodic airflow patterns. The blades have preformed grooves with limit rods and movable panels that prevent airflow stall. The movable panels have countersunk grooves with buffer pads to absorb impacts. The generator and gearbox are sealed inside the unit housing to prevent noise transmission. This reduces low-frequency noise propagating outward during operation, making the wind turbines quieter and more suitable for closer placement near people.
44. Elastic Bushing with Radial Compression and Lubricant Bypass Channels for Planetary Bearings
FM ENERGIE GMBH & CO KG, 2020
Pre-tensionable elastic bushing for planetary bearings in machinery like wind turbines that eliminates or reduces unwanted vibrations. The bushing has a unique design with an elastic spacer layer between the inner cylinder and outer bushing wall. This allows the bushing to compress and expand radially around the shaft when vibrations occur. It also has channels and cavities in the spacer layer to create a bypass space for the lubricant. This prevents uneven loading of the teeth in planetary gears due to tilted axles. The bushing can be used in planetary bearings, gears, and gearboxes to absorb vibrations and improve robustness.
45. Gear Reducer with Dual-Layer Sound-Insulating Housing and Annular Sleeve
JIANGSU ZHONGLI HECHUANG PRECISION MACHINERY TECH CO LTD, JIANGSU ZHONGLI HECHUANG PRECISION MACHINERY TECHNOLOGY CO LTD, 2020
A silent gear reducer with improved noise reduction compared to conventional planetary gearboxes. The reducer has an annular sleeve, inner housing, and outer housing made of sound-insulating material. The sleeve surrounds the motor end, the inner housing is inside it, and the outer housing surrounds both. This double-layer structure with an air gap between the housings buffers and absorbs vibration-induced noise from the motor and planetary gearbox, reducing overall noise levels.
46. Wind Turbine Drivetrain with Flexible Members Between Gearbox and Bearing Housing
General Electric Company, 2019
Reducing vibrations in wind turbine drivetrains by using flexible members between the gearbox and bearing housing. The drivetrain has a gearbox with a ring gear and bearing housing. Notches are formed in the housing and compression members are placed over the ring gear. Flexible members are inserted into the notches and compressed between the housing and compression members. This configuration allows the gearbox torque to react through the flexible members instead of directly to the housing, reducing vibrations transmitted to the rest of the drivetrain.
47. Vibration Damping Support with Adjustable Beam Configuration and Layered Wing Damper
Zhuzhou Times New Material Technology Co., Ltd., 2018
Vibration damping support for a wind turbine gearbox that provides improved torsional vibration isolation compared to traditional bearing-type supports. The support has a base with upper and lower beams, connected by a column to form a receiving space. The upper beam is fixed to the column and the lower beam is removably connected. This allows adjustment of the support position. The lower beam has a removable support member below it. The upper beam has a damper with layered wings that tilt inward. This configuration enables the gearbox to move torsionally while reducing vibration transfer to the turbine.
48. Vibration Damping Support Device with Adjustable Height Mechanism for Wind Turbine Gearboxes
ZHUZHOU TIMES NEW MATERIAL TECH CO LTD, ZHUZHOU TIMES NEW MATERIAL TECHNOLOGY CO LTD, Zhuzhou Times New Material Technology Co., Ltd., 2018
Vibration damping support device for wind turbine gearboxes that reduces vibration and noise while allowing adjustment of the gearbox height. The device has a housing, mandrel, elastic members, flange, and nut. The flange connects to the gearbox, the mandrel extends through the housing, and elastic members inside dampen vibrations. The flange has a groove for a nut with an external thread on the mandrel. This allows pre-tightening the flange-mandrel connection and adjusting the gearbox height.
49. Gearbox Enclosure with Internal Sound-Absorbing Baffles for Noise Reduction
Chuanshi Heavy Industry (Suzhou) Co., Ltd., 2018
A noise reduction gearbox for wind turbines and other applications with meshing gears that reduces internal gear meshing noise compared to conventional gearboxes. The gearbox has an enclosure with sound-absorbing cotton-filled baffles on the inside walls. The baffles isolate and absorb the gear meshing noise instead of amplifying it through the enclosure. This reduces external noise levels compared to conventional gearboxes.
50. Planetary Gear Reducer with Sound Absorbing Blocks on Gear Sleeves
NINGBO TUOTAI INTELLIGENT TECH CO LTD, NINGBO TUOTAI INTELLIGENT TECHNOLOGY CO LTD, Ningbo Tuotai Intelligent Technology Co., Ltd., 2017
A planetary gear reducer with reduced noise compared to conventional designs. The reducer has three stages of brackets, a gear cylinder, and three gear sleeves. The sleeves have sound absorbing blocks attached to the sides near the adjacent sleeves. These blocks absorb noise generated by the gears when they mesh. The sleeves and brackets are sequentially combined to create a sealed assembly that reduces noise transmission.
Get Full Report
Access our comprehensive collection of 82 documents related to this technology
