Offshore Mooring Systems for Wind Turbines
Floating offshore wind turbines experience complex dynamic loads from wind, waves, and currents that can exceed 1000 kN during extreme events. These forces create cyclic stresses on mooring systems, with individual lines experiencing up to 40% higher loads when directly aligned with predominant wind directions. Field measurements show that improper load distribution can reduce mooring line fatigue life by 60%.
The fundamental challenge lies in designing mooring systems that maintain turbine position and stability while managing variable environmental loads without incurring prohibitive installation and maintenance costs.
This page brings together solutions from recent research—including adaptive load control systems, asymmetric mooring configurations, buoyancy-adjusted platforms, and single-point mooring designs with rotating capabilities. These and other approaches focus on practical implementations that enhance system reliability while reducing installation complexity and operational costs.
1. Deeply Embedded Anchor with Pivotable Keying Flap Assembly and Fluid-Driven Installation Mechanism
THE TEXAS A&M UNIVERSITY SYSTEM, 2025
Deeply embedded anchors for moored floating structures that provide high load capacity while reducing environmental impact and installation cost compared to conventional anchors. The deeply embedded anchor has a foundation with an interior and a keying flap assembly that pivots between a vertical and horizontal position. During installation, the foundation is driven vertically into the seabed. Then, by pumping fluid in and out of the foundation, the flaps are transitioned horizontally to arrest further penetration. This allows deeper embedding than conventional anchors for higher load capacity. The deeply embedded anchor is extracted by reversing the fluid pumping to lift it.
2. Mooring Systems with Single Shared Anchor and Length-Varying Lines for Floating Offshore Wind Turbines
JIN WANG, 2025
Mooring systems for floating offshore wind turbines that reduce cost, have smaller footprints on the seabed, and lower environmental impact compared to conventional catenary mooring systems. The new mooring systems have a single shared anchor instead of multiple anchors. One type keeps tension constant in the mooring lines as the turbine moves, while the other allows tension to vary. These "length-varying" mooring systems have smaller dynamic loads compared to conventional catenary moorings. The turbine can be installed with the mooring system in one offshore operation using regular tugboats, versus two separate operations for catenary moorings. This reduces cost and eliminates specialized equipment.
3. Buoyant Offshore Platform Deployment System with Tension-Adjusting Mooring Line Device
MARINE POWER SYSTEMS LTD, 2025
A system for deploying buoyant offshore platforms for renewable energy systems. The deployment system consists of a device that attaches to the platform, applies tension to the mooring lines, and moves the platform from a floating position to submerged position. This allows the platform to be towed to the site and then lowered into position using the deployment device. The device disconnects after deployment. This avoids needing onboard deployment mechanisms that add complexity and weight. The system allows quick installation and removal of platforms without requiring onboard equipment.
4. Dynamic Analysis of a Spar-Type Floating Offshore Wind Turbine Under Extreme Operation Gust
yuefei li, yin wei, shudong leng - Multidisciplinary Digital Publishing Institute, 2025
Extreme sea conditions, particularly extreme operation gusts (EOGs), present a substantial threat to structures like floating offshore wind turbines (FOWTs) due the intense loads they exert. In this work, we simulate EOGs and analyze dynamic response of turbines. We conduct separate analyses operational state under rated speed, state, shutdown EOG, focusing on motion platform tension mooring lines FOWT. The results our study indicate that influence EOGs, FOWT changes significantly, especially in terms range variations. After passage an there are notable differences average each component turbine strategy. When compared normal during strategy enables reach value more rapidly. Subsequently, it also recovers stability quickly. However, operating conditions exhibits larger value. Regarding pitch motion, maximum can 10.52 deg, which may lead overall instability structure. Implementing stall effectively reduce swing amplitude 6.09 deg. Under action reaches 1376.60 kN, yet no failure or fracture occurs system.
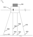
5. Modular Anchoring System with Helical Anchors and Stabilizing Template for Offshore Floating Structures
TRITON SYSTEMS INC, 2025
A scalable, low-cost, and environmentally friendly anchoring system for offshore floating wind turbines that uses multiple small helical anchors in close proximity connected by a template. This avoids massive anchoring solutions with high forces and weights. The helical anchors provide uplift, the template provides base stability, and an optional skirt adds lateral support. The modular system is easily manufactured, shippable, and installable compared to large anchors. It reduces costs, acoustic impacts, and transportation complexity for offshore wind farms.
6. Experimental measurements of two elastic taut-slack mooring configurations for the multi-float M4 WEC
samuel draycott, peter stansby, gangqiang li - European Wave and Tidal Energy Conference, 2025
Moorings are a vital and often problematic component of any floating offshore renewable energy system, whether for wind or wave conversion, here we consider the M4 multi-float converter (WEC) system in 122 configuration. Previous experimental work has shown elastic cables to reduce extreme snap loads by factor about 6 when considering single between bow float mooring buoy (hawser), bed. Here, compare results two alternative configurations designed footprint as well loads. Both systems taut-slack with configuration 1 consisting 2 dual set-up one submerged an attempt further. The experimentally tested irregular (JONSWAP) conditions up limiting steepness, run times 35 minutes at 1:40 scale 3.5 hours full scale. Through statistical analysis it is concluded that both offer similar advantages terms reduction peak loads, display very load motion (hence power) statistics. Configuration displays slightly larger maximum forces yet these occur significantly lower frequencies (near surge natural frequency) reduced response frequencies. This demonstrates subtle changes line can be used affect fre... Read More
7. Offshore Mooring System with Dual Swivel Mechanism for Rotational Motion and Energy Transfer
SOFEC INC, 2025
Offshore mooring system that allows rotational motion of the vessel around a buoy while simultaneously transferring energy to or from the vessel. The system has a buoy with vertical and horizontal swivels connected to it. The vertical swivel connects to the vessel, allowing it to rotate around the buoy. The horizontal swivel has a spool that can pay out an electrical conduit to the vessel. This allows transferring power to or from the vessel as it rotates.
8. Field investigation into mooring Load Reduction Device performance in hurricane conditions at an offshore test site
thomas k doyle, danny golden, syed e hasan - IOP Publishing, 2025
Abstract Floating Offshore Wind (FOW) is the next frontier in clean and renewable wind energy exploitation of particular significance to European economy. To keep FOW competitive against other resources, Levelised Cost Energy (LCoE) should up with projections decade for commercial floating farms be economically viable. One contributors LCoE cost mooring system Turbine (FOWT). This paper presents a field investigation quarter scale Mechanical Compliance Device (MCD) added an inline heavy chain attached test platform. The MCD (i.e. Dublin Offshores Load Reduction aka LRD) aimed at peak load mitigation line FOWT, while allowing geometric compliance during operational conditions. campaign happened Q4 2020 Smart Bay Test Site (SBTS), Ireland. platform survived Hurricane Epsilon Storm Aiden period. tests validated Extension Curve selected MCD, demonstrating its effectiveness mitigating loads. These along prior scaled tank testing show that LRD prime candidate reducing demand high Minimum Breaking line. leads substantial reduction specification, thus, keeping capital as well operating co... Read More
9. Analysis of Eight Types of Floating Wind Turbines at Constant Wind Speed
mohamed maktabi, eugen rusu - Multidisciplinary Digital Publishing Institute, 2025
The objective of this paper is to carry out response analyses eight floating wind turbines and compare them together; something that not seen in previous research papers. From perspective, will the offset regarding motions six degrees freedom respective turbines. applied forces these consider come mainly from constant on turbines blades, as well waves currents. Different values are considered compared different speeds, velocities This also provides various innovative references related turbine software. Validation verification studies left for future work due complexity data provided paper. However, some comparisons made between obtained analysis results external references. mentioned unfortunately have with wave environmental conditions, power capacities, dimensional characteristics. dynamic studied shown maximum surge, sway, heave corresponds DTU Spar 1 turbine. roll yaw INO-WINDMOOR pitch WindFloat aero-hydro-servo-elastic method was used Sima software run analyses. It a time-domain analysis, it uses meters [m] [] describe offsets support structures
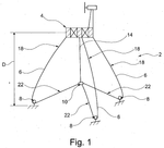
10. Triangular Floating Offshore Wind System with Y-Shaped Mooring Configuration
KOREA INSTITUTE OF OCEAN SCIENCE & TECHNOLOGY, 2025
A floating offshore wind power system that reduces yaw motion to improve power generation efficiency. The system uses a triangular floating body with three columns connected by pontoons. The wind turbine is mounted on one column. The mooring lines connecting the floating body to the seabed form a Y shape when viewed from above, reducing yaw motion compared to conventional X-shaped moorings.
11. Hydrodynamic Performance and Motion Prediction Before Twin-Barge Float-Over Installation of Offshore Wind Turbines
mengyang zhao, xiang yuan zheng, sheng zhang - Multidisciplinary Digital Publishing Institute, 2025
In recent years, the twin-barge float-over method has been widely used in offshore installations. This paper conducts numerical simulation and experimental research on installation of wind turbines (TBFOI-OWTs), focusing primarily seakeeping performance, also explores influence gap distance hydrodynamic behavior TBFOI-OWTs. Model tests are conducted ocean basin at Tsinghua Shenzhen International Graduate School. A physical model with a scale ratio 1:50 is designed fabricated, comprising two barges, truss carriage frame, small turbines, spread catenary mooring system. series tests, including free decay regular wave random carried out to investigate hydrodynamics The results good agreement, thereby validating accuracy method. motion RAOs TBFOI-OWTs small, demonstrating their performance. Compared situation, surge sway motions waves have greater ranges amplitudes. reveals that analysis cannot depend only, more importantly, nature realistic less favorable for responses controlled by motions natural frequencies incident frequency. It revealed between barges significant beam seas. Withi... Read More
12. Soil–Anchor Interaction Effects on Dominant Frequencies in Offshore Wind Turbines Supported by Tension Leg Platforms
hasan emre demirci, oguzhan togay, mutlu secer - Wiley, 2025
ABSTRACT This study presents an experimental investigation into the influence of anchorsoil interaction on dynamic behaviour tension leg platform (TLP)type floating wind turbines. A 1/100 scale model NREL 5MW reference turbine was fabricated using a 3D printer, with scaling parameters determined based Froude laws to ensure similarity between and prototype. comprehensive discussion applied principles is provided, along detailed description calibration procedures for customdeveloped sixaxis sensors used in experiments. Free vibration tests were performed scaled evaluate different anchoring systemssuction caissons, triplesuction caissons gravity anchorsunder varying seabed conditions. Throughout experiments, installed both nacelle within captured timedependent accelerations x , y z directions, as well rotational responses about same axes. To robustness repeatability results, each test conducted minimum three times, mitigating potential uncertainties. The findings demonstrated pronounced systems conditions dominant surge pitch frequencies model. Specifically, r... Read More
13. Sensitivity analysis of numerical modeling input parameters on floating offshore wind turbine loads in extreme idling conditions
will wiley, jason jonkman, amy robertson - Copernicus Publications, 2025
Abstract. Floating offshore wind turbine (FOWT) systems are subject to complex environmental loads, with significant potential for damage in extreme storm conditions. Design simulations these conditions required assess the survivability of device some level confidence. Aero-hydro-servo-elastic engineering tools can be used a reasonable balance accuracy and computational efficiency. The models require many input parameters describe air water conditions, system properties, load calculations. Each has possible range, due either statistical uncertainty or variations time. Variation have important effects on resulting but it is not practical perform detailed assessments impact this every parameter. This work demonstrates method identify that most loads focus further inspection. process done specifically cases defined International Electrotechnical Commission design requirements floating turbines. analysis was performed using Energy Agency Wind 15 MW reference atop University Maine VolturnUS-S platform two US regions, Gulf Humboldt Bay. It found direction incident waves current, yaw misali... Read More
14. Floating Platform with Taut Mooring and Seafloor Container-Based Anchoring System
TERASUN CO LTD, 2025
Floating platform and installation method for reducing construction and installation costs of offshore platforms by using taut mooring and containing heavy materials in containers placed on the seafloor. The platform has a floating structure to support a tower, connected by tethers to an anchor structure with containers filled with materials like soil or gravel. The containers are fixed to the tethers and placed on the seabed. This allows the platform to be moored by tensioning the tethers to pull the floating structure into the water. The heavy contents of the containers provide the platform weight and stability without needing extensive concrete structures.
15. Design Considerations and Factors Influencing Floating Offshore Wind Turbines through Numerical Method and Industrial Practice
mohd fakhruddin zainal ashirin, ahmad faisal mohamad ayob, aceng sambas - Akademia Baru Publishing, 2025
The increasing demand for renewable energy sources has prompted significant interest in exploring offshore wind power. However, most of the studies literature are limited to onshore power generation with a lack long-term data from wide range operational turbines. This research explores design considerations and factors influencing Floating Offshore Wind Turbine (FOWT) by providing valuable insights into key areas that attention, thereby facilitating realization full performance FOWTs. While FOWTs present promising solution harnessing deep waters, challenges need be addressed. These include foundations can withstand harsh marine conditions, development effective strategies fabrication, installation, operation, maintenance decommissioning integration these comprehensive framework. specific guidelines standards further complicates issues. paper aims explore detail propose innovative solutions advance commercialization In this work, numerical simulations modelling techniques employed analyse dynamic response under various environmental conditions. FOWT transportation installation were br... Read More
16. Hydrodynamic characteristics of a novel towerless floating wind turbine integrated with wave energy converters
huidong zhang, jiaxu zhao, sheng xu - American Institute of Physics, 2025
A novel towerless floating wind turbine (TFW) is proposed in this study and integrated with three wave energy converters (WECs) by the hinge joint to further increase stability of system. This aims reduce large pitch accelerations for nacelle excessive stresses at tower base when encountering amplitude waves. Based on numerical tests performed viscous corrected panel method, it revealed that in-phase excitation forces acting columns can result largest mooring tension short-period waves high-frequency oscillation appeared under specific conditions attributed triple-frequency components. The motion TFW platform be largely suppressed mitigating adverse effect induced superstructure. Hit abnormal wave, exhibits a significant hysteresis phenomenon maximum response due multi-system coupling effect. Compared traditional DeepCwind platform, survivability extreme sea states greatly improved, considering responses snap loads have been reduced transient stage, durations heave become much shortened decaying stage. enhanced integrating hinged WECs condition larger power-takeoff damping force but ... Read More
17. Stability Control System with Predictive Digital Twin for Semi-Submersible Floating Wind Turbines
POWERCHINA HUADONG ENGINEERING CORPORATION LTD, 2024
A stability control system for large-scale offshore wind turbines mounted on semi-submersible floating foundations. The system uses sensors to monitor environmental factors like waves, wind, and currents, as well as the motion responses of the wind turbine and floating foundation. It integrates these data into a digital twin model to predict stability during storms. The system proactively adjusts mooring chain tension and ballast water levels before the storm to stabilize the floating foundation and prevent excessive motion. This improves stability compared to passive control methods that only respond during storms.
18. Shallow Water Tension Leg Platform Mooring System with Central and Distributed Suction Anchors
MING YANG SMART ENERGY GROUP CO LTD, 2024
Mooring system for shallow water floating wind turbines using tension leg platforms (TLPs) that provides stability and positioning without the need for large columns. The system has a central suction anchor on the seabed below the TLP, surrounded by distributed suction anchors. The TLP columns connect to tension moorings that converge at the central anchor and disperse anchors. This configuration provides stability through tension balance without requiring buoyancy from large columns.
19. Mooring System with Tension Legs and Pressure-Activated Balancing Device for Floating Offshore Wind Turbines
JIANGSU HAIZHUANG WIND POWER EQUIPMENT CO LTD, 2024
Shallow water mooring system for floating offshore wind turbines that improves stability in deep waters where fixed foundations are impractical. The mooring system uses tension legs, a balancing device, and a fixed block to prevent tilting and roll from ocean waves. The base has tension legs anchored to the seafloor, a fixed component for the wind turbine, and a balancing device inside. When the turbine tilts, a pressure chamber injects seawater into a receiver to counterbalance and stabilize the base. The fixed block has an indented section to prevent erosion from waves. This allows floating wind turbines to operate in deeper waters without being driven off course by wave action.
20. Rotating Turret-Based Mooring System with Centrifugal Force Distribution for Floating Offshore Wind Turbines
POWERCHINA GUIZHOU ENG CO LTD, POWERCHINA GUIZHOU ENGINEERING CO LTD, 2024
Mooring system for floating offshore wind turbines that provides more even tension on the mooring lines to prevent loosening and damage. The system uses a rotating turret on the wind turbine foundation that transmits centrifugal force to the four mooring lines at the corners when the turbine rotates. This equalizes the tension on all four lines instead of just the one on the stressed side. This prevents loosening and breakage of the mooring lines when the turbine experiences lateral forces.
21. Offshore Wind Turbine Foundation with Rock Anchoring and Semi-Submersible Module
China Power Construction Group East China Survey and Design Research Institute Co., Ltd., POWERCHINA HUADONG ENGINEERING CORPORATION LTD, 2024
A tensioned wind turbine foundation for offshore wind farms that can be anchored to rock seabeds in deep waters. The foundation has a rock anchoring system, a mooring cable, a semi-submersible module, a tower, and a wind turbine. The rock anchoring system attaches to the seabed rock formations. The mooring cable secures the foundation to the seabed. The semi-submersible module floats on the water and supports the tower and turbine. This allows deploying wind turbines in deep water areas without requiring expensive gravity foundations or complex pile driving. The tensioned foundation can be anchored to existing rock formations instead of requiring extensive seabed leveling or drilling. It reduces costs and simplifies construction compared to traditional foundations in challenging offshore environments.
22. Grid-Based Mass Mooring System with Concrete Structures for Floating Offshore Wind Turbines
HSG SUNGDONG SHIPBUILDING CO LTD, 2024
Group mooring of multiple floating offshore wind turbines together in a designated area at sea. The group mooring uses a mass mooring facility with concrete heavy structures arranged in a grid on the seabed. The turbines are moored to some of the concrete structures using lines. This allows multiple turbines to be moored in a grid pattern without collisions. It provides a centralized location for multiple turbines instead of individual moorings. This saves space compared to stacking turbines on land between productions.
23. Mooring Line Tension Devices with Neutrally Buoyant Float-Weight System and Parallelogram Linkage Mechanism
T-Omega Wind, 2024
Tension devices for mooring lines of offshore wind turbines that provide constant tension in the mooring lines as the turbine moves in waves. The devices aim to prevent the turbine from being dragged by varying line tensions in different weather conditions. One device uses a float and weight that are neutrally buoyant when connected. Another device uses a parallelogram linkage with a weight and float that provides a force that increases slowly as the turbine moves. Both devices aim to maintain a constant force in the mooring lines even when the turbine isn't moving.
24. Tension Leg Offshore Wind Platform with Integrated Mooring Locking Mechanism and Ballast-Adjustable Tensioning System
WISON OFFSHORE & MARINE LTD, 2024
A tension leg type offshore wind power platform that can be assembled and installed on land before being towed to sea. The platform consists of a wind turbine, tower, center buoy, extended section, and cable assembly. It connects to mooring anchors using a locking mechanism on the platform. The locking mechanism allows tensioning the mooring chain by adjusting ballast in the buoys. This eliminates the need for external cranes or boats to connect the platform to the moorings at sea, reducing costs.
25. Floating Platform with Central Turret and Rotatable Connecting Components for Single Point Mooring of Offshore Wind Turbines
UNIV WUHAN SCIENCE & TECH, WUHAN UNIVERSITY OF SCIENCE AND TECHNOLOGY, 2024
Single point mooring system for offshore floating wind turbines that allows the floating platform to rotate around a central turret for alignment with the wind without a yaw mechanism. The floating body has connecting components at intervals that can rotate relative to the body. The wind turbine is fixed on the body and connected to a cable. Each connecting component connects a mooring cable to anchor. This allows the body to rotate while keeping the turbine aligned. The turret has bearings for rotation and an electric slip ring for power transmission. An anchor windlass retracts and releases the mooring chain.
26. Mooring System with Adjustable Ballast-Chain Mechanism and Pulley for Floating Platforms
HOHAI UNIVERSITY, SUZHOU RESEARCH INSTITUTE OF HOHAI UNIV, SUZHOU RESEARCH INSTITUTE OF HOHAI UNIVERSITY, 2024
A device to optimize the mooring of floating platforms in offshore wind farms to improve stability and reduce risk of failure. The device uses a closed transmission chain between the platform and anchor block. A ballast block is connected to one end of the chain near the platform. The chain is routed through a pulley. By adjusting the position of the ballast block, the chain angle and tension can be changed. This allows controlled variation in the restoring moment provided by the mooring tension. It helps balance forces on the platform in extreme conditions and prevent overturning.
27. Offshore Wind Turbine Foundation with Collar-Integrated Hydraulic Cylinder and Mooring Cable System
POWERCHINA HUADONG ENGINEERING CORP LTD, POWERCHINA HUADONG ENGINEERING CORPORATION LTD, 2024
Offshore wind turbine foundation design to improve stability and bearing capacity in deeper waters. The foundation uses a collar around the top of the pile, hydraulic cylinders attached to the collar, tension sensors on the cylinders, and mooring cables connecting the cylinders to anchor foundations. The hydraulic cylinders can adjust the tension in the mooring lines to counteract bending and tilting forces on the pile from wind and waves. This provides additional horizontal resistance to stabilize the pile in deeper waters where traditional single piles may not be sufficient.
28. Hybrid Floating Wind Turbine Platform with Semi-Submersible Foundation and Adjustable Compliant Mooring System
SHANGHAI JIAOTONG UNIVERSITY, UNIV SHANGHAI JIAOTONG, 2024
A compliant mooring hybrid floating wind turbine platform that provides a small mooring radius, low cost, good stability, and ease of installation compared to existing floating wind turbine platforms. The platform has a semi-submersible foundation, tower, wind turbine, and compliant mooring device. The compliant mooring allows adjusting mooring line length and ballast level to mitigate extreme loads on the mooring anchors. This reduces anchor chain tension and improves stability. The compliant mooring also allows compact mooring layouts compared to catenary anchors. The platform can be towed, installed, operated, maintained, stabilized, and recovered in stages.
29. Mooring System with Triangular and Y-Shaped Line Configuration for Semi-Submersible Platforms
BASSOE TECH AB, BASSOE TECHNOLOGY AB, 2023
Mooring system for semi-submersible wind power platforms that reduces platform motion and improves stability. The system uses three mooring lines connected to the platform columns and anchors. The first two lines are connected to the adjacent columns, forming an angle close to 120 degrees. The third line is connected to an anchor and splits into two cables to connect to the other columns. This creates a Y-shape at the platform. The splitting cables reduce horizontal loads on the columns. The angled lines improve lateral stability versus parallel lines.
30. Mooring System with Distributed Dampers and Mechanical Energy Storage for Floating Wind Turbines
HARBIN INSTITUTE OF TECH SHENZHEN SHENZHEN INSTITUTE OF SCIENCE AND TECH INNOVATION HARBIN INSTITUTE, HARBIN INSTITUTE OF TECHNOLOGY, 2023
Mooring system for floating wind turbines in transitional water depths to improve stability and reduce costs compared to conventional systems. The system uses distributed dampers and mechanical energy storage devices on the turbine platform. The dampers connect to the platform and a central connecting plate. The energy storage devices are between the plate and platform. The mooring cable connects to an anchor and passes through fairleads on the platform. This setup allows the dampers to absorb energy during wave events, reducing turbine motion. The energy storage devices provide additional restoring force. This reduces mooring tension and load compared to shallow water depths. The distributed dampers and energy storage allow customizing stability versus motion versus cost compared to centralized systems like catenary anchors.
31. Subsea Configuration with Compact Mooring Layout for Floating Wind Turbines in Ultra-Deep Water
TOTALENERGIES ONETECH, 2023
Subsea configuration for floating wind turbines in ultra-deep water (>400m) that reduces costs and footprint compared to conventional deep water wind farms. The configuration involves arranging the turbine foundations and mooring lines in a compact layout. The turbines have inward-facing inner mooring lines and outward-facing peripheral lines. This allows mutualizing some anchors between turbines and reduces the overall mooring footprint compared to conventional layouts. The inward-facing lines are shorter and the outward-facing lines are longer. This avoids clashes between lines and simplifies the layout compared to having all lines facing outward.
32. Mooring System with Perimeter Cable Groups and Inter-Platform Connections for Floating Single-Pillar Wind Platforms
CHINA SHIP SCIENT RES CT, CHINA SHIP SCIENTIFIC RESEARCH CENTER, DEEP SEA TECH SCIENCE TAIHU LABORATORY, 2023
Mooring system for floating single-pillar wind power platforms that reduces pitch motion and improves structural safety. The system uses cable groups around the platform perimeter connected to an anchor chain and foundation on the seabed. This creates a restoring moment to counteract pitching forces. Additional pitch restoring comes from connecting adjacent platforms together. The mooring also allows the platform to float at the waterline using a water drum.
33. Mooring System with Movable Frame and Rotating Beams for Floating Wind Turbines
SAMSUNG HEAVY IND CO LTD, 2023
Mooring system for floating wind turbines that reduces stress concentrations and prevents damage when the turbine moves due to waves. The system uses a movable frame and rotating beams to connect the turbine to the mooring wires. The frame slides on guide rails at the turbine base. Rotating beams connect to the frame and wires. This allows the wires to move with turbine heave without transmitting forces back to the frame. The beams rotate around the frame pivots to keep tension in the wires. The movable frame slides on the rails to absorb any remaining vertical motion.
34. Mooring System with Dynamic Tension Adjustment and Integrated Monitoring for Floating Offshore Wind Turbines
SHANGHAI INVESTIGATION DESIGN & RES INST CO LTD, SHANGHAI INVESTIGATION DESIGN & RESEARCH INSTITUTE CO LTD, 2023
A mooring system and monitoring system for floating offshore wind turbines that enables dynamic adjustment of mooring tension to reduce loads on the turbine platform. The system uses a combination of static and dynamic mooring components. The static mooring provides initial stability, while the dynamic mooring allows adjustment of tension based on platform motion and environmental conditions. The system also includes positioning and environmental monitoring to calculate loads and determine tension requirements. This allows proactive load reduction and management compared to traditional fixed mooring.
35. Mooring Device with Torsion Spring Mechanism and Rotating Hub for Offshore Wind Turbines
ZHEJIANG WINDEY CO LTD, 2023
A mooring device for offshore wind turbines that reduces the tension in the mooring lines compared to conventional systems. The device uses a torsion spring mechanism connected to the turbine and seabed. The mooring line attaches to the turbine and wraps around a cylinder inside the device. The cylinder has a rotating hub that can turn when the turbine moves. This rotation causes the spring to twist and generate forces that counteract the mooring tension. The hub and damping plate provide additional mass to increase the rotational inertia and further reduce the tension. This allows using lighter mooring lines and reducing costs compared to conventional systems like chain or heavy wire ropes.
36. Mooring Line Load Shedding Device with Buoy, Counterweights, and Rotating Wing Plates
POWERCHINA HUADONG ENGINEERING CORPORATION LTD, ZHEJIANG UNIV, ZHEJIANG UNIVERSITY, 2023
Load shedding device for mooring lines of floating wind turbines that reduces tension in extreme conditions. The device has a buoy, center counterweight, suspended counterweight, and rotating wing plates. The buoy and center counterweight reduce tension and dampen loads. The wing plates rotate to convert tension into non-collinear loads. This slows down impacts from instantaneous loads. The device can be hoisted as a whole for installation. The buoy has foam for buoyancy and rotating damping flaps to adjust buoyancy. The wing plates have hinges connected to the buoy and center counterweight.
37. Floating Platform Mooring System with Independent Support Structure for Offshore Wind Turbine Piles
HUANENG CLEAN ENERGY RES INSTITUTE, HUANENG CLEAN ENERGY RESEARCH INSTITUTE, 2023
Floating platform mooring system for offshore wind farms that prolongs the life of the anchoring system. The mooring system has a support structure for pile foundations that wind turbines can be installed on. Instead of connecting the turbine pile directly to the anchor chain, the turbine pile is connected to the support structure. The floating platform is then connected to the support structure. This allows the turbine pile to move independently from the anchor chain, reducing stress concentrations and extending the life of the anchoring system.
38. Mooring System for Semi-Submersible Wind Turbine Foundations with Catenary Composite Mooring Cables and Counterweighted Load Anchor Chains
SHANGHAI INVESTIGATION DESIGN & RES INST CO LTD, SHANGHAI INVESTIGATION DESIGN & RESEARCH INSTITUTE CO LTD, 2023
Mooring system for semi-submersible wind turbine foundations in shallow waters that allows full utilization of nearby wind resources without compromising safety. The system uses multiple groups of mooring structures around the turbine foundation. Each group has a catenary-shaped composite mooring cable with an upper anchor chain, load anchor chain, elastic bottom rope, and anchor anchor chain. Counterweights are provided on the load anchor chain to enhance catenary effect for recovery force. The elastic bottom rope absorbs loads from the turbine and counterweights to reduce tension and improve safety compared to a rigid chain. It also prevents the anchor chain from being completely pulled up by the turbine for better anchoring stability.
39. Active Tendon Mooring System with Independent Length Adjustment for Tension Leg Platform
TIANJIN UNIVERSITY OF TECHNOLOGY, UNIV TIANJIN TECHNOLOGY, 2023
Active tendon mooring system for a tension leg platform floating wind turbine that allows controlled adjustment of the tension leg tendons to stabilize the turbine in rough sea conditions. The system uses a mechanism to independently adjust the length of each tendon connected to the floating body. This allows fine tuning of the tension and position of the turbine relative to the foundation. Sensors monitor tendon length and tension, and a computer controls the adjustment motors to maintain stability and prevent excessive tendon elongation. The system improves attitude control, reduces motion, and prevents tendon relaxation compared to passive tendons.
40. Fixed Offshore Wind Turbine Platform with Monopile Foundation and Tensioned Mooring Line System
ENTRION WIND INC, 2023
A fixed offshore platform design for wind turbines in intermediate water depths that reduces motion to improve turbine performance. The platform is a fully restrained structure that minimizes movements in all six degrees of freedom. It uses a monopile foundation driven into the seabed and connected to anchors via tensioned mooring lines. The platform has features like connection components at the transition piece and monopile to easily adjust mooring line tension. This allows re-tensioning over time to counteract loosening from dynamic forces. The fully restrained platform design enables wind turbines in deeper water to have lower motion compared to floating platforms or shallow fixed structures.
41. Method for Securing Anchoring Force of Floating Offshore Wind Turbine Using Tensioner with Measuring Pin
CGO CORP, 2023
Method to secure the anchoring force of a floating offshore wind turbine to prevent it from moving excessively in rough seas and maintain stability. The method involves using a tensioner with a measuring pin to maximize anchor gripping force. The steps are: recover the active and passive anchors' chains, connect them to the tensioner, submerge the tensioner, repeatedly lift/lower it to embed the anchors, measure the force on the measuring pin, and secure the anchor gripping force based on that measurement. This provides sufficient anchor force to prevent excessive motion and stabilize the floating turbine in waves.
42. Compact Mooring System with Variable-Length Lines and Multiple Anchoring Elements for Offshore Wind Turbine Platforms
TOTALENERGIES ONETECH, 2023
A compact and flexible mooring system for offshore wind turbines that allows the turbine platform to move and flex with the forces of the wind and waves without requiring long and expensive mooring lines. The system uses multiple anchoring elements between the turbine platform and the seabed. The mooring lines are flexibly retained through these anchoring elements. The length of each mooring line can vary based on forces on the platform to absorb motion. This provides flexibility without extending the mooring lines excessively, avoiding the need for long lines and reducing turbine footprint.
43. Submersible Floating Foundation with Variable Cross-Section Connection and Compartmentalized Buoyancy Tank
Tianjin University, TIANJIN UNIVERSITY, 2023
Tensioned mooring submersible floating foundation for deep sea wind farms that provides better stability, easier installation, and lower cost compared to fixed foundations. The floating foundation has a hollow connection section with a variable cross-section shape and a buoyancy tank. The connection section has smaller upper water surface area to reduce wave loads. The buoyancy tank has compartments with valves to replace water and air. Tensioned mooring lines connect the foundation to anchors. The design allows the foundation to be towed and submerged when in position, reducing installation difficulty.
44. Floating Offshore Wind Turbine Foundations with Six-Degree-of-Freedom Motion Suppression
ENTRION WIND INC, 2023
Reducing the motion of offshore wind turbines to improve power generation in deep water. The method involves designing offshore wind turbine foundations that suppress all six degrees of freedom (DOF) of motion - surge, sway, heave, roll, pitch, and yaw. This is achieved by using floating platforms with taut mooring systems, vortex-induced vibration suppression devices, and tuned mass damping systems. The floating platforms have taut mooring lines that prevent significant horizontal and vertical motion. Vortex-induced vibration suppressors reduce motion due to flow separation. Tuned mass damping systems attached to the turbine reduce dynamic forces in the moorings. This allows turbines to be installed in deep water without needing extra foundations or weight to prevent tipping.
45. Floatable Offshore Structure with Adjustable Anchor Connection for Attitude Stabilization
RWE Renewables GmbH, 2023
Stabilizing the attitude of a floatable offshore structure like a wind turbine to improve performance and accessibility. The stabilization involves changing the length of the anchor connection between the structure and the foundation in response to the structure's attitude and a target set point. This is done using devices like winches, ballast tanks, and weight arrangements. By adjusting the anchor length based on real-time conditions, the structure can better handle wave and wind forces and prevent excessive tilting.
46. Mooring System with Vertically Adjustable Ballast Block for Floating Platforms
HOHAI UNIV, HOHAI UNIVERSITY, SUZHOU RESEARCH INSTITUTE OF HOHAI UNIV, 2023
Mooring optimization device for floating platforms to improve stability and prevent overturning of large-scale offshore wind turbines in extreme conditions. The device connects a ballast block to the mooring anchor chain near the bottom of the platform. By moving the ballast block vertically, the tension angle of the mooring chain changes. This adjustable restoring moment compensates for the increased force and moments on the platform in rough seas.
47. Floating Foundation with Submerged Anchor and Retractable Buoy Connection for Offshore Wind Turbines
NO 719 RES INSTITUTE CHINA SHIPBUILDING GROUP CO LTD, NO 719 RESEARCH INSTITUTE CHINA SHIPBUILDING GROUP CO LTD, 2023
A floating foundation for anchoring offshore wind turbines that eliminates the need for expensive seabed piling. The foundation consists of a submerged anchor body with a water inlet, a retractable connection to a buoy above, and a guide wheel. The buoy has a hook and chain. To deploy, an engineering ship connects the chain and pulls it to move the buoy down and attach the hook to the anchor. The ship then detaches. This allows the wind turbine to be moored without seabed piling, reducing cost and installation time.
48. Double Buoy Single Point Mooring Floating Foundation with Rotatable Turret and Adjustable Ballast System
POWERCHINA HUADONG ENGINEERING CORPORATION LTD, 2023
Double buoy single point mooring offshore wind power floating foundation with improved stability and resistance to harsh wind and wave conditions. The floating foundation uses a double buoy configuration with ballast tanks in each buoy. The buoys rotate around a central turret when winds and waves strike, providing stability. The foundation also has a frame connecting the buoys and turret. This allows the entire structure to move together and reduces forces on the wind turbine. The frame connects to the turbine at the top. The buoys can be adjusted with ballast to change draft.
49. Floating Wind Turbine Mooring System with Dual-Stage Installation and Operation Structures
SHANGHAI WISON MARINE ENG CO LTD, SHANGHAI WISON MARINE ENGINEERING CO LTD, 2023
A temporary mooring system for floating wind turbines installed on floating platforms that allows installation without relying on wharves and has typhoon resistance. The system uses separate mooring structures for installing and operating the turbine. During installation, the turbine is moored close to the platform with a bollard, columns, and piles. An installation vessel attaches to the columns. After installation, the turbine moves to an open-water location with anchors. The system allows flexible installation timing without wharf constraints, and can avoid bad weather during installation by moving the turbine.
50. Floating Wind Turbine Installation Device with Submerged Weighted Tension Units and Integrated Mooring System
YANHAI ENERGY TECH SHANGHAI CO LTD, YANHAI ENERGY TECHNOLOGY CO LTD, 2023
A floating wind turbine offshore installation auxiliary mooring positioning device that improves the stability and ease of installing floating wind turbines at sea. The device consists of a fan below the floating platform foundation, vertical tension units with submerged weights and tension cables connecting them, and a mooring system around the platform. This setup provides rigidity, stability, and controlled motion of the platform during turbine installation to reduce risk and cost compared to conventional methods.
Various methods of mooring offshore wind turbines are demonstrated by the patents examined here. Tethered tower designs and angled mooring lines are a few methods that some propose to improve stability. Others prioritize cost-efficiency by utilizing single mooring systems or rapid cable tensioning methods.
Get Full Report
Access our comprehensive collection of 116 documents related to this technology
