Improved Power Generation for Wind Turbines
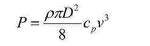
Modern wind turbines convert approximately 35-45% of available kinetic energy into electrical power, with coefficients of power limited by Betz's Law. Despite significant strides in turbine design, energy losses occur at every stage: from aerodynamic inefficiencies in blade interaction with air masses to mechanical friction, electrical resistance, and wake effects that reduce downstream turbine productivity by 30-40% in typical array configurations.
The challenge in wind power generation lies in simultaneously optimizing individual turbine performance while managing complex wake interactions across entire wind farms.
This page brings together solutions from recent research—including consensus-based yaw control systems that improve turbine alignment, predictive constraint scheduling for optimized power output, machine learning approaches to wake mitigation, and specialized blade designs with serrated spike features for low-density air environments. These and other approaches provide practical pathways to increase both individual turbine and overall farm production while maintaining structural integrity and operational reliability.
1. Principle Parameters and Environmental Impacts that Affect the Performance of Wind Turbine: An Overview
Mohamed Bashir Ali Bashir - Springer Science and Business Media LLC, 2021
The share of wind-based electricity generation is gradually increasing in the world energy market. Wind energy can reduce dependency on fossil fuels, as the result being attributed to a decrease in global warming. This paper discusses and reviews the basic principle parameters that affect the performance of wind turbines. An overview presents the introduction and the background of energy consumption, following the order of the elaboration of wind turbines, including mathematical models, categories of wind turbines were critically discussed. Moreover, it also focuses on materials that are commonly considered for wind turbine manufacturing, and the process used to recycle them. The scale of recycling methods for fiberglass and thermoplastic is presented in the respective section. Various parameters that reduce the function of wind turbines are explained in depth. This review also discusses various environmental impacts of wind turbines. Future research studies are suggested in the conclusion section.
2. Method for Wind Farm Power Output Adjustment Using Turbine Cluster Identification and Machine Learning-Based Wake Mitigation
GENERAL ELECTRIC RENOVABLES ESPANA SL, 2024
A method for optimizing wind farm power output by mitigating wake effects between turbines. The method identifies turbine clusters based on wind direction and determines the optimal operating setpoints for each turbine in the cluster to maximize overall farm power output. The method uses machine learning models to predict the power output of downwind turbines affected by upwind turbine wakes, and adjusts the operating setpoints of both upwind and downwind turbines to balance their power output and maximize the overall farm power output.
3. Method for Wind Turbine Wake Management Using Sensor-Based Localized Control
VENTUS ENGINEERING GMBH, 2024
A method for optimizing wind farm performance through wake management, where individual turbines monitor and respond to their own wake conditions using onboard sensors, enabling local optimization that eventually converges to a global optimal configuration. The method involves processing sensor data to identify wake conditions, establishing a wake management strategy, and controlling turbine operations to minimize wake effects and maximize overall wind farm production.
4. Wind Turbine Control Method with Dynamic Power Loss Limit Adjustment
WOBBEN PROPERTIES GMBH, 2024
A method for controlling a wind turbine to operate above its nominal power while maintaining safe operating conditions. The method involves determining a power loss limit based on cooling capacity, generator torque, and other factors, and operating the turbine at a power above nominal while monitoring and controlling power loss to prevent overheating and mechanical stress. The power loss limit is dynamically adjusted based on operating conditions, including wind speed, temperature, and component temperatures, to ensure safe operation while maximizing energy production.
5. Method and Control Device for Wind Farm Active Power Distribution Based on Turbine Capability Analysis
BEIJING GOLDWIND SCIENCE & CREATION WINDPOWER EQUIPMENT CO LTD, 2024
A method and control device for adjusting active power of a wind farm, comprising acquiring an active power increment to be adjusted, determining the total active power adjustable amount of the wind farm based on individual turbine capabilities, and allocating the active power increment to each turbine based on its adjustable amount. The method enables fast and flexible active power adjustments in wind farms, particularly for primary frequency control and low-voltage ride-through applications.
6. Dynamic Power Limit Adjustment System for Wind Turbines Based on Terminal Voltage Monitoring
SIEMENS GAMESA RENEWABLE ENERGY AS, 2024
A method and arrangement for boosting wind turbine power output above nominal levels without compromising electrical system stability. The method dynamically adjusts the maximum active power limit based on the wind turbine output terminal voltage, enabling power boosts without hard limits. The arrangement includes an input for receiving the voltage, a processing unit to determine the dynamic limit, and a control signal output to the generator system to set the power output within the defined limit.
7. Wind Turbine Blade with Serrated Spike Features for Enhanced Induction Factor at Low Air Densities
WOBBEN PROPERTIES GMBH, 2024
Optimizing wind turbine blades for low air density sites to improve power generation without changing blade geometry. The technique involves adding sound protection features near the blade tip that increase induction factor at low air densities. The features are serrations with spikes along the blade edge. By upsizing the spikes, installing them at an angle, and adjusting their shape, the blade's effective trailing edge is altered to boost blade performance in low density conditions. This compensates for reduced lift and power from the lower air density without modifying the blade shape.
8. Wind Farm Yaw Control with Consensus-Based Wind Direction Estimation Using ADMM Optimization
ALLIANCE FOR SUSTAINABLE ENERGY LLC, 2023
Coordinated wind farm yaw control using consensus estimation to improve wind turbine alignment and performance. The technique involves having turbines estimate each other's local wind directions using ADMM optimization with augmented Lagrangian methods. By sharing and comparing local wind estimates, the consensus provides more robust and accurate wind direction measurements for each turbine. This reduces misalignment, unnecessary yaw movements, and improves power capture compared to individual turbine measurements.
9. Wind Turbine Control System with Real-Time Predictive Constraint Scheduling
VESTAS WIND SYSTEMS AS, 2023
A wind turbine control system that optimizes power output and minimizes loads by scheduling constraints based on operational parameters. The system uses a predictive controller that determines behavioral constraints in real-time based on wind turbine state and operational parameters, and optimizes control outputs subject to these dynamic constraints.
10. Control System for Wind Farm Axial Induction Zone Management with Dynamic Turbine Parameter Adjustment
SIEMENS GAMESA RENEWABLE ENERGY AS, 2023
A control method and device for optimizing wind farm performance by managing axial induction zones between wind turbines. The method determines optimal control settings for each turbine based on free-stream wind conditions, wake interactions, and structural loads. The control device calculates axial induction zones and generates control signals to adjust operational parameters such as blade pitch, yaw, and rotational speed to optimize power production and reduce structural loads.
11. Multistage Wind Turbine with Conical Radial Stage and Axial Blade Stage in Enclosed Structure
Daniel Maurice Lerner, 2023
Multistage wind turbine with radial and axial stages to extract more power from the wind. The turbine has a conical first stage with vertical blades to capture wind and a second stage with axial blades. This two-stage design allows extracting more energy from the wind compared to just a radial or axial stage. The conical first stage focuses wind into the axial second stage to increase velocity and power. The turbine also uses a box-shaped enclosure to guide and amplify wind for the stages. The enclosure prevents birds and reduces noise. The turbine is roof-mountable, safe, and quiet for urban areas. It uses a single rotor and converter for simplicity and low cost.
12. Wind Turbine Operation Method with Mode-Switching for Enhanced Reactive Power Capability Using Doubly-Fed Induction Generator
SIEMENS GAMESA RENEWABLE ENERGY INNOVATION & TECHNOLOGY SL, 2023
A method of operating a wind turbine with a doubly-fed induction generator (DFIG) to enhance reactive power capability, particularly at low wind speeds. The method involves operating the turbine in a maximum power point tracking (MPPT) mode and switching to a second operational mode when a monitored parameter (e.g. rotational speed, wind speed, active power) reaches a threshold. In the second mode, the turbine's rotational speed is increased at the expense of active power generation, thereby reducing rotor currents and voltages and enabling higher reactive power capability.
13. Method for Wind Turbine Blade Pitch Angle Modulation Using Periodic Induction Factor Variation
CROSSWIND C V, 2022
A method for controlling a wind turbine to improve wake mixing and increase energy production in wind farms. The method involves dynamically changing the pitch angle of individual blades over time to create a periodic variation in induction factor, which disrupts the formation of a stable wake behind the turbine. The pitch angle variation is achieved through a predefined periodic function, such as a sinusoidal function, that is applied to each blade. This approach enables forced wake mixing with minimal impact on power output and wake velocity, and can be implemented using existing wind turbine control systems.
14. Method for Managing Wind Turbine Power Output with Time-Averaged Deviation Control
WOBBEN PROPERTIES GMBH, 2022
Method for optimizing power production of wind turbines and wind farms by allowing short-term deviations from maximum power limits when averaged over a time period. The method involves determining a target maximum power, monitoring actual power, averaging it over a reference time, comparing to the target, and if the average is below, operating the turbine at a setpoint allowing higher power. This prevents underproduction due to gusts and grid constraints. For farms, it allows turbines to exceed farm-wide limits if their average is below.
15. Method for Adjusting Control Parameters of Renewable Power Generating Unit Based on Forecasted and Actual Output Discrepancy
VESTAS WIND SYS AS, 2022
A method for controlling power output of a renewable power generating unit, such as a wind turbine, to ensure forecasted power outputs are reached without unduly loading the unit. The method involves forecasting the unit's power output during a predefined time interval, monitoring actual output, and adjusting control parameters to boost output when forecasted output is not met. The adjustment is based on a difference signal between forecasted and actual output, and is discontinued when the difference falls below a predefined threshold.
16. Wind Turbine Control System with Reinforcement Learning-Based Real-Time Environmental Parameter Optimization
SIEMENS GAMESA RENEWABLE ENERGY AS, 2022
A wind turbine control system that optimizes power output by leveraging reinforcement learning to determine optimal start-up and operation conditions based on real-time environmental parameters, including wind speed, turbulence, temperature, and air density. The system receives environmental data, applies a reinforcement learning algorithm to determine optimal control actions, and executes those actions to maximize power output.
17. Wind Turbine Control Method with Boost Operational Function for Variable Power Output
SIEMENS GAMESA RENEWABLE ENERGY AS, 2022
A control method for wind turbines that boosts power output above nominal levels without exceeding structural limits. The method uses a boost operational function that ramps up power output as wind speed or pitch angle increases, with a constant power output plateau reached at a predetermined threshold. The boost function is designed to optimize power production while minimizing structural stress on turbine components.
18. Wind Turbine Rotor Blade with Trailing Edge Profile Elements and Adjustable Pitch Control
WOBBEN PROPERTIES GMBH, 2022
Increasing the power output of wind turbines by optimizing the rotor blade design. The technique involves adding profile elements to the blade trailing edge to increase the blade depth. A controller adjusts the blade pitch angle based on the increased depth. This compensates for the reduced local angle of attack as the elements enlarge the blade. By accounting for the element effect, it allows setting the optimal pitch for the modified blade shape.
19. Wind Turbine Generator Control Method Utilizing Thermal Hotspot-Driven Power Boost in Knee Region of Power Curve
VESTAS WIND SYSTEMS AS, 2022
A method of controlling a wind turbine generator that optimizes energy production during the knee region of the power curve by initiating a power boost based on thermal hotspot temperatures, and controlling the boost's magnitude and duration accordingly. The method enables wind turbines to temporarily exceed rated power while maintaining safe operating temperatures, thereby increasing annual energy production.
20. Method for Configuring Vortex Generator Distribution on Wind Turbine Rotor Blades Based on Site-Specific Air Density
WOBBEN PROPERTIES GMBH, 2022
A method for designing and operating a wind power plant that achieves more efficient operation by adapting the population of vortex generators on the rotor blades to the site-specific air density. The vortex generators are arranged in the longitudinal direction of the rotor blade up to a radius position determined by the air density, preventing flow separation and enabling reduced pitch angles. This approach enables greater production overall while maintaining or reducing power losses compared to conventional methods.
21. Tandem Double-Wind Turbine System with Independent Rotational Speed Control
HUANENG CLEAN ENERGY RES INST, 2022
Collaborative control method for tandem double-wind turbine wind power generation that improves efficiency and reduces cost compared to conventional coaxial or geared dual turbines. The method involves independently controlling the rotational speeds of the front and rear turbines to optimize their power output based on wind conditions. This allows both turbines to operate in their respective high-efficiency regions. By coordinating the output of the front and rear turbines, the overall power generation of the tandem setup is maximized.
22. System and Method for Real-Time Wind Turbine Control Using AI-Based Parameter Adjustment
SIEMENS GAMESA RENEWABLE ENERGY SERVICE GMBH, 2022
A method and system for optimizing wind farm performance through real-time control of wind turbine operation based on environmental conditions, grid requirements, and turbine performance metrics. The system employs artificial intelligence to determine optimal control parameters, such as yaw angle and power output, based on factors like wind speed, temperature, and grid demand. The AI continuously monitors turbine performance and environmental conditions to adjust control parameters and optimize energy production.
23. Wind Turbine Farm System with Dynamic Operating Level Adjustment Based on Power Output Correlation Analysis
ENVISION ENERGY CO LTD, 2022
System for optimizing wind turbine farm performance by dynamically adjusting operating levels of upwind and downwind turbines based on statistical analysis of their power output correlations. The system identifies upwind and downwind turbines based on wind direction, determines their power outputs, and calculates a correlation between their outputs. This correlation is used to determine a reduced operating level for the upwind turbines, which is then implemented to increase overall farm power production.
24. Wind Turbine Control System with Blade Pitch Adaptation Based on Tower Motion Sensor Data
VESTAS WIND SYSTEMS AS, 2022
A wind turbine control system that improves power production by dynamically adapting blade pitch based on tower motion. The system uses sensor data to determine tower dynamics and adjusts pitch references accordingly, enabling more efficient operation during partial load conditions.
25. Method for Operating Wind Power Installation with Turbulence-Class-Dependent Rotor Speed and Blade Configuration Adjustments
WOBBEN PROPERTIES GMBH, 2022
A method for operating a wind power installation that optimizes performance by adapting to site-specific wind conditions. The method determines the turbulence class at the installation site and adjusts the rated rotor speed accordingly. The rotor blades can be adjusted in their angle of attack, and the method also optimizes the placement and number of vortex generators on the blades based on the turbulence class. This enables efficient operation across different wind conditions, reducing loads and increasing energy production.
26. Wind Turbine Yaw Control System with Intercepting Data Communication and Processing Unit
WINDESCO INC, 2022
A system for enhancing yaw control of wind turbines to improve energy production and reduce maintenance costs. The system retrofits existing turbines with a data communication and processing unit that intercepts the relative wind direction signal between sensors and the turbine control unit, generating a virtual signal to drive the nacelle to a desired position. The system also enables external control of the yaw position and provides methods for optimizing turbine control unit performance through virtual wind direction and speed signals.
27. Flexible Wind Turbine Blade with Actively Variable Twist and Modular Segments
THE RESEARCH FOUNDATION FOR THE STATE UNIVERSITY OF NEW YORK, 2021
A flexible wind turbine blade with actively variable twist distribution that maximizes efficiency by adjusting its angle of attack in response to changing wind conditions. The blade features modular, additively manufactured segments with tunable stiffness and actuation points, enabling a non-linear twist distribution that can be optimized for specific wind conditions. The design combines aerodynamic analysis, mechanical design, and free-shape optimization to achieve improved performance, particularly in Region 2, where wind speeds are lower.
28. Wind Turbine Rotor Blade Configuration with Site-Specific Vortex Generator Distribution
WOBBEN PROPERTIES GMBH, 2021
A method for designing and operating wind turbines that optimizes energy production while meeting site-specific sound power level requirements. The method involves adapting the population of vortex generators on the rotor blades based on the site's sound power level requirements, rather than using a standardized population. This allows the turbine to operate at a lower rated rotor speed while maintaining efficient energy production, and enables the use of smaller blade pitch angles to prevent flow separation. The vortex generators are strategically placed along the rotor blade to maximize energy production while meeting sound power level requirements.
29. Vertical Windmill Blade with Frame Structure and Flexible Sheet Material Covering Cutouts
EPIC METALS CORP, 2021
A lightweight vertical windmill blade design that reduces weight and improves efficiency compared to traditional metal blades. The blade has a frame structure with cutouts covered by a layer of flexible sheet material like PTFE instead of metal. The sheet material is attached over the cutouts on the exterior or interior surface of the blade. This reduces weight while maintaining blade strength. The flexible sheet also covers the cutouts to improve airflow and reduce drag compared to exposed cutouts.
30. Wind Power Generator with Hybrid Darrieus-Savonius Blades and Voltage-Responsive Motor Control System
HOPOONG CORP, 2021
Wind power generator with improved power generation efficiency, comprising a fixed shaft, a rotating shaft sleeve, a Darrieus-type blade, a Savonius-type blade, a power generation unit, a driving motor, and a motor fixing unit. The generator includes a control unit that drives the driving motor when the detected output voltage of the power generation unit falls within a preset range, thereby improving power generation efficiency at low wind speeds.
31. Vertical Wind Turbine with Concave Arc-Shaped Blades Encircling Central Shaft
Cheng-Jyun Wang, 2021
Vertical wind turbine blade design for high efficiency and ease of operation compared to horizontal turbines. The blade set has multiple blades connected to a shaft at the top of the turbine tower. The blades curve concavely in a arc shape around the shaft. This allows the blades to capture wind from any direction, unlike horizontal blades that need a specific wind angle. The vertical configuration also eliminates the need for complex blade orientation mechanisms. The blades extend to a height for maximum capture area.
32. Method for Rotor Blade Pitch Adjustment Using Aerodynamic Power-Based Control in Wind Turbines
WOBBEN PROPERTIES GMBH, 2021
A method to improve the performance of wind turbines by optimizing the pitch angle of the rotor blades to prevent flow separation and stall. The method involves using the aerodynamic power of the rotor instead of electrical power to set the blade pitch angle. This allows faster and more responsive blade pitch adjustments compared to using electrical power. The aerodynamic power is calculated based on factors like generated electrical power, losses, and rotor acceleration. A nominal pitch angle is established as a function of the aerodynamic power, and the blade pitch is set to that value. This helps prevent flow separation at lower wind speeds and in low-density conditions where the blade angle needs to be adjusted more frequently.
33. Wind Turbine System with Integrated Multi-Source Energy Input and Adaptive Control Mechanism
YALCIN AHMET CEM, 2021
A wind turbine system that enhances efficiency and power generation capacity by integrating multiple energy sources. The system combines a conventional wind turbine with an external energy source, such as solar or waste energy, and a power storage unit. An electric machine driver regulates the turbine's operation, utilizing energy from the storage unit and external source to optimize performance. The system includes sensors and software that monitor and adjust the turbine's operation based on energy availability, enabling the turbine to operate beyond its conventional 59.3% efficiency limit.
34. Vertical Axis Wind Turbine with Venturi Effect Intake and Yaw System
MONTO MARK, 2021
A vertical axis wind turbine design that uses a Venturi effect intake and yaw system to improve efficiency and starting ability in low winds. The turbine has a cavity shell with an intake opening that accelerates wind using the Venturi effect. This creates a lower pressure inside the shell, pulling more wind in. Blades inside the shell rotate as the wind forms a vortex. A yaw system rotates the turbine to face the wind. This increases capture area and reduces drag. The Venturi intake and yaw help the turbine start turning in low winds.
35. Method for Generating Climate-Specific Power Curves Using Mesoscale Weather Modeling for Wind Turbine Control Optimization
VESTAS WIND SYSTEMS AS, 2021
Method for improving wind turbine energy production by generating climate-specific power curves using mesoscale weather modeling, predicting annual energy production based on these curves, and optimizing turbine control settings to match local wind conditions. The method uses the Weather Research and Forecasting (WRF) model to generate hourly wind speed and direction data for a selected location, which is then used to create multiple power curves representing theoretical turbine performance under different climatic conditions. These power curves are combined with wind speed data to estimate annual energy production, and the resulting curves are used to optimize turbine control settings for maximum energy output.
36. Wind Turbine Operation Method with Throttled Rotor Speed and Pitch Angle Control
WOBBEN PROPERTIES GMBH, 2020
A method for operating a wind turbine that optimizes power production while reducing rotor thrust, particularly in partial load conditions. The method employs a throttled rotor speed curve in combination with a throttled pitch angle, which is designed to maximize power output while minimizing rotor thrust. The throttled operation is triggered by external signals or specific wind conditions, and is optimized based on a ratio of power coefficient to rotor thrust coefficient. The method also enables dynamic pitch angle control during transient operational situations, and can be applied to wind farms with multiple turbines.
37. Wind Turbine Rotor Blade with Dynamically Adjustable Trailing Edge Serrated Profile
WOBBEN PROPERTIES GMBH, 2020
A rotor blade for a wind turbine with improved efficiency, comprising a trailing edge section that can be dynamically adjusted in profile depth to match site-specific loads. The adjustment is achieved through the attachment of a serrated profile element at the trailing edge, whose extension is determined by a combination of standardized load calculations and site-specific load measurements. This enables the rotor blade to optimize its aerodynamic performance in response to varying environmental conditions.
38. Wind Farm Operation Method with Turbine-Specific Cut-In Speed Adjustment Based on Reactive Power Constraints
GENERAL ELECTRIC CO, 2020
Operating a wind farm with multiple wind turbines to improve efficiency during low wind speeds by optimizing cut-in speeds while meeting reactive power requirements. The method involves determining the lowest possible rotor speed for each turbine that satisfies the reactive power margin. This is done based on the reactive power demand at the active power output and the turbine's reactive power availability at the wind speed. By allowing the turbines to cut in at these lower speeds, they can operate at higher efficiency at low wind speeds while still meeting grid reactive power requirements.
39. Wind Turbine Control System with Real-Time Thermal Modeling for Reactive Power Adjustment
GENERAL ELECTRIC CO, 2020
A control system for wind turbines that dynamically adjusts reactive power output based on real-time thermal modeling of the electrical subsystem. The system generates a thermal model using wind forecast data and active/reactive power production maps, and adjusts the reactive power set point of the doubly-fed induction generator (DFIG) to extract additional reactive power while avoiding thermal limits. The system enables segmented VAR dispatch across wind turbines in a cluster, and provides thermal cycling records for remaining life assessment.
40. Wind Turbine Control System with Dynamic Single-Blade Pitch and Torque Adjustment Mechanism
SENVION GMBH, 2020
A method and system for controlling a wind turbine to improve performance and extend lifespan by dynamically adjusting blade pitch and torque control based on operating conditions. The system activates a single-blade control when operating variables exceed predetermined thresholds, gradually increasing or decreasing pitch and torque to compensate for loads and maintain optimal operation. The control is implemented through a computer program product that executes on a controller, enabling real-time adjustments to optimize wind turbine performance.
41. Wind Turbine Control System Utilizing Turbine-Derived Wind Speed Estimation for Adaptive Operating Mode Adjustment
WOBBEN PROPERTIES GMBH, 2020
Controlling a wind turbine with improved efficiency by estimating the wind speed and adapting the turbine's operating mode based on the estimate. The method involves using the turbine itself as a wind sensor by controlling the turbine's operation without directly measuring wind speed. It estimates wind speed using the turbine's rotation and power output. This allows setting optimal operating points for subrated, transient, and rated wind speeds. The turbine starts by pitching the blades to match a predetermined relationship between speed and angle. Feedforward control adjusts power based on wind speed in rated mode, with decreasing thrust in transient mode.
42. Wind Turbine Control System with Air Density Estimation via Blade Load-Based Transfer Function
VESTAS WIND SYSTEMS AS, 2020
A wind turbine control system that estimates air density using a transfer function based on blade load measurements, enabling optimized blade pitch control and improved power output while maintaining operational safety.
43. Method for Power Generation Adjustment in Wind Turbines Using Machine Learning-Based Predictive Control
GENERAL ELECTRIC CO, 2020
A method for optimizing power generation from wind turbines by using machine learning to predict optimal operating conditions based on current machine and environmental conditions. The method involves training a model with historical data, applying it to real-time conditions to determine optimal settings, and adjusting turbine operation accordingly. The approach enables real-time optimization of wind turbine performance, reducing mechanical loads and increasing annual energy production.
44. Wind Turbine Control System with Real-Time Wear-Responsive Model Predictive Controller
VESTAS WIND SYSTEMS AS, 2020
A control system for wind turbines that optimizes power generation while preventing premature wear and failure. The system uses a model predictive controller (MPC) that adjusts its control strategy based on real-time wear measurements compared to design targets. When wear exceeds targets, the MPC reduces turbine operation to prevent early failure, while under-wear conditions allow for increased power generation. This approach enables wind turbines to operate closer to their design lifetimes while maximizing energy production.
45. Wind Turbine with Adjustable Diffuser and Airfoil Configuration Featuring Electronically Controlled Curtains
NAVIKOM ANDRZEJ KOSCHEL, 2020
Wind turbine with adjustable diffuser system for enhanced efficiency. The turbine features a central airfoil with a biconvex cross-section and two side airfoils with asymmetrical plane-convex sections. Adjustable curtains between the airfoils can be controlled electronically to optimize airflow and power generation. The central airfoil incorporates inlet openings and a diffuser to direct wind onto the generator rotor. The system enables dynamic adjustment of the diffuser shape to match varying wind conditions, enhancing overall turbine efficiency.
From wind direction systems and aerodynamic blade attachments to control systems for blade synchronization and variable torque, the patents shown here represent a variety of methods. Other approaches are better power management through distributed compressed air storage and airborne wind energy systems with optimized tethered wing designs.
Get Full Report
Access our comprehensive collection of 45 documents related to this technology
