Reinforced Connections for Wind Turbine Stability
Wind turbine connections face extreme mechanical stresses, with blade-root bolts experiencing cyclical loads exceeding 1,600 MPa and pitch bearings managing multi-directional forces across connection interfaces. These critical joints must maintain structural integrity while accommodating thermal expansion, vibration, and decades of operational cycles in harsh environments.
The fundamental challenge lies in designing connection systems that distribute loads effectively while remaining serviceable and manufacturable at the scale of modern turbines.
This page brings together solutions from recent research—including segmented pitch rings with bridge elements, reinforced aperture designs using fiber materials, vacuum-assisted bonding techniques, and modular connection systems with integrated maintenance access. These and other approaches focus on improving durability while addressing the practical constraints of manufacturing and maintaining large-scale wind turbine components.
1. Wind Turbine Locking Nut with Integrated Wind Pin and Chute Mechanism
NINGBO HISENSE FASTENER CO LTD, 2024
Wind turbine locking nut design to prevent bolts from loosening during turbine operation due to vibrations. The nut has a wind pin feature that inserts into the bolt and prevents rotation when the nut is tightened. This prevents loosening of the bolt-nut connection when the turbine blades rotate. The wind pin extends through the nut and slides into a chute on the bolt. A mounting ring separates the wind pin from the nut and then is pulled back to slide the wind pin into the nut chute. This fixes the wind pin in place inside the nut and prevents rotation when the nut is tightened.
2. Threaded Connection Structure with Gradually Varying Thread Thickness and Stiffness for Wind Turbine Blades
CHONGQING DUANCHANG TECH CO LTD, CHONGQING DUANCHANG TECHNOLOGY CO LTD, 2024
Threaded connection structure for wind turbine blades that improves strength and reduces stress concentration compared to standard threads. The connection uses a double-ended stud and a threaded sleeve. The stud has sections with gradually varying thread thickness and stiffness. The thicker, stiffer section is closer to the center of the stud. The sleeve threads engage both sections. This gradual transition of thread properties distributes the tightening force over more threads and reduces plastic deformation.
3. Stud Bolt Assembly with Integrated Limiting Mechanism and Adhesive Injection Capability
YANGZHOU DAFA SCREW CO LTD, 2023
A stud bolt design for wind turbine blades that reduces loosening and improves stability during vibration. The stud bolt has a top threaded rod with a through hole, a bottom threaded rod, and a side rod connecting them. A limiting mechanism on the side rod prevents the top and bottom rods from separating. The mechanism includes a sliding plate, limiting hole, limiting rod, and adjusting plate. Glue can be injected through the through hole to secure the rods to the workpieces. This prevents loosening due to vibration by mechanically locking the rods together.
4. Stud Bolt with Integrated Screw and Torsion Mechanism for Wind Turbine Blade Fastening
NINGBO WANLI HIGH STRENGTH FASTENER CO LTD, NINGBO WANLI HIGH-STRENGTH FASTENER CO LTD, 2023
Large-size stud bolt for wind turbine blades that has an integrated design to improve fastening and prevent loosening during operation of heavy blades. The stud bolt has a main body with an integrated screw and connector. The screw threads into the base and the other end penetrates the blade. A rotating head attaches to the main body. A torsion gear engages with the rotating head. When tightening the bolt, the head rotates the torsion gear which drives a two-way screw rod. This in turn moves two pressing heads toward the blade holes to clamp them together. This provides additional tightening force to prevent loosening when the blades rotate.
5. Double-Ended Stud with Asymmetric Thread Types for Fatigue Resistance in Wind Turbine Blade Root Connections
ENVISION ENERGY LTD, 2023
Fatigue-resistant double-ended stud for wind turbine blade root connections that prevent fatigue failure of bolts compared to traditional bolts. The stud has inconsistent thread types at each end. One end has a blind hole thread fitting and the other end has a nut fitting. This allows the stud to be inserted into a blind hole on one component like a blade or pitch bearing and then secured with a nut on the other component like the hub or outer ring nut. The inconsistent thread types prevent the stud from unthreading during vibration and fatigue cycles. This prevents bolts from loosening and failing compared to traditional bolts with matched thread ends.
6. Dual-Threaded Blade Bolt with Opposing Rotational Threads and Staggered Nut Engagement
ZHEJIANG XINTAI STANDARD PARTS CO LTD, 2023
Blade bolt pair and wind blade connection mechanism that prevents loosening and provides better stability compared to conventional blade bolts. The blade bolt has threads at both ends, but they rotate in opposite directions. This prevents the bolts from loosening because the threads at each end engage different nuts. The bolts also have blind holes at both ends to allow hex wrenches to access the nuts. The nuts have top surfaces that are staggered to prevent them from contacting when tightened.
7. Circumferential Bolt Sleeve Installation Structure with Wedge Strips and Limit Blocks for Wind Turbine Blade Roots
DONGFANG ELECTRIC TIANJIN WIND POWER BLADE ENG CO LTD, DONGFANG ELECTRIC WIND POWER BLADE ENGINEERING CO LTD, 2023
Blade root pre-embedded bolt sleeve installation structure for wind turbine blades to improve blade root strength and prevent bolt sleeve pullout. The structure involves arranging multiple bolt sleeves circumferentially at the blade root, with wedge strips between adjacent sleeves and limit blocks to prevent relative movement. This provides multiple bolt interfaces to distribute load and prevent single sleeve pullout.
8. Wind Turbine Blade Root Bolt Sleeve with Dual Screw Sections for Enhanced Connection Structure
New Carbon Valley Group Co., Ltd., 2023
Wind turbine blade root bolt sleeve and connection structure to improve blade-hub joint strength and longevity. The blade root bolt sleeve has a main screw section embedded in the blade root and a secondary screw section protruding from the blade end. Bolts through both sections connect the blade to the hub. This provides additional reinforcement compared to just a single embedded section. The raised secondary section and parallel auxiliary screw protrude from the blade end. The line connecting their centers points to the blade root center. This configuration increases bolt load capacity and prevents fractures compared to a single embedded section.
9. Threaded Bolts with Sliding Material Composition and Bushing Assemblies for Wind Turbine Rotor Blade Connections
NORDEX ENERGY GMBH, NORDEX BLADE TECHNOLOGY CENTRE APS, 2023
Threaded bolts for wind turbine rotor blade connections that prevent seizure and simplify manufacturing. The bolts are made of a sliding material like brass instead of steel. This allows the bolts to move slightly without binding when the blades flex, preventing capture and seizure. The bolts are also designed for threading into bushings with a sliding material outer rose. This reduces friction and prevents seizure compared to using steel bolts. The bolts can be formed as one piece or as a separate threaded bushing fixed to a main bolt. The sliding material outer rose prevents the bolt from binding in the bushing assemblies.
10. Wind Turbine Blade and Pitch Bearing Coupling with Coaxial Bolt Sections for Eccentricity Control
CIATEQ A C CENTRO DE TECNOLOGIA AVANZADA, CIATEQ AC Center for Advanced Technology, 2023
Coupling between a wind turbine blade and pitch bearing that reduces eccentricity between blade root and bearing holes to prevent bolt failure due to alternating loads. The coupling has a specially designed bolt with two coaxial sections perpendicular to the blade's longitudinal axis. The inner section aligns with the blade root hole, while the outer section aligns with the bearing hole. This allows the bolt to slide longitudinally between the sections during assembly to account for misalignment. The concentric shoulders in the holes control eccentricity and prevent bending stresses on the bolt.
11. Pre-Embedded Bolt Connection Structure with Misaligned Hole Adapter Flange for Wind Turbine Blades
UNIV WUXI TAIHU, WUXI TAIHU UNIVERSITY, 2023
A pre-embedded bolt connection structure for large wind turbine blades that allows increased blade diameter without adding many bolts. The structure uses an adapter flange with misaligned holes in the blade root and hub connections. The flange has bolts that pass through the blade root holes and into the blade root prefabricated components. It also has bolts that pass through the hub hole and the flange's hub hole. This integrates the blade root and hub connections without needing extra bolts on the blade root. The prefabricated components inside the blade root provide a fixed position for the flange misalignment.
12. Wind Turbine Blade Fixing Device with Thickened Flange and Positioning Pins
HUANENG XINHUA POWER GENERATION CO LTD, 2023
Wind turbine blade fixing device that reduces bolt failure and improves blade reliability by modifying the blade root and flange design. The device uses a thickened flange with positioning pins and a set screw to secure the blade root attachment. This prevents flange misalignment and dislocation issues that cause bolt fractures. The thickened flange also provides a stronger connection point for the bolts. The device involves modifying the blade root and flange structure to eliminate flange misalignment, prevent bolt fractures, and improve blade reliability.
13. Bolt Connection Device with Compressible Wrapping Member and Tapered Holes for Automatic Preload Restoration
BEIJING SANLI XINNENG ELECTRICAL EQUIPMENT CO LTD, 2022
Maintenance-free bolt connection device for wind turbines that prevents loosening of bolts in wind turbines without requiring frequent tightening. The device uses a compressible wrapping member between the nut and connected member that shrinks when tightened and expands when loosened. This allows automatic restoration of preload force when the bolt compresses due to load. The wrapping member moves along tapered holes in the nut and connected member to maintain tension. The wrapping member prevents loosening by elastically deforming and expanding as the bolt compresses, then compresses back as the bolt loosens.
14. Rotor Blade Connection with Expandable Sleeve and Prestressed Insert Assembly
NEW WIND ENERGY ENG SOLUTION CO, NEW WIND ENERGY ENGINEERING SOLUTION CO, 2022
Rotor blade connection for wind turbines that uses an expandable sleeve to connect the blade root to the hub. The blade has multiple inserts along the root that are prestressed with bolts to connect to the hub. An expandable sleeve is inserted between the blade insert and the bolt connection. This allows the sleeve to expand and fill gaps during assembly, providing a secure and leak-proof connection. The sleeve connects to the glued blade insert at the root and then threads onto the bolt for attachment. This prevents rotation and provides a fixed connection.
15. Integrated Bolt-Nut Assembly with Reinforced Thread Segment and Arc Transition for Wind Power Applications
ZHEJIANG TRIPOD AUTOMOBILE FASTENER LIMITED CO, ZHEJIANG TRIPOD AUTOMOBILE FASTENER LTD CO, 2022
Large-sized high-strength bolt connection for wind power applications like wind turbines that improves strength and fatigue resistance while reducing weight compared to conventional bolts. The bolt has a unique thread segment design with a reinforcement groove. This reduces bending under radial forces. The nut and bolt are made in one piece. The nut has lower and upper gaskets that contact the connected pieces instead of just the nut surface. This increases connection stability. The bolt has a smooth, arc, transition, and threaded segments in that order. The smooth segment connects to the nut bottom. The arc segments reduce bending. The threaded segment has a reinforcement groove.
16. Wind Turbine Pitch Bearing Connection with Double-Ended Stud and Variable Thread Pitch Nut
CSIC HAIZHUANG WINDPOWER CO LTD, 2022
Wind turbine pitch bearing bolt connection system that improves the reliability and durability of the pitch bearing bolts. The system uses a double-ended stud with a larger diameter sleeve that surrounds the stud portion going through the pitch bearing. A custom nut with variable thread pitch is used to secure the sleeve and stud. This prevents the bolts from loosening due to vibration and load cycling. The larger sleeve diameter prevents the bolts from backing out of the pitch bearing holes. The variable thread pitch nut allows adjustment to tighten the connection.
17. Spherical Wind Turbine Hub with Integrated Pitch Bearing Mounting Surfaces
WUXI HUANENG HEAT ENERGY EQUIPMENT CO LTD, 2022
A hub structure for large wind turbines that improves the connection strength between the hub and the pitch bearings, reducing maintenance needs. The hub has a spherical shape with three pitch bearing mounting surfaces evenly spaced around the circumference. This allows direct attachment of the pitch bearings to the hub without intermediary bolts. The spherical shape provides a tight fit and secure connection between the hub and bearings, preventing loosening or disconnection.
18. Wind Turbine Shaft-Hub Connection Structure with Dual-Threaded Studs for Simplified Maintenance
DONGFANG ELECTRIC WIND POWER CO LTD, 2022
A connection structure between the main shaft and hub of a wind turbine that allows easier repair and maintenance of the shaft-hub connection compared to traditional bolted connections. The structure uses a stud instead of bolts to connect the main shaft and hub. The stud has threads on both ends that fit into threaded holes in the shaft and hub. This allows the stud to be easily inserted and removed from the pre-existing blind holes in the shaft and hub, enabling repair and replacement of damaged threads without needing to remove the entire shaft or hub. This reduces maintenance costs and downtime compared to replacing the entire hub or shaft due to thread damage.
19. Wind Turbine Tower Bolt Assembly with Grooved Nut and Bolt and Securing Blocks
NINGBO DONGXIN HIGH STRENGTH NUT CO LTD, NINGBO DONGXIN HIGH-STRENGTH NUT CO LTD, 2022
Wind turbine tower bolt assembly to prevent loosening of the fasteners due to vibration. The assembly has a unique shape for the bolt and nut grooves with blocking and limit components that prevent the nut from sliding. A clamping block engages the nut groove, and a positioning block contacts the bolt groove. Sliding and telescopic springs secure the blocks. This prevents nut loosening during long-term vibrations in wind turbine towers.
20. Multi-Headed Bolt with Nested Heads and Hastelloy Sleeve for Corrosion and Wear Resistance
HAIYAN YIHUI HARDWARE TECH CO LTD, HAIYAN YIHUI HARDWARE TECHNOLOGY CO LTD, 2022
Wind power bolt with corrosion resistance and wear resistance for use in harsh environments. The bolt has multiple bolt heads at the top, each with a nested third bolt head. The bolt heads are connected inline. A Hastelloy protective sleeve surrounds the bolt heads. The bolt connection ring below the heads attaches to the ring. The bolt body is hollow and has nested washers and spacers below the connection ring. This design provides multiple bolt head surfaces for attachment points, a protective sleeve, and washers/spacers for wear resistance.
21. Wind Turbine Bolt Fastening Device with Anti-Contact Flexible Sleeve and Limit Pad Mechanism
LIU YU, 2022
Wind turbine bolt fastening device to prevent blade bolt failure by preventing dislocation and interference between the bolt and blade flange. The device has an anti-contact mechanism at the blade flange end of the bolt hole to prevent dislocation of the bolt and contact with the flange. This prevents interference and stress concentration that can lead to bolt fatigue and breakage. The mechanism consists of a flexible sleeve with bumps inside the bolt hole that contacts the bolt, and a limit pad outside the hole. This allows some movement of the bolt without interference, but prevents excessive dislocation.
22. Wind Turbine Hub and Main Shaft Connection Structure with Studs and Locking Discs
TAIYUAN HEAVY IND CO LTD, TAIYUAN HEAVY INDUSTRY CO LTD, 2021
A hub and main shaft connection structure for wind turbines that reduces weight, length, and cost compared to conventional connections. The connection uses a hub flange, main shaft flange, studs, threaded holes, and locking discs. The hub flange has threaded holes for the studs. The main shaft flange has matching stud holes. The studs have threaded sections at each end and a central section. Tooling nuts with threads matching the hub hole section and central stud section are used. This allows attaching the hub and shaft without requiring clearance between them. The locking discs are fitted between the shaft and flange.
23. Segmented Bolt Assembly with Polished Rod and Ultrasonic Patch Faces for Wind Turbine Blade-Hub Connection
SHANGHAI SHENGUANG HIGH STRENGTH BOLTS CO LTD, 2021
Bolt design for connecting wind turbine blade and hub that improves installation ease and enables ultrasonic bolt tightening monitoring. The bolt has three segments - connecting blade, connecting hub, and polished rod - that screw into the blade and hub ends. The blade and hub segments have external threads and 10mmx45mm end faces for attaching ultrasonic patches. The polished rod segment connects them internally. This allows the segments to pass through the blade and hub holes easier due to the reduced diameter. The smooth rod segment prevents ultrasonic signal interference. The blade and hub segments with ultrasonic patch faces enable real-time monitoring of bolt tension.
24. Bolt with Internal Anti-Skid Mechanism for Wind Turbine Blade Installation
NINGBO XINGSHENG PETROLEUM PIPE FITTING MANUFACTURING CO LTD, NINGBO XINGSHENG PETROLEUM PIPE FITTING MFG CO LTD, 2021
High-strength bolt for wind power blades with an internal anti-skid mechanism to prevent rotation during installation. The bolt has a head and a rod body. An anti-skid feature inside the head prevents rotation when tightening the bolt to fix wind turbine blades. The rod body may have an external thread.
25. Wind Turbine Blade Root Connection with Grooved Bolt Sleeve and Buffer Layer Winding
LIANYUNGANG ZHONGFU LIANZHONG COMPOSITES GROUP CO LTD, 2021
Reducing stress concentration and improving fatigue stability in wind turbine blade root connections to prevent failures. The root connection structure has a bolt sleeve with sequentially deeper grooves wound with buffer layers. This smooths the sleeve surface and reduces stress concentrations compared to a conventional bolt sleeve. The depth of the grooves gradually increases along the sleeve axis. The first buffer layer is wound in the grooves and the second buffer layer is wound around the sleeve. This provides a uniform force distribution over the sleeve surface.
26. Anti-Loosening Assembly with Base Nut, Locking Nut, Fixing Nut, and Adjustable Connecting Plate for Bolt Stabilization
NORTHWEST ELECTRIC POWER TEST RESEARCH INSTITUTE CHINA DATANG CORPORATION SCIENCE AND TECH RESEARCH, NORTHWEST ELECTRIC POWER TEST RESEARCH INSTITUTE CHINA DATANG CORPORATION SCIENCE AND TECHNOLOGY RESEARCH INSTITUTE CO LTD, 2021
Anti-loosening device for connecting bolts in wind turbines to prevent bolt loosening and failure. The device has a base nut, locking nut, fixing nut, and connecting plate. The nuts thread onto the bolt. The fixing nut has a larger outer diameter. The connecting plate fits outside the locking nut. It prevents rotation between the plate and nut. The plate has recesses for the locking nut caps. This locks the nut and plate together, preventing bolt loosening. The plate and nut recesses can be adjusted to accommodate bolt sizes.
27. Wind Turbine Blade Root Attachment System with Interlocking Bushing Design and Integrated Filler Material
TPI COMPOSITES INC, 2021
A wind turbine blade root attachment system that provides a compact, strong, and efficient blade root joint for wind turbines. The system uses a specialized bushing design with geometric features that fill gaps between adjacent bushings when arranged in a ring around the blade root. The bushing has incisions and wedge-shaped cutouts that create ears and mating features. A core with wedges fits inside the bushing cutouts. Filler material fills the incisions and cutouts to connect adjacent bushings and fill gaps. This reduces material compared to separate bushings and improves structural integrity. The assembly can be formed into a ring for attaching the blade root.
28. Wind Turbine Blade and Pitch Bearing Connection with Double-Ended Screws and Rubber Ring Alignment System
HUANENG POWER INT INC GUANGXI CLEANING ENERGY BRANCH, HUANENG POWER INTERNATIONAL INC GUANGXI CLEANING ENERGY BRANCH, ZHEJIANG WINDEY CO LTD, 2021
A connection structure for wind turbine blades and pitch bearings that prevents bolt misalignment and extends blade fastener life. The structure uses double-ended screws with rubber rings to align and cushion the blades during assembly. The screws have nuts and centering sleeves. The rubber rings between the blade flange and bolt sleeve prevent misalignment. The screws pass through the blade flange, rubber ring, and outer sleeve. The pitch bearing outer ring bolt passes through the bearing and hub. Centering sleeves prevent misalignment. The rubber rings cushion blade movement during assembly.
29. Multi-Layer Bolt with High-Strength Core and Dual Coating for Enhanced Corrosion and Wear Resistance
CHANGZHOU SHIJIN PREC MACHINERY CO LTD, CHANGZHOU SHIJIN PRECISION MACHINERY CO LTD, 2021
A high-strength bolt for wind power applications that has improved strength, corrosion resistance, and wear resistance compared to conventional bolts. The bolt has a multi-layer construction with a base layer connected to a high-strength layer made of materials like maraging steel, alloy quenched and tempered steel, and low-alloy structural steel. An anticorrosive and wear resistant layer covers the outer surface of the high-strength layer. It consists of an alumina ceramic coating and a carbonized bust metal coating. The multi-layer construction and dual-coating provide enhanced properties for bolts used in wind power equipment to withstand harsh environments and prevent corrosion and wear.
30. Wind Turbine Hub Mounting System with Preloadable Fasteners and Torque-Resistant Ridge Segments
GEN ELECTRIC, GENERAL ELECTRIC CO, 2021
Mounting system for coupling a wind turbine hub to the main shaft that allows preloading the fasteners before raising the hub into place. The system uses through holes in the hub with fasteners inserted and ridge segments contacting the head sections. This prevents rotation during mating with the shaft. A connecting mechanism limits axial movement before mating. This allows installing the fasteners before raising the hub, avoiding access issues at height. The ridge segments resist torque on the fasteners when tightening the shaft.
31. Composite Wind Turbine Blade Root Preform with Stepped Cylindrical Cavities and Embedded Screw Sleeve
Changzhou Hongfa Zongheng New Material Technology Co., Ltd., CHANGZHOU HONGFA ZONGHENG ADVANCED MMATERIAL TECHNOLOGY CO LTD, 2021
Prefabricated root part for wind turbine blades that improves blade root strength and longevity. The preform has a composite material body with stepped cylindrical cavities and a screw sleeve partially embedded in one cavity. The stepped cavities allow multiple preforms to fit together to form a complete blade root profile. This prevents delamination and cracking at the root, which is a common failure point. The screw sleeve provides a secure connection for bolts to attach the blade to the hub. Injection molding the preform with resin fills the cavities and forms a solid root.
32. Wind Turbine Base Fastener Bolt with Integrated Secondary Bolts and Auxiliary Connecting Block
JIAXING SHENGLONG HARDWARE TECH CO LTD, JIAXING SHENGLONG HARDWARE TECHNOLOGY CO LTD, 2021
High-strength wind turbine base fastener bolt with enhanced connection strength and reliability for wind power applications. The bolt design has a main nut, main stud, secondary bolts, and auxiliary connecting block. The main nut has secondary bolt holes. The secondary bolts penetrate through the nut and connect to the auxiliary block below. This configuration provides additional connection points and interlocking between the main nut, stud, and auxiliary block to distribute forces and prevent loosening in wind turbine bases.
33. Threaded Sleeve Structure with Square Cross-Section Segments for Wind Turbine Blade Root
NEWTRY CO LTD, 2021
A threaded sleeve structure for the root of wind turbine blades that improves connection quality, bolt bearing capacity, and blade root life. The sleeve has two segments with square cross-sections that but against foam and composite materials. The segments wrap in fabric for shaping into preforms. These are arranged side-by-side to form the blade root profile. Glass fiber blocks between preforms complete the root. Resin injection under vacuum forms the final root. This method improves screw sleeve-composite connection and bolt retention compared to circular cross-sections.
34. Wind Turbine Bolt Connection with Enlarged Female Thread Root Fillet Radius
DONGFANG ELECTRIC WIND POWER CO LTD, 2021
Wind turbine bolt connection structure with improved fatigue resistance for wind turbine components like blade roots. The connection uses bolts with larger root fillet radius on the female thread side. This reduces stress concentration and fatigue loading compared to standard bolts with small root radii. The larger root radius spreads the stress over a larger area, making the connection more resilient to cyclic loading.
35. Method for Adhesive Bonding of Shear Web to Wind Turbine Blade Shell Using Seals and Vacuum-Controlled Cavity
Vestas Wind Systems A/S, 2021
An improved method for bonding a shear web to a wind turbine blade shell, addressing issues related to curing, waste, exposure, and quality found in other methods. This technique uses seals and a vacuum to precisely control adhesive application, creating a cavity around the shear web for the adhesive. This approach prevents adhesive squeeze-out, allows curing without air exposure, and ensures accurate adhesive placement and bond thickness.
36. Integration of Pultruded Carbon Fiber Rods in Composite Wind Turbine Blades for Mechanical Reinforcement
EPSILON COMPOSITE, 2021
Mechanical reinforcement of large wind turbine blades made from composite materials, designed to increase the size range and operating speeds of wind turbines. This reinforcement is achieved without adding thickness, weight, or inertia to the blades. It involves integrating pre-shaped pultruded rods or profiles into the blade during manufacturing. These rods, made of high-strength carbon fibers, can withstand compression resistances exceeding 1,600 MPa. They serve as internal reinforcements, providing additional structural strength to the blade without increasing its thickness, weight, or inertia.
37. Connection Structure with Double-Ended Screws and Centering Device for Wind Turbine Blade and Pitch Bearing Alignment
HUANENG POWER INT INC GUANGXI CLEANING ENERGY BRANCH, HUANENG POWER INTERNATIONAL INC GUANGXI CLEANING ENERGY BRANCH, ZHEJIANG WINDEY CO LTD, 2021
A connection structure and method to prevent misalignment of bolts connecting wind turbine blades and pitch bearings, which reduces blade fatigue and extends blade life. The structure uses double-ended screws with rubber rings on one end that thread into sleeves in the blade. This allows the screws to be inserted without aligning perfectly. A centering device holds the screws in place when tightening the nuts. This prevents misalignment when attaching the blade to the pitch bearing.
38. Stud Bolt with Concave Groove for Retention in Wind Turbine Connections
SHANGHAI SHENGUANG HIGH STRENGTH BOLTS CO LTD, 2021
A stud bolt for wind turbine connections that allows easy disassembly and repair of broken bolts without removing the entire assembly. The stud bolt has a threaded end to screw into the turbine body and a head end. The head end has a groove with a concave bottom. The bolt threads into a matching threaded hole in the turbine body. When installed, the groove bottom provides a capture feature to retain the bolt head. This prevents the bolt from fully backing out if it breaks, making it easier to replace just the broken bolt without disassembling the entire connection.
39. Method for Dispensing Coiled Pultruded Strips into Wind Turbine Blade Molds Using a Confining Feed Apparatus
Vestas Wind Systems A/S, 2020
A method for making wind turbine blades with integrated load-bearing reinforcing strips, addressing the challenges of handling long, heavy pultruded strips. This method uses a specialized feed apparatus to dispense coiled pultruded strips into the blade mold. The feed apparatus confines the coil to prevent uncoiling, allowing the strip to be fed into the mold while it uncoils in place. By securing the coil and feeding from the free end, potential energy is released safely.
40. Rotor Blade with Longitudinal and Transverse Recesses for Bolt Alignment via Sleeve
Wobben Properties GmbH, 2020
Rotor for a wind turbine where the rotor blade has a longitudinal recess and transverse recess that share a common passage. This allows a longitudinal bolt to be inserted through a sleeve in the longitudinal recess and through the transverse recess to connect the blade to the hub. The sleeve helps align the bolt and prevents contact with the blade material.
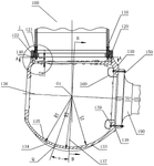
41. Segmented Pitch Ring Comprising Arc-Shaped Rolled and Cast Segments for Blade Pitch Systems in Wind Turbines
Vestas Wind Systems A/S, 2020
Segmented pitch ring for blade pitch systems in wind turbines that allows larger pitch ring diameters without the need for large single-piece castings. The pitch ring is comprised of a combination of arc-shaped rolled and cast segments that fit together to form a circular ring. The rolled segments are made using a rolling process and the casted segments are made using a casting process. The segments are connected using bridge elements to maintain uniform stiffness across the interfaces. This enables making pitch rings with large diameters by using smaller, easier-to-manufacture segments.
42. Pre-embedded Bolt Sleeves with Protruding Bosses and Grooves for Wind Turbine Blade Roots
SHANGHAI ELECTRIC WIND POWER GROUP CO LTD, 2020
Pre-embedded bolt sleeves for wind turbine blades that improve the connection strength at the blade roots. The sleeves have protruding bosses at the screw-in end and away from the end. This provides a larger diameter section for the bolt to screw into, increasing the connection strength compared to a standard bolt sleeve. The sleeves can also have grooves for wrapping fiber strips to further reinforce the blade root. The sleeves can be cast as part of the blade body instead of being inserted afterward.
43. Wind Turbine Blade Root with Protruding Sleeve Flange for Enhanced Rigidity
Zhuzhou Times New Material Technology Co., Ltd., ZHUZHOU TIMES NEW MATERIAL TECHNOLOGY CO LTD, 2020
A wind turbine blade root connection design to improve blade durability and prevent bolt fatigue failures. The blade root has an embedded bolt sleeve that protrudes beyond the blade edge. The protruding sleeve flange contacts the blade root flange to increase rigidity and reduce bolt stress compared to a conventional embedded sleeve. This improves fatigue life of the root bolts.
44. Elastic Positioning Sleeve for Blade Bolt Alignment in Wind Turbines
GUODIAN UNITED POWER TECH CO, GUODIAN UNITED POWER TECHNOLOGY CO LTD, 2020
A device to prevent misalignment of blade bolts in wind turbines during installation and operation. The device is an elastic positioning sleeve that fits over the smaller diameter middle section of the bolt. The sleeve has an outer diameter that fits snugly in the blade flange hole, and an inner diameter that matches the smaller bolt diameter. This sleeve allows the flange and pitch bearing to be installed concentrically, preventing misalignment and shearing of the bolts. The sleeve can be removed after assembly to access the bolt.
45. Bolt Connection with Threaded Rod, Nut, Corner Plates, and Ball Groove Engagement Mechanism
XUZHOU XINXING FASTENER TECH CO LTD, XUZHOU XINXING FASTENER TECHNOLOGY CO LTD, 2020
Low-temperature resistant high-strength bolt connection for wind turbines that has improved protection, strength, and functionality compared to conventional bolts. The connection uses a threaded rod, nut, corner plates, protection mechanism, and ball grooves. The nut has corner plates at the ends, with a ball groove away from the rod. The rod end has a protection mechanism with reinforced, screw, and tail covers. The tail cover has a larger screw groove, protection groove, and reinforced groove matched to the nut and corner plates. Balls in the ball groove engage the tail cover. This provides enhanced strength, protection against cold temperatures, and better fit and retention compared to conventional bolts.
46. High-Strength Bolt Connection with Welded Nut Attachments for Wind Turbine Towers
HANGZHOU HAOHE BOLTS CO LTD, 2020
High-strength bolt connection for wind turbine towers that reduces loosening and failure of the bolts due to corrosion. The connection uses a nut with welded attachments that bond the nut, connected part, and bolt into a single assembly. This prevents loosening if the bolts corrode or oxidize. The nut has filling and connecting parts. The filling part connects to the bolt and has a groove for the welded attachments to abut. The connecting part attaches to the tower. Welding the nut to the tower and bolt prevents loosening even if the bolt connections corrode.
47. Wind Turbine Bolt Assembly with Tapered Surfaces and Oblique Openings for Enhanced Fatigue Resistance
SHENZHOU HONGXIANG YINLIANG STEEL CO LTD, 2020
Wind turbine bolt assembly with improved fatigue strength for wind power equipment operating in harsh environments. The assembly has a bolt, washer, and nut with optimized shapes and surface treatments to prevent cracking and failures due to alternating stresses. The bolt has a head, polished rod, and threaded screw section with tapered surfaces and oblique openings. The washer has a circular hole with oblique openings. The nut has a conical hole with tapered walls. Heat treatment or mechanical strengthening of the bolt, washer, and nut surfaces reduces tensile stresses that cause fatigue cracking.
48. Wind Turbine Blade-Hub Joint with Reduced Diameter Bolt Necks Embedded in Composite Material
VESTAS WIND SYSTEMS AS, 2020
A joint design for connecting wind turbine blades to hubs that reduces material and manufacturing costs as blade sizes increase. The joint uses bolts with reduced diameter necks near the blade end compared to the blade end diameter. This allows embedding the necks in the blade composite material without requiring larger metal inserts. The necks distribute forces more evenly compared to threaded holes in the composite, avoiding composite degradation at the interface. The necks can be cylindrical or elliptical with smaller length than blade diameter.
49. Wind Turbine Main Shaft to Planet Carrier Connection with Cam-Toothed Washer Bolts
CHONGQING WANGJIANG IND CO LTD, CHONGQING WANGJIANG INDUSTRIAL CO LTD, 2020
Connection structure between the main shaft of a wind turbine and the planet carrier of a wind power gearbox that provides improved safety and reliability compared to existing designs. The connection uses bolts with large cam-shaped teeth on washers that mesh together when tightened. These washers are sandwiched between the bolt cap and connecting pin. The large teeth create tension force that resists loosening under vibration and load. This prevents bolt loosening which can cause failure of the wind turbine gearbox connection.
50. Wind Turbine Hub with Hydraulic Tensioner-Compatible Blade Root Bolt Configuration and Hexagonal Head Bolt Main Shaft Connection
Taiyuan Heavy Industry Co., Ltd., TAIYUAN HEAVY INDUSTRY CO LTD, 2020
Hub device for wind turbines that enables using blade root bolt tensioners and simplifies connecting the hub to the main shaft. The hub design allows blade root bolts to be tightened using hydraulic tensioners instead of wrenches. The hub has a web near the blade end that is spaced apart from the bolt holes. This provides ample design margin in the low-stress areas of the hub. The hub also has hexagonal head bolts for connecting to the main shaft, replacing the cumbersome double-ended studs. This reduces on-site installation time and complexity.
The wind turbine connection fortification techniques shown in this collection of patents are diverse. Certain components are strengthened in isolation; for example, high-strength rods can be integrated into the blades themselves, or blade apertures can be strengthened with fiber ropes. Others discuss creative ideas for bolt sleeve applications to improve blade-hub couplings or adhesive application techniques to increase bonding.
Get Full Report
Access our comprehensive collection of 76 documents related to this technology
