Polymer and Tissue Valves for Prosthetic Hearts
Prosthetic heart valves face durability challenges under constant cyclic loading, with current tissue valves showing calcification within 10-15 years and polymer valves experiencing material fatigue at stress concentration points. Each heartbeat subjects valve materials to complex mechanical forces, while blood-material interactions can trigger inflammatory responses and tissue degradation.
The fundamental challenge lies in developing materials and structures that can withstand over 40 million cycles per year while maintaining natural hemodynamics and avoiding thrombogenic responses.
This page brings together solutions from recent research—including hydrogel-based tissue engineering approaches, composite materials with electrospun fiber reinforcement, and novel polymer coating techniques for improved durability. These and other approaches focus on creating prosthetic valves that combine long-term durability with excellent hemodynamic performance while minimizing the need for anticoagulation therapy.
1. Prosthetic Heart Valve with Commissure-Integrated Stress-Isolating Patches
ST JUDE MEDICAL CARDIOLOGY DIV INC, ST JUDE MEDICAL CARDIOLOGY DIVISION INC, 2024
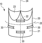
Prosthetic heart valve design with improved stress isolation and leaflet durability in transcatheter valve replacement procedures. The valve has patches attached to the commissure attachment features of the stent to absorb forces during valve operation. The patches can be rigid or billowing to provide stress isolation. This reduces mechanical stresses on the leaflet tissue, especially in cobalt-chromium stents where the leaflets are coupled directly to the stent. The patches are disposed around the commissure features and the leaflets are attached to the patches instead of the stent.
2. Heart Valve Prosthesis with Dual-Stent Structure and Sealed Cavity Configuration
BEIJING XINJIAN TECH CO LTD, BEIJING XINJIAN TECHNOLOGY CO LTD, 2024
Heart valve prosthesis design to reduce complications and improve durability compared to conventional valve replacements. The prosthesis has an inner stent with a thin channel for the valve leaflets and a thick channel. An outer cylindrical stent surrounds the inner stent. The top of the outer stent is sutured to the thin channel and the bottom to the thick channel, creating a sealed cavity between. This prevents false lumens and thrombosis. The outer stent buffering prevents channel compression by heart contraction. An inward depression covered by a brim in the outer stent avoids contact with native tissues like the conduction system and outflow tract.
3. Prosthetic Atrioventricular Valve with Collapsible Self-Expanding Stent and Dual Fabric Sealing System
ST JUDE MEDICAL CARDIOLOGY DIV INC, ST JUDE MEDICAL CARDIOLOGY DIVISION INC, 2023
A prosthetic heart valve for replacing native atrioventricular valves, like the tricuspid and mitral valves, that can collapse to a small size for transcatheter delivery and expand in place. The valve has a self-expanding stent with an inner frame for the leaflets and an outer frame. A non-stretchable fabric seals the atrial side and a stretchable fabric seals the ventricular side. This allows the valve to collapse into a catheter with an inner diameter of 22-32 French. The small profile enables minimally invasive transcatheter delivery through small access sites. The valve expands in place to cover the native valve annulus without pressing against it. The outer fabrics provide sealing contact.
4. Collagen-Based Molded Heart Valve with Integrated Leaflets and Body Portion
ANTERIS TECH CORP, ANTERIS TECHNOLOGIES CORP, 2023
Replacement heart valves made from a single molded sheet of collagen-based biomaterial that integrates the leaflets and body portion. The valves have fewer sutures than conventional valves since the leaflets and body are formed together. The valves are inserted into a stent and secured with fewer sutures compared to traditional valves. The molding process allows shaping the leaflets with concavities and variations in thickness. The valves have improved efficiency and cost compared to hand-sewn valves with separate leaflets and body pieces.
5. Polymer Heart Valve with Curved Leaflets in Naturally Open Configuration
Shanghai Blue Sail BoaO Medical Technology Co., Ltd., SHANGHAI BLUESAIL BOAO MEDICAL TECHNOLOGY CO LTD, 2023
Artificial heart valve made of polymer material that opens and closes naturally like a natural heart valve. The polymer leaflets are arranged in a configuration that allows the valve to be in an open position in its natural state. This eliminates the need for anticoagulant drugs and reduces the risk of bleeding compared to mechanical valves. The polymer leaflets have a curved shape with different upper curves to prevent premature closure. This allows the leaflets to deform and open more easily with blood flow compared to flat polymer valves.
6. Three Leaflet Prosthetic Heart Valve with Integrated Leaflet-Stent Frame Interface
ATIEH YOUSEFI KOUPAEI, LAKSHMI PRASAD DASI, MEGAN KRISTINE HEITKEMPER, 2023
A three leaflet prosthetic heart valve for percutaneous valve replacement procedures that aims to provide a durable, anticoagulation-free alternative to mechanical and bioprosthetic valves. The valve has a unique leaflet design where the upper portion of the leaflet material wraps around the inner surface of the stent frame and folds over, allowing the upper portion to move within the stent frame. This design eliminates the need for a separate annular skirt or sewing ring, simplifying manufacturing and reducing the risk of leakage. The leaflet material can be a continuous sheet or multiple pieces, and can be made of polymeric materials like polyethylene or polyurethane. The three-dimensional curvature of the leaflets mimics natural valves and allows them to open and close like a natural valve.
7. Prosthetic Heart Valve with Three-Part Leaflet Shape and Stent Frame Protective Covering Members
Anteris Technologies Corporation, 2023
Prosthetic heart valves for transcatheter implantation with improved performance and durability. The valves have a unique leaflet shape to reduce stress and improve function, and protective covering members attached to the stent frame to prevent contact with the leaflets. The leaflets have a three-part shape with planar regions connected by a concave region. This shape reduces stress and improves function compared to conventional leaflets. The covering members on the stent frame prevent direct contact between the leaflets and frame during expansion, which can degrade the leaflet material.
8. Prosthetic Heart Valve Assembly with Leaflet Coaptation and Expandable Anchoring Bodies
Edwards Lifesciences Corporation, EDWARDS LIFESCIENCES CORP, 2022
A prosthetic heart valve assembly for sealing native valves and reducing regurgitation, along with methods for implanting it. The assembly includes a prosthetic device that can be implanted on the native leaflets of a valve like mitral. The device coaps with the opposing native leaflet during valve operation. It attaches using a suture through the leaflets. The device can be delivered using a catheter or rail to the valve. The assembly also has expandable bodies to anchor the prosthetic valve in place. The expandable bodies secure to the native valve annulus and engage the prosthetic valve surface. This holds the prosthetic valve within the annulus.
9. Expandable Prosthetic Heart Valve with Annular Skirt and Atraumatic Anchors
EDWARDS LIFESCIENCES CORP, 2022
Expandable prosthetic heart valve with features to prevent paravalvular leakage and improve longevity. The valve has an expandable frame, a valve body, and an annular skirt. The skirt surrounds the frame exterior to block flow around the valve. The frame has anchors to secure the valve in place. The valve can be delivered through minimally invasive procedures. The skirt and anchors prevent paravalvular leakage. The skirt with holes allows some regurgitation initially. The anchors atraumatically fixate the valve. The frame design reduces thrombosis. The skirt and frame features enable valve-in-valve replacement.
10. Synthetic Valve Membrane with Porous Fluoropolymer Structure and Elastomeric Filling
WL GORE & ASS INC, WL GORE & ASSOCIATES INC, 2022
A synthetic valve membrane for use in prosthetic heart valves that promotes tissue ingrowth to prevent complications like thrombus formation. The membrane has a porous structure made of a stretched fluoropolymer like ePTFE, with pores filled by an elastomeric material. The membrane can also have a tissue inward growth curtain adhered to the underlying membrane base. The curtain contains pores filled with an absorbable filler material. The membrane is fixed to the valve frame to encourage tissue ingrowth across the frame and membrane interfaces.
11. Tissue-Engineered Heart and Vein Valves with Hydrogel-Cultured Extracellular Matrix and Stent-Integrated Commissures
Regents of the University of Minnesota, 2022
Tissue-engineered heart and vein valves that can be implanted without the need for lifelong anticoagulation therapy. The valves are made by culturing cells in a hydrogel to form an extracellular matrix around a stent. The hydrogel is then everted through the stent and anchored to form commissures and leaflets. The matrix remodels into a functional valve tissue. The engineered matrix provides durability, low pressure drop, and minimal regurgitation.
12. Prosthetic Heart Valves with Hermetic Layers and Curved Cusps for Thrombosis Reduction
EDWARDS LIFESCIENCES CORP, 2022
Prosthetic heart valves with reduced risk of thrombosis and methods for assembling and implanting them. The valves have hermetic layers preventing tissue ingrowth from the patient's tissue into the valve leaflets. The hermetic layers can be directly formed on the frame or attached to the inner skirt. The leaflets have curved cusps to reduce stasis. This reduces thrombosis in low pressure applications like mitral or tricuspid valves. The valves are delivered collapsed then expand in place.
13. Prosthetic Heart Valve with Composite Material Incorporating Fibrous Reinforcements and Electrospun Fiber-Embedded Polymer Matrix
Boston Scientific Scimed, Inc., 2022
Prosthetic heart valve made from a composite material containing fibrous reinforcements that resist calcification and tearing. The valve leaflet includes electrospun fibers embedded in a polymer matrix. The fibers can be composed of different materials to provide tailored physical and mechanical properties. The polymer matrix can be a polyisobutylene urethane copolymer for chemical inertness.
14. Self-Expanding Prosthetic Valve System with Expandable Anchoring and Support Members
The Cleveland Clinic Foundation, Edwards Lifesciences Corporation, 2022
Self-expanding prosthetic valve replacement system for treating heart valve diseases like mitral regurgitation. The system replaces a diseased native valve without open-heart surgery. It uses an expandable anchoring member with end portions to secure in the native annulus. An expandable support member with the prosthetic valve is contained inside. The device is delivered through a catheter, expanded, and released to replace the native valve. The anchoring members fixate in place while the support member expands. This provides a secure valve implant without suturing or attaching to the native annulus.
15. Prosthetic Heart Valve with Heat-Treated Synthetic Leaflets Exhibiting Biased Motion and Coaptation
ST JUDE MEDICAL CARDIOLOGY DIV INC, ST JUDE MEDICAL CARDIOLOGY DIVISION INC, 2022
Prosthetic heart valves with synthetic leaflets that are heat treated to improve motion and coaptation. The leaflets are made from synthetic materials like UHMWPE, PTFE, or polyurethane. Heat setting the leaflets at temperatures between 90-170°C for 20-30 seconds biases the leaflets towards either the closed or open position. Folds or creases formed during heat setting further guide leaflet motion. This heat treatment provides a more uniform leaflet shape and motion compared to untreated synthetic leaflets.
16. Foldable Prosthetic Heart Valve with Arcuate Leaflet Segments and Seam-Defined Cylindrical Outer Wall
MEDICAL COLLEGE WISCONSIN INC, THE MEDICAL COLLEGE OF WISCONSIN INC, 2022
Foldable prosthetic heart valve made from a flexible substrate that can be folded into the final valve shape. The valve has regions defining the leaflets and outer wall when folded. The leaflet regions are arcuate segments extending from the outer to inner periphery, with adjacent leaflets meeting at seams. The wall regions are between the leaflet seams. When folded, the seams form the cylindrical outer wall and the leaflets are the flexible parts extending from the inner to outer periphery.
17. Expandable Prosthetic Mitral Valve with Constraining Element for Controlled Expansion
Niobasque Tiara Incorporated, NIO BASQUE TIARA INC, 2022
An expandable prosthetic mitral valve with a constraining element to control expansion during delivery. The valve has an expandable frame with an atrial flange, ventricular skirt, annular region, and anchor tab. A constraint element applies a hoop force to the frame to limit expansion during delivery. This prevents sudden opening that could move the valve. The valve can be advanced in a crushed state using the hoop force, then expanded in place. The constraint also helps with accurate deployment and anchoring. The valve can have features like echo-sourced tips for visualization during delivery.
18. Transcatheter Prosthetic Heart Valve with Expandable Leaflets and Annular Binding Mechanism
INNOVHEART SRL, 2021
A minimally invasive prosthetic heart valve for replacing dysfunctional atrioventricular valves like the mitral valve. The valve is designed for transcatheter delivery and implantation through small incisions without open-heart surgery. The valve has a valve portion with expandable artificial leaflets, a binding portion that constricts expansion, and a connecting portion to securely attach the valve portion to the binding portion. The binding portion surrounds the natural valve annulus without interruption to prevent regurgitation. The binding portion can have annular or saddle shapes matching the natural annulus. The binding portion expands to pinch the natural valve leaflets and provide tightness. The connecting portion secures the valve portion to the binding portion.
19. Modular Heart Valve Prosthesis with Sequentially Deployable Self-Expanding and Balloon-Expandable Valve Devices
MEDTRONIC INC., 2021
Modular heart valve prosthesis that can be delivered through smaller catheters compared to traditional valve replacements. The modular design allows separating a first self-expanding valve device with synthetic leaflets from a second balloon-expandable valve device with tissue leaflets. The first device is delivered and expanded first, then the second device is inserted and expanded inside the first device. This allows a smaller initial delivery profile for the first device, followed by expansion of the second device inside. The modular design reduces the crossing profile during delivery compared to a single-piece valve replacement.
20. Prosthetic Heart Valve with Reinforced Leaflets Incorporating Variable Thickness and Stress-Resistant Material
St. Jude Medical, Cardiology Division, Inc., 2021
Prosthetic heart valve with improved durability for younger, lower-risk patients. The valve has leaflets with a reinforcing material like sutures or a rigid skeleton attached to the biological tissue leaflets. This reinforcement provides strength to areas of the leaflets with higher stresses like the belly attachment points. It prevents tearing or hole formation compared to all-biological leaflets. The reinforced leaflets can better withstand forces without excessive thickness that would impede collapsibility. The valve also allows variable leaflet thickness to reduce volume while concentrating reinforcement where needed.
21. Prosthetic Heart Valve with External Lip-Shaped Sealing Elements for Paravalvular Leakage Prevention
NVT AG, 2021
A prosthetic heart valve that reduces paravalvular leakage by having sealing elements with lip shapes on the external surface. The sealing elements protrude through the stent support when the valve is expanded, allowing them to touch the surrounding tissue and seal against leakage. The lip-shaped elements are spaced apart at regular or irregular intervals around the valve circumference. This arrangement prevents gaps between the valve and tissue that can cause leakage. The lip-shaped sealing elements are fixed to the valve surface using sutures.
22. Bioabsorbable Artificial Heart Valve with Regenerated Tissue Leaflets and Commissure Frames
EDWARDS LIFESCIENCES CORP, 2021
An artificial heart valve that can integrate with the recipient's tissue over time to prevent the need for multiple surgeries in growing patients. The valve frame is made of bioabsorbable material and the leaflets and skirt are constructed from regenerated tissue. This allows the valve to degrade and be replaced by the recipient's own tissue as it grows. The regenerated leaflets are made from folded leaflet structures with creases that allow them to expand and conform to the valve frame. The bioabsorbable frame also has commissure frames for attaching the leaflets. The valve can be delivered transcatheterically for implantation.
23. Heart Valve Replacement with Biostable Component and Biodegradable Tubular Body for In-Situ Tissue Integration
THE TRUSTEES OF COLUMBIA UNIVERSITY IN THE CITY OF NEW YORK, UNIV COLUMBIA, 2021
A growing heart valve replacement that allows in-situ tissue regeneration and growth in a patient's own body. The valve has a biostable valve component and a tubular body made of a mix of biostable and biodegradable polymers. The degradable polymer portion becomes porous as it breaks down, allowing surrounding tissue to fill the gaps. This provides a growing replacement that expands as the patient grows.
24. Prosthetic Heart Valve Delivery System with Commissure Post Loops and Rotatable Holder
EDWARDS LIFESCIENCES CORP, 2021
Minimally invasive prosthetic heart valve delivery system and valve design to reduce suture looping and improve implantation. The delivery system has a holder with sutures routed through loops on the commissure posts of the valve. The loops allow the sutures to pass between the valve cover and loops without contacting the leaflets. This prevents suture damage to the valve and reduces looping during implantation. The holder is rotatable to adjust valve positioning.
25. Prosthetic Heart Valve with Polymer-Coated Porous Leaflet Support Web
Boston Scientific Limited, 2021
Polymer coated prosthetic heart valves with improved integrity and durability. The valves have a frame with valve leaflets attached. The leaflets have a porous support web coated with a polymer to strengthen it. The coating covers the web attachment points to avoid suture holes through the coating. The coating can be applied by methods like dip coating.
26. Collapsible Prosthetic Heart Valve with Radially Inward Commissure Attachment Features Formed by Stent Modification
ST JUDE MEDICAL CARDIOLOGY DIV INC, ST JUDE MEDICAL CARDIOLOGY DIVISION INC, 2021
Collapsible prosthetic heart valves that reduce strain on the leaflets and improve durability compared to conventional designs. The valves have commissure attachment features that extend radially inward from the stent toward the valve leaflets. This allows the leaflets to be sutured together in the commissure area instead of directly to the stent. This redistributes strain away from the leaflets and stent junction, reducing the likelihood of tearing. The commissure attachment features also provide a fixed attachment point for the leaflets when the valve collapses, preventing them from folding onto each other. This improves valve collapse consistency and reliability. The method involves cutting and bending the stent to form the commissure attachment features.
27. Prosthetic Heart Valve with Compressible Frame and Radially Expanding Legs
CARDIOVALVE LTD., 2020
Prosthetic heart valve design that allows for reduced trauma and improved implant stability compared to conventional valves. The valve has a compressible frame with a fixed outer ring and legs that expand radially when the central frame is expanded. This allows the valve to be delivered in a compressed state through a small catheter, then expanded inside the native valve. The fixed outer ring prevents the central frame from fully expanding, causing it to push against the native valve tissue. This secures the valve in place without needing additional anchoring devices. The compressible frame also allows for easier delivery through smaller incisions compared to rigid valves.
28. Artificial Heart Valve with Leaflet-Integrated Resistance Mesh and Vertical Orientation
SHANGHAI KINDLY ENTERPRISE DEVELOPMENT GROUP CO LTD, SHANGHAI KINDLY ENTPR DEVELOPMENT GROUP CO LTD, 2020
An artificial heart valve design with a resistance mesh below the leaflets to reduce stress and improve durability. The valve has a vertical orientation with closed leaflets at the top, a support ring at the bottom, and a resistance mesh fixed between them. This configuration prevents excessive stress concentrations on the leaflets during opening and closing. The resistance mesh is a ring-shaped hollow mesh with large and small through holes. It provides a cushioning effect to absorb blood impact forces on the leaflets without significantly impeding blood flow.
29. Percutaneous Heart Valve Replacement System with Asymmetric Arm Engagement and Independently Adjustable Expandable Support
TWELVE INC, 2020
Percutaneous heart valve replacement system that provides secure implantation and long-term durability for prosthetic valves, especially in irregular-shaped valves like mitral. The device has an expandable support placed between the valve leaflets, asymmetrically arranged arms that engage the annulus behind the leaflets, and optional seals to block blood flow between commissures. This provides anchoring and prevention of prosthesis movement compared to radial engagement alone. The asymmetric arm arrangement allows customization for valve shapes. The expandable support has separate upstream and downstream portions with independently adjustable arms. This enables compression of the annulus behind the leaflets without compressing the annulus itself. The device can also have a skirt-shaped seal around the prosthesis to prevent leakage.
30. Artificial Heart Valve with Multi-Layer Stent and Suture Membrane for Catheter-Based Implantation
KEKAI LIFE SCIENCE CO LTD, 2020
An artificial heart valve designed for minimally invasive implantation without open-heart surgery. The valve has a multi-layer stent, a gasket, a replacement leaflet, a suture membrane, and sutures. The stent has inflow and outflow ends. The leaflet replaces the native valve inside the outflow end. The suture membrane lines the inflow end to prevent leakage. The stent has holes for suturing the leaflet and gasket. The valve is compressed onto a balloon catheter, inserted via a blood vessel, expanded at the native valve site, and fixed in place. The sutures secure the valve components. The multi-layer stent provides radial support. The suture membrane reduces paravalvular leakage. The catheter delivery allows minimally invasive implantation compared to open-heart surgery
31. Bioprosthetic Heart Valve with Upper Frame Attachment and Flexible Stent Structure
BOBAKY MONEERA, 2020
A bioprosthetic heart valve that reduces gradients and minimizes valve-channel phenomenon compared to existing biological valves. The valve has a unique design where the attachment ring is at the upper end of the frame instead of the lower end. This allows the valve flaps to be positioned below the attachment ring when implanted, preventing channels from forming in the valve during closure. The valve also has features like side openings, raised leaflets, and reduced frame size to further reduce gradients. The valve uses a flexible stent with bands to prevent expansion. The valve is made of chemically fixed pericardium.
32. Collapsible Artificial Heart Valve with Frame Openings and Layered Sealing Member
EDWARDS LIFESCIENCES CORP, 2019
An artificial heart valve design that allows easier implantation and reduces the risk of paravalvular leakage. The valve has a collapsible frame with openings between the leaflets. A sealing member with layers covers the frame openings. During implantation, the valve collapses into a small profile for delivery. The sealing member compresses to seal the openings. After implantation, the valve expands and the sealing member uncompresses to seal the frame against the native tissue. This prevents blood flow through the frame openings. The leaflets have tabs that form commissures fixed to the frame, and a tip edge that attaches to the frame. This allows the leaflets to move independently from the frame under flow conditions. The sealing member prevents paravalvular leakage.
33. Composite Artificial Heart Valve Leaflets with Stretched Fluoropolymer Membrane and Elastomer-Filled Pores
W. L. Gore & Associates, Incorporated, 2019
Artificial heart valve leaflets with improved durability and reduced wrinkling. The leaflets are made of composite materials containing a stretched fluoropolymer membrane with serpentine fibers and an elastomer. The elastomer is present in all or substantially all of the pore spaces of the fluoropolymer membrane. This composite structure allows the leaflets to bend and flex without wrinkling or folds during valve cycling. The elastomer improves leaflet elasticity and reduces closing stress. The stretched fluoropolymer membrane with serpentine fibers provides high elongation while retaining strength. The composites have reduced wrinkling compared to conventional leaflets. The elastomer-filled pores also prevent defects like holes and fissures.
34. Implantable Prosthetic Heart Valves with Polymeric Leaflets and Encapsulated Stents Formed by Dip Casting
FOLDAX INC, 2019
Implantable prosthetic heart valves with artificial polymeric leaflets that can be contracted for delivery through small catheters and expand autonomously in the body. The valves have stents with encapsulated polymer and molded leaflets. The valves can be manufactured using dip casting techniques where stents, molds, and valves are dipped in wet polymer and cured. This allows forming the valves without suturing leaflets or joining components. The dip casting process provides uniform polymer coating and repeatable results for implantable valve manufacture.
35. Collapsible Mitral Valve with Frusto-Conical Plug and Commissural Struts for Transcatheter Delivery
MVALVE TECHNOLOGIES LTD., 2019
A replacement mitral valve and valve support for minimally invasive transvascular implantation that can be crimped to a small diameter for delivery through a catheter. The valve has a collapsible stent-like portion with leaflets, covered by a fabric or tissue sleeve. Commissural struts connect the leaflets to prevent collapse. The valve support has similar components but lacks leaflets. The devices have a hollow frusto-conical plug element to improve sealing in the native annulus. The plug is frusto-conical with a larger upper diameter than lower to match the annulus size. The plug attaches to the device and is surrounded by a fabric sleeve. The device also has support elements for attaching the plug fabric. The frusto-conical shape and fabric sleeve help prevent paravalvular leakage.
36. Artificial Heart Valve with Elevated Ring Structure for Enhanced Sealing and Leaflet Alignment
TENDYNE HOLDINGS INC, 2019
An artificial heart valve that aims to improve upon existing prosthetic valves for the mitral position by addressing issues like poor atrial drainage, leaking, erosion, and thrombosis. The valve design involves a ring structure that rises above the atrial bed to create a complete seal around the leaflets. This prevents retrograde blood from hitting the valve during systole, preventing regurgitation. The raised ring also helps align the leaflets properly for efficient ventricular filling during diastole. It aims to provide a customized, sealing, and thrombosis-resistant valve that addresses issues of existing prosthetic valves.
37. Prosthetic Heart Valve with Expandable Body and Annular Protective Sleeve
CARDIOVALVE LTD., 2019
Reduced-size prosthetic heart valves that can be easily delivered into the heart and implanted without protruding into the chambers. The valves have a compact design with a short axial length and anchoring features. They consist of an expandable valve body with tissue anchors and an annular protective sleeve around the outlet. This allows the valve to be collapsed and delivered through narrow spaces, then expanded and anchored in place at the native valve site. The compact size reduces invasiveness during delivery and minimizes protrusion into the heart chambers.
38. Tissue-Based Heart Valve with Flexible Tubular Outer Layer and Longitudinally Expandable Stent
Edwards Lifesciences CardiAQ LLC, 2018
A tissue-based replacement heart valve with improved durability and expandability for minimally invasive delivery. The valve has a flexible tubular outer layer with thin walls and a thin inner layer containing the valve leaflets. The outer layer is sewn to the leaflets at the edges and commissures. This allows the thin leaflets to move freely without stress concentrations. The stent can have a foreshortening section that expands longitudinally when radially compressed. This prevents valve stretching or crushing during stent compression. The valve body is attached to the stent outside the foreshortening section. This allows the body to move longitudinally relative to the stent during foreshortening. The valve body can also have a stretchable section that stretches or contracts with the stent. The separate inner and outer layer construction with sewn edges improves durability compared to traditional se
39. Heart Valve Prosthesis Comprising Biological Tissue Components and Preset Suturing Pattern
Hangzhou Jiahezhongbang Biotechnology Co., Ltd., 2018
Heart valve prosthesis for cardiac surgery that aims to improve upon traditional valves by eliminating the need for synthetic materials, reducing thrombus and bacterial attachment, simplifying manufacturing, and improving compliance with the heart. The valve is made entirely of biological tissues, with the valve leaflets, auxiliary structure, and support frame all made of animal pericardium or other biocompatible materials. This eliminates synthetic fabrics and metals that can promote thrombus and bacterial attachment. The valve is also manufactured using a preset suturing pattern to standardize assembly and simplify production.
40. Stented Prosthetic Heart Valve with Asymmetrical Paravalvular Sealing Wrap of Variable Thickness
MEDTRONIC VASCULAR INC, 2018
Stented prosthetic heart valves with a paravalvular sealing wrap to reduce paravalvular leakage while minimizing profile during delivery. The wrap is positioned on one side of the valve leaflets margin to not overlap the inner skirt. It has zones of varying thickness to provide maximum thickness for sealing without increasing delivery profile. The wrap is entirely on one side of the leaflets attachment margin. This allows the wrap to have increased thickness without increasing the profile of the compressed prosthetic valve during delivery.
41. Collapsible Prosthetic Heart Valve with Transitioning Elongated Legs and Integrated Sealing Structure
St. Jude Medical, Cardiology Division, Inc., 2018
Collapsible prosthetic heart valve with improved sealing and accuracy during implantation to reduce risks and complications compared to conventional valves. The valve has a stent, valve assembly, and elongated legs that can transition between an extended configuration for delivery and a relaxed configuration for implantation. A sealing portion connects the legs and forms a sealing structure when the legs relax. This helps fill gaps between the valve and native annulus during implantation to prevent leakage. The legs can extend further than the valve for easier delivery and then relax to better conform to the annulus shape.
42. Collapsible Prosthetic Heart Valve with Foldable Support Structure and Flexible Leaflet Configuration
ST JUDE MEDICAL LLC, 2017
Collapsible prosthetic heart valve with improved durability, mitral valve collision prevention, and leakage reduction. The valve has a foldable, reexpandable support structure and a flexible valve leaflet. The leaflet forms a cord inside the support structure with flaps folded onto the inner or outer cylindrical surface. This allows leaflet attachment without cuff wear. The leaflet can also have a fixed portion separated from the free edge. Additional flaps and a buffer material between the leaflet and structure further enhance durability and leak prevention.
43. Transcatheter Heart Valve with Swellable Extracellular Matrix Sealing Component
Medtronic Vascular, Inc., 2017
A transcatheter heart valve with a sealing component that prevents leaks around the implant. The sealing component is made from tissue with an altered extracellular matrix that contains weakened connections. When blood infiltrates these weakened connections, the tissue swells and expands to fill gaps between the valve and native valve annulus, reducing paravalvular leakage. The tissue with altered extracellular matrix is more compressible in its compressed state for delivery, but expands when exposed to fluid.
44. Expandable Prosthetic Heart Valve with Skirt Incorporating Flexible Arms and Suction Cups
Edwards Lifesciences CardiAQ LLC, 2017
Expandable prosthetic heart valve with improved sealing and delivery properties. The valve has a compact configuration for delivery through minimally invasive procedures, and can expand to fit within the native valve. The valve has a unique frame design with a skirt that extends below the valve leaflets. The skirt has flexible arms that can expand to contact the surrounding heart tissue. This provides a seal to prevent blood leakage around the valve. The skirt also has suction cups that can attach to the heart tissue for added security. The expandable prosthetic valve aims to reduce paravalvular leakage and improve sealing compared to conventional replacement valves.
45. Polymer Prosthetic Aortic Valve with Leaflets Conforming to Aortic Root Geometry and Annulus Groove
Beijing University of Technology, BEIJING UNIVERSITY OF TECHNOLOGY, 2016
A polymer prosthetic aortic valve that aims to improve the performance and durability of polymer heart valves compared to existing ones. The valve has three leaflets fixed to a ring that is sewn to the aortic annulus during implantation. The leaflets are designed to match the geometry of the aortic root junction to distribute stress evenly. The annulus has a shaped groove for the leaflet holder. This geometry allows the valve to adapt better to the native aortic anatomy and reduce stress concentrations compared to flat-disk shaped valves. It aims to provide better durability and biocompatibility compared to traditional mechanical valves while avoiding lifelong anticoagulation requirements of mechanical valves.
46. Bioprosthetic Heart Valve with Integrated Self-Expanding Bell-Shaped Stent and Directly Sutured Leaflets
2ND PEOPLES HOSPITAL SHENZHEN, THE SECOND PEOPLES HOSPITAL OF SHENZHEN, 2016
A bioprosthetic heart valve with improved durability and reduced paravalvular leakage compared to conventional bioprosthetic valves. The valve has a unique design where the valve leaflets and skirt are sutured to the self-expanding stent itself, rather than attaching separately. This eliminates the need for a separate metal stent and reduces the risk of shifting and paravalvular leakage after implantation. The valve stent is shaped like a bell with a flared end, which provides better anchoring and adherence to the native tissue when expanded. The leaflets are bovine aortic valves without crowns. This allows larger valve area and lower transvalvular pressure compared to mitral valves. The self-expanding stent design also reduces thrombosis risk and complications compared to metal stents.
47. Heart Valve Prosthesis with Foldable Cuff and Variable Expansion Mechanism
ST JUDE MEDICAL LLC, 2016
Heart valve prosthesis with a foldable cuff that can be inserted into a small incision and expand to seal against the native tissue. The cuff has folds that collapse in the radial direction during insertion and unfold outward when the stent expands. This allows a smaller diameter for insertion. The cuff can also have biasing elements like springs or hygroscopic material that push against the stent to enhance sealing. The cuff can have different thickness regions that expand differently for customization. The stent body has a wider annular section that expands outward to engage the native tissue. The cuff can also have pockets that distend to enhance engagement. The stent body may have integrated springs or water-absorbing material to push against the cuff. This reduces leakage by better sealing against irregular tissue.
48. Collapsible Prosthetic Heart Valve with Annular Sealing Members and Flared Anchor Features
ST. JUDE MEDICAL, CARDIOLOGY DIVISION, INC., 2015
Collapsible prosthetic heart valves with improved sealing and anchoring properties. The valves have a stent with features that prevent retrograde blood leakage and prevent movement of the valve in the heart. The stent has expanded and collapsed conditions. In the expanded condition, it has annular sealing members at the inflow and outflow ends, flared portions, and anchor members. In the collapsed condition, these extend further away from the ends. This provides better sealing and anchoring while compressing. The valve assembly has leaflets attached to the expanded stent. The sealing members have non-planar shapes in the expanded condition. The flared portions and anchor members extend further from the ends in collapse. This reduces contact with the heart tissue. The sealing members have larger diameters than the stent. The flared portions and anchors extend further from the ends in collapse.
49. Collapsible Prosthetic Heart Valve with Outward-Expanding Runners and Cuff Coverage
ST JUDE MEDICAL CARDIOLOGY DIVISION INC, 2015
Collapsible prosthetic heart valve with runners that expand outward when the valve expands, and a cuff that covers the expanded runners to prevent leakage. This improves sealing and reduces paravalvular leakage compared to conventional valves where gaps form between the valve and native annulus. The runners are smaller in the collapsed state for easier delivery, but expand wider than the stent struts to seal against the annulus. The cuff partially covers the expanded runners to prevent regurgitation through the gaps.
50. Artificial Heart Valve with Independent Leaflet Attachment on Flexible Metal Stent
(), SHIN KYONG MIN, TAEWOONG MEDICAL CO LTD, 2015
Artificial heart valve design and manufacturing method to improve durability and functionality compared to existing prosthetic valves. The valve has a flexible metal stent with three separate leaflets sewn onto it. This allows the leaflets to move independently and prevent leakage. The leaflets are wrapped in fabric and stitched to the stent instead of being attached as a whole. This prevents tearing and breakage. The stent itself has a unique shape with curved posts and a cylindrical center hole. The fabric-wrapped leaflets connect between the posts and center hole. This configuration enhances durability by distributing forces and reducing stress concentrations.
The development of tissue and polymer-based prosthetic heart valves represents a convergence of biology and engineering, delivering solutions tailored to diverse patient needs. While tissue valves excel in compatibility and natural function, polymer valves offer durability and structural advantages. Continuous innovation in materials and designs ensures that these prosthetic valves will meet the growing demand for minimally invasive, effective, and long-lasting heart valve replacements.
Get Full Report
Access our comprehensive collection of 56 documents related to this technology
