High-Speed 3D Printing Process
Current 3D printing processes face fundamental speed limitations, with build rates typically constrained to 10-50 cm³/hour for precision parts. Even high-speed systems must manage thermal gradients, material flow dynamics, and curing kinetics that affect both throughput and part quality. These constraints become particularly evident in large-format printing, where layer times directly impact overall build duration.
The core challenge lies in accelerating deposition and solidification processes while maintaining dimensional accuracy and material properties across the entire build volume.
This page brings together solutions from recent research—including matrix optical systems for optimized UV exposure, electric field-controlled droplet deposition, advanced flow additives for metal powders, and thermal management systems for LCD panels. These and other approaches demonstrate practical pathways to increase printing speeds while preserving part quality and reliability.
1. Extruder with Active Cooling and Insulated Shell for Rapid Material Change and Enhanced Temperature Control
ROBOZE S.p.A., 2024
Extruder design for 3D printing that enables faster material changes, higher print speeds, and improved temperature control for printing with multiple materials. The extruder has an active cooling system using compressed air or other fluids to quickly cool the extruder between material changes. An insulated shell around the extruder further aids cooling. This allows rapid extruder swaps without degradation or material waste. The active cooling reduces preheating times and improves energy efficiency. The insulated shell separates feeding/loading from melting areas for better temperature control.
2. Combined Matrix Optical Lens with Double-Sided Optics for UV Light Distribution in 3D Printers
Shenzhen Anlun Optical Co., LTD, 2023
Combined matrix optical lens for UV 3D printers that improves uniformity and efficiency of UV light exposure for high precision 3D printing. The lens design reduces the number of LED units needed to illuminate the LCD screen by using double-sided optics. It also allows customization of lens size based on application requirements to optimize cost and performance.
3. Additive Manufacturing System with Electric Field-Controlled Droplet Deposition and Layer Flattening Mechanism
ENJET CO. LTD., 2023
Additive manufacturing system and method for rapid and accurate 3D printing using droplet deposition and electric field control. The system uses electric fields to deposit charged droplets from a printing platform onto a build platform using a layer-by-layer method. An electric field is formed between the nozzle and the build platform to control droplet trajectory. A flattening unit compacts each layer before curing. The electric field control allows high-viscosity materials to be dispensed at rapid speeds with improved accuracy and quality compared to traditional 3D printing.
4. Flow Additive Comprising Lyophilized Nanoparticle Agglomerates for Metal 3D Printing Powders
HEWLETT-PACKARD DEVELOPMENT COMPANY, L.P., 2023
A custom flow additive for metal 3D printing powders that improves their flowability and spreadability without negatively affecting the mechanical properties of printed parts. The additive is made by freezing and lyophilizing a nanoparticle dispersion to form low-density, porous agglomerates that readily break apart into individual nanoparticles when mixed with the metal powder. The nanoparticles stick to the metal particle surfaces and reduce cohesion forces, improving flow while avoiding deleterious grain boundary inclusions that occur with conventional flow additives.
5. 3D Printing Composition with Norbornene and Dicyclopentadiene Monomers, Oxygen-Sensitive Ruthenium Catalyst, and Photolytically Activated Photoinitiator
PROMERUS, LLC, 2023
Single component compositions for 3D printing solid objects with high impact strength. It contains norbornene and dicyclopentadiene-based monomers, an oxygen-sensitive ruthenium catalyst, and a photolytically activated photoinitiator. The composition is stable at ambient conditions but rapidly polymerizes when exposed to light, producing 3D-printed objects with high impact strength.
6. 3D Printing Method Using Nebulized Coagulation for Solvent-Based Polymeric Structures
UNIVERSITY OF FLORIDA RESEARCH FOUNDATION, INCORPORATED, 2023
3D printing method that enables freeform fabrication of complex polymeric structures without the need for elevated temperatures or supports. The method involves printing a liquid build material containing a polymer dissolved in a solvent into air. A nebulized coagulation agent is sprayed near the printed material to solidify it partially. This allows the printing of complex geometries without support. The printed parts are then fully solidified by soaking in a post-printing coagulation solution and drying. The solvent can be reclaimed for reuse.
7. Metal 3D Printing with Thixotropic Magnesium Alloy Using Fused Deposition
Robotic Research OpCo, LLC, 2023
Improving metal 3D printing by using a thixotropic material that can flow over time when shaken, agitated, sheared, or otherwise stressed, even if the temperature is not increased. This allows independent control of temperature and heat transfer between layers during printing. The metal material used is a thixotropic magnesium alloy that can be 3D printed with a fused deposition printer. A chamber is used to control temperature and gas to prevent oxidation.
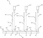
8. Metal 3D Printer with Droplet Ejection for Spaced Pillar and Continuous Line Support Formation
Xerox Corporation, Palo Alto Research Center Incorporated, 2023
A metal 3D printer that quickly forms metal support structures that can be easily removed after printing. The printer ejects melted metal drops to form objects. To create supports, it forms a line of spaced pillars, and then a single pass ejects a continuous metal line over the pillars. This avoids excessive heat buildup. The pillars can be easily separated from the continuous line later. This enables rapid support formation with adequate strength compared to building walls and joining pillars incrementally.
9. Support Removal System for 3D Printed Parts Utilizing Data-Driven Agitation Method Selection
PostProcess Technologies, Inc., 2023
Automatically optimizing the support removal process for 3D printed parts by using historical and real-time data from the support removal machine to make decisions about which agitation methods to activate and adjust.
10. Method for Preheating Metal Particles to Form Oxidation Barrier in 3D Printing
Hewlett-Packard Development Company, L.P., 2023
A method to improve the performance of metal 3D printing by mitigating particle sticking and caking issues that can cause defects. The method involves preheating stainless steel particles before printing to create a thin oxidation barrier on the particle surface. This barrier prevents adhesive interactions between the particles that cause sticking and caking.
11. Control Parameter Adjustment for Dual-Mode DLP 3D Printing with Simulated Resin Dynamics
BEIJING UNIVERSITY OF TECHNOLOGY, 2023
Optimizing control parameters for rapid DLP 3D printing by combining continuous and layered printing to improve efficiency and adaptability to models of any size. The method involves simulating resin flow, curing, and printing behavior to determine optimal parameters like lift height, platform speed, and max fill distance. These parameters are determined using fluid dynamics and curing laws to balance speed and model adaptation.
12. Additive Manufacturing System with Dual-Speed Rotating Platform and Independent Central Shaft for Continuous Vertical Movement
General Electric Company, 2023
Additive manufacturing system that reduces the cost and time required to 3D print components by rotating the build platform in two different speeds. The platform has a central shaft that can rotate independently from the platform. By rotating the platform and shaft at different speeds, the platform slides up and down along the shaft. This allows continuous vertical movement of the platform while rotating, enabling simultaneous recoating and consolidating of the powder bed.
13. 3D Printing Method Utilizing Digital and Contact Printing with High Viscosity Material Layers
dp polar GmbH, 2023
3D printing method for high-resolution rapid manufacturing of strong, customizable 3D parts. The method uses a combination of digital printing and contact printing. The first material layers are digitally printed. Then a transfer body coated with a second material is used to contact print further layers. This allows using high viscosity materials for strength.
14. Aluminum Alloy with 2-15% Manganese and 0.3-2% Scandium for Additive Manufacturing
MONASH UNIVERSITY, 2023
High strength aluminum alloy suitable for additive manufacturing that can be 3D printed into complex parts. The aluminum alloy composition contains 2-15% manganese and 0.3-2% scandium, with balance being aluminum. This alloy provides tensile strengths greater than 400 MPa, which is high for aluminum, making it suitable for load-bearing structural components that require high strength. The alloy can be rapidly solidified using AM processes like selective laser melting (SLM) or electron beam melting (EBM) to retain the high strength. The alloy can also be used for other rapid solidification methods like laser cladding or thermal spray.
15. 3D Printer System with Heated Auger Screw for Powder Pre-Heating
HEWLETT-PACKARD DEVELOPMENT COMPANY, L.P., 2023
An improved 3D printer system that uses a heated auger screw to deliver powder material to the build platform. The auger screw is heated to pre-heat the powder as it is moved from the storage unit to the build platform. This improves the performance of the 3D printer by allowing the powder to be pre-heated before printing, preventing cooling and solidification issues that can occur when cold powder is exposed to the high temperature energy source that fuses the printed layers.
16. 3D Printer Base with Movable Blocks for Self-Adjusting Head Movement Optimization
KYNDRYL, INC., 2023
Facilitating 3D printing by optimizing printer head movements to reduce unproductive travel time. This is done using a self-adjusting printer base with movable blocks. The system analyzes the object to be printed and identifies contact points with the base. It then determines a configuration for the movable blocks to position those contact points centrally. This allows printing of those areas to stay localized rather than moving around the print area. The blocks can adjust during printing to optimize head movement.
17. Additive Manufacturing Method with Enhanced Layer Cooling via Polymer Property and Environmental Modifications
Thermwood Corporation, 2023
Speeding up additive manufacturing using 3D printing techniques. The method involves changing the cooling rate of the deposited polymer material to deposit each layer faster. This is done by modifying the polymer properties, such as thermal conductivity, or the printing environment, to facilitate faster cooling between layers.
18. Continuous 3D Printing Method with Laser Material Removal and UV Curing Through Film
IO Tech Group Ltd., 2023
A high-speed 3D printing method that uses a continuous process involving a coating system, laser removal of excess material, and UV curing through a film to build up an object layer by layer. The key steps are coating a film with a material, digitally removing excess material using a laser, and exposing the coated film to a non-digital curing system like UV light while in contact with a partially built 3D object.
19. Method for Hybrid Additive Manufacturing of Multi-Material Components with Elastically Deformable Alignment Features
GM Global Technology Operations LLC, 2023
A method for additive manufacturing of multi-material components like a stator connection support for quick and inexpensive prototyping. The method uses hybrid additive manufacturing with a mix of additive manufacturing technologies to create the component. The key idea is to leverage the flexibility of polymer 3D printing to create substrate structures that can elastically deform and average out alignment errors when mated to form the final component. By using elastically deformable features like protrusions and recesses that can flex to align during assembly, the additive manufacturing errors can be mitigated and accurate component alignment achieved. These elastically averaging couplings allow creating complete, functional multi-material components like a stator connection support by coupling conductive components to the polymer substrates.
20. 3D Printing System with Dynamic Deposition Rate, Energy Delivery, and Tool Speed Adjustment Based on Consolidation Times
FISHER CONTROLS INTERNATIONAL LLC, 2023
Optimizing build speed and efficiency of 3D printing by dynamically adjusting deposition rates, consolidation energy delivery and tool speeds based on consolidation times at different build points. The build tool is guided along an optimized trajectory that minimizes build time while maintaining quality metrics above a threshold.
21. Additive Manufacturing System with Non-Continuous Deposition Using Multiple Coordinated Robotic Subsystems
3D Systems, Inc., 2023
Additive manufacturing of metallic parts with non-continuous deposition using multiple robotic material-depositing subsystems. The subsystems deposit material in a controlled order and pattern of discrete cells to build up the component. The non-continuous deposition enables rapid traversals between cells while optimizing deposition rates and minimizing heat input to manage thermal conditions and residual stresses. The subsystems are coordinated to avoid collisions. The resulting blank component can be machined to final dimensions.
22. 3D Printing System with Temporary Manipulation Points and Multiplexed Laser Techniques
Seurat Technologies, Inc., 2023
A system for 3D printing optimized parts using automated manipulation and other techniques to improve throughput and quality. The system involves adding temporary manipulation points to printed parts to allow automated robots to handle them during printing. This enables precise part repositioning, removal of temporary supports, and other actions for higher quality and faster printing. The system also involves techniques like multiplexing lasers, adjustable optics, enclosed printing chambers, and in-process powder sampling to further optimize 3D printing.
23. 3D Printing Apparatus with Multiple Adjacent Powder Beds and Simultaneous Multi-Beam Melting System
Aurora Labs Limited, 2023
A 3D printing method and apparatus that can print objects faster than conventional 3D printers by simultaneously depositing multiple layers of powder and using multiple energy beams to melt the powder. The key elements are: having multiple adjacent powder beds on the print surface instead of a single layer, using multiple energy beams to melt each powder layer simultaneously, leveling the powder layers between melting steps to prevent rolling, and monitoring the powder flow to prevent issues.
24. 3D Printing Model and Path Modification with Targeted Internal Supports and Time-Separated Fill Line Deposition
Autodesk, Inc., 2023
Reducing material and time in 3D printing by modifying models and print paths. The improvements include adding internal supports only where needed inside objects to reduce material use when printing hollow objects. It also involves generating tool paths that have time and space separated fill line depositions to reduce forces that warp the fill lines during cooling. By enabling cooling between adjacent printed lines before depositing the next line, it lowers the likelihood of delamination and warping.
25. 3D Printing Process for Thermally Curable Polymers with In-Situ Thermal Treatment and Layer Height Compensation
New Jersey Institute of Technology, 2023
A process for 3D printing thermally curable polymers without adjusting the ink formulation. The process involves printing the ink on a heated substrate or blowing heated air onto the substrate to provide in-situ thermal treatment. Between layers, the printer pauses to allow solidification from curing and solvent evaporation. The height of subsequent layers is adjusted to compensate for shrinkage. This allows high fidelity printing of thermally curable inks regardless of solvent content. The thermal treatment and height adjustment compensate for shrinkage during curing.
26. 3D Printing System with Preheating and Roller Flattening Mechanisms for Enhanced Layer Adhesion
SUZHOU MEIMENG MACHINE CO LTD, 2022
3D printing system with improved layer fusion and printing efficiency. The system uses preheating and roller flattening devices on either side of the extruder to enhance layer adhesion and reduce warping. Before printing a new layer, a preheating device warms the layer above it. After printing, a roller flattens the just-printed layer. This prevents deformation, improves accuracy, and reduces cooling time compared to natural cooling. The rollers also help flatten the layer for better adhesion to the next layer.
27. Modular Heater System with Independently Controllable Elements and Bidirectional Actuation for Layer-Selective Heating in 3D Metal Printers
XEROX CORP, 2021
A modular heater system for 3D metal printers that improves layer adhesion by selectively heating the top layer before each new layer is printed. The modular heater has independently controllable heating elements arranged in a frame mounted to a reciprocating arm. It moves bidirectionally using an actuator. A sensor measures the top layer temperature. A controller compares to a threshold and selectively powers the elements to heat the top layer if needed. This prevents cooling between layers, maintaining optimal adhesion without overheating lower layers.
28. 3D Printing System with Melt Pressure Sensing and Feed Rate Adjustment for Material Compression Compensation
UNIV MASSACHUSETTS, UNIVERSITY OF MASSACHUSETTS, 2021
Improving 3D printing quality and throughput by compensating for material compression during extrusion. The technique involves sensing the melt pressure in the print nozzle and estimating the material's volumetric change due to compression. This is used to adjust the feed rate to compensate for the compression effects. This prevents excess or insufficient material delivery when transitioning between high and low pressures.
29. Layer-Specific Timing Control System for Binder Deposition in Additive Manufacturing
HEWLETT PACKARD DEVELOPMENT CO, HEWLETT-PACKARD DEVELOPMENT COMPANY LP, 2021
Optimizing additive manufacturing processes like 3D printing to improve print quality and reduce processing time. The system analyzes the two-dimensional image of each layer of the 3D model to determine the exact timing of binder deposition as the carriage moves over the layer. This allows precise control of when agent is jetted to form the 3D object. If the analysis takes longer than the fixed time available between layers, it identifies layers that cannot be printed optimally due to time constraints. These layers are recorded for user notification.
30. 3D Printing System Utilizing Chemical Reaction-Based Material Deposition
ANHUI QUNLING DONGFANG 3D TECH CO LTD, ANHUI QUNLING DONGFANG 3D TECHNOLOGY CO LTD, 2020
A new type of 3D printing system that uses chemical reactions instead of melting to 3D print objects. The system has components like a feeding control system, extrusion system, print head control system, and printer platform control system. The feeding control system loads and feeds the raw material, the print head control system controls the flow and reaction inside the print head, and the printer platform control system moves the platform. The system enables 3D printing using chemical reactions instead of melting, potentially enabling faster and larger scale printing.
31. 3D Printing Method with Geometry-Responsive Layer Parameter Adjustment
AI BUILD LTD, 2020
Improved method of 3D printing that addresses issues with printing overhanging and curved sections. The method involves dividing a layer into sections, analyzing the local geometry around each section, and adjusting printing parameters like speed and layer height based on the geometry to prevent sagging, delamination, and other problems.
32. High-Speed Extrusion 3D Printing System with Dynamic Shear Thinning Control and In-Process Viscosity Measurement
ESSENTIUM INC, 2020
High-speed extrusion 3D printing system that allows faster and more accurate 3D printing by optimizing material flow and extrusion parameters. The system uses a specific extrusion force and temperature range to access a shear thinning region of the material where it becomes less viscous. This allows higher extrusion rates and faster printing. The system measures material properties like viscosity during printing and adjusts parameters to maintain shear thinning. It also calibrates the printer to find optimal conditions for each material.
33. 3D Inkjet Printing System with Optimized Printhead Path Determination Based on Layer Contour Analysis
ZHUHAI SAILNER 3D TECHNOLOGY CO., LTD., 2020
A method and system to improve printing speed and efficiency of 3D inkjet printing. The method involves analyzing layer printing data to determine optimal printhead paths for each layer that minimize the total print travel distance. By intelligently placing the start and end points of printhead scans based on the object's contours, unnecessary travel in empty areas can be avoided. This reduces print time and improves efficiency by reducing printhead travel distance.
34. 3D Printing Apparatus with Rotating Print Head and Beam Splitting Optics for Simultaneous Multi-Beam Powder Solidification
Aurora Labs Limited, 2020
A high-speed 3D printing method and apparatus that uses an energy beam to solidify layers of powder to build up a 3D object. The key idea is to split the energy beam into multiple beams that can be directed onto separate areas of the powder bed simultaneously, allowing faster scanning compared to a single beam. The apparatus has a rotating print head and splitting optics to divide the beam. The splitting and simultaneous scanning of multiple beam paths enables rapid consolidation of the powder layers for faster 3D printing speed.
35. Multi-Axis 3D Printing Method with Robotic Arm Utilizing Preheated Toolpath and Thermal Management Techniques
STRATASYS INC, 2019
A method of 3D printing parts using a robotic arm to print parts in a single toolpath along multiple axes instead of layer-by-layer. It involves preheating the toolpath ahead of printing to prevent thermal instability, then extruding the material onto the preheated surface. This allows printing conformally onto existing parts without supports. The robot moves in 6 axes on a build platform to print parts along different directions. This enables complex geometries without internal supports and allows optimizing part quality and build process. The method uses thermal management techniques like localized preheating and rapid cooling to balance heat effects during printing.
36. 3D Printing System with Twin-Screw Extruder and Integrated Hose Heating and Preheating Mechanisms
Shanghai Mechanical Construction Group Co., Ltd., East China University of Science and Technology, Nanjing Beyou Extrusion Machinery Co., Ltd., 2019
A multifunctional 3D printing system that enables high-volume, high-throughput 3D printing of thermoplastic materials. The system has components like a controller, feeding system, twin-screw extruder, pressurization system, hose heating system, and preheating system. The twin-screw extruder plasticizes and pressurizes the material. The pressurized material is fed to the hose heating system for transport and preheating. The hose heater is wrapped around the extruded material to heat it. The preheating system further melts the printed material layers for bonding.
37. Additive Manufacturing Method with Variable Scan Strategies, Track Geometries, and Layer Thicknesses
UNIFORMITY LABS, INC., 2018
Optimizing additive manufacturing (AM) print quality and reducing time by varying scan strategies, track shapes, and layer thicknesses. The invention involves using different sized and shaped tracks in a multi-layer scan strategy to address covering problems and packing efficiency. It also proposes changing the thickness of deposited material relative to slice thickness and stage displacement. This allows targeted variations in track geometry and density to improve properties like porosity and mechanical strength.
38. 3D Printer with Reciprocating Nozzle Assembly and Multi-Color Material Dispensing System
Chunchao FAN, 2018
High-speed color 3D printer with reciprocating movement of a nozzle assembly that enables fast printing of 3D images with vivid colors. The printer has a horizontally moving nozzle assembly containing multiple spray pipes for different color materials. The nozzle assembly moves back and forth over a vertically moving workbench to print successive layers of a 3D image. It uses white matrix material followed by colored materials to create protruding layers with a 3D effect. UV lamps cure the materials after each layer.
39. Dynamic Layer-Specific Speed Adjustment for 3D Printing Based on Material Cooling Time
Thermwood Corporation, 2018
Optimizing 3D printing speeds to maintain parts quality and avoid printing errors while still maximizing print speed. The method adjusts the print speed for each layer based on the minimum cooling time required for the material. It calculates the layer print time based on the actual print speed and compares that to the minimum cooling time. If the print time is less, it reduces the speed to allow longer cooling. If the print speed is already at the minimum, it pauses printing until the cooling time is reached. This ensures each layer solidifies enough before the next is added. By dynamically adjusting speeds per layer, it prevents overprinting and allows continuous printing without stopping.
40. Rotary Multi-Nozzle Switching System for Heterogeneous Multi-Material Additive Manufacturing with Binocular Stereo Vision Feedback
Huazhong University of Science and Technology, 2018
Heterogeneous multi-material additive manufacturing system that enables high-efficiency 3D printing of complex structures using multiple materials and processes. The system uses a rotary multi-nozzle switching printing device to quickly switch between different materials and processing methods. It also has a binocular stereo vision monitoring and feedback device that accurately determines the timing of material reduction based on the specific material properties. This allows coordinated forming of heterogeneous multi-material structures by real-time switching and material reduction.
41. 3D Printing Apparatus with Variable Feed Rates for Differential Shell and Filling Layer Thickness
CAL-COMP ELECTRONICS & COMMUNICATIONS COMPANY LTD, KINPO ELECTRONICS INC, XYZPRINTING INC, 2017
3D printing method and apparatus that balances print quality and time by using different feed rates for the outer shell layers versus the internal filling layer. The method involves printing multiple thin shell layers at a lower feed rate, followed by a single thick filling layer at a higher feed rate. The thickness of the filling layer is N times that of the shell layers. This allows faster printing while maintaining quality since the thicker filling layer compensates for the lower resolution shell layers.
42. Three-Dimensional Printer with Dual Head System for Integrating Adjacent Layers via Opposing Channel Discharges
QUANZHOU BILIN THREE DIMENSIONAL TECH CO LTD, QUANZHOU BILIN THREE DIMENSIONAL TECHNOLOGY CO LTD, Quanzhou Bilin 3D Technology Co., Ltd., 2017
Three-dimensional printer that integrally melts adjacent printing layers to improve print quality and reduce layer separation. The printer has separate main and sub print heads with synchronized feeding mechanisms. The main head feeds molten material downward through a main channel while the sub head feeds upward through a sub channel. This allows the main head to discharge lower than the sub head. During printing, the main head elevates to expose the feeding port while the sub head elevates to close its port. This prevents solidified material from blocking the sub channel. The lower sub head discharge melts into the upper main head discharge, integrating the layers. After printing, the main head lowers to seal its port while the sub head lowers to seal its port.
43. Additive Manufacturing System with Enhanced Extruder Design and High-Heat-Rate Liquefier
MASSACHUSETTS INSTITUTE OF TECHNOLOGY, 2017
High-throughput additive manufacturing system with improved extrusion, melting, and deposition rates to enable faster and more efficient 3D printing. The system uses a novel extruder design with a larger engagement area that allows higher extrusion forces without shearing the filament. It also has a high-heat-rate liquefier that rapidly melts the filament using convection instead of just conduction. The gantry motion system uses high-performance actuators for faster acceleration and deceleration. These modifications enable higher extrusion rates, faster melting, and faster deposition for faster overall printing.
44. 3D Printing Apparatus with Gas-Permeable Optically Transparent Flexible Film for Continuous High-Resolution Fabrication
Lehigh University, 2016
Continuous, high-speed 3D printing of objects with high resolution using a flexible film instead of a traditional build platform. A gas-permeable, optically transparent film is tensioned over a reservoir of photocurable resin. Light is projected through the film to cure a layer of resin, forming the object. The cured layer then detaches from the film as the platform lifts. Oxygen permeating through the film inhibits curing where it contacts the film, creating a non-stick layer that allows the printed object to separate. Pressure control maintains the film tension and prevents bubbles.
45. 3D Printing Apparatus with Targeted Pre-Heating and Active Cooling for Inter-Layer Bonding
Mark Christopher Gordon, 2016
Improving inter-layer bonding in 3D printing by targeted pre-heating and active cooling of material. The technique involves using targeted heat sources (THS) to pre-heat areas before deposition, and active cooling during deposition, to optimize bonding strength. The THS elements attach to the printer and aim focused heat at specific spots to improve adhesion. Active cooling uses an integrated cooler to lower the temperature during deposition. By controlling the timing and locations of pre-heating and cooling, the bonding strength can be calibrated and optimized.
46. 3D Printing System with Targeted Heat Sources for Preheating Inter-Layer Regions
BlueBox 3D, LLC, 2015
Improving inter-layer bonding in 3D printing by using targeted heat sources (THSs) to preheat areas before new material is deposited. This calibrates the bonding between layers and can significantly improve the strength of 3D printed objects compared to printing without preheating. The THSs can be fixed or movable elements integrated into a 3D printer or added as an accessory. They can be controlled based on printer data to aim and deliver targeted heat to specific areas.
47. 3D Printing Apparatus with Selective Heating Zones on Build Platform
CAL-COMP ELECTRONICS & COMMUNICATIONS COMPANY LTD, KINPO ELECTRONICS INC, XYZ PRINTING INC, 2015
A 3D printing apparatus with selective heating of the build platform to reduce costs and energy waste compared to continuously heating the entire platform. The base has multiple heating regions that can be selectively activated by the processing unit based on the digital 3D model. This allows targeting specific areas that will have material deposited on them, avoiding unnecessary heating of unused regions. The print head ejects the melted material onto the heated areas to build the 3D object.
A variety of remarkable solutions for quicker, higher-quality, more efficient 3D printing are presented in these patents. From large-scale manufacturing to quick prototyping, a variety of industries will benefit from this. Enabling companies to react to market demands more quickly and adjust to evolving needs.
Get Full Report
Access our comprehensive collection of 47 documents related to this technology
