Thermal Control in 3D Printers
In additive manufacturing, thermal management directly impacts part quality and dimensional accuracy. Print bed temperatures can vary by up to 30°C across the build plate, while extruder temperatures must be maintained within ±2°C of target values to ensure consistent material flow and layer adhesion. These thermal gradients and fluctuations can lead to warping, layer delamination, and residual stresses in printed parts.
The fundamental challenge lies in maintaining precise temperature control across multiple thermal zones while accommodating the dynamic heat transfer conditions inherent in layer-by-layer fabrication.
This page brings together solutions from recent research—including adaptive build plate preheating systems, thermographic monitoring for laser parameter optimization, multi-zone temperature control, and active cooling mechanisms. These and other approaches focus on achieving consistent thermal conditions throughout the print process while maximizing build speed and part quality.
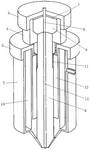
1. External Manual Temperature Controller with Integrated Heating Element, Cooling Fans, and Sensor for 3D Printer Print Head
QINGDAO RONGBANG TECH CO LTD, QINGDAO RONGBANG TECHNOLOGY CO LTD, 2024
Manual temperature controller for 3D printers with continuous fiber materials to improve print quality and accuracy by providing localized heating and cooling around the print head. The controller attaches externally to the print head and has a heating element and cooling fans inside. It also has a temperature sensor to monitor conditions. This allows controlling temperatures specifically around the print area, mitigating uneven heating issues that arise with open or semi-open print systems.
2. 3D Printer Temperature Control System with Independent Circuits and Real-Time Adjustment for High-Temperature Materials
ANHUI ZHONGKE XIANGSHENG TECH CO LTD, ANHUI ZHONGKE XIANGSHENG TECHNOLOGY CO LTD, 2024
3D printer temperature control system that allows real-time adjustment of printer head and platform temperatures during printing, and supports high-temperature materials like PEEK, TPI, PI, metallic zinc, and aluminum. The system separates the temperature control circuits for the head and platform from the main control panel, with independent temperature sensors and solid-state relays for the heaters. This allows higher currents through the heaters and enables higher temperatures.
3. 3D Printer with Adjustable Chamber Temperature Control Using Integrated Heating and Air-Cooled Heat Dissipation Mechanisms
JIANGSU YIYAN TECH CO LTD, JIANGSU YIYAN TECHNOLOGY CO LTD, 2024
A 3D printer with adjustable printing chamber temperature for optimal printing quality and material performance. The printer has a temperature sensor, heating mechanism, and air-cooled heat dissipation mechanism. The heating mechanism uses an electric heating tube, support frame, anti-ash net, and heating plate. The air-cooled heat dissipation mechanism has a cover, fan, ventilation holes, grid, and anti-dust net to control temperature. This allows precise temperature control inside the printing chamber to prevent material deformation, gaps, cracks, and solidification issues while preventing excessive heat damage to the material.
4. Thermal Cycling Device with Heat Transfer Tubes and Pump for High-Temperature 3D Printer Chamber
JIANGSU MINREON TECH CO LTD, JIANGSU MINREON TECHNOLOGY CO LTD, 2024
Thermal cycling device for a high-temperature chamber of a high-temperature 3D printer to improve thermal uniformity and reduce energy waste. The device has a base, support platform, heat collection box, tubes, and pump. Heat generated at the top of the chamber flows through tubes to the base, then is evenly exhausted. This transfers heat from the top to bottom, cycling the temperature throughout the chamber.
5. 3D Printer with Temperature-Controlled Chamber Utilizing Integrated Sensor and External Thermal Regulation System
KASHI FUCHE INFORMATION TECH CO LTD, KASHI FUCHE INFORMATION TECHNOLOGY CO LTD, 2023
3D printer designed to maintain consistent internal temperature for improved printing quality and reliability. The printer has a temperature sensor in the upper section that extends into the print chamber. The outer side of the upper section is connected to a temperature control component that has multiple air pipes, valves, fans, and filters. This component allows controlled cooling or heating of the outer section to match the internal temperature. Exhaust fans on the sides help with airflow. By regulating the outer temperature, it prevents external factors from affecting the print chamber temperature.
6. 3D Printer Constant Temperature Device with Sealed Insulated Enclosure, Integrated Heating Plates, and Heat Exchanger System
XUZHOU MINGSHUN BAICHENG TECH CO LTD, XUZHOU MINGSHUN BAICHENG TECHNOLOGY CO LTD, 2023
High-performance 3D printer constant temperature device to maintain optimal printing conditions by using a sealed insulated enclosure, internal heating plates, a heat exchanger, ventilation, and a cleaning mechanism. The device has a 3D printer inside an insulated box with fixed heating plates. An enclosed fixed box on top has a heat exchanger, ventilation fan, and cleaning mechanism. The heating plates increase temperature. When insulated box gets too hot, the fan removes heat. The heat exchanger transfers heat to external liquids. The cleaning mechanism cleans the heat exchanger. The enclosed box maintains pressure. The sealing cover moves up/down to open the vent.
7. Cavity Temperature Regulation System with Adaptive Heating Power Adjustment for 3D Printers
SHENZHEN TUOZHU TECH CO LTD, SHENZHEN TUOZHU TECHNOLOGY CO LTD, 2023
Optimizing cavity temperature control in 3D printers to prevent warping and improve print quality. The method involves sensing the actual cavity temperature and adjusting the heating component power limit based on safe temperature thresholds. This prevents excessive cavity temperatures that can damage the printer while maintaining sufficient temperature for good print quality. By monitoring the cavity temperature and adjusting the heating power limit, the cavity temperature can be precisely controlled.
8. 3D Printer Head with Multiple Filament Feeders and Integrated Heat Dissipation Mechanism
UNIV FOR SCIENCE & TECHNOLOGY ZHENGZHOU, UNIVERSITY FOR SCIENCE & TECHNOLOGY ZHENGZHOU, 2023
A 3D printer head with multiple filament feeders for printing with different materials simultaneously. The head has a movable frame with a first transmission mechanism inside. The middle part of this mechanism connects to a fixed frame. The fixed frame has a feeding mechanism inside, where the feeders for the different materials are located. This allows independent feeding of three different filaments. The head also has a heat dissipation mechanism, water-cooled heat sink, and a discharge head assembly at the bottom. This improves heat dissipation and ensures even heating for smooth feeding. The movable frame can move up and down with a second transmission mechanism and liftable printing base.
9. Build Plate Preheating System with Energy Beam Power Distribution Control in Additive Manufacturing
Siemens Aktiengesellschaft, 2023
Controlling the preheating of a build plate in additive manufacturing allows the production of high-quality parts with consistent properties. The preheating is carried out with an energy beam and involves controlling the power distribution over the build plate. This is done by measuring the temperature at the center and edges of the plate and adjusting the beam power to achieve a target temperature difference.
10. Additive Manufacturing Temperature Control System with Internal Parameter Detection and Dynamic Energy Source Adjustment
General Electric Company, 2023
Temperature control system for additive manufacturing to improve properties of printed parts. It involves fusing material with an energy source and then forging it. A detector measures an internal effect parameter at the forging location. A control module calculates the temperature at that location based on the parameter. If the temperature is outside a desired range, it adjusts the energy source and forging device to bring it into range.
11. Additive Manufacturing Build Plate with Thermally Decomposable Metal Alloy Insert
INDIUM CORPORATION, 2023
A thermally decomposable build plate for additive manufacturing that enables easy release of 3D printed metal parts without damaging the parts or build plate. The build plate is an open frame with a recessed section that is filled with a lower-temperature melting metal or alloy insert. After printing, the insert can be melted and drained to release the 3D printed part without mechanical cutting. The lower melting insert protects the build plate, allows separation without damage, and reuses the plate.
12. Additive Manufacturing Process for Polymeric Materials Using Variable Temperature Zones for Controlled Property Formation
Align Technology, Inc., 2023
Additive manufacturing of polymeric materials with controlled properties using variable 3D printer temperature zones. The process involves selectively heating or cooling regions of a resin during polymerization to control the properties of the printed object. This enables the formation of multi-region objects with distinct physical characteristics from a single resin formulation. The ability to 3D print polymers with tunable properties could have applications in areas like customized orthodontics, where dental aligners can be made with different regions having tailored flexibility or stiffness.
13. Method for Controlling Refrigerant Temperature in Additive Manufacturing Build Table Cooling System
Sodick Co., Ltd., 2023
A method to control the cooling of a build table in an additive manufacturing apparatus to cool the build table to a desired temperature in an efficient manner. The method involves heating the build table to a predetermined set temperature and then adjusting the supply refrigerant temperature based on the set temperature. The refrigerant is circulated between the refrigerant circulation device and a cooler that cools the build table. Adjusting the refrigerant temperature based on the set temperature allows the build table to be cooled efficiently and precisely to avoid excessive cooling time or overheating issues.
14. 3D Metal Printing Method with Sequential Near-Infrared Radiation Preheating and Post-Heating for Stress Reduction
Value & Intellectual Properties Management GMBH, 2023
3D metal printing method that uses sequential near-infrared (NIR) radiation heating to reduce stress and cracking when locally melting and fusing metal powder layers. The method involves preheating and post-heating specific areas of each powder layer using NIR radiation before and after selective melting to join layers. This allows localized control of temperatures to minimize thermal stresses.
15. Selective Laser Melting Process with Thermographic Data-Guided Laser Scanning
Concept Laser GmbH, 2023
Selective laser melting (SLM) 3D printing method that uses thermographic monitoring to optimize laser scanning. The method involves acquiring thermographic data from previous layers and then using that data to guide the laser scanning of the current layer to minimize temperature gradients and avoid overheating. This improves quality by reducing defects like cracking and burrs. The thermographic data can be acquired using a movable detector that scans the layer after irradiation.
16. Sealed Case Cooling Apparatus for LCD Panel in 3D Printer
SINDOH CO., LTD., 2023
An apparatus for cooling an LCD panel in a 3D printer to improve print quality. The cooling is achieved by installing a sealed case between the light source and LCD panel, with a cooling module that cools the air inside the case. This prevents the LCD panel from overheating and blackening during printing, which can degrade image quality.
17. Additively Manufactured Annular Heat Exchanger with Integrated Core and Axial Spar
Hamilton Sundstrand Corporation, 2023
A heat exchanger that leverages additive manufacturing (AM) to improve performance and manufacturability compared to conventional heat exchangers. The heat exchanger is built using layer-by-layer AM, such as powder bed fusion. The AM process allows complex geometries with internal passages that are difficult or impossible to produce with conventional manufacturing. The heat exchanger has an annular body with an integrated heat exchanger core. It also has an axially extending spar and connection region that expands and contracts with the core. This prevents stress and strain concentration that could lead to failure. The manufacturing process involves forming annular layers, then growing the body and core upwards from one end. This allows trapped powder to be removed from the other end.
18. 3D Metal Jetting System with Sub-Threshold Magnetohydrodynamic Coil Pulsing for Temperature Stabilization
XEROX CORPORATION, 2023
Metal jetting using a 3D printer to create a 3D part from liquid metal drops. It involves pulsing the printer's magnetohydrodynamic (MHD) pump coil at sub-threshold levels that provide supplemental induction heating to the pump without ejecting drops. This helps maintain consistent drop temperatures during warm-up, standby, and other non-printing modes.
19. Toolpath Generation with Heat Accumulation Mitigation for 3D Printing
Siemens Industry Software Inc., 2023
Heat-aware toolpath generation for 3D printing of physical objects. The toolpath is generated with criteria that optimize the path to minimize heat accumulation and deformation during the print. The toolpath design accounts for factors like the amount of heat generated in a zone, the proximity to previously printed zones, and the time between printing zones to strategically plan the order and placement of printed paths. This reduces heat-related deformations and improves the quality of printed objects.
20. 3D Printing Process with Adjustable Parameters for Polymer-Based Customized Medical Implants
Curiteva, Inc., 2023
3D printing process to create customized medical implants like spinal implants. The process uses a 3D printer with heated components to maintain the printing material at a specific temperature. The printer extrudes layers of a polymer material to build the implant. The ability to adjust printing parameters like temperature, speed, and porosity allows customizing implants for each patient.
21. Thermally Treated PAEK Powder with Stabilized Melting Temperature for Recyclability in 3D Printing
Arkema France, 2023
Recyclable PAEK powder for 3D printing with stable properties over multiple runs. It is obtained by thermally treating PAEK powder between 260-290C to stabilize the melting temperature. The powder can be reused in successive 3D printing runs without degradation. This allows economical recycling of unused powder.
22. 3D Printing Method for Fabricating Ablative Thermal Management Components via Sacrificial Binder Removal and Sintering
Rolls-Royce Corporation, 2023
A 3D printing method to produce thermal management components like heat shields that can ablate when exposed to high energy levels. The technique involves using filament deposition and selectively removing a sacrificial binder from the coating, then sintering the remaining powder to form the thermal coating. The coating is designed to ablate when absorbing energy to protect the underlying substrate from heat.
23. 3D Printing Technique with Thermal Breaks for Controlled Temperature Management in Selective Laser Sintering
Formlabs, Inc., 2023
3D printing technique using thermal breaks to prevent overheating and material degradation in selective laser sintering of powdered materials. The technique involves fabricating 3D objects in a chamber with breaks or regions of lower thermal conductivity. This allows heating the top surface of the powder to the sintering temperature while keeping the lower regions cooler to avoid damaging previously sintered material. The breaks can be created using materials with lower thermal conductivity or insulating layers.
24. 3D Printer Nozzle Cooling Structure with Adjustable Multi-Speed Fan Assembly and Separate Heating Mechanism
SHENZHEN ZHINENGPAI TECH CO LTD, SHENZHEN ZHINENGPAI TECHNOLOGY CO LTD, 2023
A 3D printer nozzle cooling structure that improves print quality and reduces noise compared to conventional designs. The structure has a shower head-style cooling assembly with multiple fan speeds. The fan speeds are adjusted based on ambient temperature to balance cooling effectiveness and noise levels. This avoids overcooling at low ambient temperatures that can cause noise and stability issues. The nozzle also has a separate heating assembly to maintain consistent printing temperatures.
25. Heating Device with Chamber-Integrated Filter Plate for Temperature Stabilization in 3D Printing
BEIJING SANWEI BOTE TECH CO LTD, BEIJING SANWEI BOTE TECHNOLOGY CO LTD, 2023
A heating device and 3D printer with improved temperature control for better material processing. The heating device has a chamber with a heating element and a filter plate covering the chamber opening. This allows precise heating and temperature maintenance inside the chamber. The filter prevents air exchange and helps retain heat, creating a more stable and controlled environment for 3D printing. This is especially useful for high-temperature materials like PEEK that require slow stress release after extrusion. The closed chamber prevents temperature fluctuations and helps prevent cracking and incomplete prints.
26. 3D Printer Print Head with Enclosed Cooling Structure and Integrated Air Duct System
ANHUI HUIZHENG ELECTRONIC TECH CO LTD, ANHUI HUIZHENG ELECTRONIC TECHNOLOGY CO LTD, 2023
3D printer with a cooling print head structure to prevent overheating and warping during printing. The cooling head has an enclosure around the nozzle with an internal fan to dissipate heat. The enclosure connects to an air duct to exhaust the heated air. This prevents heat from the hot nozzle transferring to the upper throat and motor. The fan cools the nozzle and printing area, especially during large cross sections. This prevents warping and shrinking transitions by allowing sufficient heat dissipation.
27. 3D Printer Nozzle with Integrated Humidifier for Rapid Filament Cooling
BIOFRIENDS INC., 2023
Nozzle device for 3D printers that allows rapid cooling of the molten filament output from the nozzle to enable direct printing of scaffolds on a patient's body without risk of burns or tissue damage. It adds a humidifier that sprays water vapor onto the molten filament. The water vapor rapidly cools the filament upon contact.
28. Additively Manufactured Microstructured Article with Differential Thermal Expansion Properties
Hamilton Sundstrand Corporation, 2023
Manufacturing by additive manufacturing a microstructured article with tailored expansion/contraction properties upon temperature change. The article has repeating microstructures with two portions that contact each other. The first portion has a property that can restrain or enhance the second portion's matching property. For example, metals with different thermal expansion coefficients. The tailored contact causes the article to expand, contract, or remain unchanged when heated. Applications include adjustable flow control valves, prosthetics, casts, and aircraft tabs.
29. Additive Manufacturing Method with Temperature-Based Liquid Agent Quantity Adjustment
Hewlett-Packard Development Company, L.P., 2023
A technique to improve additive manufacturing quality by monitoring temperatures during the print and adjusting the quantities of liquid agents like fusing and coloring agents. The process involves measuring temperatures in the object as it's printed and identifying regions that are too hot or cold. Then, when printing subsequent layers, adjusting the agent quantities at those locations to balance the temperatures. For example, reducing fusing agent for hot regions and increasing it for cold regions. This helps optimize the additive manufacturing process and improve object quality.
30. Toolpath Reordering System for 3D Printing Based on Heat Distribution Analysis
Siemens Industry Software Inc., 2023
Reordering the toolpath used by 3D printers to build parts in order to reduce the negative effects of localized heating during the printing process. By analyzing the expected heat generation at different points along the toolpath and reordering it to spread out those hot spots, the system can reduce warping and other issues that can occur when excessive heat is concentrated in a small area.
31. 3D Printer System with Heated Auger Screw for Powder Delivery
HEWLETT-PACKARD DEVELOPMENT COMPANY, L.P., 2023
An improved 3D printer system that uses a heated auger screw to deliver powder material to the build platform. The auger screw is heated to pre-heat the powder as it is moved from the storage unit to the build platform. This improves the performance of the 3D printer by allowing the powder to be pre-heated before printing, preventing cooling and solidification issues that can occur when cold powder is exposed to the high temperature energy source that fuses the printed layers.
32. Temperature-Controlled Resin Interface in Additive Manufacturing with Independent Heating Zones
Stratasys, Inc., 2023
Controlling temperature at the resin interface in an additive manufacturing process to improve 3D printing quality and avoid issues like warping and delamination. The process involves independently heating the bulk resin, build chamber, and resin-interface layer to specific target temperatures. This allows selective curing of layers without disrupting the bulk resin temperature or build chamber environment.
33. 3D Printable Resin Compositions with Isocyanurate Polyacrylate and Curable Monomer for Enhanced Heat Resistance
3D SYSTEMS, INC., 2023
3D printable liquid resin compositions for high performance 3D printing with good heat resistance. The resin compositions contain high levels of isocyanurate polyacrylate for high heat deflection temperatures. It also includes a curable monomer to prevent crystallization during storage. The composition is cured using light to form 3D printed objects with high heat resistance.
34. Selective Laser Sintering Process with Controlled Thermal Energy Source and Full-Area Binder Coating
Jan Franck, 2023
A more energy efficient and precise selective laser sintering process for 3D printing powdered materials such as metals. The process uses a controllable thermal energy source like a laser to selectively fuse adjacent powder particles together without fully melting them. A full-area binder is used to coat the powder layer first. Then the energy source is controlled to cure the binder only in targeted regions, fusing the adjacent powder particles together into a solid layer. By selectively fusing rather than fully melting the powder, lower energy input is needed compared to traditional laser sintering.
35. 3D Printing Thermal Management via Reduced-Order Model and Kalman Filtering
Ohio State Innovation Foundation, 2023
Estimating and controlling the internal temperature distribution during 3D printing using a reduced-order thermal model and Kalman filter. The technique uses a simplified thermal model of the printed part and applies a Kalman filtering algorithm to estimate the internal temperatures from surface temperature measurements.
36. Plate-Fin Heat Exchanger with Metallurgically Joined Multi-Layer Flexible Manifold
Hamilton Sundstrand Corporation, 2023
A plate-fin heat exchanger with a flexible manifold design that reduces thermal stress and extends the life of the heat exchanger. The heat exchanger core has a number of individual layers. The flexible manifold also has a number of layers that are metallurgically joined to the core layers. The layers of the manifold are compliant to reduce thermal stress. The flexible manifold reduces thermal stress by allowing thermal expansion of the heat exchanger core. The flexible manifold also allows the heat exchanger core to thermally expand and contract without cracking. This improves the thermal robustness of the heat exchanger. The flexible manifold can be made by additive manufacturing to enable complex geometries.
37. 3D Metal Printer with Thermally Insulated Heated Housing and Platform Translation Protection
Xerox Corporation, 2023
3D metal printer with thermal insulation to ensure optimal temperatures for metal drop bonding without adversely impacting the life of the build platform XY translation mechanism. The printer includes a heated housing enclosing the translation mechanism and platform. Thermally insulative members are positioned between the platform and the housing floor. This protects the translation mechanism from the high build temperatures.
38. Calibration Method for Temperature Sensors Using Onset of Fusion in 3D Printer Build Bed
Stratasys Powder Production Ltd., 2023
A calibration method for temperature sensors in 3D printers that forms a set point for the onset of fusion of the particulate material. It involves selectively heating a reference area of the build bed surface while measuring temperature or optical properties until onset of fusion, then using that onset value as the temperature set point for subsequent prints.
39. Layered Fabrication of Metal Powder Heat Pipes via Fused Filament Deposition and Sintering
Rolls-Royce Corporation, Rolls-Royce North American Technologies, Inc., 2023
Additively manufacturing high performance heat pipes using fused filament fabrication (FFF) 3D printing. A filament containing a metal powder and sacrificial binder is deposited layer-by-layer to form a heat pipe preform. The preform is then sintered to remove the binder and consolidate the metal powder into a solid heat pipe with an outer shell, wicking region, and vapor transport region.
40. 3D Printing Head Cooling Mechanism with Fixed Ring Arc Plates, Rotating Fan, and Integrated Heat Sink
GUANGZHOU RUITONG ADDITIVE TECH CO LTD, GUANGZHOU RUITONG ADDITIVE TECHNOLOGY CO LTD, 2023
Cooling mechanism for 3D printing heads that allows timely cooling and heat dissipation to prevent overheating and damage to other components. The cooling mechanism consists of a fixed ring with arc-shaped plates, a heat sink between the rings, a fan mounted on a rotating shaft driven by motors, and a temperature sensor connected to a control panel. The fan blades rotate when the temperature sensor detects a threshold, pulling air through the rings and heat sink to cool the 3D printing head. The arc-shaped fixed plates guide heat to the sink, and the heat sink dissipates it to the air. The design enables quick and efficient cooling compared to screwed-in devices.
41. 3D Printing Nozzle with Semiconductor-Controlled Temperature Regulation and Water-Cooled Housing
NINGBO UNIV, NINGBO UNIVERSITY, 2023
Adjustable constant temperature 3D printing nozzle that allows precise temperature control for printing with different materials without wasting energy or having uneven heat dissipation. The nozzle has a cooling pipe wrapped with a semiconductor cooling sheet. A thermal sensor detects the temperature of the cooling pipe and sheet. A water-cooled housing surrounds the sheet to dissipate heat. A controller regulates the semiconductor chip to heat or cool the pipe. The sheet transfers heat to the ink in the nozzle. The temperature sensor and controller maintain a constant difference between the sheet and pipe to control nozzle temperature.
42. 3D Printer Cooling Module with Infrared Temperature Sensors and Targeted Airflow System
QINGDAO SANYI 3D TECH CO LTD, QINGDAO SANYI 3D TECHNOLOGY CO LTD, 2023
3D printer entity cooling module that can measure the temperature of each part of a printed object and perform targeted cooling for easily deformable areas. The module attaches to the printer bed and has ventilation holes with covers and air nozzles on the wings. An infrared temperature sensor is mounted on each wing. A fan, refrigeration mechanism, and controller are connected to provide targeted cooling to specific areas based on the temperature readings. This prevents warping and deformation during printing by cooling the vulnerable areas.
43. 3D Printing System with Height-Responsive Thermal Control Using Gas Curtains and Heat Plates
XEROX CORP, 2023
3D printing method and system to maintain consistent temperature of printed parts as they grow taller to prevent cooling and warping issues. The method involves using thermal control devices like gas curtains, heat plates, and build plate heaters to surround and heat the part during printing. This prevents the top surface temperature from dropping more than 5°C as the height increases. This keeps the part temperature within a predetermined range as it grows to avoid warping.
44. 3D Printer Print Head with Heat Dissipation Shell Incorporating Airflow Management Features
UNIV ZHENGZHOU, ZHENGZHOU UNIVERSITY, 2022
3D printer print head structure with improved temperature control for preventing overheating and component damage. The print head has an outer heat dissipation shell around the main print head body. The shell has air intake and outlet windows, a fan, fins, and vent holes to actively cool the main print head. This provides a dedicated and efficient heat dissipation mechanism to prevent the high temperature print head from damaging nearby components.
45. 3D Printer Head with Internal Airflow System and Heat Exchange Plate for Temperature Dissipation
GUANGXI ZUANYIN TECH DEVELOPMENT CO LTD, GUANGXI ZUANYIN TECHNOLOGY DEVELOPMENT CO LTD, 2022
3D printer head with improved temperature dissipation for high temperature materials. It uses an internal airflow system to efficiently cool the print head. The head has a casing around the nozzle with a heating assembly inside. The heating assembly has multiple heating units with a heat exchange plate. An air blowing component forces air into the head through an air guide pipe connected to one end of the heat exchange pipe. The other end of the heat exchange pipe connects to a heat dissipation component. This internal airflow system pushes air through the heating assembly and out the dissipation component to cool the head. The fins and holes on the dissipation component further aid cooling.
46. 3D Printer Head with Forced Convection System for Localized Thermal Management
Essentium, Inc., 2022
Forced convection thermal management system for 3D printers that allows localized control of the thermal history of printed components to improve properties like strength and crystallinity. The system uses an air supply and duct with a heating element that forces fluid through a nozzle to impinge on the extruded filament. This alters the temperature of the printed layer before the next one is deposited. The fluid duct and nozzle are mounted on the printer head. This allows targeted temperature control compared to just ambient cooling. The duct can also have a temperature sensor for feedback control.
47. 3D Printer Temperature Control Assembly with Semiconductor Control Sheet and Dual Heat Dissipation Sheets
SUZHOU NUOPU REGENERATIVE MEDICINE CO LTD, 2022
A temperature control device for 3D printing that enables simultaneous cooling and heating of the print bed. The device has a semiconductor temperature control sheet sandwiched between two heat dissipation sheets. One heat dissipation sheet is attached to the control sheet and the other is attached to a heat dissipation block. They are all assembled onto a core inside a grooved silo frame. This allows both cooling and heating of the print bed by using the semiconductor control sheet for active temperature regulation and the heat dissipation sheets and block for passive thermal management.
48. 3D Printing Head with Dual-Duct Intelligent Cooling Mechanism and Temperature-Responsive Control System
WUHAN BITONG BIOTECHNOLOGY CO LTD, 2022
3D printing head with intelligent cooling mechanism that can adjust airflow based on print head temperature. The cooling device has two fans, one with an external duct and one with an internal duct, both facing the print head. A board with temperature sensor detects the print head heat and controls the fan output to avoid overcooling or insufficient cooling. The board also allows remote printing and control via IoT protocols.
49. 3D Printer Print Head with Adjacent Temperature Control Element for Post-Deposition Adjustment
KUMOVIS GMBH, 2022
Print head for 3D printers with a temperature control element adjacent to it. This allows direct temperature control of the printed material immediately after deposition. A cooling element can influence the printed strands, and a warming element can adjust the component temperature for better quality and accuracy. This targeted temperature control after printing helps improve mechanical properties, reduce distortion, and enable finer structures.
50. Heat Dissipation Control Circuit with Load-Dependent Fan Speed Adjustment for 3D Printers
SHENZHEN SHENWEI CUBE SCIENCE AND TECH LIMITED CO, SHENZHEN SHENWEI CUBE SCIENCE AND TECHNOLOGY LIMITED CO, 2022
Heat dissipation control circuit for 3D printers that adjusts fan speeds based on load temperatures to improve cooling efficiency and reduce power consumption. The circuit has a temperature sensor to monitor load temps, a controller to determine optimal fan speeds based on the sensors, and a driver to control the fan motor. This allows dynamically adjusting fan speeds based on actual load temps instead of fixed max speeds.
A wide range of solutions to thermal challenges are covered by the patents displayed here, including creative build plates that make part removal easier, temperature control systems that adjust, and preheating techniques that guarantee consistent quality. With increased accuracy and suitability for complex applications, these advancements will allow 3D printing to produce products with a wider variety of attributes
Get Full Report
Access our comprehensive collection of 146 documents related to this technology
