Nozzle Clog Prevention in 3D Printers
In additive manufacturing, nozzle clogging remains a persistent challenge that affects print quality and machine reliability. Material buildup and thermal degradation within nozzles can create blockages as small as 100 microns, leading to inconsistent extrusion, print failures, and extended machine downtime that impacts manufacturing efficiency.
The fundamental challenge lies in maintaining consistent material flow through microscale orifices while managing the complex thermal and rheological behaviors of printing materials.
This page brings together solutions from recent research—including real-time pressure monitoring systems, integrated self-cleaning mechanisms, automated purge routines, and predictive maintenance approaches. These and other approaches focus on preventing and detecting clogs before they compromise print quality or require manual intervention.
1. 3D Printing Nozzle Cleaning Device with Variable Viscosity Fluid Delivery System
BEIJING DALUO TECH CO LTD, BEIJING DALUO TECHNOLOGY CO LTD, WEIFANG UNIV OF SCIENCE & TECHNOLOGY, 2024
A device for cleaning small diameter 3D printing nozzles without damaging the inner wall. The device uses a connected pipe that can be inserted into the nozzle and filled with fluids of different viscosities. A pump pushes the fluids through the connected pipe into the nozzle. A low viscosity fluid is used to wash away molten material. A high viscosity fluid is used to polish the inner wall. A heating device warms the fluid in the connected pipe to prevent solidification. This allows thorough cleaning of small diameter nozzles without damage or alignment issues.
2. 3D Printer Nozzle with Conical Head and Electromagnetic Material Reversal System
ANHUI VIBOO PRINT TECH CO LTD, ANHUI VIBOO PRINT TECHNOLOGY CO LTD, 2024
Anti-blocking printing nozzle for 3D printers that prevents material clogging and extends printer life. The nozzle has a conical head with an annular heating groove and an electric heating wire inside. Above the groove is a closing plate. When printing stops, an electromagnet closes the head, pushing material back. A slide plate seals the threaded ring. A barrel collects reversed material. The heating wire prevents condensing. This system prevents material buildup, clogging, and damage when printing stops.
3. 3D Printer Nozzle with Internal Heating Element and Snap-Fit Connection
HUNAN JIGE JIANGREN TECH DEVELOPMENT CO LTD, HUNAN JIGE JIANGREN TECHNOLOGY DEVELOPMENT CO LTD, 2024
3D printer nozzle with anti-clogging feature to prevent print head clogging during idle periods. The nozzle has an internal heating element and heat conduction tube that can be activated when printing stops. This keeps the piping inside the nozzle body heated to prevent solidification of melted material. A snap-fit connection between the print head and body allows easy installation/removal. Protective covers over the nozzle opening prevent dust ingress.
4. 3D Printing Nozzle with Shape Memory Alloy-Driven Internal Anti-Clogging Rod
Nanjing Chengde New Material Co., Ltd., 2024
3D printing nozzle design with an internal anti-clogging mechanism that removes residues from the extrusion hole after printing to prevent blockages. The nozzle has a heating block with multiple heating elements, a nozzle, and a base. The heating block has a driven element made of shape memory alloy. When heated, the driven element contracts, pulling back an anti-clogging rod inside the nozzle. This removes any remaining molten filament in the extrusion hole. When the temperature drops, the driven element expands again, pushing the rod back into the hole. This prevents clogs by scraping out residue.
5. 3D Printing Nozzle Module with Integrated Viscosity and Temperature Monitoring System
ZHUHAI PRINT RITE ADDITIVE CO LTD, ZHUHAI PRINT-RITE ADDITIVE CO LTD, 2024
A 3D printing nozzle module with real-time monitoring of viscosity and temperature of the printing material inside the nozzle to prevent clogging and extrusion issues. The module has a stirring unit with a rotating frame inside the nozzle body, a heating unit with a wire to heat the material, and a monitoring unit with sensors to detect viscosity and temperature. This allows controlling the printing parameters and alerting if limits are exceeded.
6. 3D Printing Nozzle with Rotating Cleaning Component and Adjustable Material Flow Channel
DANYANG GUOMEI AUTO ACCESS CO LTD, DANYANG GUOMEI AUTO ACCESSORY CO LTD, 2024
An anti-clogging and quick-clearing nozzle for 3D printing that reduces blockages and simplifies cleaning compared to conventional nozzles. The nozzle has a rotating cleaning component that can move the nozzle position to switch between clogged and unclogged nozzles. This allows clearing a clogged nozzle by swapping it with an unclogged one without disassembly. The cleaning component also adjusts the material flow channel to redirect output from clogged nozzles. This prevents complete blockages and enables quick clearing. The component rotates using a motor and gear system.
7. 3D Printing Module with Integrated Anti-Clogging Mechanism, Environmental Sensors, and Automated Bed Leveling
South China University of Technology, SOUTH CHINA UNIVERSITY OF TECHNOLOGY, 2023
Integrated 3D printing module with features like anti-clogging, environment control, and automated leveling to address common issues with FDM 3D printers. The module has a printing body with a nozzle inside, and an anti-clogging device inside the body. This device has sections for prevention, detection, and cleaning of nozzle blockages. It also has sensors to monitor temperature, humidity, and air quality inside the printer, along with systems to adjust temperature, humidity, and airflow. The module can also level the print bed automatically and display print information.
8. Three-Dimensional Shaping Device with Relocatable Nozzle Cleaning Mechanism
SEIKO EPSON CORPORATION, 2023
A three-dimensional shaping device that enables efficient cleaning of nozzles without significantly moving the dispensing unit. The device has a dispensing unit, cleaning mechanism, stage, moving unit, and control unit. The cleaning mechanism includes a cleaning unit with a nozzle purge and brush and a recovery unit. The moving unit moves the cleaning unit to clean the nozzle. This allows short access for cleaning by moving only the cleaning unit relative to the stage versus the entire dispensing unit.
9. 3D Metal Object Printer with Integrated Movable Orifice Cleaning Tool
Xerox Corporation, 2023
A 3D metal object printer that can maintain clean nozzles and orifices during printing to prevent drop defects and satellite drops. The printer uses an orifice cleaning tool that can be moved across the orifice and nozzle surface to remove any adhered metal drops. This allows cleaning without needing to shut down and disassemble the printer.
10. 3D Printer Nozzle with Bristled Wiper Bar and Integrated Heating Elements for Clog Prevention
SUZHOU HEIHUANG AUTOMATION TECH CO LTD, SUZHOU HEIHUANG AUTOMATION TECHNOLOGY CO LTD, 2023
Anti-clogging 3D printer nozzle that prevents material buildup and reduces blockages during extrusion. The nozzle has a wiping mechanism that scrubs the inner walls as the extruder moves. The wiping component is a bristled wiper bar mounted on the mixing rod. This bar scrapes the walls during retracts to remove excess material. The nozzle also has a discharge guide mechanism with heating elements to melt and clear any clogs. The nozzle body has a bottom discharge assembly with a converging nozzle and secondary heating. The nozzle body connects to the top cover via a shaft with a servo motor to drive the mixing rod. The nozzle also has positioning components and reinforcing ribs.
11. Nozzle with Self-Cleaning Feature and Separate Powder-Coolant Flow Paths for Inner Tube Additive Manufacturing
NANJING UNIVERSITY OF AERONAUTICS AND ASTRONAUTICS, 2023
A nozzle for 3D printing or laser cladding the inner walls of tubes. The nozzle has a self-cleaning function to prevent powder accumulation and maintain quality during inner tube additive manufacturing. The nozzle has separate powder and coolant flow paths, with a partition wall between them. It also has a filter outside the nozzle to collect unused powder.
12. 3D Printer with Showerhead-Style Nozzle for Clog Prevention and Self-Cleaning Mechanism
ZHAO ZHIQUAN, 2023
An intelligent 3D printer with optimized nozzle design to improve print quality and reduce waste. The printer has a showerhead-style nozzle that can prevent clogs, reduce dust, and improve adhesion compared to traditional nozzles. The showerhead design allows material to be dispersed in a wider pattern, reducing the chance of clogs and enabling thinner layers. It also has a self-cleaning feature that removes excess material after printing. The showerhead shape allows for easier material removal compared to a traditional nozzle tip. Additionally, the wider material spread reduces material accumulation on the nozzle during printing.
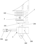
13. 3D Printer Nozzle with Temperature-Controlled Anti-Clogging Extrusion Mechanism
ZHANG TIANCHENG, 2023
3D printer nozzle anti-clogging mechanism that uses temperature sensors to control extrusion steps and prevent material buildup. The mechanism has an internal feed pipe, feeding clip, and wire feed wheel. The nozzle has a heating block, elastic strip, and guide plate with threaded holes. A threaded rod screws through the holes to connect the parts. The nozzle also has a small diameter threaded hole for the feed pipe. A temperature sensor is mounted on the main board. The feed pipe is inserted into the nozzle and material is pushed into the nozzle until it can't go further. This allows material to be passed through the clogged nozzle by feeding it from the bottom. The temperature sensor detects when the material has reached the nozzle and triggers the extruder to stop. This prevents over-extrusion and further clogging.
14. 3D Printer Nozzle with Internal Heating and Heat-Conducting Layers
SUZHOU LEIYUE ELECTROMECHANICAL CO LTD, 2023
Anti-blocking nozzle for 3D printers that uses internal heating to prevent material from solidifying and clogging the nozzle. The nozzle has a main body, feed pipe, and discharge head. Inside the main body, there is a material delivery chamber with a heating wire layer wrapped around it. When the printer is in use, an external power supply is connected to the heating wire to heat the chamber. This heats the material inside the chamber to prevent it from solidifying and clogging the nozzle. The chamber also has a heat-conducting layer that transfers heat to the feed pipe and discharge head to further prevent material from solidifying there. An insulating layer outside the heating wire prevents overheating and scalding the printer operator.
15. 3D Printer Nozzle with Symmetric Feeding Pipe and Integrated Anti-Clogging Mechanism
SHANDONG MAIHE ADDITIVE MANUFACTURING CO LTD, SHANDONG MAIHE ADDITIVE MFG CO LTD, 2023
Anti-clogging 3D printer nozzle with a feeding pipe below the mounting plate that has symmetrically distributed feeding holes. The feeding pipe has an anti-clogging mechanism with a base plate, drive shaft, stirring pieces, and a fixed block. A heating wire inside the pipe increases temperature to prevent solidification. The drive shaft rotates stirring pieces to mix material. Scrapers on the shaft remove material buildup. This prevents blockages by stirring, heating, and scraping the feeding pipe contents.
16. Binder Jet 3D Printer Nozzle Maintenance Device with Parallel Flushing Channels
WUHAN EASYMADE TECH CO LTD, WUHAN EASYMADE TECHNOLOGY CO LTD, 2022
A device to maintain and clean the nozzle of a binder jet 3D printer without clogging. The device has a body with a water pump, inlet, and outlet pipes. Parallel branches connect the outlet to both a flushing ink channel and a flushing nozzle hole channel. This allows flushing ink to be pumped through the nozzle and outlet pipes simultaneously, simultaneously cleaning the nozzle holes without excess pressure. The device provides a simple and effective method to maintain the nozzle of a binder jet 3D printer without the complex setup and multiple pipelines required in prior art methods.
17. Integrated Mixer-Conveyor-Nozzle Assembly for Rigid Material Extrusion in 3D Printing
Hisys Co., Ltd., Black Buffalo 3D Corporation, 2022
An integrated mixer, conveyor, and nozzle device for use in 3D printers to construct buildings. The device mixes the material, conveys it, and then directly extrudes it from the nozzle without any flexible hoses in between that could cause clogs. The key components are connected together in a single rigid unit.
18. 3D Printer Nozzle Assembly with Retractable Blocking Mechanism and Removable Design
Central South University, CENTRAL SOUTH UNIVERSITY, 2022
A 3D printer with a unique nozzle design that allows easy cleaning and prevents material buildup. The printer has a removable nozzle assembly that can be taken out and cleaned without disassembling the entire printer. The nozzle assembly has a retractable blocking mechanism that can be lowered to prevent excess material from solidifying in the nozzle. The blocking mechanism can be raised to clear the nozzle before printing. This prevents clogs and simplifies nozzle maintenance.
19. 3D Printer Nozzle with Rotating Multi-Material Guide and Dual-Port Configuration
Sichuan University, SICHUAN UNIVERSITY, 2022
Washable multi-material 3D printer nozzle that allows cleaning of the material guide tube without disassembly, improving printing efficiency and preventing blockages and material mixing. The nozzle has a rotating assembly inside the nozzle casing that drives the material guide pipe and heating device to rotate between printing and cleaning positions. A discharge port for printing and a separate cleaning port for flushing are positioned differently. This lets swapping materials and cleaning simultaneous by rotating the assembly.
20. 3D Printer Printhead with Integrated Light-Based Nozzle Malfunction Detection System
HEWLETT-PACKARD DEVELOPMENT COMPANY, L.P., 2022
System for detecting malfunctioning nozzles in a 3D printer printhead during printing. The system uses light sources and detectors mounted on the printhead housing to detect droplets as they are fired from the nozzles. This enables real-time detection of malfunctioning nozzles during printing and allows immediate mitigation by stopping printing or redirecting other nozzles to compensate.
21. 3D Printer Nozzle with Replaceable Constrained Throat and Positioning Member for Alignment
SHENZHEN FAST BUILDING SCIENCE AND TECH LIMITED CO, SHENZHEN FAST-BUILDING SCIENCE AND TECHNOLOGY LIMITED CO, 2022
3D printer nozzle design with a constrained throat that prevents clogging without requiring full nozzle replacement. The throat has a positioning member with a plane that mates with the orifice of the nozzle mounting hole. This restricts rotation and prevents misalignment during installation. If the throat gets clogged, the nozzle can be removed without disturbing the rest of the hot end components. The throat can then be replaced separately, avoiding the cost and complexity of swapping the entire nozzle assembly.
22. Fused Deposition Modeling Nozzle with Dual Heating Devices and Integrated Temperature Monitoring System
XIAN JIMETEE 3D TECH CO LTD, XIAN JIMETEE 3D TECHNOLOGY CO LTD, 2022
FDM 3D printer nozzle with dual heating devices to prevent clogging at high speeds. The nozzle has a housing with a feeding device inside. The housing connects to a spray head with a heating rod. Additionally, one side of the housing connects to a laser heating device. The other side has an infrared temperature sensor. The laser and sensor provide real-time heating and monitoring to keep the nozzle above melting temperature during rapid printing. This prevents filament from solidifying and clogging the nozzle.
23. 3D Printer Nozzle Cleaning System with Motor-Driven Retractable Brush Assembly
SUZHOU HUITONG HUICHUANG TECH CO LTD, SUZHOU HUITONG HUICHUANG TECHNOLOGY CO LTD, 2021
A 3D printer nozzle cleaning system that automatically cleans the nozzle after printing to prevent material buildup and scratching. The cleaning mechanism uses a motor, gears, and threaded rods to drive a brush to contact and scrub the nozzle surface. The brush is mounted on a sliding block that retracts when not in use. This allows the brush to extend and clean the nozzle after printing without manual intervention. The sliding block and brush assembly are contained in a protective frame that can slide out when not in use to avoid interference.
24. 3D Printing Device with Detachable Heated Metal Block and Automated Hydraulic Needle Nozzle Cleaning System
NANJING VOCATIONAL UNIV OF INDUSTRY TECHNOLOGY, NANJING VOCATIONAL UNIVERSITY OF INDUSTRY TECHNOLOGY, 2021
3D printing device with a self-cleaning nozzle to prevent material buildup and improve print quality. The device has a detachable metal block at the nozzle tip that can be heated. A cleaning needle is clamped and moved by the printer's mechanics to push out any clogs from the nozzle. This allows automated nozzle cleaning without user intervention. The cleaning mechanism uses hydraulic cylinders to move the needle.
25. 3D Printer Nozzle with Pressure and Flow Rate Monitoring for Clog Detection
BOND HIGH PERFORMANCE 3D TECHNOLOGY B.V., 2021
Ensuring that nozzles of 3D printers do not clog during use. The printer measures the pressure and flow rate of material inside and outside the nozzle. If these values go out of range, indicative of clogging or wear, the printer signals the need for nozzle maintenance or replacement.
26. Dual-Nozzle 3D Printer with Independent Dual-Rail Motion and Thermal Isolation System
GUILIN UNIVERSITY OF AEROSPACE TECHNOLOGY, UNIV GUILIN AEROSPACE TECHNOLOGY, 2021
Dual-nozzle 3D printer that allows simultaneous printing of low-temperature and high-temperature filaments without clogging. The printer uses a dual-rail motion system to independently move the nozzles horizontally. This isolates the nozzles thermally to prevent heat transfer between them. The nozzles also have insulation and separate air supply. The printer uses techniques like retraction, preliminary printing, and purge blows to prevent filament sticking and clogging.
27. 3D Printer Nozzle with Detachable Body and Enhanced Cooling Configuration
MA YIDAN, 2021
A 3D printer nozzle design that allows easy cleaning and improved cooling compared to traditional printer nozzles. The nozzle has a detachable body that can be removed from the bottom of the nozzle connector pipe. This separable design allows for easier access to clean out any remaining material in the nozzle after printing. The connector pipe can then be reattached to the printer. Additionally, the separable design eliminates the need for internal fans in the nozzle body, which can improve print stability and accuracy by reducing vibrations and material disturbance.
28. 3D Printer Nozzle System with Automatic Fluid Flushing upon Printhead Stoppage Detection
HEWLETT-PACKARD DEVELOPMENT COMPANY, L.P., 2021
Preventing clogging of 3D printer nozzles when the printhead inadvertently stops in the build area. If the printhead is detected as stopped in the build area, the printer will flush fluid through the nozzles to cool the printhead and prevent drying/clogging. This avoids issues like clogging or boiling of fluid in the nozzles if the printhead remains stationary in the hot build area.
29. 3D Printer Nozzle with Dual Heating Coils and Integrated Temperature Control System
ZHUZHOU LIHUA CEMENTED CARBIDE CO LTD, 2021
3D printer nozzle with temperature control to prevent clogging and deformation. The nozzle has heating coils inside and outside the nozzle body. The inner coils heat the material to melting point. The outer coil keeps heating after the inner coils stop to prevent solidification. A temperature sensor measures the cavity temperature. A controller adjusts the inner coils based on the sensor. This ensures consistent material temperature without overheating or cold spots.
30. Dual-Nozzle 3D Printing System with Thermal Insulation and Material Purge Mechanism
GUILIN UNIVERSITY OF AEROSPACE TECHNOLOGY, UNIV GUILIN AEROSPACE TECHNOLOGY, 2021
A double-nozzle 3D printing system that allows simultaneous printing of high-temperature and low-temperature materials without blocking the nozzles. The system has separate nozzles for each material that are insulated from each other to prevent heat transfer. The printing process involves using an exhaust fan and heat insulation to prevent high-temperature material from radiating heat to the low-temperature material. This prevents degradation and carbonization of the low-temperature material. Additionally, compressed air is used to blow out leftover material after printing and before starting a new layer. This prevents buildup and blocking. The nozzles also print a pattern before each layer to discharge any partially melted material. The rough inner surfaces of the nozzles promote adhesion of different materials.
31. Printing Nozzle with Integrated Temperature Regulation System for Nanoparticle Ink Flow
BOE TECHNOLOGY GROUP CO LTD, 2021
Printing nozzle design with temperature control to prevent clogging of nanoparticle inks. The nozzle has a heating device to raise the temperature of the nozzle when it's below a certain value. This improves ink solubility and reduces nanoparticle accumulation. If the nozzle temperature exceeds a second threshold, a cooling device is activated to prevent overheating. This cyclical temperature regulation helps keep the nozzle clean and prevents clogging during printing with nanoparticle inks.
32. 3D Printer Nozzle with Self-Cleaning Mechanism Using Convex Ring and Groove Seal System
NANJING DAGE 3D TECH CO LTD, NANJING DAGE 3D TECHNOLOGY CO LTD, 2021
3D printer nozzle that automatically cleans itself to prevent clogging. The nozzle has an air inlet with a dust filter and a convex ring that connects to a groove on the dust filter. This creates a seal around the filter when pressed together. An air outlet has a baffle. When air is blown into the nozzle by a fan, it exits through the baffle and pushes against the convex ring, forcing it to disconnect from the groove. This opens the air inlet and allows debris to be blown out. The convex ring seals the inlet again when it reconnects to the groove.
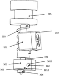
33. 3D Printer Nozzle with Integrated Automated Clog-Clearing Mechanism
TIANJIN BEIDONG STATIONERY CO LTD, 2020
Emergency relief device for clogged 3D printing nozzles to clear blocked print heads without operator intervention. The device has a complex mechanism inside the print nozzle. It includes slides, gears, springs, motors, and rods that can move and rotate to dredge out clogs. The mechanism has sensors to detect nozzle blockage and activates the dredging process. It also has induction stirring and guide features to further aid clearance. The dredging device allows the 3D printer to continue printing without manual intervention when clogs occur.
34. 3D Printer Nozzle Protection System with Integrated Heating, Material Pushing, and Automated Dredging Mechanisms
NANCHANG INST TECH, NANCHANG INSTITUTE OF TECHNOLOGY, 2020
Protective device for the nozzle of a 3D printer that can print high-temperature metal materials. The device has features to prevent clogging, unblock the nozzle, and maintain performance. It includes a heating device, material pushing device, nozzle, and dredging device. The heating device and pushing device are electrically connected. The nozzle connects to both. The dredging device cleans the nozzle. A material sensor detects nozzle conditions. A controller activates the dredging device based on sensor data. This automated clog prevention and removal improves reliability for printing high-temperature metals.
35. 3D Printer Nozzle with Heat-Insulating Ceramic Components for High-Temperature Plastic Extrusion
KUNSHAN PORIMY 3D PRINTING TECH CO LTD, KUNSHAN PORIMY 3D PRINTING TECHNOLOGY CO LTD, SHANGHAI FOCHIF MECHATRONICS TECH CO LTD, 2020
High-temperature 3D printer nozzle design that allows printing of high-temperature plastics like PEEK without issues like clogging and softening of the filament. The nozzle has components like feeding, extrusion, and heating sections that are made of heat-insulating ceramics to prevent heat transfer between sections. This prevents filament softening at the feed and extrusion sections, and motor overheating. The feeding section uses a ceramic guide to prevent filament softening at the inlet. The extrusion section uses a ceramic backing plate to isolate the feed section. The heating section uses ceramic components to isolate the heating rod. This allows high temperatures in the heating section without impacting other sections.
36. 3D Printer Nozzle Protection Device with Removable Cap, Anti-Blocking Needle, and Cleaning Fluid Sponge
SICHUAN KUANGTENG NANO TECH CO LTD, SICHUAN KUANGTENG NANO TECHNOLOGY CO LTD, 2020
Preventing clogging of the nozzle flow path in 3D printers to improve print quality and reduce downtime. The solution involves adding a protective device with a removable cap, an anti-blocking needle, and a sponge. The needle can be inserted into the fine discharge hole to prevent material from melting and blocking far from the heating block. The sponge contains cleaning fluid to easily clean the nozzle exterior. The device is simple, convenient, and improves print reliability by preventing clogs and making maintenance easier.
37. 3D Printer Nozzle Device with Purification and Anti-Flow Mechanisms Incorporating Motor-Driven Sliding and Rotating Components
ZHENGZHOU INST FINANCE & ECONOMICS, ZHENGZHOU INSTITUTE OF FINANCE AND ECONOMICS, 2020
Anti-flow material device for 3D printer nozzles to prevent material sticking and clogging during printing. The device has two mechanisms, a purification mechanism and an anti-flow mechanism, installed on the nozzle's heating block. The purification mechanism wipes the block surface to remove excess material. The anti-flow mechanism has a rotating cover that scrapes the block when the material starts flowing. This removes material before it fully solidifies and prevents adhesion. The mechanisms have sliding and rotating components driven by motors to enable motion.
38. Automated 3D Printing Nozzle Cleaning Device with Heating Plates, Sliding Cavities, Winding Mechanism, and Liquid Injection System
ZHANG LINRONG, 2020
An automated device for cleaning 3D printing nozzles without manual intervention to prevent injury and reduce cost. The device has a box with heating plates, sliding cavities, a winding mechanism, and a liquid injection mechanism. The printing nozzle is attached to a plate that slides up into the box. The cavities contain evaporating liquid that vaporizes as the nozzle heats. This creates negative pressure that sucks the cleaning liquid into the tank. The winding mechanism lifts the plate and nozzle into the tank. The nozzle is cleaned by the liquid and then lowered back in. The device automates the cleaning process without manual intervention in the hot, hazardous environment.
39. 3D Printer Nozzle with Elbow Channel and Integrated Air Cooling and Material Recycling System
NINGBO UNIV OF FINANCE & ECONOMICS, NINGBO UNIVERSITY OF FINANCE & ECONOMICS, 2020
A 3D printer nozzle design that improves printing quality by maintaining optimal temperature and recycling residual material. The nozzle has a gradual narrowing shape with an elbow channel connecting to a straight pipe. An external air pipe connects to a vent port on the nozzle. An air pump forces high-pressure air into the nozzle during printing to cool the material and prevent burning. A heating paste outside the narrowing section maintains optimal temperature. This prevents overcooling while recycling any remaining material by pushing it out during air injection.
40. 3D Printer Nozzle Clearing Mechanism with Heat Conduction Needle and Secondary Heater
TIBET GOLDEN KHADA CASHMERE PRODUCTS CO LTD, 2020
Mechanism to clear clogged 3D printer nozzles without replacing them. The mechanism has a lifting device, heat conduction needle, and secondary heater. The lifting device moves the heat conduction needle into the clogged nozzle to pierce and melt the blockage. The secondary heater heats the needle to raise temperature for easier insertion and melting. The lifting device has a heat pipe, heat rod, heat plate, and screws to guide and secure the needle. A conical guiding shell and pin facilitate insertion into the nozzle.
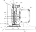
41. Integrated Sensor System for Clogged Nozzle Detection and Print Bed Registration in 3D Printers
Daniel Gelbart, Oliver Jason Terry, 2020
Detection of a clogged nozzle and accurate registration of the nozzle to the print bed in a 3D printer. The same sensor is used for both functions.
42. 3D Printer Nozzle with Dual-Layer Expansion and Pressure-Activated Heating Mechanism
SHENZHEN POLYTECHNIC, 2020
3D printer nozzle design to prevent clogging and improve print quality for materials with poor flow properties. The nozzle has an inner layer with a greater expansion coefficient than the outer layer. This allows the inner layer to deform and fall off when solidified material builds up during printing. An embedded pressure switch senses when pressure increases, indicating solidification, and activates heating to soften the material and prevent sticking. After printing, the nozzle cools and the pressure switch triggers heating to further prevent material buildup during retraction. The inner layer deformation assists in material extrusion and prevents clogging.
43. 3D Printing Nozzle with Peristaltic Pump and Integrated Heat Preservation and Stirring Mechanisms
WUHAN ZIHAO INNOVATION TECH CO LTD, WUHAN ZIHAO INNOVATION TECHNOLOGY CO LTD, 2020
A 3D printing nozzle that improves stability and accuracy of material output during fused deposition modeling (FDM) 3D printing. The nozzle uses a peristaltic pump with a silicone tube connected to the discharge tube and the melted material supply tube. This allows separate control of the melted material flow rates. Additionally, a heat preservation device surrounds the hot end tube to prevent cooling and solidification of the material. A stirring device in the discharge tube helps prevent clogging. The separate pump and tube connections and the heat preservation prevent material flow and cooling issues that can affect output accuracy.
44. Adaptive Cleaning Method for Powder-Based 3D Printer Nozzles with Multi-Level Intensity Based on Usage Conditions
KINPO ELECTRONICS INC, XYZPRINTING INC, 2020
Automatic cleaning method for powder-based 3D printers to prevent clogging of the printing nozzles. The method involves different cleaning levels based on predefined conditions to ensure optimal cleaning. The conditions include the number of prints completed, the amount of powder spread, and the nozzle usage frequency. When certain thresholds are reached, the printer initiates a cleaning cycle with progressively more intensive techniques like air blow, solvent spray, and ultrasonic wash to fully unblock the nozzles. This adaptive cleaning strategy prevents clogs and maintains print quality by matching the cleaning level to the printing conditions.
45. 3D Printing Device with On-Demand Feeding and Anti-Blocking Mechanism Using Variable Heating and Flow Control Valve
SHENZHEN YUTO PACKAGING TECH CO LTD, SHENZHEN YUTO PACKAGING TECHNOLOGY CO LTD, 2020
3D printing device with on-demand feeding and prevention of material blocking when the printer is turned off. The device has a heating mechanism at the material storage discharge port and a flow control valve on the discharge tube. A controller adjusts the heating power based on printing speed to match the material consumption rate. This prevents material solidification and blocking when the printer is stopped. The device also has a microprocessor that sends heating commands to the controller based on the printing speed.
46. 3D Printer Nozzle with Integrated Immersion and Ultrasonic Cleaning System
ILLUMINAID CO LTD, 2020
3D printer nozzle design to prevent clogging without removing the nozzle. The nozzle is immersed in a cleaning solution when it's not printing to wash away any dried material. A separate cleaning unit contains the washing liquid and has a well to immerse the nozzle. The cleaning unit can move to immerse/separate the nozzle. A positioning mechanism moves the cleaning unit and nozzle together. The cleaning unit can have ultrasonic cleaning as well. This keeps the nozzle continuously cleaned without disassembly.
47. 3D Printer Nozzle Anti-Blocking Device with Circulating Throat Cooling System
NANJING XINKAI TECH CO LTD, NANJING XINKAI TECHNOLOGY CO LTD, 2019
A 3D printer nozzle anti-blocking device that prevents nozzle clogging during long prints by efficiently cooling the throat area where the filament feeds through. The device uses a circulating cooling system with a pump, tank, and fan to continuously extract heat from the throat. This prevents overheating and softening of the throat material that can cause clogs. The throat, throat cooling assembly, and nozzle heating assembly thread together. The throat has a Teflon tube inside. The cooling system has a pump, tank, piping, and fan connected to the piping. The pump circulates water through the throat and back to the tank.
48. 3D Printing Device with On-Demand Molten Material Feeding and Synchronized Flow Control Mechanism
SHENZHEN YUTO PACKAGING TECH CO LTD, SHENZHEN YUTO PACKAGING TECHNOLOGY CO LTD, 2019
3D printing device and method for feeding molten material on demand to prevent blocking during printing. The device has a storage mechanism, discharge pipe, and print nozzle connected in sequence. A heating mechanism is at the discharge port. A temperature controller regulates the heating power based on print speed. A flow control valve regulates the material flow rate. This allows controlled on-demand feeding without heating and melting all material before printing. The heating, flow rate, and print speed are synchronized to match consumption. This prevents clogging at the discharge port and nozzle during printing stops/starts.
49. Biological 3D Printing Nozzle with Dual Temperature Control and Integrated Cleaning Mechanism
MEDPRIN REGENERATIVE MEDICAL TECH CO LTD, MEDPRIN REGENERATIVE MEDICAL TECHNOLOGIES CO LTD, Guangzhou Magpie Regenerative Medicine Technology Co., Ltd., 2019
Two-section independently temperature-controlled biological 3D printing nozzle to prevent clogging and improve cell survival rates in bioprinting. The nozzle has separate temperature control assemblies for the barrel and the needle sections. This allows independent regulation of the barrel temperature for material storage and the needle temperature for extrusion. It prevents temperature drops during printing that can harm cells. The nozzle also has an automatic cleaning feature for thorough maintenance. The 3D printer has a humidity control system with simultaneous dehumidifiers to maintain stable conditions.
50. 3D Printing Nozzle with Grooved Internal Cylinder and Integrated Lifting-Rotating Clog Clearance Mechanism
Henan Sanwei Innovation Additive Technology Co., Ltd., 2019
A new type of 3D printing nozzle designed to prevent clogging and simplify cleaning. The nozzle has an internal cylinder with grooves on the side. Outside the nozzle body is a heating/cooling device. A lifting and rotating mechanism controls the cylinder inside. This allows the cylinder to be lifted and rotated to clear clogs without disassembling the nozzle. The grooves on the cylinder walls help break up material during rotation. The mechanism includes gears, rods, and a toothed disc that engage with the cylinder and internal features.
A range of techniques to deal with nozzle clogging in 3D printers are shown in the listed patents. These include automatic cleaning systems that use brushes and flushing fluids, intelligent nozzle designs that detect potential blockages entirely, and real-time pressure and flow rate monitoring.
Get Full Report
Access our comprehensive collection of 81 documents related to this technology
