Layer Defect Prevention in 3D Printing
In additive manufacturing, layer defects can compromise both structural integrity and dimensional accuracy. Recent data shows that interlayer bonding issues, thermal stress-induced warping, and incomplete curing account for up to 60% of part failures, with deviation tolerances as small as 50 microns making the difference between acceptance and rejection in precision applications.
The fundamental challenge lies in maintaining consistent layer properties while managing the complex thermal and mechanical interactions that occur as new material bonds to previously deposited layers.
This page brings together solutions from recent research—including dual-cure photopolymer systems, in-situ quality monitoring techniques, statistical defect detection models, and optimized powder distribution methods. These and other approaches provide practical strategies for achieving reliable layer adhesion and preventing common defects during the build process.
1. 3D Printing Method Utilizing Tacky Polymer Substrate for Metal Layer Formation
HEWLETT-PACKARD DEVELOPMENT COMPANY, L.P., 2023
3D printing metal objects without warping or cracking by using a tacky polymer substrate. The process involves spreading a layer of metal particles over a polymer substrate with low thermal conductivity and melting the unmasked metal with pulsed light to form each layer of the object. The polymer substrate reduces lateral heat transfer during melting, preventing warping and cracking.
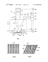
2. Layer Inspection System with Pixel-Level Defect Probability Analysis Using Statistical Learning Model for 3D Printing
Carl Zeiss Industrielle Messtechnik GmbH, 2023
Using a statistical learning model to inspect camera images of each layer during 3D printing to detect layer defects early and correct them before building on top. The model provides defect probabilities for each image pixel. If defects are found, the layer is reworked.
3. 3D Printing Method Using Photopolymer Composite Ink with Dual-Cure System and Inorganic Fillers
Mighty Buildings, Inc., 2023
3D printing of parts with improved mechanical properties and reduced warping. The method involves using a photopolymer composite ink with a dual-cure system that enables complete curing of each layer in a 3D printed object. The composite consists of a polymer matrix, inorganic fillers, and a combination of photo and thermal initiators. The dual-cure initiators allow the composite to be partially cured by UV light after each layer is printed and then fully cured by heat. This prevents uncured resin from accumulating stress and warping the part.
4. In-Situ Mechanical Excitation and Response Measurement System for Defect Detection in Additive Manufacturing
Siemens Energy Global GmbH & Co. KG, 2023
In-situ quality testing of additively manufactured components during production to detect defects like cracks or delamination and prevent fabrication of flawed parts. The process involves mechanically exciting constructed layers of the component and measuring the mechanical response. If the response deviates from a tolerance range, indicating flaws, the production is halted. Excitation can be done using vibrations or oscillations and measurement can use pickups or sensors.
5. Additive Manufacturing System with In-Line Layer Measurement and Deviation Detection
Shibaura Machine Co., Ltd., 2022
Additive manufacturing system that can detect and prevent defects during 3D printing to improve the quality of the printed objects. It does this by incorporating an in-line measurement unit that measures each layer as it is printed. The system then compares the layer measurements against reference data of a known good object to detect any deviations that could indicate an internal defect. This allows defects to be caught and corrected during the printing process rather than after completion.
6. Selective Laser Melting System with Layer Imaging and Adaptive Laser Parameter Adjustment
Central University of Technology, Free State, 2016
Selective laser melting (SLM) additive manufacturing system that monitors layer-by-layer manufacturing of a product and adjusts control parameters during manufacturing to correct defects. It captures images of each layer before adding the next layer and then analyzes the images to identify irregularities. If found, it adjusts the laser parameters for the next layer to avoid defects like balling.
7. 3D Printing Error Reduction via Geometry-Based Dynamic Parameter Adjustment
Florida State University Research Foundation, Inc., 2024
Reducing errors in 3D printing by dynamically adjusting printer parameters based on the printed object geometry. The method involves identifying areas prone to printing defects, like gaps or under/over extrusion, and adjusting printing speed, extrusion rate, and linewidth in those areas to compensate. The adjustments are made using a model that predicts where defects are likely to occur based on the printing path. This allows customizing printer kinematics to prevent internal defects without sacrificing speed.
8. 3D Printing Technique Utilizing Controlled Layer Curing for Seamless Transparent Object Formation
HOTTY POLYMER CO LTD, 2024
3D printing method to create objects with good transparency and eliminate the need for support structures. It involves curing the printed layers while still viscous to bond them together instead of waiting for complete curing. This is achieved by controlling factors like UV intensity, irradiation time, and layer formation timing. This prevents gaps and voids between layers and reduces "lamination marks" for smoother surfaces. It also enables creating transparent objects without support materials.
9. 3D Printing System with Dynamic Surface Roughness Adjustment for Layer Bonding
INTERNATIONAL BUSINESS MACHINES CORPORATION, 2024
3D printing method and system that dynamically adjusts the surface roughness of printed layers during multi-layer 3D printing to improve bonding between adjacent layers. After printing a layer, a surface modification component is used to add roughness if necessary based on parameters and detected features. This allows optimizing the surface texture for each layer to enhance layer adhesion.
10. 3D Printing System with Dual-Sided Preheating and Flattening Mechanisms for Layer Fusion
SUZHOU MEAMAN MACHINES CO LTD, 2024
3D printing system with improved layer fusion and printing quality. It uses preheating and flattening systems on both sides of the print head to better fuse the printed layers. The system has two layer processing systems, one on each side of the print head, that move synchronously with the print head. Each system has a preheating apparatus to warm the previous layer before printing the next layer. This raises the previous layer temperature to better fuse with the new layer. After printing, a flattening roller on the opposite side compresses the layer to remove warping. The roller also cools the layer. By preheating and flattening on both sides, it improves layer fusion, reduces warping, and enhances print quality.
11. 3D Printing Control Method with Layer-by-Layer Error Detection and Parameter Adjustment
SUZHOU SHUANGEN INTELLIGENT TECH CO LTD, SUZHOU SHUANGEN INTELLIGENT TECHNOLOGY CO LTD, 2024
3D printing control execution method to improve accuracy and reduce waste by detecting and adjusting printing errors. After each layer, actual images are analyzed versus theoretical ones to find position and height errors. If exceeding thresholds, stop printing and provide feedback. If within thresholds, adjust parameters for next layer. This allows catching and correcting errors before they accumulate in the final model.
12. In-Process Detection and Adjustment Method for Layer Adhesion in 3D Printing
GUANGZHOU CHENGXING DIGITAL TECH CO LTD, GUANGZHOU CHENGXING DIGITAL TECHNOLOGY CO LTD, 2023
A method for processing 3D printed objects during the printing process itself to avoid defects and scraping after completion. The method involves detecting if the adhesive glue used between layers is solidifying properly. If not, it prevents further powder spraying and skips to the next layer. This avoids incomplete adhesion and powder detachment issues that can occur during rapid 3D printing. By detecting during printing instead of post-processing, it ensures a solidified glue layer before continuing.
13. 3D Printing System with Bidirectional Preheating and Flattening Mechanisms Synchronized to Extruder Movement
SUZHOU MEIMENG MACHINE CO LTD, 2023
3D printing system and method to improve quality and accuracy of 3D prints by optimizing layer adhesion and cooling. The system uses preheating and flattening mechanisms on either side of the extruder that engage based on extruder movement. When the extruder moves to one side, the preheater there heats the upper layer before printing, while the flattener on the other side remains off. Then when the extruder moves back, the preheater there is off and the flattener engages to flatten the printed layer. This prevents deformation of the upper layer while printing, improves fusion, and speeds cooling by contact.
14. 3D Printer Powder Loading System with Chamber-Based Compaction and Transfer Mechanism
Hewlett-Packard Development Company, L.P., 2023
A loading system for 3D printers that reduces mounding and increases the uniformity of powder layers. The system has a loading chamber positioned over the supply container. Powder is dispensed into the chamber and compacted to increase uniformity. The chamber floor is then lowered into the supply container, transferring the compacted powder. This loading process helps distribute the powder more evenly throughout the container compared to filling it directly.
15. Real-Time Multi-Parameter Matching Process for Continuous Fiber Reinforced Composite Material 3D Printing with Synchronized Auxiliary Heating and Pressure Mechanisms
Dalian University of Technology, DALIAN UNIVERSITY OF TECHNOLOGY, 2023
A real-time multi-parameter matching continuous fiber reinforced composite material 3D printing assisted forming process that improves the bonding strength between layers of 3D printed composite components. The process involves coordinated adjustment of external temperature and pressure during printing based on feedback to match the material properties. An auxiliary heating mechanism and pressure application mechanism are activated during printing to reduce temperature differences, increase forming pressure, and enhance interlayer bonding. The auxiliary mechanisms are synchronized with the printer motion to enable continuous multi-parameter 3D printing.
16. 3D Printer Monitoring and Control System with Sensor-Driven Feedback for Material and Layer Analysis
UIF UNIV INDUSTRY FOUNDATION YONSEI UNIV, UIF YONSEI UNIVERSITY, 2023
Real-time monitoring and control system for 3D printers used in construction that improves quality and safety by measuring and responding to properties of the extruded material and stacked layers during printing. The system uses sensors around the print head to acquire quality data like height, extrusion amount, defects, and cross-section. An algorithm processes this real-time feedback to calculate optimal print parameters like height, speed, and mixing ratio. This allows the printer to adapt to changing material properties, prevent sagging, and avoid over/under extrusion. It also enables monitoring and control of critical features like layer thickness and shape.
17. 3D Printing Process with Interlayer Stitching Using One-Dimensional Material Integration
QINGDAO UNIV OF SCIENCE & TECHNOLOGY, QINGDAO UNIVERSITY OF SCIENCE & TECHNOLOGY, 2023
3D printing method to improve the strength and bonding of printed parts by interlayer stitching. The method involves forming an interlayer binding layer between adjacent layers during 3D printing. The binding layer extends into both lower and upper layers. It uses a one-dimensional material like carbon nanotubes or metal fibers that are injected into the lower layer and then extend into the upper layer when printing. This interlayer stitching significantly improves the bonding force and effect between layers, which enhances the overall strength of 3D printed parts.
18. Additive Manufacturing Monitoring and Control Method with Real-Time Abnormality Detection and Remediation
NORTHWESTERN POLYTECHNICAL UNIV, NORTHWESTERN POLYTECHNICAL UNIVERSITY, 2022
Additive manufacturing monitoring and control method to improve 3D printing reliability by detecting abnormalities during printing and remediating them. The method involves continuously acquiring key feature data like 3D point cloud, images, temperatures, and positions during printing. It judges if completed layers are normal, and if not, determines if the abnormality can be remedied. For salvageable abnormalities, it generates lower-level remedial printing paths without the issue. For unsalvageable abnormalities, it terminates printing. It also adjusts printing parameters in real-time based on the feature data.
19. Multi-Physics Coupling Method for Microstructure Uniformity Control in Additive Manufacturing Components
NANJING UNIV OF AERONAUTICS AND ASTRONAUTICS, NANJING UNIVERSITY OF AERONAUTICS AND ASTRONAUTICS, 2022
Controlling the microstructure uniformity of additive manufacturing components to improve their properties by using a multi-physics coupling approach to mitigate thermal accumulation effects. The method involves calculating the temperature, stress/strain, and microstructure fields during additive manufacturing using numerical simulation. By optimizing process parameters based on the temperature predictions, the microstructure can be more homogenized to prevent defects like porosity and cracks. This allows predicting and controlling the microstructure without expensive, time-consuming experiments.
20. Real-Time Adaptive Parameter Adjustment System for Additive Manufacturing
HP Development Company, L.P., HEWLETT-PACKARD DEVELOPMENT COMPANY LP, 2022
Adapting printing parameters during additive manufacturing processes to improve print quality and reliability. The technique involves monitoring the printing process in real-time and making adjustments to parameters like layer thickness, material deposition rate, and curing conditions based on detected deviations from the intended print path. This allows compensating for issues like misalignment, distortion, or inconsistencies in the print material. By dynamically adapting the printing parameters as needed, the technique aims to mitigate defects and improve the final printed object's quality.
21. 3D Printing Device with Real-Time Monitoring and Adaptive Layer Adjustment Using Integrated Temperature Regulation and Sensor Feedback
Hunan Institute of Automotive Engineering, HUNAN AUTOMOTIVE ENGINEERING VOCATIONAL COLLEGE, 2022
High-precision, smooth 3D printing device with real-time monitoring and adjustment to improve print accuracy. The device uses a temperature regulation module inside the nozzle, data analysis to calculate layer-specific print parameters, and a comparison module to check completed layers. If a layer is out of spec, modification is done. Sensor monitoring includes infrared thermal imaging, annular ducts for temperature control, and cameras for layer analysis.
22. Layer-by-Layer Inspection and Material Deposition Correction System for 3D Printing
INSTITUT DE RECHERCHE TECHNOLOGIQUE JULES VERNE, 2022
Inspecting parts during 3D printing to identify and repair defects as they occur. The method involves inspecting each layer after deposition to detect defects and repairing any defects by adding material before continuing to the next layer. The inspection can use techniques like scanning, imaging, or sensing to identify defects like voids, gaps, or misplaced material. It allows defects to be corrected in real time during manufacturing rather than after completion.
23. Three-Dimensional Printing System with Rotating Transport Element and Integrated Defect Correction for Continuous Fiber Reinforced Polymer Composites
BURSA ULUDAG UENIVERSITESI, Bursa Uludağ University, 2022
Three dimensional printing system and method to reduce form defects and improve strength of 3D printed objects made with composite materials containing continuous fiber reinforced polymer. The system uses a rotating transport element with an inner channel that moves the printing material. A heating element melts the material on the surface, then a pressing element compresses it. This improves adhesion between layers. A correction element removes defects after printing. The system also has a heat exchanger to prevent heat transfer between elements. A sensor detects position.
24. 3D Printing Method with Sequential Deposition and Curing to Minimize Interface Layer Thickness
STRATASYS LTD, 2022
3D printing method to improve surface properties of 3D printed objects. The method involves separate deposition and curing of the modeling and support materials in each layer to reduce mixing and thickness of the interface layer between them. This prevents mixing and matte finish issues that can occur when both materials are deposited and cured together. Other steps like controlling oxygen concentration in the print chamber also further reduce the interface layer thickness.
25. Selective Laser Sintering System with Real-Time Defect Detection via Temperature and Particle Bounce Monitoring
RNX INC, 2022
Real-time detection of defects in 3D printed parts using selective laser sintering (SLS) to improve yield and reduce waste. The detection involves monitoring temperature distribution and particle bouncing during the layer formation process. If certain layers exceed preset reference ranges for temperature or bouncing, it indicates defects. If a threshold number of defective layers is exceeded, the final printed part is determined to be defective. This allows stopping further sintering and preventing waste on parts with high defect rates. By catching defects during printing, the root cause can be identified and addressed to reduce future defects.
26. Structured Light-Based Monitoring and Control System for Powder Deposition and Melting in Additive Manufacturing
Reliance Precision Limited, 2022
Monitoring and controlling powder deposition and melting quality in additive manufacturing to improve 3D printing accuracy and reliability. The method involves projecting structured light onto each powder layer before and after melting, imaging the light patterns to detect defects, and using the feedback to influence subsequent deposition and melting correctively.
27. Method for Calculating Cumulative Vertical Compression Deformation in Layered 3D Printing
China Construction Eighth Engineering Division Corp., Ltd., CHINA CONSTRUCTION EIGHTH ENGINEERING DIVISION CORPORATION LTD, 2022
Estimating vertical compression deformation during 3D printing to improve component accuracy and control. The method involves calculating the cumulative compression deformation of each printing layer due to self-weight. By estimating the compression deformation of each layer as it hardens, the total vertical compression deformation of all layers can be determined. This allows compensation for the deformation during printing to improve component dimensions and precision.
28. Additive Manufacturing System with Real-Time Defect Analysis and Layer Correction Mechanism
Sentient Science Corporation, 2022
A feedback-based correction system for additive manufacturing defects that helps repair defects on the fly during 3D printing. The system involves using real-time defect analysis during printing to scan each layer for defects and then sending correction commands to the printer to fix issues before moving on to subsequent layers.
29. Powder Bed Density Measurement and Control System with In-Situ Sensor Feedback
Desktop Metal, Inc., 2022
Measuring and controlling powder bed density in 3D printing to improve part quality and reduce warping. The method involves in-situ measurement of powder density during printing using sensors. The density is compared to targets and if deviations are detected, parameters like spreader speed or powder feed rate are adjusted to compensate. This closed-loop control aims to maintain consistent powder packing for better part shrinkage and reduced warping.
30. 3D Printing Layering Method with Dynamic Thickness Adjustment Based on Facet Analysis and Volume Error Calculation
UNIV XIAN TECHNOLOGY, XIAN UNIVERSITY OF TECHNOLOGY, 2021
Adaptive layering method for 3D printing that improves efficiency and accuracy by dynamically adjusting the layer thickness based on step height and volume error. The method analyzes the 3D model's triangular facets and calculates the volume error between printed layers. It then determines the optimal layer thickness based on the facet height, volume error, and printing direction to balance efficiency and accuracy.
31. 3D Printer Monitoring System with Adaptive Honeycomb In-Fill Pattern and Defect Correction Mechanism
ASP CO LTD, CONCEPTION CO LTD, GILLA CO LTD, 2021
3D printer monitoring system with Drawing type In-fill pattern technology to prevent defects like bubbles in the laminate during 3D printing. The system calculates the in-fill area for each layer, draws a honeycomb pattern in it, and monitors for defects during printing. It can then adjust laser power, feed speed, pattern shape/size, or position to correct defects as detected.
32. 3D Printing Method with Adaptive Layer Thickness Based on Normal Vector Angle Analysis
HARBIN INST TECHNOLOGY, HARBIN INSTITUTE OF TECHNOLOGY, 2021
3D printing method for optimizing layer thickness in additive manufacturing to balance printing accuracy and efficiency. The method uses the normal vectors of STL model patches to adaptively determine layer thickness. It involves calculating the normal vectors of adjacent patches and comparing their angles. If the angle change is large, indicating a significant feature, the layer thickness is reduced. If the angle change is small, indicating a smooth area, the layer thickness is increased. This adaptive layering based on normal vector analysis aims to preserve model features while minimizing layer count.
33. Method and Device for Real-Time Heat Input Adjustment in 3D Printing Based on Surface Flatness Detection
XIAN SAILONG METAL MAT CO LTD, XIAN SAILONG METAL MATERIALS CO LTD, 2021
Method and device for self-adjusting the surface quality of 3D printed parts. It involves real-time monitoring and adjustment of heat input during printing to improve surface flatness. The method determines the layer shape and scanning path, melts the material, then uses a scanner to detect flatness. If surface warpage is detected, heat input is adjusted for the next layer based on a preset scheme. This allows dynamic optimization of surface quality as printing progresses.
34. Method and Device for Monitoring Powder Layer Consistency Using Parallel Light Curtain in Additive Manufacturing
Guangdong Keda Clean Energy Co., Ltd., GUANGDONG KEDA CLEAN ENERGY CO LTD, 2021
Method and device for detecting powder spreading state during 3D printing to improve print quality. It uses a light curtain parallel to the build plate to monitor powder spreading in each layer. If the light curtain movement or completeness is abnormal, it indicates an irregular layer. This detects issues like thickness variations, gaps, or unevenness. By catching and addressing abnormal layers, it prevents defects from propagating.
35. Real-Time Process Control in 3D Printing Using Thermal Imaging and Laser Ultrasound with Neural Network Analysis
KOREA ADVANCED INST SCI & TECH, KOREA ADVANCED INSTITUTE OF SCIENCE AND TECHNOLOGY, 2021
Real-time feedback process control during 3D printing to improve quality and efficiency. The method involves monitoring the 3D printing process in real-time using thermal imaging and laser ultrasound. It estimates the layering quality by analyzing the thermal image and ultrasonic signal. An artificial neural network is built from collected big data to evaluate the layering quality in real-time. If quality abnormalities are detected, process parameters are adjusted based on the neural network. This allows real-time feedback control to optimize 3D printing quality as it happens.
36. 3D Printing Method with Dynamic Layer Thickness Adjustment Based on Adjacent Layer Contour Analysis
KOCEL INTELLIGENT FOUNDRY IND INNOVATION CT CO LTD, KOCEL INTELLIGENT FOUNDRY INDUSTRY INNOVATION CENTER CO LTD, 2021
3D printing method that improves printing efficiency while maintaining quality by dynamically adjusting layer thickness based on analysis of adjacent layer contours. The method involves comparing the area difference and XOR set of adjacent layer contours to determine if transition, overlay, or normal printing should be used. This allows cyclic execution of variable thickness printing techniques.
37. Layer-by-Layer Electromagnetic Acoustic Transducer Scanning for Anomaly Detection in Additively Manufactured Components
THE BOEING COMPANY, 2020
Non-destructively inspecting additively manufactured components layer-by-layer during manufacturing using an electromagnetic acoustic transducer (EMAT) to detect anomalies like cracks and residual stress. The EMAT scans over each layer of the component being formed with an additive manufacturing head, collecting acoustic data that indicates quality. The data is compared to reference images and analyzed to detect defects.
38. 3D Printing Method with Geometry-Responsive Layer Division and Parameter Adjustment
AI BUILD LTD, 2020
Improved method of 3D printing that addresses issues with printing overhanging and curved sections. The method involves dividing a layer into sections, analyzing the local geometry around each section, and adjusting printing parameters like speed and layer height based on the geometry to prevent sagging, delamination, and other problems.
39. 3D Printing System with Real-Time Deformation Detection and Parameter Adjustment Mechanism
NAN KAI UNIVERSITY OF TECHNOLOGY, UNIV NAN KAI TECHNOLOGY, 2020
3D printing system and method that improves efficiency and accuracy of 3D printing by detecting and correcting section deformation during printing. The system uses sensors to continuously monitor each printed layer for deformation. If deformation is detected, printing is stopped, parameters are sent to a server for analysis and adjustment, and the modified parameters are downloaded to resume printing. This allows immediate correction of section deformation to prevent defects and waste.
40. 3D Printing Method with Adaptive Radiation Dose for Voxel Curing Compensation
Netherlands Organization for Applied Scientific Research TNO, 2020
A 3D printing method to compensate for defects caused by incomplete curing of voxels in each layer. The method involves selectively exposing the layer of uncured material based on layer data, then verifying the layer for regions of insufficiently cured material. The radiation dose is adapted for contiguous voxels in the next layer to compensate for the defects.
41. 3D Printing System with Tool Path and Flow Rate Monitoring for Dynamic Temperature and Extrusion Control
Swapnil Sansare, 2020
A system for 3D printing that improves the strength and reliability of printed parts while reducing failed prints. The system uses FDM printers and monitors the tool path length and flow rate to adjust temperature and flow accordingly. This improves adhesion between layers and overall strength without affecting print quality. The system also detects and repairs extrusion failures to prevent wasted material and time.
42. Layered Additive Manufacturing with Controlled Inter-Layer Temperature Uniformity Through Selective Fusing Agent Application
HEWLETT PACKARD DEVELOPMENT CO, HEWLETT-PACKARD DEVELOPMENT COMPANY LP, 2020
Method for reducing distortion and dimensional variation in 3D printed objects by controlling the temperature of the build material between layers. The method involves selectively applying a fusing agent to certain areas of the build material to join them together. After fusing, the areas with object parts cool at different rates due to varying thermal conductivity. This can lead to dimensional variation. To mitigate this, the temperature is allowed to reach a certain level of uniformity and/or a desired working range across the entire build material before adding the next layer. This prevents significant temperature gradients that cause distortion.
43. 3D Printing Method with Alternating Clockwise and Counterclockwise Layer Deposition for Mixed Material Objects
BASF SE, 2020
A method to print 3D objects using a 3D printer that reduces delays and improves quality when printing objects with mixed organic and inorganic materials. The method involves printing layers clockwise and counterclockwise alternately, with the number of clockwise prints equal to the counterclockwise prints. This prevents layer distortion and warping that can occur when printing with mixed materials. The printed object has consistent layer thickness and geometry, avoiding issues like layer separation or uneven density.
44. Powder Bed Fusion 3D Printing with Timed Adhesive Application for Layering Defect Prevention
Shared Intelligent Foundry Industry Innovation Center Co., Ltd., KOCEL INTELLIGENT FOUNDRY INDUSTRY INNOVATION CENTER CO LTD, 2020
3D printing method to prevent layering defects in 3D printed objects when using powder bed fusion (PBF) printers. The method involves timed monitoring of the adhesive bonding process to ensure powder spreading keeps up. After each layer, the printer sprays adhesive and waits for it to cure. If powder spreading doesn't start within a certain time, it repeats the adhesive application several times. If spreading still doesn't begin after the maximum number of repeats, it stops timing and assumes a printer fault. This prevents long pauses between layers that can cause layer separation.
45. Additive Manufacturing System with Proactive Defect Detection and Prevention Mechanism
SIEMENS AG, SIEMENS AKTIENGESELLSCHAFT, 2020
Automatically preventing defects during additive manufacturing like 3D printing by proactively detecting and addressing potential issues before they arise. The method involves analyzing layer data from the printer's sensor during manufacturing to predict if defects are likely using a trained defect model. If so, preventive actions are taken like redepositing material, changing printer parameters, or stopping the print.
46. 3D Printer First Layer Control System with Real-Time Extruder Feed Measurement and Adjustment
OBSHCHESTVO S OGRANICHENNOJ OTVETSTVENNOSTYU PIKASO 3D, OBSHCHESTVO S OGRANICHENNOJ OTVETSTVENNOSTYU PIKASO 3D OOO PIKASO 3D, 2020
Controlling the printing of the first layer on a 3D printer to ensure maximum adhesion and prevent issues like part detachment or clogging. The method involves measuring parameters like plastic thread count or length as it feeds through the extruder using an encoder. These measurements are compared to nominal values calculated for that time period. If the actual measurements deviate significantly, it indicates adhesion or feed problems. The printer can then adjust parameters like height or feed rate to correct the issues before starting the print.
47. 3D Printer Control System with Encoder-Monitored Extrusion Feedback and Adjustable Thread Feed Rate
OBSHCHESTVO S OGRANICHENNOJ OTVETSTVENNOSTYU PIKASO 3D, OBSHCHESTVO S OGRANICHENNOJ OTVETSTVENNOSTYU PIKASO 3D OOO PIKASO 3D, 2020
A control system for 3D printers that improves adhesion and prevents clogging during the first printing layer. The system uses an encoder to monitor the extruded thread and provide feedback to the printer's control module. The module has settings to adjust the thread feed rate and height for optimal adhesion and prevent issues like under-extrusion or over-extrusion. The encoder allows precise control over the first layer by preventing excessive or insufficient thread dispensing. It also helps prevent clogs by ensuring the nozzle is at the correct height above the build plate.
48. 3D Printing Method Using High Viscosity Photosensitive Paste for Self-Supporting Structures
UNIV XI AN JIAOTONG, XIAN JIAOTONG UNIVERSITY, 2019
A 3D printing method that eliminates the need for support structures during printing and simplifies post-processing. The method involves using a specially formulated photosensitive paste with high viscosity and solid content. This paste provides enough support for printed parts to prevent sagging during the layer-by-layer printing process. The paste also creates small gaps between the part and the build plate. These gaps allow the part to sink slightly under gravity without sticking to the plate. This prevents misalignment issues. After printing, the part can be easily removed from the gaps without needing to remove additional support structures.
49. Additive Manufacturing System with AI-Driven Layer Anomaly Detection and Parameter Adjustment
NANOTRONICS IMAGING INC, 2019
Additive manufacturing (AM) system using AI feedback control to improve quality and accuracy of 3D printed objects. It involves using AI algorithms to analyze images of each printed layer to identify anomalies. The AI determines correlations between anomalies and print parameters. This allows the system to assign optimized values to the print parameters for the next layer to address the anomalies. It provides real-time feedback and corrective action during printing compared to post-printing feedback.
50. Layerwise 3D Printing Defect Correction via Real-Time Optical Beam Modulation
Lawrence Livermore National Security, LLC, 2019
A manufacturing technique to dynamically correct layerwise 3D printing defects. It uses optical beams to heat and modulate the material surface in real-time during printing. Optical beams are used to control light valves and electric field modulators that modify the energy and electric fields acting on the material surface. This allows localized surface melting and shaping to correct defects, planarize surfaces, remove impurities, and add features during printing. The beams can be tuned independently to address the modulators.
Ranging from sophisticated material handling methods to real-time flaw detection and rectification. These innovations show the progress being made to raise the uniformity and dependability of parts that are 3D printed. Future 3D printing results should be even higher quality as these techniques are developed and used.
Get Full Report
Access our comprehensive collection of 66 documents related to this technology
