Large-Scale 3D Printing
Large-format 3D printing faces fundamental constraints when object dimensions exceed the printer's build volume. Current industrial systems typically max out at 1m³, while many applications in aerospace, construction, and manufacturing require components spanning several meters. Print quality, dimensional accuracy, and structural integrity become increasingly challenging to maintain as scale increases.
The core engineering challenge involves balancing build volume expansion against precision and repeatability across the entire workspace.
This page brings together solutions from recent research—including modular systems with coordinated tracking, linear laser approaches for increased deposition rates, segmentation methods with automated joining, and extensible frameworks that adapt to varying build sizes. These and other approaches focus on maintaining print quality and structural integrity while enabling significantly larger build volumes than conventional systems.
1. Solid Freeform Fabrication Method with Binder Density Adjustment and Micropixelation for Enhanced Resolution
TRIO LABS INC, 2024
Solid freeform fabrication (SFF) method and apparatus for 3D printing high-resolution parts with improved material properties. The method involves delivering a layer of build material, consisting of powder and binder, to a build surface. The binder density is adjusted by removing some binder or increasing it through evaporation or fluid flow. This allows changing the powder loading and part density without affecting resolution. The method also uses techniques like micropixelation, image shifting, and adhesive layer deposition to further improve resolution and part quality.
2. 3D Printer with Height-Adjustable Build Platform for Optimized Build Chamber Utilization
EXONE GMBH, 2024
3D printing method and 3D printer that enable efficient use of the build chamber volume by adjusting the build platform height. The method involves starting the printing process with the build platform at a lower position, then raising it as needed during the print to prevent the finished layers from colliding with the nozzle. This allows taller parts to be printed without requiring a taller build chamber. The printer has a height-adjustable build platform accommodated within the side wall structure of the build box. The platform can be raised as the print progresses to prevent collision between the completed layers and the nozzle. This enables printing of taller parts without needing a taller build chamber.
3. Method for Producing Complex-Shaped Objects via 3D Printing and Post-Processing Deformation Techniques
AIRBUS OPERATIONS GMBH, 2024
Method of producing objects with complex shapes using 3D printing followed by post-processing to further deform and shape the 3D printed part. The method involves creating an initial 3D printed part with certain features, then using techniques like heating, masking, deep drawing, or forming to deform and shape the part into the final object shape. This allows more complex shapes with better mechanical properties compared to just 3D printing the final shape.
4. Additive Manufacturing Build Unit with Inert Gas Flow Manifold System and Energy Beam Integration
General Electric Company, 2023
A building unit for large-format additive manufacturing with an inert gas system to allow high-quality prints at scale. The build unit has an energy beam system and an inertization system with supply and return manifolds. The supply manifold includes a downward flow manifold and a crossflow manifold to provide process gas flow through the irradiation chamber. The return manifold evacuates the gas. This prevents contaminants from the powder bed from contacting the energy beam components, allowing clean prints.
5. Crossed Slide and Laser Cladding Assembly for Variable Wall-Thickness Additive Manufacturing of Irregular Steel Pipes
Yanshan University, 2023
Wall-thickness additive manufacturing device for micro cast-rolling additive manufacturing of large-scale special-shaped pipes, such as those used in nuclear power plants. The device uses a crossed slide assembly and laser cladding assembly on a vertical wall to additively manufacture large irregular steel pipes. It enables near-net-shape manufacturing of complex-shaped pipes with variable wall thicknesses in a single step using laser cladding.
6. Vacuum-Suction Method for Releasable Attachment of Build Sheets on Perforated Print Beds
RapidFlight Holdings, LLC, 2023
A method of secure and releasable attachment of a build sheet to a print bed in large-scale additive manufacturing without the need for adhesive. The method uses vacuum suction to hold the build sheet in place on the print bed. The print bed has a surface with a plurality of perforations. A vacuum source is connected to the perforations to apply suction through the holes. This pulls the build sheet down and holds it securely to the bed during printing. The vacuum can be released to remove the build sheet after printing easily.
7. Additive Manufacturing Method with Support-Optimized Overhang Solidification Paths
AMSIS GMBH, UNIV BREMEN KOERPERSCHAFT DES OEFFENTLICHEN RECHTS, University of Bremen, Corporation under Public Law, 2023
Additive manufacturing method for 3D printing objects with overhangs using fewer supports compared to conventional methods. The key idea is to construct the overhangs using solidification paths that start and end on adjacent supports, rather than hanging in mid-air. This allows reducing the number of supports needed for overhangs. The method involves defining hardening paths for each layer that start and end on adjacent supports for overhang sections. This ensures the solidification is fully supported and prevents sagging. The supports are arranged perpendicular to the print direction.
8. Ray-Based 3D Printing Build Data Encoding for Additive Manufacturing
INKBIT LLC, 2023
Efficient encoding of 3D printing build data for additive manufacturing that reduces memory and processing requirements compared to voxel-based representation. The method involves processing the 3D model to extract boundary intersection points for rays instead of voxelizing the entire model. This pre-computed ray-based build data is used during printing to determine material deposition at each layer based on the ray height. It enables faster and more memory-efficient printing of complex objects with many material transitions.
9. Linear Laser Beam Additive Manufacturing System for Large Parts
AIRBUS (BEIJING) ENGINEERING CENTRE COMPANY LIMITED, 2023
Additive manufacturing of large parts using a linear laser beam increases efficiency and reduces costs compared to point laser beams. The method involves using a laser-generating unit that projects a linear light spot onto the material and drives the laser, platform, or material feed to move during manufacturing.
10. Additive Manufacturing Method with Layered Enclosure for Out-of-Bounds Component Fabrication
GOTTFRIED WILHELM LEIBNIZ UNIV HANNOVER KOERPERSCHAFT DES OEFFENTLICHEN RECHTS, Gottfried Wilhelm Leibniz University Hannover, Public Law Corporation, HANNOVER LASER ZENTRUM, 2023
Additive manufacturing method to produce large components using 3D printers that can't fit entirely in the printer's build area. The method involves building an enclosure around the partially printed component as it grows. This allows the component to extend beyond the printer's build volume without exposing the unfinished part to the environment. The enclosure is printed layer by layer around the component in a horizontal direction to completely enclose it. This prevents feedstock and gases from escaping and contaminating the unfinished part. The enclosed component can then be further printed to completion using the 3D printer.
11. Additive Manufacturing Method for Customized Minimal Surface Structures Using Adaptive Voronoi Tessellation and Density Field-Based Skeleton Extraction
SPHERENE AG, 2023
Additively manufacturing customized minimum surface structures for 3D printed parts to optimize performance and reduce stress by generating a digital minimal surface model based on local physical parameter requirements. The method involves creating a density field representing required parameter values, generating an adaptive Voronoi tessellation from it, and extracting skeletons to create a digital minimal surface model. This allows designing minimum surfaces that adapt to specific boundary conditions and parameters.
12. Dual-Energy Source 3D Printing Method with Melt Pool Dynamics Monitoring and Real-Time Parameter Adjustment
Velo3D, Inc., 2022
Printing 3D objects with improved quality, reduced defects, and increased design flexibility compared to conventional 3D printing methods. The technique involves using two energy sources, like lasers, to print overhangs with curved surfaces. One energy source forms the overhang, and the other reshapes it by impinging the overhang, hard material, or both. This prevents warping and deformation during printing. The technique also involves monitoring melt pool dynamics, comparing real-time signals to targets, and adjusting print parameters accordingly. It allows printing complex 3D objects with high accuracy, low surface roughness, and low porosity overhangs.
13. Robotic Arm-Mounted Print Head for Dual-Step 2D Core and 3D Fiber-Reinforced Layer Composite Fabrication
PIASECKI MACIEJ, 2022
3D printing composite parts with hybrid structures using a specialized print head on a robot arm. The method involves 2D printing the core of the part first, then 3D printing a directional fiber-reinforced layer on the exterior. The print head has multiple connections and power inputs for mounting on the robot arm. The dual-step process allows creating composite parts with high stiffness in specific directions while minimizing weight. It avoids the need for molds and enables complex shapes with customized fiber orientations.
14. Layered Thermoplastic Composite Part with Z-Pin Reinforcement for Enhanced Interlaminar Strength
NORTHROP GRUMMAN SYSTEMS CORPORATION, 2022
Additively manufacturing thermoplastic composite parts with reinforced interlaminar strength. The method involves using a 3D printing machine to build the part layer by layer, then inserting Z-pins through the layers to reinforce the part in the Z-direction. The pins are inserted using thermal, mechanical, ultrasonic, or chemical energy to penetrate the hardened material. This provides reinforcement directly in the part instead of relying solely on adhesive bonding between layers. The pins are inserted during or after printing, and can be staggered and varying in length.
15. Additive Manufacturing Method with Flexible Sacrificial Structures and Destructible Skirt Connections
Stratasys Ltd., STRATASYS LTD, 2022
Additive manufacturing of 3D objects using removable sacrificial structures to enable easy removal of printed objects. The process involves overlaying objects with a flexible sacrificial material, followed by an intermediate layer of support material. This allows the objects to be separated from the sacrificial structure by pushing them out. The flexible sacrificial material can have a predetermined combination of modeling and support materials. Multiple objects can also be printed within a shared sacrificial structure with destructible skirt connections between them.
16. 3D Printing Method and Device with Rotating Receiving Surface for Vertical and Horizontal Layer Fabrication
STEREOTECH LIMITED LIABILITY CO, STEREOTECH LLC, 2022
3D printing method and device for producing objects with improved strength and reduced support requirements compared to traditional layer-by-layer printing. The method involves creating a digital 3D model of the object and separating it into flat and curved layers. The curved layers are printed on a vertical receiving surface, while the flat layers are printed on a horizontal surface. This allows the object to be built vertically without interlayer binding issues. The vertical surface is rotated between curved and flat layer printing to create the object. The device has a print head, motors for motion, and a rotating receiving surface. The method avoids the need for support structures and allows printing objects with complex shapes.
17. 3D Printing System with Multi-Nozzle Extruder and Actuator-Controlled Layer Interlocking Mechanism
XEROX CORP, 2021
A 3D printing system with an extruder head having multiple nozzles and actuators to improve the strength of 3D printed objects in the Z direction. The system alternates the deposition direction of successive layers to create interlocking connections between layers. An actuator moves the extruder head in XY planes parallel to the build platform, rotates it around an axis perpendicular to XY, and varies the distance between head and platform. Modified instructions tell the head to deposit connecting swaths in adjacent layers during object formation. This interlocking structure improves Z-axis adhesion compared to traditional single-extrusion printing.
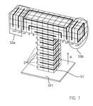
18. Large-Format 3D Printing System with Movable Component Tracking and Global Coordinate Integration
ORD SOLUTIONS INC., 2021
Large-format 3D printing uses separated components with tracking to increase print size beyond the printer's build volume. The method involves using a 3D printer made of movable components, each with a tracker. The trackers provide local coordinate systems, which a processing unit combines into a global coordinate system. Printing instructions are generated based on the global coordinates to print larger objects accurately. The tracking system also allows scanning a large object in sections and combining the scans.
19. Composite Forming Method Integrating 3D Weaving with Continuous Fiber Additive Manufacturing
Beijing Jike Guochuang Lightweight Science Research Institute Co., Ltd., BEIJING CAM GUOCHUANG LIGHT WEIGHT SCIENCE ACADEMY CO LTD, 2021
A composite forming method that combines 3D weaving with continuous fiber additive manufacturing to improve the interlayer strength and Z-direction properties of 3D printed continuous fiber reinforced composites. The method involves using a 3D weaving technique to initially place the continuous fibers in a specific pattern, then printing resin layers over the fiber layers using a 3D printer. This creates a composite with interconnected fibers between the layers for better interlayer bonding compared to directly 3D printing the fiber-resin mixture.
20. 3D Printer Build Platform with Sectional Height Variation for Simultaneous Multi-Material Object Production
GLOBAL FILTRATION SYSTEMS A DBA OF GULF FILTRATION SYSTEMS INC, GLOBAL FILTRATION SYSTEMS DBA GULF FILTRATION SYSTEMS INC, 2021
Simultaneously producing multiple three-dimensional objects from multiple solidifiable materials using a single build platform in a 3D printer. The method involves dividing the build platform into sections with varying heights for each object. The sections are arranged in a way that allows simultaneous solidification of the different materials using a single solidification energy source. This avoids the need to selectively move multiple material sources into alignment for each object, reducing build times. The sections are designed to align with the solidification energy source at the same time, allowing simultaneous curing of the materials in each section.
21. Layered Additive Manufacturing of Components Using Aluminum Alloy Powder with Specific Elemental Composition and Particle Size Distribution
BAYERISCHE MOTOREN WERKE AG, BAYERISCHE MOTOREN WERKE AKTIENGESELLSCHAFT, 2021
Additive manufacturing of technical components like vehicle parts with improved properties by using a specific powder material. The components are built layer by layer using energy beams like lasers. The powder material is an aluminum alloy containing main elements like iron, chromium, or vanadium plus secondary elements like magnesium, silicon, scandium, strontium, titanium, or zirconium. The secondary elements improve the grain structure and properties of the solidified layers during additive manufacturing. The powder has particle sizes between 1 and 100 microns, ideally 20-63 microns. This allows good powder handling for 3D printing and solidification.
22. Segmented 3D Printing Method for Large Bone Tissue Models with Interlocking Sub-Model Engagement Features
SHENZHEN HOSPITAL OF SOUTHERN MEDICAL UNIV, SHENZHEN HOSPITAL OF SOUTHERN MEDICAL UNIVERSITY, 2021
3D printing method for large-size complex bone tissue models that improves success rates and reduces waste compared to printing the whole bone in one go. The method involves segmenting the bone into smaller sub-models with simpler shapes that can be printed separately. The sub-models are designed to fit together with matching engagement features that reinforce the connections. This allows the complex bone structure to be printed in multiple smaller pieces instead of all at once, increasing the success rate of each print and reducing the likelihood of failure. The sub-models can then be assembled to create the complete bone model.
23. Additive Manufacturing Method with Combined Raster and Vector Scanning for Multi-Material Layer Formation
Stratasys Ltd., STERATASIS INC, 2021
Additive manufacturing of objects using a combination of materials and scanning modes to improve speed and functionality. The method involves sequentially forming layers of the object by selectively using raster scanning for some layers and vector scanning for others. Raster scanning is used with a dispenser head to lay down the main building material. Vector scanning is used with a separate dispenser head to add features like conductive tracks or long structures. This allows faster layer construction for simple shapes vs complex shapes, and enables separate materials like insulating vs conductive to be selectively deposited in the same layer.
24. Additive Manufacturing Method Using PEKK-PEI Polymer Blend with Specific Weight Ratios for Extrusion-Based 3D Printing
SOLVAY SPECIALTY POLYMERS USA, 2020
Additive manufacturing (3D printing) method for making 3D objects using a specific part material containing a blend of poly(ether ketone ketone) (PEKK) and poly(ether imide) (PEI) polymers. The PEKK provides mechanical strength and the PEI improves printability. The blend has a weight ratio of 55-99% PEKK and 1-45% PEI. This allows 3D printing without support structures due to the high PEKK crystallinity. The PEKK has specific properties like low volatiles and high thermal stability for 3D printing. The PEI improves printability by reducing stringing and warping. The blended part material is extruded layer by layer to build 3D objects using extrusion-based additive manufacturing like FFF/FDM or Pellet Additive Manufacturing (PAM).
25. Additive Manufacturing Method for Objects with Structured Internal Cavities Formed by Self-Supporting Air Pocket Walls
STRATASYS LTD, 2020
Additively manufacturing objects with internal cavities that reduce weight and cost without compromising external appearance. The method involves defining internal regions with structured air pockets within the 3D printing data. During printing, the walls of the air pockets are formed self-supportingly around the cavities using a predefined shape. This prevents collapsing of the pockets while printing. The pockets can be staggered to fit more into the object volume. The cavities can also be arranged in lattices to impart specific mechanical properties.
26. 3D Printed Object Arrangement with Thermal Energy Compensation for Enhanced Fit Accuracy
HEWLETT PACKARD DEVELOPMENT CO, HEWLETT-PACKARD DEVELOPMENT COMPANY LP, 2020
Improving fit and accuracy of 3D printed objects by optimizing the arrangement of parts during the build process. The method involves determining the placements and orientations of the parts within the build area to compensate for thermal energy effects (bleed) between the parts. This aims to provide under fused areas selectively connecting sections of the parts to improve the accuracy of the fit of the parts. The section of the parts can have similar formation patterns including accuracies even when there are large geometric errors, deformities.
27. Fused Deposition Modeling Technique with Model Segmentation and Sectional Splicing
BEIJING INST AEROSPACE CONTROL DEVICES, BEIJING INSTITUTE OF AEROSPACE CONTROL DEVICES, 2020
Fused Deposition Modeling (FDM) 3D printing technique that improves print quality and reduces warping by splitting and splicing the model into separate sections. The technique involves breaking the 3D model into smaller sections, printing each section separately, and then joining the sections together. This allows optimizing the printing parameters for each section, such as infill density, to prevent warping and collapsing of the outer surface. By avoiding adjacent sections with different printing requirements, it improves surface quality and mechanical properties compared to continuous scanning.
28. 3D Printing Method with Mold Edifice Support Structure Featuring Additive-Infused Non-Fusion Layers
ADDLEAP AB, DESKTOP METAL INC, 2019
A method for 3D printing complex objects that have overhangs, cavities, gaps, or require support during printing. The method involves using a support structure made of the same material as the final object, printed layer by layer. This support structure is called a "mold edifice" because it has molding layers with additives that prevent fusion. The mold edifice is printed simultaneously with the object to provide support until completion. The mold layers cover contact points between the edifice and object. The mold additives prevent fusion during sintering. This allows separating the edifice and object without damage. The mold edifice can also be used for intertwined objects that need to move independently.
29. 3D Printing Method with Vertically Displaced Object and Support Material Deposition
STRATASYS LTD, 2019
Printing 3D objects with smooth surfaces and improved mechanical properties by separating the deposition of the object material and support material. The method involves generating digital slices representing horizontal cross-sections of the object and support structure. Each slice has the object region and support regions at different vertical levels. During printing, the object and support material are deposited in the same scan but with vertical displacement between the regions. This prevents mixing and rough interfaces when the support is removed.
30. 3D Printing Process for Stacked and Nested Component Arrangement in Build Chamber
FLENDER GMBH, 2019
A 3D printing process to accelerate production of multiple components by stacking and nesting them inside the build chamber instead of just side by side. The components and any required support structures are combined in the 3D model so that they can be printed in an optimized layout. This allows more components to be produced in a single print run compared to separate prints. It reduces production time by making better use of the build volume.
31. 3D Printing Method for In-Situ Reinforcement Integration in Concrete Structures
PERI GMBH, 2019
3D printing concrete components with reinforced concrete that can withstand high loads. The method involves using a 3D printer to print the concrete layers of a component like a wall, but instead of waiting for the entire wall to be printed before reinforcing, the reinforcement is introduced into the printed layers as they are being printed. This allows large-scale reinforcement like steel mats to be embedded into the concrete walls during the printing process. The reinforcing elements are introduced into the concrete as it is being extruded by the printer, enabling complete reinforcement of the printed concrete walls.
32. Additive Manufacturing Method for 3D Printing with Non-Orthogonal Surfaces and Morphing Layer Structures
Arevo, Inc., 2018
Additive manufacturing technique for 3D printing objects with non-orthogonal surfaces and internal structures. The method allows printing complex shapes with curved surfaces and internal features. It involves controlling the thickness and morphing of layers to enable printing of objects with non-planar contours. The technique uses continuous fiber thermoplastic filament with higher tensile strength parallel to the fiber axis. This allows depositing thinner and more flexible layers. The layers can have varying thickness and shapes, and adjacent layers can morph from one contour to another.
33. Segmented Geometry Adjustment Method for Additive Manufacturing with Shrinkage Compensation
Desktop Metal, Inc., 2018
A method to fabricate metal objects using additive manufacturing while accounting for shrinkage during post-processing steps like debinding and sintering. The method involves dividing the 3D model into segments, calculating predicted deformations for each segment, and then adjusting the segment geometries to compensate for those deformations. This modified segment geometry is then used to print the object. After printing, the object undergoes debinding and sintering which causes further deformations. However, since the initial print already accounted for some of the deformation, the finished object more closely matches the original design compared to uniform scaling.
34. Multi-Material 3D Printing Method with Selective Extrusion for Layered Building Fabrication
Jiangsu Dunchao Electronic Technology Co., Ltd., 2018
Multi-material 3D printing method for building construction that enables fabricating functional buildings with multiple materials using multiple print heads. The method involves creating a CAD model with defined material distribution for each layer. During printing, the print heads selectively extrude the appropriate material based on the CAD data for each layer. After printing, surface finishing, wiring, and post-processing steps are performed to complete the building with a variety of materials.
35. 3D Printing Method with Interlocking Layered Partial Regions Forming Comb-Like Connections
KLAUS STADLMANN, 2018
3D printing method for manufacturing objects with better strength and without gaps between layers. The method involves dividing each layer into interlocking partial regions that engage and overlap at the edges. This creates a comb-like connection between adjacent regions. The regions are developed separately to form the layer. The overlapping regions have protrusions that interlock to prevent separation. This improves cohesion between adjacent regions and prevents gaps. The interlocking regions form the layer when developed together. The partial regions can have different patterns and dimensions layer by layer.
36. Additive Manufacturing Method Utilizing Distance Field-Based Isosurface Layering for Support-Free 3D Printing
RUHR-UNIVERSITÄT BOCHUM, 2018
Additive manufacturing method to 3D print complex shapes without support structures. The method involves calculating the position and arrangement of layers by determining a distance field from starting surfaces. Each point is assigned the shortest distance to the nearest starting surface. Isosurfaces with equal distances are created. These isosurfaces form the free-form layers that make up the 3D object. By using motion paths for multi-axis machines, the layers can be printed without collisions. The isosurface distances are modified at vertices to avoid overlap. This allows localized solidification without support structures.
37. 3D Printing Method for Custom Internal Support Structures with Orientation-Based Segmentation
Textron Aviation Inc., 2018
Improved 3D printing method to generate custom internal support structures for 3D printed parts with voids between surfaces. The method involves slicing the 3D model into segments with preferred orientations based on the geometry of the void. This allows custom support structures to be printed inside the void with tailored thickness, density, and orientation independent of the build plane. This provides optimized support for the specific forces and stresses inside the void, improving part strength and stiffness compared to standard rectilinear infill patterns.
38. Additive Manufacturing Method with Removable Support Structures for Complex Geometries and Overhangs
CONCEPT LASER GMBH, 2018
Additive manufacturing method for 3D printing objects with complex geometries and overhangs by using support structures that can be easily removed without damaging the printed object. The method involves creating a support structure alongside the printed object during the layer-by-layer printing process. The support structure is designed to have a partial supporting effect on the printed object. This allows the printed object to be fully enclosed and supported during printing, even with undercut or overhang features. After printing, the support structure can be easily removed since it is not directly bonded to the printed object. This provides improved support for complex shapes compared to traditional support structures that are separate and must be manually removed.
39. Additive Manufacturing Method for Layered Continuous Fiber Reinforced Composite Structures
Advanced Manufacturing Technology Research Center of the China Academy of Machinery Science and Technology, 2018
Additive manufacturing method for continuous fiber composite materials that allows 3D printing of high performance fiber reinforced composites with improved strength and performance for aerospace and defense applications. The method involves layering fiber reinforcement materials along the Z-axis, printing continuous fibers between the reinforcement layers, filling with thermoplastic matrix, compacting and melting to fully encapsulate the fibers and reinforcement. This allows 3D printing of complex composite parts with high fiber volume fraction and interlaminar strength.
40. 3D Printing Method for Orienting Digital Models Using Strain Analysis and Tensile Strain Alignment
Stratasys, Inc., 2018
Printing 3D parts with additive manufacturing systems by orienting the digital models based on strain analysis to improve part strength. The method involves generating strain data from the digital model, determining the dominant and secondary tensile strain directions, and then orienting the model so those directions align with the build plane. This aligns the high strain areas with the stronger intralayer bonds rather than the weaker interlayer bonds.
41. 3D Printer with Independently Adjustable Vertical Axis Nozzle and Platform Mechanisms
Inventec Appliances (Pudong) Corporation, Inventec Appliances (Shanghai) Co., Ltd., Inventec Appliances Corp., 2018
A 3D printer with adjustable printing height to enable printing very tall objects without needing a large machine. The printer has a movable nozzle bracket and a movable platform to be elevated along the vertical axis. The nozzle bracket is driven by a motorized screw rod, and the platform by a separate motorized screw rod to adjust the distance between them independently. This allows extending the printing height range beyond the fixed vertical axis length. The nozzle bracket also has a 2D moving module to adjust the printing position.
42. Method for Dynamic Compensation of Layer Height Variations in 3D Printing
Zhuhai Seine Printing Technology Co., Ltd., 2017
Method for accurate 3D printing of objects by dynamically compensating for layer height variations during printing. The method involves printing only one part of the object in each cycle, determining the unprinted part's shape based on the printed parts, and then compensating for any layer height differences between actual and theoretical values in the next part to be printed. This enhances accuracy and quality by mitigating issues like material shrinkage, droplet size, and environmental effects that can affect layer thickness.
43. Method for Producing Large 3D Objects Using Combined Additive Manufacturing Techniques with Distinct Object and Boundary Processes
EOS GMBH ELECTRO OPTICAL SYSTEMS, 2017
Generative manufacturing method for producing large 3D objects by combining two different additive manufacturing processes to create a delimited object inside a boundary area. The method involves using two distinct manufacturing techniques, one for the object itself and another for the enclosing boundary, instead of trying to create both inside the same process. This allows more efficient and time-saving production of large objects by breaking them into separate parts.
44. Additive Manufacturing Method Utilizing Electrophotography Engines for Layer Merging of Oversized 3D Parts
Eastman Kodak Company, 2017
A method for additive manufacturing of large 3D parts using electrophotography engines that allows making parts larger than the printing area of the engine. The method involves forming the support structure and 3D part layers separately using electrophotography engines, then transferring them to a transfusion assembly where they are merged into a single layer. This allows building large parts by stitching together multiple engine-sized layers.
45. Additive Manufacturing Method Utilizing Polyhedral Unit Arrangements for Thermal Stress Dispersion
Industrial Technology Research Institute, 2017
Additive manufacturing method for 3D printing objects with reduced thermal stress and improved quality. The method involves dividing the 3D model into repeat arrangements of polyhedral units with acute/obtuse angles. This allows dispersing the thermal stress between layers as the object is built up. The units are scanned separately with energy beams in different vectors to avoid adjacent layers having the same scanning direction. This prevents concentrated stress.
46. Layered Additive Manufacturing System with Electrophotographic Printing and High-Strength Boundary for Support Structure Stabilization
Stratasys, Inc., 2017
Additive manufacturing of 3D parts using electrophotography with improved accuracy by preventing deformation of the support structure during printing. The method involves printing the support structure and part in layers, transferring them to a build platform, and fusing them together under pressure. A boundary around the support resists lateral expansion during printing to prevent deformation. This prevents registration errors and overlay misalignment when building the 3D part. The boundary material is chosen to have higher strength than the support material.
47. 3D Printing Device and Method with Selective Solidification for Removable Support Structures
EOS GMBH ELECTRO OPTICAL SYSTEMS, 2017
A method and device for producing 3D printed objects with easily removable support structures. The method involves applying layers of material and selectively solidifying them to form the object shape. An envelope region around the object is less consolidated. After printing, the envelope is removed by blasting. This allows the object to be separated without damaging it. The device has a coater to apply layers and a selective solidification device. A control unit repeats applying and solidifying steps. It consolidates the envelope less than the object. This enables easy removal of the envelope after printing.
48. 3D Object Partitioning and Connector Generation for Sequential Printing and Assembly
ELECTRONICS AND TELECOMMUNICATIONS RESEARCH INSTITUTE, 2017
Automatically printing 3D objects that are larger than the printing area of a 3D printer by automatically partitioning the object into pieces that will fit in the printer, generating connectors between the pieces, and then printing and assembling the partitioned pieces.
49. Apparatus and Method for Layered 3D Object Production with Support Structure Having Variable Strength Zones
EOS GMBH ELECTRO OPTICAL SYSTEMS, 2016
Method and apparatus for producing 3D objects using selective solidification of powder layers. The method involves building a support structure first, with a weaker area closer to the base that is easier to cut through. This allows easier removal of the support once the object is complete. The apparatus has a powder applicator and selective solidification system that repeats layers until the object is built. The control unit is configured to implement this method by first forming the support structure with the weakened area.
50. 3D Printing Skirt with Perforated Interface and Controlled Connector-to-Gap Ratio
HSBC BANK USA NA, 2016
Reducing warping of 3D printed objects during the printing process without needing post-processing steps like rafts or anchors that can leave defects. The technique involves depositing a skirt around the object that has a perforated interface between the skirt and object perimeter. The perforated interface has a connector-to-gap ratio less than 2:1. This allows the skirt to adhere better to the print bed while preventing curling of the object by creating a transition region. The skirt width can be determined based on the object geometry. The perforated interface provides a controlled connection between the skirt and object to reduce warping without requiring removal or leaving defects.
Owing to these advancements, larger items can now be produced using additive manufacturing without any loss of structural integrity. The solutions provide novel possibilities for a more flexible and productive 3D printing landscape by resolving the obstacles involved in creating huge printed components.
Get Full Report
Access our comprehensive collection of 53 documents related to this technology
