Multi-Material in 3D Printing
Multi-material 3D printing faces significant process control challenges at material interfaces, where variations in thermal properties, viscosity, and cure kinetics can lead to delamination and structural weakness. Current systems achieve dimensional accuracies of ±0.1mm for single materials, but interface quality degrades when combining materials with different glass transition temperatures or thermal expansion coefficients.
The fundamental challenge lies in maintaining precise control over material properties and interface characteristics while coordinating the deposition or fusion of multiple materials with different processing requirements.
This page brings together solutions from recent research—including series-enabled multi-material extrusion techniques, microfluidic bioink integration systems, specialized multi-component filaments, and parameter optimization algorithms for material interfaces. These and other approaches focus on achieving reliable material transitions while maintaining dimensional accuracy and structural integrity in finished parts.
1. Multi-Material 3D Printing Using Multi-Node Purge Tower with Subdivided Structure
Stratasys, Inc., 2024
Printing multi-material parts using a purge tower technique to efficiently utilize multiple print heads on a 3D printer. The technique involves printing a multi-node purge tower alongside the multi-material part being printed. The purge tower has multiple subdivisions that touch and support each other. The subdivisions are assigned to the print heads used for the multi-material part. This brings the heads from standby to printing condition. After printing the purge tower, the part is printed using the activated heads. The purge tower provides a stable structure for tall prints and prevents toppling. The closed toolpaths and non-overlapping subdivisions ensure proper head movement.
2. 3D Printing Method Using Core-Shell Nozzle for High Filler Content and Smooth Surface Fabrication
SIGNIFY HOLDING B V, SIGNIFY HOLDING BV, 2024
A method for 3D printing objects using a fused deposition modeling (FDM) printer that allows producing items with high filler content and smooth surfaces. The method involves using a core-shell nozzle with a separate feeder for particulate filler material and a feeder for filament. The filler is fed to the extruder and the filament to the shell of the nozzle. This enables creating a core-shell extrudate during printing with a filler-rich core enclosed by a filament shell. The core-shell extrudate is then deposited layer by layer to form the 3D printed object. The core filler content can be much higher than in conventional FDM printing. The core-shell structure also allows smoother surfaces compared to using fillers in the filament.
3. 3D Printing Method for Semi-Crystalline Polymers with Controlled Thermal Cycling
SIGNIFY HOLDING B V, SIGNIFY HOLDING BV, 2024
A method for 3D printing items using semi-crystalline polymers like polyethylene that prevents warping and adhesion failures during printing. The method involves selectively cooling and heating the build plate and printed layers to optimize crystallization and melting. This allows the semi-crystalline polymers to adhere to the plate during printing and then solidify for strength. The steps include: 1) depositing the polymer on the plate at a high temperature to melt it and adhere it. 2) cooling the deposited layers below their crystallization temperature. 3) raising the plate temperature to below the polymer's melting point. 4) continuing printing with the higher plate temperature and lower layer temperature to prevent warping and adhesion failures. 5) removing the printed item at room temperature. This sequence enables the semi-crystall
4. 3D Printing Method Utilizing GRAPE Format and Adaptive Recipe System for Material-Specific Parameter Encoding
COPNER BIOTECH LTD, 2023
Method to accurately 3D print complex models using a custom data format called GRAPE (Graphical Rectangular Actual Positional Encoding) and a flexible recipe system for printing materials. The GRAPE format describes 3D models as assemblies of rectangular shapes, allowing accurate printing of complex geometries. The recipe system lets operators define printing parameters like flow rate and material properties for specific materials. The recipes are converted to XML files used by the printer to print accurately. The recipe system also enables adaptive printing techniques for different material viscosities.
5. Multi-Material 3D Printing System with Sequential Deposition, Solvent Extraction, and Curing Stations
Sakuu Corporation, 2023
Multi-material 3D printing system with gradual drying and curing to increase speed, reduce shrinkage and distortion compared to traditional inkjet 3D printing. The system has separate material deposition, drying, and curing stations. It uses a delivery system to move the printed layers through multiple extraction units that gradually remove solvent. This allows faster drying compared to all-in-one solvent evaporation. The printed layers are then transferred to curing stations for final curing before being stacked.
6. Series-Enabled Multi-Material Extrusion for Single-Extruder 3D Printing
Mosaic Manufacturing Ltd., 2023
3D printing complex objects with multiple materials from a single extruder in a way that avoids the limitations of parallel feed methods. The series-enabled multi-material extrusion (SEME) technique allows 3D printing of objects with different materials without needing multiple extruders or parallel feeds. It involves sequentially feeding together sections of different material filaments into the printer extruder to create a continuous multicomponent filament. The printer toolpath is coordinated with automated filament splicing to change materials on the fly during printing.
7. Nozzle-Based Controlled Powder Release System for Multi-Material Additive Manufacturing
Lawrence Livermore National Security, LLC, 2023
Additive manufacturing of multi-material 3D-printed parts uses controlled powder release from the nozzle to deposit powders selectively in each layer. A nozzle releases granular powder from a reservoir to form layers of a part. An excitation source applies a signal to the nozzle to control the powder release pattern for each layer. This allows printing parts with different powders in each layer. The powders can be selectively sintered to form the final part.
8. Multi-Material Additive Manufacturing System with Multiple Tool Heads for Simultaneous Deposition
The Trustees of Princeton University, 2023
A device and method for additive manufacturing of multi-material objects using 3D printing. The technique involves using multiple tool heads with different compositions like cement paste, thermoplastic polymer, and elastomeric polymer. The tool heads can simultaneously deposit these contrasting materials to create structures with composite properties. The process involves adjusting parameters like speed and temperature to control material properties and enable compatibility between adjacent layers. A planning system determines the optimal toolpaths for depositing the various materials.
9. Additive Manufacturing System with Selective Fusing of Colored Powder Using Monochromatic Light and UV-Absorbing Agents
Hewlett-Packard Development Company, L.P., 2023
Printing multi-colored 3D objects using fusing agents to heat and fuse colored powder-build material selectively. The additive manufacturing system deposits colored fusing agents matching subtractive colorants like magenta, yellow, and cyan. It also deposits a colorless UV-absorbing agent. The system uses monochromatic light sources to fuse colored areas selectively. A controller adjusts irradiation to compensate for different color intensities.
10. Roller-Based Powder Deposition System with Selective Adhesion for Fabricating Hierarchical Graded Materials
Xerox Corporation, 2023
Roller-based deposition of multiple powders to fabricate hierarchical, graded materials like functionally graded objects. The powders are selectively adhered to treated regions on a roller surface. The roller transfers the powders to a substrate to build up layers of the graded material. The treatment of the roller regions induces affinity with specific powders.
11. Additive Manufacturing System for Medical Devices Using Multi-Filament Melting and Mixing
Medtronic, Inc., 2023
Additive manufacturing of medical devices, such as catheters and leads, allows for a wider range of filament materials to create a wider range of resulting catheter or lead characteristics compared to existing techniques. The process involves feeding multiple filaments into a heated chamber, where they melt and mix before being extruded to form the device. The system can use filaments with different hardness levels to achieve variable stiffness over the device length.
12. Additive Manufacturing Method for Multi-Material Components Using Parameter Models and Gradient Sample Data
WISCONSIN ALUMNI RESEARCH FOUNDATION, 2023
Producing multi-material components with additive manufacturing systems. The method involves identifying parameter models for each material, using observed data from gradient samples, and developing an algorithm that outputs optimal parameter values for each material. This allows controlling parameters like laser power and velocity to achieve desired component objectives when combining multiple materials.
13. Fused Filament Fabrication with Binder-Infused Filaments for In-Situ Release of Secondary Materials
Rolls-Royce Corporation, 2023
Additive manufacturing by fused filament fabrication (FFF) of components using specialized filaments that contain binders capable of releasing secondary materials like metals or ceramics when heated above a conversion temperature. This allows the printing of composite parts using a primary material that can be sintered into a final component, while the binder releases additional materials during sintering to add desired properties like alloying elements or fillers. The filament may also include a sacrificial binder that can be fully removed after printing/sintering to create voids or channels.
14. Automated Multi-Material Bioprinting System with Microfluidic Bioink Integration for Stereolithographic Printers
THE BRIGHAM AND WOMEN'S HOSPITAL, INC., PRESIDENT AND FELLOWS OF HARVARD COLLEGE, 2023
An automated multi-material bioprinting system that uses a microfluidic device to integrate multiple bioinks into a stereolithographic printer. The microfluidic device allows rapid switching between bioinks with minimal cross-contamination. This enables the precise fabrication of 3D tissue constructs with multiple cell types and biologically active components. The microfluidic system prevents cell aggregation during printing and creates heterogeneous tissue-like structures.
15. Bioprinter with Fixed Extruders and Movable Build Plate for Layered Organ-on-a-Chip Fabrication
THE REGENTS OF THE UNIVERSITY OF COLORADO, A BODY CORPORATE, 2023
Bioprinter with multiple extruders to create organ-on-a-chip devices like lung-on-a-chip for drug testing. The bioprinter has a cabinet housing fixed extruders and a movable build plate mounted on XYZ stages. The extruders deposit materials like bioinks onto the build plate to create chips with microchannels and tissue scaffolds. The build plate movement allows layer-by-layer printing. The extruders can also be coaxial to print hollow channels. The chip can be seeded with cells and perfused to mimic organ function. The bioprinter enables automated manufacturing of organomimetic devices for drug testing and research.
16. 3D Printing System with Material Switching and In-Situ Electroless Plating for Composite Metamaterial Fabrication
SONG KEWEI, 2023
Manufacturing process and equipment for composite structural metamaterial parts with complex shapes and functions. The process involves using a 3D printer with material switching capability to print the part in stages. In each stage, the printer selectively deposits different materials like metals, oxides, and carbon nanomaterials based on the desired topology. This allows creating composite structures with unique properties. An in-situ electroless plating system is integrated into the printer to further enhance the material versatility. The equipment setup includes an isolation platform, 3D printer, material switching machine, communication system, and integrated plating system.
17. 3D Printer with Modular Active and Static Mixing Systems for Continuous Functionally Gradient Material Fabrication
QINGDAO UNIVERSITY OF TECHNOLOGY, QINGDAO 5D INTELLIGENT ADDITIVE MANUFACTURING TECHNOLOGY CO., LTD., 2023
3D printer for manufacturing continuous functionally gradient materials and complex 3D structures. The printer has separate modules for active mixing of materials, static mixing and printing. The active mixing module has multiple feeders to mix components before passing to the static mixing module. This allows uniform blending of dissimilar materials like liquids and powders. The static mixing module prevents settling during printing. The printer also has a constraining and sacrificial layer module to create the complex shapes with gradient properties.
18. Method for 3D Printing with Independently Controlled Core and Shell Nozzles for Layer-Specific Material Variation
SIGNIFY HOLDING B V, SIGNIFY HOLDING BV, 2023
Method for 3D printing items with varying core and shell materials in each layer to create parts with customized properties. The method uses a 3D printer with a coreshell nozzle containing an inner core nozzle and outer shell nozzle. During printing, the inner and outer nozzles can be independently controlled to vary the arrangement and dimensions of the core and shell materials escaping from the printer. This allows creating 3D printed items where the core and shell properties change within a layer or between layers. The varying core and shell materials can have different mechanical, thermal, or optical properties. The resulting 3D printed items have customized properties compared to uniform core or shell layers. The method provides a way to locally control and optimize properties in 3D printed parts.
19. Multi-Head 3D Printing System with Resin Pool Formation and Residual Material Collection Mechanism
BMF Nano Material Technology Co., Ltd, 2023
High-resolution 3D printing over a large area using multiple materials involves using multiple printing heads, each covered in a different material, to print a multi-material sample. The heads have surrounding nozzles that pump resin to form a raised pool above the free surface. This allows subsequent layers to be printed without touching the vat's entire bottom surface. Suction nozzles between vats collect residual uncured material when the sample moves between materials.
20. 3D Printing System for Simultaneous Multilayer Material Deposition with Integrated Material Recovery and Recycling Mechanism
TDK Electronics AG, 2022
3D printing of multilayer components with separate material layers that can be printed more efficiently, resource-savingly, and cost-effectively than current methods. The key idea is to apply multiple layers of material simultaneously to a conveyor belt, allow excess to be recovered, then selectively recycle it back into the appropriate dispensers for the next layer. This avoids waste and enables printing separate materials in the same build without assembly. The printed components have separated layers that are chemically bonded directly together. The conveyor belt passes through a radiation source to cure the layers. Cleaning removes any residue between layers. This allows printing components with layers of different materials without complex assembly or excess material.
21. Three-Dimensional Printing System with Rotating Transport Element and Integrated Defect Correction for Continuous Fiber Reinforced Polymers
BURSA ULUDAG UENIVERSITESI, Bursa Uludağ University, 2022
Three dimensional printing system and method to reduce form defects and improve strength of 3D printed objects made with composite materials containing continuous fiber reinforced polymer. The system uses a rotating transport element with an inner channel that moves the printing material. A heating element melts the material on the surface, then a pressing element compresses it. This improves adhesion between layers. A correction element removes defects after printing. The system also has a heat exchanger to prevent heat transfer between elements. A sensor detects position.
22. 3D Printing Process with Defect Scanning and Adaptive Parameter Adjustment for Multicomponent Thermosetting Resin Layers
CHROMATIC 3D MAT INC, CHROMATIC 3D MATERIALS INC, 2022
3D printing process for making high resolution 3D objects using multicomponent thermosetting resins. The process involves scanning each printed layer for defects, creating a perturbation profile, and adjusting parameters like composition and deposition path for subsequent layers to compensate and improve resolution. This adaptive printing mitigates issues like thickness variations, sagging, and gap widths in multilayer 3D prints made with reactive resins.
23. 3D Printer with Multi-Material Layering via Controlled Platform Movement
TDK ELECTRONICS AG, 2022
3D printer, printing method, and multilayer part for additive manufacturing of parts with multiple materials in an efficient, resource-saving, and cost-effective manner. The printer has a build platform that can move vertically and horizontally. The printing method involves printing successive layers of different materials by selectively moving the build platform to the desired location for each material. This allows printing multilayer parts with distinct materials without using support structures or separate printing processes. The printer can efficiently print parts with multiple materials by precisely controlling the platform movement between layers.
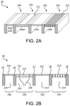
24. Multi-Material 3D Printing Apparatus with Integrated Coating, Curing, and Vacuum Cleaning Printheads
UNIVERSITY OF SOUTHERN CALIFORNIA, 2022
Curing-on-demand (COD) multi-material 3D printing method for fabricating 3D objects using multiple materials. The method uses printhead devices with coating, curing, and cleaning sections to deposit, solidify, and remove uncured resin layers. Multiple printheads are combined in a printer to deposit different materials in each layer. A vacuum process cleans uncured resin after curing. The printheads are moved over the object and controlled by a computer program to perform the layer-by-layer selective coating, curing, and cleaning steps. The apparatus uses a build platform and light source along with the printheads.
25. Multi-Material 3D Printing System with Curing-On-Demand Printheads Incorporating Coating, Curing, and Cleaning Sections
UNIVERSITY OF SOUTHERN CALIFORNIA, 2022
Multi-material 3D printing using curing-on-demand printheads that enable accurate layer-by-layer deposition of multiple materials without contamination. The printheads have sections for coating, curing, cleaning, and optional post-curing. The coating section dispenses resin, the curing section exposes it to light, the cleaning section vacuum suctions off uncured resin, and the post-curing section further cures. This allows efficient cleaning and avoids mixing between materials. Multiple printheads register beneath the build platform to print the object layer by layer.
26. Method for 3D Printing Multi-Composition Ceramic Structures with Consistent Sintering Shrinkage Ratios
KOREA INSTITUTE OF MAT SCIENCE, KOREA INSTITUTE OF MATERIALS SCIENCE, 2022
A method for 3D printing multi-composition ceramic structures that can simultaneously manufacture three-dimensional structures with different compositions in one structure using ceramic 3D printing technology and secure a sound multi-composition ceramic three-dimensional sintered body. The method involves preparing printing materials with consistent sintering shrinkage ratios, printing parts of the structure with one material, and then printing adjacent parts with the second material. This prevents shrinkage mismatch issues during sintering that can cause cracking, peeling, and deformation between the compositions.
27. Modular 3D Printing System with Multi-Technology and Multi-Material Integration
Saku Corporation, SAKU CORP, 2022
A multi-material, multi-method 3D printer system that overcomes limitations of existing 3D printers by using multiple printer modules with different technologies and materials to create complex 3D objects with better accuracy and properties. The system has a central controller that sequences the modules to optimize build speed while using the right materials and technologies for each section. This allows depositing different materials with different resolution and properties in the same object. The modules can have jet binder, electrophotographic, directed energy, or other technologies. The modules transfer printed layers to an assembly station where they are stacked into the final 3D object. The system enables making 3D objects with customized material properties and accuracy by combining modules with complementary capabilities.
28. Multi-Module Three-Dimensional Printing System with Material-Specific Printer Modules and Coordinated Transfer Stations
KERACEL INC, 2021
Three-dimensional printing system that allows manufacturing complex objects with multiple materials and customizable properties by using multiple printer modules and transfer stations. The system involves a central computer coordinating multiple printer modules, each specialized for specific materials and accuracy needs. Printed parts are built layer by layer using these modules, then transferred and assembled. This allows optimized printing for each material instead of compromising with a single printer.
29. 3D Printing Method with Layer-Specific Powder Spreading Speed Adjustments for Variable Density Formation
HEWLETT PACKARD DEVELOPMENT CO, HEWLETT-PACKARD DEVELOPMENT COMPANY LP, 2021
3D printing objects with improved visual and mechanical properties by optimizing powder spreading parameters on a per object basis. The method involves adjusting the speed of spreading the powder layers during 3D printing to create layers with different densities within the same object. This allows balancing visual quality and mechanical strength by tailoring the powder spreading parameters to each layer rather than using uniform settings for the entire object.
30. Microfluidic Extrusion Printer with Lagged Path Control for Functionally Graded Ceramic Material Printing
HEBEI UNIVERSITY OF TECHNOLOGY, UNIV HEBEI TECHNOLOGY, 2021
Multi-material 3D printing method and microfluidic extrusion printer to enable 3D printing of functionally graded ceramic materials. The method involves lagging the printing path information compared to the material information. This is done to compensate for the delay in extruding high-viscosity ceramic slurry through the printer. The printer reads the material information normally but delays the print head movement. During this lag, the slurry fills the runner channels in the printer barrel. This eliminates the offset error due to the material mixing and conveying time.
31. Multimaterial 3D Printing Method with Synchronized Scale-Specific Deposition
BERNER FACHHOCHSCHULE, ETH ZUERICH, ETH Zurich, 2021
Flexible, fast 3D printing of complex, asymmetric products with multiple materials having different rheological properties. The method involves coordinated printing of multiple materials at different scales simultaneously. This allows production of products like food, cosmetics, and pharmaceuticals with customizable internal structures and functionalities. The method involves using dedicated printing devices adapted to the material scales. A control system coordinates the synchronized printing. The printed products have accurate dimensions and can be produced quickly.
32. Additive Printing Method for Batch Manufacturing with Parameter Variation and Selective Layer Bonding
L3F SWEDEN AB, 2021
Efficiently manufacturing multiple 3D products in a single batch using additive printing to reduce costs and time. The method involves printing the products in the same physical batch but allowing manipulation of parameters like layer thickness, binding strength, and material properties between products to optimize for each individual product. This allows flexible manufacturing of diverse 3D products in a single run. The technique involves selectively applying a bonding agent on the printed layers to consolidate and bind them together.
33. 3D Printing Method Using Sandwich Structure with Alternating Glass Transition Temperature Layers
SIGNIFY HOLDING BV, 2021
3D printing method that reduces warping of printed objects by using a sandwich structure with layers of materials with different glass transition temperatures. The method involves 3D printing a part with alternating layers of a lower transition temperature material between layers of a higher transition temperature material. This prevents warping because the lower transition temperature material allows the part to expand and contract more than the higher transition temperature material during cooling, minimizing differential shrinkage and distortion. The part is printed on a heated surface above its glass transition temperature to further reduce warping. The lower transition temperature material can be a plasticizer or modified polymer to adjust its properties.
34. Additive Manufacturing Method for Layered 3D Printing Using Variable Ratio Dual-Composition Mixtures
HENKEL AG & CO KGAA, 2020
Additive manufacturing method for 3D printing objects with customizable properties by using two different printable compositions that cure to materials with different properties. The method involves printing layers using a mixture of the two compositions in varying ratios. This allows creating objects with varying properties in different areas. The compositions should have distinct properties when cured. They can contain epoxies, acrylates, urethanes, silanes, or radiation/moisture curable polymers. The compositions can be extruded through a 3D printer head to form layers. The printed materials are cured to form the final object.
35. Voxel-Based Distance Field Method for Material Placement in Laminated 3D Part Fabrication
STRATASYS LTD, 2020
Generating print data for laminating 3D parts using voxel-based distance fields to improve material placement accuracy in laminated modeling. Instead of relying on boundary representations to control material transitions, it calculates distances from the part boundary and uses that to determine material instructions for each voxel. This avoids issues with interference, Boolean operations, and grid generation when using boundary representations.
36. Method for Fabricating 3D Integrated Composite Structures with Alternating Continuous and Chopped Fiber Layers
NORTHROP GRUMMAN SYSTEMS CORPORATION, 2020
A method for fabricating high performance 3D integrated composite structures using additive manufacturing that addresses the challenges of conventional 3D printing techniques to produce high-performance composites with good mechanical properties. The method involves alternately depositing layers of continuous fiber filaments and chopped fiber filaments with polymer. This provides a balanced fiber volume and polymer content in the layers to improve adhesion between adjacent layers and avoid dryness issues that can lead to defects and reduced strength. The alternating layers of continuous and chopped fibers also help align the fibers in different directions to better match the stress directions in the final part.
37. 3D Printing Method with Alternating Clockwise and Counterclockwise Layer Deposition for Mixed Material Objects
BASF SE, 2020
A method to print 3D objects using a 3D printer that reduces delays and improves quality when printing objects with mixed organic and inorganic materials. The method involves printing layers clockwise and counterclockwise alternately, with the number of clockwise prints equal to the counterclockwise prints. This prevents layer distortion and warping that can occur when printing with mixed materials. The printed object has consistent layer thickness and geometry, avoiding issues like layer separation or uneven density.
38. Modular Three-Dimensional Printing System with Multi-Technique Layer Deposition and Assembly
KERACEL, INC., 2020
Three-dimensional printing system that allows creating complex objects by assembling printed layers with different materials and resolutions. The system uses multiple printer modules with different deposition techniques like jetted binder, electrophotography, etc. Each module creates precise single-layer objects. These objects are transferred to a build station where they're assembled into the final 3D part. The modular setup enables choosing the best deposition method for each material and resolution requirement. This allows building objects with mixed materials and features at different scales.
39. Multi-Material 3D Printing Inputs with Layered Filament or Rod Cross-Sections via Coextrusion Techniques
Guill Tool & Engineering Co, Inc., 2020
3D printing inputs that can be used to build objects with multiple materials and structures. The inputs are filaments or rods that contain layers or sections of different materials separated into flat or wrapped cross-sections. These inputs can be made by coextrusion, microlayer coextrusion, or multicomponent/fractal coextrusion. The layers can be in a flat orientation or wrapped around a core. The inputs can be used in 3D printers to build objects with multiple materials and structures.
40. 3D Printer with Multi-Powder Feeder System for Region-Specific Alloy Composition
EFFUSIONTECH IP PTY LTD, 2020
3D printer for producing customized metallic objects with controlled properties in different regions by selectively using multiple metallic powders during printing. The printer has multiple hoppers with different powders, a feeder system to mix and deliver the powders at controlled rates, and a nozzle to spray them onto a substrate. A computerized controller coordinates the powder selection and ejection to create an object with distinct alloy compositions in different regions. This allows tailoring the mechanical, electrical, thermal, etc. properties of the printed object by precisely controlling the powder mix in each area.
41. Method for Manufacturing Automotive Parts via Dual-Nozzle 3D Printing with Integrated Fiber Reinforcement
CHINA FAW GROUP CORP, 2020
Method for rapidly manufacturing customized automotive parts like mufflers using 3D printing instead of traditional injection molding. The method involves creating a digital model of the part, then 3D printing it layer by layer using a dual-nozzle printer with a resin nozzle and a continuous fiber nozzle. The resin nozzle prints the main material, while the fiber nozzle adds reinforcement fibers at selective layer interfaces. This allows customized designs with integrated fiber reinforcement without requiring molds. The 3D printing process is faster and more versatile for small batch, multi-variety production compared to injection molding.
42. Method for 3D Printing Multi-Material Models with Integrated Auxiliary Structure for Material Reuse
KINPO ELECTRONICS INC, XYZPRINTING INC, 2019
A method for 3D printing multi-material models that reduces material waste and cost by reusing remaining material. The method involves smoothly transitioning between printing the auxiliary structure with leftover material and the main structure with the correct material. When a color change occurs during printing, instead of discarding the leftover material, the print head moves to the auxiliary structure to finish printing it using the remaining material. This allows reusing the leftover material instead of wasting it. After the auxiliary structure is completed, the print head returns to the main structure to continue printing using the correct material.
43. 3D Printed Object with Alternating Auxetic and Non-Auxetic Layered Structure
Konica Minolta Laboratory U.S.A., Inc., 2019
3D printing of objects with a combination of auxetic and non-auxetic structures to improve strength and rigidity while reducing weight. The 3D printed object is made of alternating layers of auxetic and non-auxetic blocks. The auxetic blocks have a disordered network or a Cosserat elastic structure. The non-auxetic blocks are solid. The combination provides improved tensile strength and rigidity compared to a regular 3D printed object of the same size and shape.
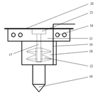
44. Chambered 3D Printer Head with Rotating Mixer and Heating Element for Construction Materials
COLLEGE IND COOPERATION GROUP OF YONGIN SONGDAM COLLEGE, COLLEGE-INDUSTRY COOPERATION GROUP OF YONGIN SONGDAM COLLEGE, 2019
3D printer for construction materials that mixes the printed material inside the printer head to prevent curing and hardening issues. The printer has a chambered head with a mixer inside that rotates to blend the construction materials. This allows mixing and dispensing of dissimilar materials that cure when combined. A heater can delay curing further. The head design prevents material hardening inside.
45. Method for 3D Printing Using Dual Printheads with Variable Layer Thickness for Boundary and Core Layers
BIBUS MENOS SP Z O O, 2019
Method for 3D printing objects with improved speed and properties by selectively applying different material thicknesses in boundary vs core layers. The method involves using a primary printhead with a fixed material extrusion capacity to print the boundary layers around the object. For the core layers inside the object, a secondary self-propelled printhead with higher material extrusion capacity is used. This allows thicker core layers to be printed faster without sacrificing surface quality. After all boundary layers are printed, the core volume is filled with resin in a single operation. This separates the high-quality boundary layers from the lower-quality core layers, reducing print time without degrading surface finish.
46. 3D Printing Method with Separate Height Deposition for Smooth Surface and Enhanced Mechanical Integrity
STRATASYS LTD, 2019
3D printing objects with smooth surfaces and improved mechanical properties by avoiding rough interfaces between the printed body and support materials. The method involves printing the body and support structures separately at different heights instead of layering them together. This prevents mixed droplets and rough interfaces that form when printing both materials simultaneously. After printing, the support structure is removed leaving a smoother, crack-free body surface.
47. 3D Printing Technique Using Variable Strand Widths for Enhanced Density and Reduced Porosity
DESKTOP METAL INC, 2018
3D printing method to produce dense parts with reduced porosity and internal voids. The method involves printing the initial layers of strands with narrow widths, then filling the gaps between them with wider strands. This allows complete filling of the gaps without overextruding. The narrow initial strands provide structure, while the wider fill strands densify the gaps. The extrusion rate and temperature can be different for the initial and fill strands.
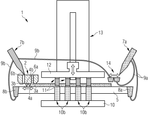
48. Single Printhead Multi-Material 3D Printing Apparatus with Integrated Mixing Agitator
Qingdao Technological University, 2018
Using a single printhead, 3D printing method, and multi-material and multi-scale 3D printing apparatus. The apparatus has a printhead with compartments for multiple materials and an agitator to mix them thoroughly. This allows jet printing of multiple materials from a single printhead. The printhead is mounted above a substrate, and relative motion in X, Y, and Z directions is used to print objects with controlled geometry and microstructures.
49. FDM 3D Printing System with Tool Path-Based Extrusion Temperature and Flow Rate Adjustment
SWAPNIL SANSARE, 2018
A system for 3D printing using FDM that improves the strength and reliability of printed objects. The system monitors the tool path length in the G-code file and adjusts the extrusion temperature and flow rate based on the geometry of the object being printed. Longer tool paths trigger incremental temperature increases to prevent warping, while infill sections have higher flow rates. This optimizes the material properties for different parts of the print. The system also monitors material consumption to detect and recover from extrusion failures.
50. 3D Printer with Separate Output Units for Sequential Deposition of Heterogeneous Materials
WHOBORN INC, Hubone Co., Ltd., 2018
3D printer that allows mixing and printing of heterogeneous materials like conductive and non-conductive materials without requiring separate processing steps. The printer has separate output units for solid, liquid, and clay materials. The printer selectively operates the output units to print heterogeneous composites by sequentially depositing the materials. This allows printing conductive and non-conductive materials together without mixing issues. The printer can also protect the mixed materials from the solid material by selectively using an additional output unit.
A variety of methods for accomplishing multi-material 3D printing are shown in this list of patents. New filament materials, accurate ink formulas, and rapid, high-speed printing of intricate objects are all part of these techniques. The capabilities and potential uses of 3D printing in a variety of industries are growing as these technical breakthroughs continue.
Get Full Report
Access our comprehensive collection of 66 documents related to this technology
