Deformation Prevention in 3D Printing
In additive manufacturing, dimensional accuracy is compromised by thermal gradients, residual stresses, and material phase changes. Parts experience volumetric changes of up to 2% during printing and post-processing, with particularly significant deformation occurring in overhanging features and areas of concentrated thermal input. These effects manifest as warping, cracking, and dimensional inaccuracies that can render precision parts unusable.
The fundamental challenge lies in managing the complex interplay between thermal history, material properties, and geometric constraints throughout the build process and subsequent thermal treatments.
This page brings together solutions from recent research—including heat-aware toolpath optimization, substrate material selection for thermal management, predictive distortion compensation, and advanced material formulations with controlled shrinkage behavior. These and other approaches provide practical strategies for achieving dimensional accuracy in additive manufacturing while maintaining production efficiency.
1. 3D Printing Method with Laser Power Modulation Based on Layer Temperature Monitoring
Guangdong Hanbang Laser Technology Co., Ltd., GUANGDONG HANBANG LASER TECHNOLOGY CO LTD, 2024
3D printing method that reduces internal structure coarsening and improves part performance by controlling laser power to prevent excessive temperature accumulation during printing. The method involves monitoring the temperature of the printed layer and comparing the temperature increase between layers. If the increase exceeds a set threshold, the laser power is reduced to slow down or prevent further temperature rise. This prevents internal structure coarsening and growth that can degrade part performance due to excessive temperature accumulation during long print times.
2. 3D Printing Error Reduction via Geometry-Responsive Dynamic Parameter Adjustment
Florida State University Research Foundation, Inc., 2024
Reducing errors in 3D printing by dynamically adjusting printer parameters based on the printed object geometry. The method involves identifying areas prone to printing defects, like gaps or under/over extrusion, and adjusting printing speed, extrusion rate, and linewidth in those areas to compensate. The adjustments are made using a model that predicts where defects are likely to occur based on the printing path. This allows customizing printer kinematics to prevent internal defects without sacrificing speed.
3. 3D Printing System with Dynamic Surface Roughness Adjustment for Layer Bonding
INTERNATIONAL BUSINESS MACHINES CORPORATION, 2024
3D printing method and system that dynamically adjusts the surface roughness of printed layers during multi-layer 3D printing to improve bonding between adjacent layers. After printing a layer, a surface modification component is used to add roughness if necessary based on parameters and detected features. This allows optimizing the surface texture for each layer to enhance layer adhesion.
4. 3D Printer Heating Control Method with Preheating and Stirring Mechanism for Uniform Material Temperature
SHENZHEN ANYCUBIC TECH CO LTD, SHENZHEN ANYCUBIC TECHNOLOGY CO LTD, 2024
Heating control method for 3D printers that prevents material solidification and improves print quality by preheating the printing environment before starting a print. The method involves stirring the print material in the storage chamber using the print platform and then heating the printer environment using a heater. The heater temperature is adjusted based on the ambient temperature to maintain a desired environment. This ensures even heating of the material without local hotspots, preventing solidification and improving print quality.
5. 3D Printing System with Synchronous Preheating and Flattening Mechanisms on Dual Sides of Print Head
SUZHOU MEAMAN MACHINES CO LTD, 2024
3D printing system with improved layer fusion and printing quality. It uses preheating and flattening systems on both sides of the print head to better fuse the printed layers. The system has two layer processing systems, one on each side of the print head, that move synchronously with the print head. Each system has a preheating apparatus to warm the previous layer before printing the next layer. This raises the previous layer temperature to better fuse with the new layer. After printing, a flattening roller on the opposite side compresses the layer to remove warping. The roller also cools the layer. By preheating and flattening on both sides, it improves layer fusion, reduces warping, and enhances print quality.
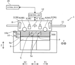
6. 3D Printing Method with Real-Time Temperature Monitoring and Adaptive Process Control for Metal Components
SIEMENS ENERGY GLOBAL GMBH & CO KG, 2024
3D printing method for manufacturing components with improved reliability in applications like continuous flow engines. It involves monitoring and adapting the 3D printing process in real-time based on temperature measurements. The method involves selectively melting metal powder layers to build the component. Temperature sensors continuously monitor the melted metal. If disadvantageous temperature spots are identified, the 3D printing process is automatically adjusted to prevent local overheating and remelting of lower layers. This prevents weaknesses and defects due to incomplete melting or remelting.
7. Concrete 3D Printing Control System with Real-Time Parameter Monitoring and Dedicated Control Unit
QINGHUAI RIVER ENVIRONMENTAL TECHNOLOGY ENGINEERING CO LTD, QINGHUAI RIVER NANJING ENVIRONMENTAL TECH ENGINEERING CO LTD, 2024
High-precision concrete 3D printing control system for improving accuracy, speed, and stability of concrete 3D printing. The system monitors and controls parameters like temperature, pressure, and concrete density in real time during printing to optimize printing quality. It uses a dedicated control system rather than a computer to coordinate and execute printing without the need for multiple computers. The control system also has sensors to detect issues during printing and adjust parameters accordingly. A quality detection module checks printed parts for defects, and a data analysis module optimizes printing efficiency and material usage.
8. 3D Printing Control System with Feedback Loop for Real-Time Parameter Adjustment Based on Material Properties
Hangzhou Geneofine Biotechnology Co., Ltd., HANGZHOU REGENOVO BIOTECHNOLOGY CO LTD, 2023
Control method and device for 3D printing that improves precision by using a feedback loop to adjust printing parameters based on real-time monitoring of the printing process. The method involves obtaining preset printing parameters, printing with them, monitoring the result, adjusting parameters based on the monitoring data, and synchronously obtaining overall structure information. It provides a system control strategy pre-constructed from material properties rather than just machine precision. This allows accurate matching of materials and machines to improve printing fidelity.
9. 3D Printing Parameter Configuration Method with Thermal Deformation Prediction Model Incorporating Laser Power, Scan Speed, and Direction
HUAXI JINGCHUANG MEDICAL TECH CHENGDU CO LTD, HUAXI JINGCHUANG MEDICAL TECHNOLOGY CO LTD, 2023
Optimizing 3D printing parameters to reduce thermal deformation in printed parts using a rapid prediction model. The method involves establishing a thermal deformation prediction model incorporating print parameters like laser power, scan speed, and direction. This model explores the impact of these factors on printing quality. By optimizing the joint parameters of laser power, scan speed, and direction using a multi-level multi-objective optimization algorithm, the method aims to find the print parameter configurations that maximize deformation reduction.
10. 3D Printing System with Bidirectional Preheating and Flattening Mechanisms
SUZHOU MEIMENG MACHINE CO LTD, 2023
3D printing system and method to improve quality and accuracy of 3D prints by optimizing layer adhesion and cooling. The system uses preheating and flattening mechanisms on either side of the extruder that engage based on extruder movement. When the extruder moves to one side, the preheater there heats the upper layer before printing, while the flattener on the other side remains off. Then when the extruder moves back, the preheater there is off and the flattener engages to flatten the printed layer. This prevents deformation of the upper layer while printing, improves fusion, and speeds cooling by contact.
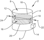
11. 3D Metal Printing Method Using Tacky Polymer Substrate with Low Thermal Conductivity
HEWLETT-PACKARD DEVELOPMENT COMPANY, L.P., 2023
3D printing metal objects without warping or cracking by using a tacky polymer substrate. The process involves spreading a layer of metal particles over a polymer substrate with low thermal conductivity and melting the unmasked metal with pulsed light to form each layer of the object. The polymer substrate reduces lateral heat transfer during melting, preventing warping and cracking.
12. 3D Printing Material Comprising Monofunctional Acrylate Monomers and UV Absorbing Initiators for Dental Models
SHOFU INC., 2023
A 3D printing material for dental applications that allows the fast production of accurate dental models. The material contains specific monomers and initiators that reduce polymerization shrinkage and deformation after printing. The key components are monofunctional acrylate monomers with an electronegativity difference of less than 1.0 between adjacent atoms and initiators with absorption bands of 350-450nm. The material may also include low-shrinkage polyfunctional methacrylates, non-dendritic polymers, fillers, and colorants.
13. Method for Generating Distortion-Compensated Geometry in 3D-Printed Parts Using Predictive Node Displacement Adjustment
General Electric Company, 2023
Generating distortion-compensated geometry for a workpiece by predicting and compensating for sintering-induced distortion in 3D-printed parts. The method involves comparing a post-sintering mesh to a model mesh, determining node displacements, and moving corresponding nodes in the green body mesh opposite to the predicted sintering displacement directions. The green body mesh is iteratively adjusted until the predicted post-sintering geometry meets the desired tolerances.
14. 3D Printer Bed Leveling System Utilizing Point Cloud Analysis for Height Compensation
ORBBEC CO LTD, 2023
Efficiently leveling the heated bed of a 3D printer to improve print quality. The method involves scanning the bed with a probe to generate a 3D point cloud of the bed surface. The cloud is processed to determine the bed's flatness. Compensation values are calculated based on the flatness data to adjust the bed height and nozzle position at specific locations. This compensates for bed warping and ensures consistent print bed-nozzle distances for each layer.
15. Toolpath Generation with Heat Management for 3D Printing
Siemens Industry Software Inc., 2023
Heat-aware toolpath generation for 3D printing of physical objects. The toolpath is generated with criteria that optimize the path to minimize heat accumulation and deformation during the print. The toolpath design accounts for factors like the amount of heat generated in a zone, the proximity to previously printed zones, and the time between printing zones to strategically plan the order and placement of printed paths. This reduces heat-related deformations and improves the quality of printed objects.
16. 3D Printing Method Using Grooved Support Structures for Constraining Sintering-Induced Distortion in Metal Parts
SEIKO EPSON CORPORATION, 2023
A 3D printing technique for reducing distortion in sintered metal parts made from powdered metal and binder. The method involves using a shaped support structure with grooves into which the part's projections fit. When the part is heated to sinter the metal powder, the support constrains the shrinkage direction to prevent distortion.
17. Additively Manufactured Cranial Remodeling Device with Customized Layered Structure and Integrated Functional Elements
CRANIAL TECHNOLGIES, INC, 2023
A cranial remodeling device to correct a deformed head of a subject. The device has layers conforming to the head shape and is additively manufactured using a data file derived from 3D scans of the subject's head. The technique captures head shape data, modifies it to a desired shape, and projects contour lines onto the modified shape to design the device. The additive manufacturing process prints customized layers with removable supports at the point of service. This enables accurate, one-step, in-clinic production of cranial devices without shipping delays. The technique can further include printing alignment marks, sensors, transducers, and fasteners for enhanced functionality.
18. Metal 3D Printing Method with Dynamic Layer Thickness Adjustment Based on Previous Layer Measurement
BEIJING E PLUS 3D TECH CO LTD, BEIJING E-PLUS-3D TECHNOLOGY CO LTD, 2023
Variable layer thickness metal 3D printing method that allows efficient and accurate printing of metal parts with varying layer thicknesses. The method involves dynamically adjusting the actual powder coating thickness for each layer based on the previous layer's printed thickness. This prevents waste by using the exact amount of powder needed for each layer instead of a fixed thickness. The adjustment is done by subtracting the previous layer's actual printed thickness from the set thickness to get the shrinkage, then adding it to the current layer's set thickness. This ensures accurate part geometry and quality when printing with variable layer thicknesses.
19. Real-Time 3D Printing Parameter Adjustment Method Using Deep Learning and Visual Feedback
BEIJING INSTITUTE OF TECH, BEIJING INSTITUTE OF TECHNOLOGY, 2023
A method to improve multi-degree-of-freedom 3D printing quality by using deep learning to predict and correct printing parameters in real-time. The method involves using a camera to continuously monitor the printing area and feed the images into a neural network to simultaneously predict the flow rate, lateral speed, longitudinal offset, and hot end temperature. If the predicted values deviate from normal ranges, it triggers parameter correction. The adjusted parameters are then sent back to the printer for closed-loop control. This allows self-regulation of printing parameters to prevent defects without manual intervention.
20. Ceramic 3D Printing System with Controlled Solvent and Binder Interactions for Layer Stabilization
Kiichi Kamoda, Hiroki Hagiwara, 2023
A method and apparatus for producing ceramic 3D printed objects with improved shape accuracy while preventing deformation and bleeding during shaping. The method uses secondary particles with a specific bulk density range, a solvent with a boiling point range, and binder resin with a specific energy difference to adjust solubility and drying rates. This balances the dissolution of the binder with drying to stabilize each layer.
21. Real-Time Multi-Parameter Synchronized Continuous Fiber Composite 3D Printing Process with Adaptive Temperature and Pressure Control
Dalian University of Technology, DALIAN UNIVERSITY OF TECHNOLOGY, 2023
A real-time multi-parameter matching continuous fiber reinforced composite material 3D printing assisted forming process that improves the bonding strength between layers of 3D printed composite components. The process involves coordinated adjustment of external temperature and pressure during printing based on feedback to match the material properties. An auxiliary heating mechanism and pressure application mechanism are activated during printing to reduce temperature differences, increase forming pressure, and enhance interlayer bonding. The auxiliary mechanisms are synchronized with the printer motion to enable continuous multi-parameter 3D printing.
22. Layer-by-Layer Calibration of Heating Sources in 3D Printing Using Thermal Sensors and Absorptive Modifiers
Stratasys Powder Production Ltd., 2023
Calibrating heating sources in 3D printing to improve temperature control and object quality. The method involves a layer-by-layer calibration process using a thermal sensor to measure temperatures at specific regions. Between layers, absorbers are deposited over the regions to modify their thermal properties. By repeating this cycle with different input powers, adjusted powers are determined that achieve desired temperatures within narrower ranges.
23. 3D Printer Extruder Unit with Multi-Point Temperature Sensing and Comparative Analysis System
SIGNIFY HOLDING B V, SIGNIFY HOLDING BV, 2023
3D printer extruder unit for improved thermal management in FDM 3D printing. The extruder has multiple temperature sensors at different locations near the nozzle. One sensor measures the temperature of the material just after extrusion, and another sensor measures the temperature of the material further away. A processing unit compares the measured temperatures to a threshold and generates alerts or control instructions based on the comparison. This allows monitoring and adjustment of the extrusion and deposition temperatures to optimize print quality and prevent issues like warping or cooling defects.
24. 3D Printing System with Thermal Control Devices for Consistent Part Temperature Maintenance
XEROX CORP, 2023
3D printing method and system to maintain consistent temperature of printed parts as they grow taller to prevent cooling and warping issues. The method involves using thermal control devices like gas curtains, heat plates, and build plate heaters to surround and heat the part during printing. This prevents the top surface temperature from dropping more than 5°C as the height increases. This keeps the part temperature within a predetermined range as it grows to avoid warping.
25. Additive Manufacturing Monitoring and Control Method with Abnormality Detection and Remedial Path Generation
NORTHWESTERN POLYTECHNICAL UNIV, NORTHWESTERN POLYTECHNICAL UNIVERSITY, 2022
Additive manufacturing monitoring and control method to improve 3D printing reliability by detecting abnormalities during printing and remediating them. The method involves continuously acquiring key feature data like 3D point cloud, images, temperatures, and positions during printing. It judges if completed layers are normal, and if not, determines if the abnormality can be remedied. For salvageable abnormalities, it generates lower-level remedial printing paths without the issue. For unsalvageable abnormalities, it terminates printing. It also adjusts printing parameters in real-time based on the feature data.
26. 3D Printing Material Composition with Thermoplastic Resin, Elastomer, and Filler for Warp and Deformation Suppression
MITSUI CHEMICALS, INC., PRIME POLYMER CO., LTD., 2022
Suppression of warping and deformation in 3D-printed objects. The method involves using a specific material composition for 3D printing that contains thermoplastic resin, thermoplastic elastomer, and filler (like talc). The filler content is 5-70% by weight of the material. This material reduces warping and deformation when 3D-printed compared to conventional materials. The method involves melting and extruding the material to print objects.
27. Method for Controlling Microstructure Uniformity in Additive Manufacturing via Multi-Physics Coupling Simulation
NANJING UNIV OF AERONAUTICS AND ASTRONAUTICS, NANJING UNIVERSITY OF AERONAUTICS AND ASTRONAUTICS, 2022
Controlling the microstructure uniformity of additive manufacturing components to improve their properties by using a multi-physics coupling approach to mitigate thermal accumulation effects. The method involves calculating the temperature, stress/strain, and microstructure fields during additive manufacturing using numerical simulation. By optimizing process parameters based on the temperature predictions, the microstructure can be more homogenized to prevent defects like porosity and cracks. This allows predicting and controlling the microstructure without expensive, time-consuming experiments.
28. Real-Time Parameter Adjustment System for Additive Manufacturing with Deviation Detection
HP Development Company, L.P., HEWLETT-PACKARD DEVELOPMENT COMPANY LP, 2022
Adapting printing parameters during additive manufacturing processes to improve print quality and reliability. The technique involves monitoring the printing process in real-time and making adjustments to parameters like layer thickness, material deposition rate, and curing conditions based on detected deviations from the intended print path. This allows compensating for issues like misalignment, distortion, or inconsistencies in the print material. By dynamically adapting the printing parameters as needed, the technique aims to mitigate defects and improve the final printed object's quality.
29. Additive Manufacturing Process Control System with Sensor-Based Closed-Loop Feedback Mechanism
JABIL INC, 2022
Monitoring and controlling additive manufacturing processes like 3D printing to improve print quality and reliability. The method involves using sensors to monitor factors like filament feeding, nozzle temperatures, and platform movement during printing. Data from these sensors is processed to determine if the printing process is deviating from optimal states. If deviations are detected, corrective actions are taken by modifying parameters like feed rate, nozzle heat, or platform speed to bring the process back into compliance with the ideal states. This closed-loop monitoring and control helps prevent issues like clogging, beading, and misalignment that can occur during additive manufacturing.
30. 3D Printing Chamber with Adaptive Cooling Control Based on Analyzed Heat Transfer Parameters
HEWLETT-PACKARD DEVELOPMENT COMPANY, L.P., 2022
Reducing distortion in 3D printed objects by actively controlling the cooling process. The method involves analyzing parameters of the 3D printed job to determine a rate of heat transfer that reduces thermal distortion during cooling. Temperature control elements mounted on the chamber wall are operated based on this determined rate to match the cooling rate on all sides of the object. This prevents warping due to uneven cooling.
31. 3D Printing Device with Integrated Real-Time Monitoring and Temperature-Regulated Nozzle
Hunan Automotive Engineering Vocational College, HUNAN AUTOMOTIVE ENGINEERING VOCATIONAL COLLEGE, 2022
High-precision, smooth 3D printing device with real-time monitoring and adjustment to improve print accuracy. The device uses a temperature regulation module inside the nozzle, data analysis to calculate layer-specific print parameters, and a comparison module to check completed layers. If a layer is out of spec, modification is done. Sensor monitoring includes infrared thermal imaging, annular ducts for temperature control, and cameras for layer analysis.
32. 3D Printing Bed with Integrated Temperature and Gas Flow Sensors for Adaptive Control
SIEMENS ENERGY GLOBAL GMBH & CO KG, 2022
Method to improve 3D printing by monitoring temperature and gas flow using sensors on the print bed. The method involves measuring temperature in the printing area while providing a gas stream. This data is used to adapt the gas flow to reduce turbulence and provide a more laminar stream. The bed also has an optimized heat distribution layer to distribute heat evenly. By monitoring and controlling temperature and gas flow, it allows fine-tuning the printing process for better results.
33. Method for Calculating Cumulative Vertical Compression Deformation in Layered 3D Printing
China Construction Eighth Engineering Division Corp., Ltd., CHINA CONSTRUCTION EIGHTH ENGINEERING DIVISION CORPORATION LTD, 2022
Estimating vertical compression deformation during 3D printing to improve component accuracy and control. The method involves calculating the cumulative compression deformation of each printing layer due to self-weight. By estimating the compression deformation of each layer as it hardens, the total vertical compression deformation of all layers can be determined. This allows compensation for the deformation during printing to improve component dimensions and precision.
34. 3D Printing Layering Method with Dynamic Thickness Adjustment Based on Facet Analysis and Volume Error Calculation
UNIV XIAN TECHNOLOGY, XIAN UNIVERSITY OF TECHNOLOGY, 2021
Adaptive layering method for 3D printing that improves efficiency and accuracy by dynamically adjusting the layer thickness based on step height and volume error. The method analyzes the 3D model's triangular facets and calculates the volume error between printed layers. It then determines the optimal layer thickness based on the facet height, volume error, and printing direction to balance efficiency and accuracy.
35. Modular Heater System with Independently Controllable Elements and Bidirectional Actuation for Layer Temperature Regulation in 3D Metal Printers
XEROX CORP, 2021
A modular heater system for 3D metal printers that improves layer adhesion by selectively heating the top layer before each new layer is printed. The modular heater has independently controllable heating elements arranged in a frame mounted to a reciprocating arm. It moves bidirectionally using an actuator. A sensor measures the top layer temperature. A controller compares to a threshold and selectively powers the elements to heat the top layer if needed. This prevents cooling between layers, maintaining optimal adhesion without overheating lower layers.
36. Temperature-Controlled Liquid Bath System for Fusion Lamination 3D Printing with Uniform Preheating and Gradual Cooling Mechanism
TIANJIN UNIVERSITY, UNIV TIANJIN, 2021
Temperature control system for fusion lamination 3D printing that enables high-precision, high-strength, and efficient additive manufacturing of a wide range of thermoplastics, including crystalline materials like PEEK. The system uses a temperature-controlled liquid bath to preheat the build platform and prevent internal stress buildup in printed parts. The bath is circulated and heated by a motorized stirrer to ensure uniform temperature. This preheating step is performed before printing to prevent stress accumulation during deposition. After printing, the bath cools the parts gradually to prevent warping.
37. 3D Printing Method with Adaptive Speed and Temperature Control Based on Material and Geometry Analysis
Jilin University, JILIN UNIVERSITY, 2021
3D printing method to prevent warping and deformation during 3D printing. The method involves determining the optimal print temperatures and speeds based on the material properties and part geometry. It uses software analysis to determine the sections with high stress during printing, and sets the print speeds and paths accordingly to minimize stress and warping. This adaptive printing prevents deformation during the printing process itself, rather than relying on post-processing methods like supports.
38. Three-Dimensional Printing Device with Print Head Height Adjustment Based on Distance Measurement
KINPO ELECT INC, KINPO ELECTRONICS INC, XYZPRINTING INC, 2021
Three-dimensional printing device and method that prevents wire squeezing, overflowing, and voids during printing. The method involves measuring the distance between the print head and build plate, calculating a compensation value based on the measured distance, and adjusting the print head height when printing subsequent layers using the compensation value. This compensates for any expansion or contraction of the filament during printing and prevents issues like wire squeezing, overflowing, and voids.
39. 3D Printing Method for Metal Objects with Real-Time Deposition Parameter Adjustment via Simulation and Feedback
Digital Alloys Incorporated, DIGITAL ALLOYS INC, 2021
3D printing method for metal objects that allows precise control over the printing process and quality. The method involves calculating deposition parameters for printing a metal object based on its computational representation. The parameters are adjusted during printing based on measurements of the object and feedstock to optimize properties like melting and solidification. This allows real-time adaptation to ensure the printed metal has the desired characteristics. The key insight is using simulation and feedback to optimize metal 3D printing parameters.
40. Method and Device for Real-Time Heat Input Adjustment Based on Surface Flatness Detection in 3D Printing
XIAN SAILONG METAL MAT CO LTD, XIAN SAILONG METAL MATERIALS CO LTD, 2021
Method and device for self-adjusting the surface quality of 3D printed parts. It involves real-time monitoring and adjustment of heat input during printing to improve surface flatness. The method determines the layer shape and scanning path, melts the material, then uses a scanner to detect flatness. If surface warpage is detected, heat input is adjusted for the next layer based on a preset scheme. This allows dynamic optimization of surface quality as printing progresses.
41. Method for Inserting Green Body Projections into Grooved Support Structure for Uniform Sintering Shrinkage
SEIKO EPSON CORPORATION, 2021
Three-dimensional shaping method to prevent distortion of sintered 3D printed objects. The method involves inserting the projections of a green body into grooves of a support structure before sintering. The grooves extend in a specified direction of shrinkage. This allows the green body to shrink uniformly without being distorted during sintering.
42. Method for Dynamic Adjustment of Pressing Force in 3D Printed Layers Based on Layer Number and Material Properties
WUHAN LURAN TECH CO LTD, WUHAN LURAN TECHNOLOGY CO LTD, 2021
A method to improve the pressing of 3D printed layers to prevent material deformation and improve layer adhesion. The method involves dynamically adjusting the pressing force applied to each layer based on the printing layer number and material properties. By compensating for material deformation as the number of printed layers increases, it ensures tight packing between adjacent layers. The force is adjusted by calculating the deformation potential of the material using its diameter and density, and then applying a force proportional to the printing layer number and material deformation.
43. 3D Printer Bed Frame with Selective Heating Elements and Infrared Feedback Control System
Wuhu 4.0 Automation Technology Co., Ltd., WUHU SIDIANLING AUTOMATION TECHNOLOGY CO LTD, 2021
Auxiliary heating system for 3D printers that provides precise, synchronized heating and temperature control during printing to reduce external temperature interference. The system uses an array of heating elements mounted on the printer bed frame that can be selectively activated based on the printing height. An infrared thermal imager detects the workpiece temperature during printing and feeds it back to a programmable numerical control heating controller. The controller adjusts the heating element duty cycle in real-time based on the imager data to maintain precise temperature at each printing layer. This allows synchronized, selective heating of the bed at the appropriate location for each layer, reducing external temperature influence.
44. Closed-Loop Feedback System for 3D Printing with Real-Time Sensor-Based Parameter Adjustment
INTREPID AUTOMATION, 2021
A closed-loop feedback system for 3D printing that adjusts printing parameters during printing based on real-time feedback to improve quality, speed, and efficiency. The system uses sensors to monitor factors like resin temperature, platform force, diaphragm tension, and lighting energy. This data is fed back to the printing engine to compensate and optimize parameters during printing. For example, it can adjust lighting intensity to compensate for local temperature anomalies. This closed-loop feedback allows real-time optimization of printing parameters based on in-situ conditions.
45. Three-Dimensional Printing System with Interconnected Elements for Simultaneous Extrusion of Composite Materials
BURSA ULUDAG UENIVERSITESI, Bursa Uludağ University, 2021
Three-dimensional printing system and method to improve printing quality and prevent defects in additive manufacturing using composite materials like fiber-reinforced polymers. The system has a unique configuration with interconnected elements to enable simultaneous extrusion of different types of printing materials. This allows seamless layer bonding and prevents issues like delamination, curling, and voids. The system has a nozzle for the first material, an extrusion element for transferring it, a feeding element for the second material, and a cover to prevent leakage. The materials are heated and cooled separately, with a spiral channel for the first material. The system also has a moving body, heat exchanger, pump, guiding element, sensing element, and pushing element for precise positioning and adhesion control.
46. 3D Printing Method with Geometry-Responsive Layer Division and Parameter Adjustment
AI BUILD LTD, 2020
Improved method of 3D printing that addresses issues with printing overhanging and curved sections. The method involves dividing a layer into sections, analyzing the local geometry around each section, and adjusting printing parameters like speed and layer height based on the geometry to prevent sagging, delamination, and other problems.
47. 3D Printing Method Utilizing Variable Material Supply for Initial Layer on Recessed Stage
Seiko Epson Corporation, 2020
3D printing objects with better dimensional accuracy and reduced warpage. It involves using a first supply amount of material larger than a second supply amount when printing the first layer on a stage with a recessed portion. This prevents voids and unevenness in the layer caused by material entering the recessed part.
48. 3D Printing System with Real-Time Deformation Detection and Parameter Adjustment Mechanism
NAN KAI UNIVERSITY OF TECHNOLOGY, UNIV NAN KAI TECHNOLOGY, 2020
3D printing system and method that improves efficiency and accuracy of 3D printing by detecting and correcting section deformation during printing. The system uses sensors to continuously monitor each printed layer for deformation. If deformation is detected, printing is stopped, parameters are sent to a server for analysis and adjustment, and the modified parameters are downloaded to resume printing. This allows immediate correction of section deformation to prevent defects and waste.
49. 3D Printing System with Sensor-Guided Adjustment of Curing Conditions Based on Vertical Shrinkage Measurements
HEWLETT-PACKARD DEVELOPMENT COMPANY LP, 2020
3D printing system that monitors and adjusts curing conditions to prevent excessive shrinkage or insufficient curing in 3D printing layers. The system uses sensors to measure the vertical shrinkage of cured layers compared to a reference. If shrinkage is too much or too little, it indicates improper curing. The system then adjusts the coalescing agent deposition, curing energy, or other parameters to bring the shrinkage back within an optimal range. This prevents over-shrinkage that can warp printed objects or insufficient curing that leaves weak spots.
50. Method for Temperature Control in 3D Printing Using Power-Temperature Relationship Calibration
HEWLETT PACKARD DEVELOPMENT CO, HEWLETT-PACKARD DEVELOPMENT COMPANY LP, 2020
A method for optimizing temperature control in 3D printing to improve print quality and reduce deformation. The method involves measuring the temperature of printed parts after heating the build plate and using that data to determine a relationship between applied power and measured temperature. This relationship is then used to determine the target power needed to achieve a desired temperature for future prints. By accurately controlling the temperature of the build plate during printing, deformation and warping can be reduced.
A diverse range of solutions are emerging to address the challenge of deformationᅳfrom using tacky polymer substrates to heat-aware toolpath optimization, these techniques offer users a toolbox to mitigate warping, cracking, and shrinkage during the printing process.
Get Full Report
Access our comprehensive collection of 88 documents related to this technology
