LED Heat Dissipation for Lighting Reliability
High-power LED systems can generate over 100W of heat per square centimeter at the junction, with operating temperatures frequently exceeding 85°C. Without effective thermal management, this leads to reduced luminous efficiency, color shifts, and accelerated degradation of both the LED dies and surrounding components.
The fundamental challenge lies in efficiently transferring heat from the LED junction to the ambient environment while maintaining compact form factors and cost-effective manufacturing processes.
This page brings together solutions from recent research—including direct-contact heat spreading designs, two-phase cooling systems, passive ventilation architectures, and thermally-optimized substrate materials. These and other approaches focus on practical implementations that balance thermal performance with manufacturability and reliability requirements.
1. Modular Heatsink Assembly with Separate Optical Carrier and Thermal Management Sections for LED Modules
LUMILEDS LLC, 2023
Two-part heatsink for LED modules that separates the thermal management function from the optical alignment function. The heatsink consists of an optical carrier portion with an LED mounting area and an alignment feature to align with an optical component. It also has a separate heat sink bulk portion that is coupled to the optical carrier portion. This allows the optical carrier to have a compact shape for precise LED placement and alignment, while the bulkier heat sink section can handle the bulk of the heat dissipation. It enables easier manufacturing, shipping, and fixture compatibility compared to integrated complex shaped heatsinks.
2. Heat Dissipation Device with Integrated Heat Transfer Panel and Dual Heat Sink Array for LED Fixtures
LIAONING LONGTENG TECH DEVELOPMENT CO LTD, LIAONING LONGTENG TECHNOLOGY DEVELOPMENT CO LTD, 2023
Heat dissipation device for LED lighting fixtures that allows efficient cooling of the LEDs to extend their lifespan. The device has a heat transfer lamp panel with an array of second heat sinks around the outer wall. Each second heat sink has an internal air inlet slot and ventilation holes connected to bottom first heat sinks between the second sinks. This allows air to flow through the device and extract heat from the LEDs. The LED fixture is mounted on the bottom of the heat transfer panel. The panel has a through hole for wiring and a threaded hole to attach the fixture.
3. Snap-Fit Cylindrical Heat Sink with Concentric Multi-Stage Fins for LED Lamps
FUZHOU HAOMING LYUGUANG INTELLIGENT TECH CO LTD, FUZHOU HAOMING LYUGUANG INTELLIGENT TECHNOLOGY CO LTD, 2023
A heat dissipation structure for LED lamps that improves cooling efficiency and longevity of high power LED lamps. The structure has a snap-fit heat dissipation mechanism that attaches to the top of the lamp body. The heat dissipation mechanism has a cylindrical heat sink with concentrically arranged fins, starting with circular fins at the top, followed by semiconductor fins and heat conduction fins towards the bottom. This multi-stage fin design provides progressive cooling for the LEDs as heat travels down the stack. The cylindrical shape allows for better airflow around the fins compared to flat fins. The bottom of the heat sink has fixed rods for mounting and temperature sensors for monitoring.
4. LED Lamp with Cylindrical Transparent Housing and Flexible PCB for Integrated Heat Dissipation
Yuriy Borisovich Sokolov, 2023
An LED lamp design that allows high-power LEDs to be used without requiring external heat sinks. This is achieved by using a cylindrical transparent housing with the LEDs mounted on a flexible PCB rolled up inside. The PCB is coated with a thin transparent layer to protect the LEDs. The rolled PCB, LEDs, and driver components are all contained within the housing. This allows the LEDs to dissipate heat directly into the surrounding air through the transparent housing.
5. Lighting Apparatus with Integrated Anion Generator and Passive Ventilation for LED Heat Dissipation
VALKIDA CO., LTD., 2023
Lighting apparatus with an integrated anion generator for air purification that has a non-powered ventilation structure to provide effective heat dissipation from the LED chips. The lighting apparatus includes an anion generator inside the housing, an open-ended cylindrical anion-emitting tube that protrudes from the housing, a discharge electrode inside the housing opposite the tube opening, an LED circuit board above the housing, and a cover that only partially encloses the tube. Air holes allow outside air into the tube when anions are emitted, creating airflow that also cools the LEDs. The anion generator and vented tube provide air circulation without fans to dissipate LED heat.
6. LED Lighting Device with Modular Case and Bolt-Free Heat Exchanger Connection
JIAXING SUPER LIGHTING ELECTRIC APPLIANCE CO., LTD, 2023
LED lighting device with improved cooling and modular construction to simplify assembly. The device has a lamp cap, case, power supply, heat exchange unit, and light emission unit. A buckle allows connecting the case and heat exchanger without bolts. The light emission unit connects to the heat exchanger for efficient heat transfer.
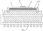
7. LED Lighting Device with Recessed PCB for Enhanced Thermal Coupling to Heat Sink
LUMILEDS LLC, 2023
An LED lighting device that maximizes thermal coupling between the LED and heat sink to improve heat dissipation and reliability. The device has a recessed PCB that surrounds the LED module mounted on the heat sink. The PCB provides electrical control circuitry and the recess allows the LED to directly contact the heat sink.
8. Modular LED Light Fixture with Elongated Heat Sinks and Electromechanical Couplers
Exposure Illumination Architects, Inc., 2023
Modular, scalable, reduced-profile LED light fixture with elongated heat sinks and coupled light sources that couple to form long arrays. The heat sink modules are joined electromechanically via a coupler device that conveys power and data between the modules. The coupler also supports external devices like lights and fans. The modular design allows customizable arrays for various mounting heights without sacrificing light directionality.
9. Integrated Ceiling Device with LED Light Sources and Heat Conductive Mechanical Arrangement
LIGHTING DEFENSE GROUP, LLC, 2023
Integrated ceiling device containing multiple LED light sources with an effective heat dissipation system to maintain low junction temperature. The device has a mechanical arrangement for the LED lamps that conducts heat away from the lamps and other electronic components to prevent overheating. This improves LED efficiency and lifespan.
10. LED Cooling Assembly with Copper Heat Spreaders and Integrated Forced Air System
SHENZHEN YIBEI TECH CO LTD, SHENZHEN YIBEI TECHNOLOGY CO LTD, 2023
LED cooling device with improved heat dissipation and faster warm-up time compared to conventional aluminum heat sinks. The device uses copper heat spreaders and a heat spreader bottom plate inside enclosed structural supports connected to the LED backside. Cooling fans are fixed to the inner sides of the supports. This configuration provides direct contact and forced air cooling for faster thermal transfer from the LED to the exterior.
11. LED Lamp Bead Assembly with Enclosed Heat Dissipation Structure and Semiconductor Refrigeration Plate
SHENZHEN QIKAIRUI OPTOELECTRONICS CO LTD, 2023
LED lamp bead assembly with improved heat dissipation at the connection end to extend lamp life. The assembly has a heat shield, heat dissipation assembly, and control terminal. The heat dissipation assembly surrounds the bottom of the heat shield and contains a semiconductor refrigeration plate, card slot, and power supply. This enclosed heat sink design captures and dissipates heat from the lamp connections. The heat shield has a protrusion with lamp beads to distribute heat. This prevents heat buildup and damage to the components.
12. Heat Pipe Cooling Device with Annular Bottom and U-Shaped Top Sections for LED Lamp Heat Dissipation
HEBEI UNIV OF TECHNOLOGY, HEBEI UNIVERSITY OF TECHNOLOGY, TIANJIN LONGDE TECH CO LTD, 2023
Heat pipe cooling device for high-power LED lamps that has better heat dissipation performance compared to conventional methods. The device uses a unique heat pipe design with an annular bottom section and multiple U-shaped top sections connected together. This allows equalized working fluid level in the annular section and improved circulation compared to conventional heat pipes. The heat pipe is used in high-power LED lamps to dissipate heat from the LED chips. The lamp also has a radiator, evaporation chamber, and support plate to connect the heat pipe sections. The U-shaped sections pass through the support plate and have fins for condensation. Multiple parallel sets of LED arrays are used to prevent single LED failure from causing lamp outage.
13. LED Module Lamp with Integrated Enclosed Cooling Assembly and Mounting Plate
TONG XINHUA, 2023
LED superconducting module lamp with integrated cooling for high power applications to prevent lamp decay and improve longevity. The lamp has an enclosed cooling assembly attached to the lamp holder. The assembly consists of a mounting plate fixed to the holder and a frame attached to the plate. The plate has a hole to connect it to the holder. The enclosed cooling assembly allows higher power LED modules to be used without overheating or decay.
14. Integrated Heat Dissipation Structure with Heat-Conducting Connector and Fan-Engaged Radiator for Vehicle Lamps
HAIDE LAITE AUTO PARTS CO LTD, 2022
Integrated heat dissipation structure for vehicle lamps that efficiently cools the LEDs to extend life and improve performance. The structure has a heat-conducting connector, metal deck, aluminum column, and radiator. The radiator has a heat-conducting cylinder with cooling fins, fan, and cover. The fan engages the cylinder bottom. A sensor detects abnormal temperatures and signals the fan to start cooling. Directly attaching the fan to the cylinder simplifies assembly. The integrated heat dissipation prevents excessive heat buildup in LED lamps.
15. LED Light Source Cooling Device with Rotatable U-Shaped Bracket and Fan-Enhanced Heat Dissipation Mechanism
CHANGSHA RONGZHEN ELECTRONIC TECH CO LTD, CHANGSHA RONGZHEN ELECTRONIC TECHNOLOGY CO LTD, 2022
LED light source cooling device to improve heat dissipation compared to natural convection. The device has a casing with an internal heat-conducting layer. The heat-conducting layer has penetrating holes connecting groups. An LED light source attaches to the far side of the layer. A heat sink on the other side of the layer contacts the LED. The sink has a U-shaped bracket that rotates and has a fan attached. This actively forces air through the penetrating holes to extract heat from the LED and sink.
16. Multi-Sided Heat Spreader Element with Internal Cooling Medium Flow Space for Electronic Apparatus
Dana Canada Corporation, 2022
Thermal management of an electronic apparatus such as an electronic lighting device, particularly to a multi-sided thermal management device for an electronic apparatus, and to an electronic apparatus incorporating a multi-sided thermal management device. The device comprises a multi-sided heat spreader element defining a longitudinal axis and comprising a longitudinally extending multi-sided wall and an internal space at least partly enclosed within the multi-sided wall, the multi-sided wall having an inner surface, an outer surface and longitudinally spaced first and second ends; a plurality of electronic components mounted to the outer surface of the wall of the heat spreader element; and a flow space for a cooling medium provided in the internal space of the heat spreader element.
17. LED Heat Dissipation Module with Finned Radiator, Thermal Conductive Medium, and Fan-Controlled Temperature Sensor
DONGPU SCIENCE AND TECH GROUP LIMITED CO, DONGPU SCIENCE AND TECHNOLOGY GROUP LIMITED CO, HUZHOU MING PLASTIC PHOTOELECTRIC TECH CO LTD, 2022
LED heat dissipation module and lighting fixture to improve heat dissipation and longevity of LED lamps. The module has a radiator with fins filled with a thermal conductive medium, and a fan to actively cool the fins. A temperature sensor detects the radiator temperature and controls the fan speed. This prevents junction temperature rise and prolongs LED life. The module is encapsulated in the lamp housing.
18. LED Lamp with Capillary Core Heat Pipe and Integrated Temperature Management System
SOUTH CHINA NORMAL UNIVERSITY, UNIV SOUTH CHINA NORMAL, 2022
LED lamp with improved heat dissipation using capillary core heat pipes to prevent overheating of high-power LED chips. The lamp has a heat pipe connected to the LED source, a temperature sensor, and a control unit. The heat pipe transfers heat from the LED to the outside. The temperature sensor measures ambient temperature. The control unit manages LED brightness, driver power, and displays temperature. It uses an embedded Linux OS, USB connection, and bipolar transistor temperature sensor.
19. Vehicle Lamp Heat Dissipation System with Heat Pipe-Integrated Heat Sink
Flex-N-Gate Advanced Product Development, LLC, 2022
Passive heat dissipation system for vehicle lamps that uses a heat pipe embedded in a heat sink to remove heat from the LEDs without a fan. The LED is mounted directly to the heat pipe which is then inserted into the heat sink slot. Heat transfers from the LED to the heat sink via the pipe for passive cooling. This allows comparable heat removal to a fan-based system without active airflow.
20. LED Lamp Temperature Stabilization Device with Thermoelectric Cooler and Vibration-Isolated Heat Sink Assembly
QINGDAO SAME LUMINANCE LIGHTING SCIENCE AND TECH LIMITED CO, QINGDAO SAME-LUMINANCE LIGHTING SCIENCE AND TECHNOLOGY LIMITED CO, 2022
A device to maintain constant temperature in LED lamps by using a thermoelectric cooler, a heat sink, and a fan. The cooler is connected to the power supply and has a cold side attached to the lamp board. The hot side has a heat sink with a fan. This allows active cooling of the lamp board without vibrations or additional fans. The fan is mounted on shock absorbers to isolate vibrations. The cooler also has a fault detection mechanism with a vibration sensor and alarm. The cooler powers the sensor, alarm, and controller. The heat sink attaches to the lamp board using a disassembly mechanism with posts and a positioning column. This allows easy lamp replacement without detaching the cooler.
21. LED Lamp Module with Thermoelectric Cooling and Reflective Light Enhancement
ZHEJIANG LIANGXIN AUTO PARTS CO LTD, 2022
LED lamp module with constant junction temperature for automotive lighting applications that maintains consistent brightness regardless of ambient temperature. The module has a thermoelectric cooler with the LED assembly mounted on the cooler's semiconductor refrigeration sheet. This allows the LEDs to be cooled, preventing brightness degradation when the lamp is turned on in hot environments. A reflective component behind the LEDs bounces the emitted light back into the lamp, increasing the light output. This helps maintain brightness as the cooled LEDs lose less light to heat.
22. LED Lamp with Aluminum Substrate and Multi-Layered Heat Dissipation Structure
ANDERSON ELECTRONICS HK LTD, ANDERSON ELECTRONICS LTD, 2021
LED lamp and lighting device with improved heat dissipation. The lamp has an aluminum substrate, a heat-conducting layer on the substrate, and a heat-dissipating layer on the heat-conducting layer. The heat-dissipating layer contacts air to dissipate heat through convection. This allows efficient heat transfer from the LED to the air, improving heat dissipation compared to direct conduction. The heat-conducting layer can also have a thermally conductive medium like graphene to further enhance heat transfer. The device uses this lamp to improve heat dissipation from the LED.
23. Integrated LED Lamp Heat Dissipation System with U-Shaped Heat Pipe, Stirling Engine, and Micro Generator
JIANGSU UNIVERSITY, UNIV JIANGSU, 2021
A high efficiency heat dissipation system for integrated LED lamps that reduces LED operating temperatures and recycles heat. The system uses a U-shaped heat pipe, Stirling engine, radiator fins, and a micro generator. The LED chip is sandwiched between the fixing frame plates with the heat pipe bottom facing the chip's bottom. Heat from the LED transfers to the pipe, which absorbs and vaporizes a medium. The vaporized medium moves through the pipe to the radiator fins where it condenses, releasing heat to the air. The remaining heat goes to the frame's bottom plate, which contacts the Stirling engine. The engine converts this heat to mechanical motion driving the micro generator to produce electricity. The power is sent to the LED through a power module.
24. LED Heat Dissipation Structure with Phase Change Material Layer and Metal Conduction Interface
BEIJING TRUWIN OPTOELECTRONIC MEDICAL CO LTD, 2021
Heat dissipation structure for LED light sources to improve heat management and prolong the lifetime of LEDs. The structure involves placing an automatic temperature control layer made of phase change materials behind the LED. The metal layer behind the LED conducts the heat to the phase change material. The phase change material absorbs heat and changes phase, reducing the metal layer temperature. The enclosed contact between the phase change material and metal speeds up heat transfer compared to external dissipation.
25. LED Lighting Module with Superconducting Heat Dissipation Structure and Reflective Grooves
ZHEJIANG OE NEW ENERGY CO LTD, 2021
Superconducting heat dissipation LED lighting module to improve the heat dissipation of long-life LED lamps. The module has a lamp frame, heat dissipation substrate, heat-conducting reflective grooves, mounting seat, LED board, superconducting heat sink, and light guide plate. The heat sink has a superconducting liquid tank and fins filled with superconducting coolant. The tank attaches to the substrate top and fins connect to it. This allows efficient heat transfer from the LED board through the substrate, grooves, seat, and fins to the superconducting liquid. The liquid has low thermal conductivity at normal temperatures but becomes superconducting at low temperatures, allowing high heat transfer. The coolant-filled fins provide further heat transfer to the ambient.
26. LED Lamp Bracket with Ceramic Heat Sink, Fins, Integrated Fan, Temperature Sensor, and Automated Cooling Controller
SHENZHEN JIRUI OPTOELECTRONIC CO LTD, 2021
A high-power LED lamp bracket with improved heat dissipation and temperature control compared to conventional brackets. It uses a ceramic heat sink with fins, an internal fan, temperature sensor, and controller to actively cool the LEDs. The fins, fan, and sensor maximize heat dissipation. The controller turns on the fan when internal temps get high, vs manual fan use.
27. LED Lighting Module with Multi-Stage Cooling Configuration and Enhanced Thermal Conductivity Elements
ADE Foton Exa Co., Ltd., ADE PHOTONEXA GMBH, 2020
LED lighting module with high power density for applications like general lighting, street lighting, lens lighting, workplace lighting, and technical lighting. The module uses a unique cooling configuration with multiple stages to dissipate heat from the LED chips. The LED chips are mounted on a secondary cooling element that has better thermal conductivity than traditional aluminum. This secondary cooling element is then connected to a tertiary cooling element like a heat sink. The multi-stage cooling allows higher power density by reducing the temperature gradient between the LED chips and the heat sink. The module can achieve power densities of up to 10x higher than traditional solutions.
28. LED Luminaire with Integrated Programmable Driver and Variable Speed Air Cooling for Thermal Management
FOHSE Inc., 2020
LED luminaire thermal management system for high power LED grow lights that enables higher output from smaller form factor fixtures without excessive heat buildup. The system uses a custom thermal management design with an integrated programmable driver, variable speed air cooling, and thermal response logic. The driver has thermal sensing to detect heat issues. If an air cooling element fails, the driver can adjust lighting output to compensate. This prevents overheating and allows safe operation of high power LEDs in smaller fixtures. The air cooling elements draw air across the driver and light sources for efficient dissipation. The custom thermal management allows high power LEDs to be packed closer together in small fixtures without overheating.
29. Heat Sink with Plastic Body and Thermally Conductive Layer for LED Lamps
GE Lighting Solutions LLC, GE LIGHTING SOLUTIONS LLC, 2020
Lightweight, cost-effective heat sink for LED lamps that reduces weight and cost compared to traditional bulk metal heat sinks. The heat sink has a plastic body with fins, and a thermally conductive layer on the fins. The plastic body has lower thermal conductivity than the layer. This allows using a thinner, lighter heat sink compared to a bulk metal one. The layer provides enough conductivity to transfer heat from the LEDs to the surroundings without excessive weight and cost. The lower weight reduces mechanical pressure on the lamp base and improves reliability. The thinner heat sink also reduces cost by requiring less material.
30. Automotive LED Heat Dissipation System with Heat Pipe and Microfan Integration
GUILIN UNIVERSITY OF ELECTRONIC TECHNOLOGY, UNIV GUILIN ELECTRONIC TECH, 2020
Heat dissipation system for automotive LED lights using a heat pipe and microfan to improve thermal management. The system has an LED substrate with beads, a heat pipe with LED beads on the front, a heat dissipation shell, and a microfan at the rear. The heat pipe transfers heat from the LED beads to the rear of the shell. The microfan dissipates the transferred heat to the exterior. The LED substrate has a temperature sensor to control the microfan speed. This active heat dissipation system with a heat pipe and fan provides better cooling for automotive LED lights compared to passive methods like fins.
31. Automotive LED Light Cooling System with Heat Pipe, Micro Fan, and Temperature-Sensitive Fan Control
GUILIN UNIVERSITY OF ELECTRONIC TECHNOLOGY, UNIV GUILIN ELECTRONIC TECH, 2020
Heat dissipation system for automotive LED lights that effectively cools the LEDs to prevent overheating and improve reliability. The system uses a heat pipe, micro fan, and temperature sensor to efficiently transfer and dissipate the heat generated by the LEDs. The heat pipe transfers the heat from the LED substrate to the rear of the housing where a micro fan dissipates it to the outside. A temperature sensor on the LED substrate controls the fan speed based on the LED chip temperature. This active cooling setup improves LED performance and lifespan compared to passive cooling methods like fins.
32. LED Lamp with Angled Parallel Flow Temperature Equalizing Plate and Heat Conducting Base
INST ENG THERMOPHYSICS CAS, INSTITUTE OF ENGINEERING THERMOPHYSICS CHINESE ACADEMY OF SCIENCES, 2020
LED lamp design to improve heat dissipation, prevent light decay, and reduce lamp size for high-power applications. The lamp has an LED source, a heat conducting base, and a parallel flow temperature equalizing plate. The equalizing plate is angled and inserted into the base to prevent deformation that blocks fluid flow. This allows effective heat transfer from the LED source. The angled insertion also aids in fixing the source and optical components. The angled plate also helps with waterproofing and dustproofing.
33. LED Lamp with Ventilated Base and Cushioning Layer for Enhanced Heat Dissipation and Vibration Resistance
Dongguan Wenyu Industrial Co., Ltd., DONGGUAN WENYU INDUSTRIAL CO LTD, 2020
High-efficiency heat dissipating LED lamp with improved heat dissipation and vibration resistance for high power, high brightness LED lamps. The lamp has a base with ventilation slots, a mounting plate attached to the base, an LED assembly on the plate, and heat sinks on the base. The mounting plate has a thermally conductive layer between the LEDs and base, and a cushioning layer between the plate and base to protect the LEDs from vibrations. The base vents and heat sinks provide improved heat dissipation compared to a solid base.
34. LED Car Lamp with Dual-Sided PCB and Superconducting Copper Clad for Enhanced Heat Dissipation
FOSHAN GUANGDI AUTO LIGHTING CO LTD, 2019
LED car lamp with improved heat dissipation to prevent overheating and prolong lamp life. The lamp uses a unique heat dissipation assembly that quickly removes heat from the high-power LEDs. It consists of a heat dissipation component at the lamp holder front, with a superconducting copper-clad PCB board and rapid heat sinks. The PCB has LEDs on both sides, surrounded by close-contact radiating splints. A collar connects the splints. The PCB's copper cladding provides fast heat transfer. The splints dissipate heat to the holder. The lamp also has a fan in a cavity below the holder.
35. LED Lamp Thermal Management System with Heat Conduction Plate and Pipe Interface
Jiangsu Tianying Optoelectronics Technology Co., Ltd., JIANGSU TIWIN OPTO-ELECTRONICS TECHNOLOGY CO LTD, 2019
An LED thermal management system for improving the efficiency and reliability of LED lamps. The system uses a heat conduction plate connected to the LED board inside the lamp, which is surrounded by a thermal insulation layer. The heat conduction plate has an interface that connects to a heat conduction pipe. The other end of the pipe connects to a heat exchanger. This allows heat from the LEDs to be transferred out of the lamp and into a separate heat exchanger. The heat exchanger can be used to cool the LEDs or to extract the heat for other purposes like greenhouse climate control. The system also has an auxiliary heat insulation layer outside the lamp to further reduce heat transfer. The auxiliary insulation layer has a wood board on the outside to prevent oxidation and deterioration of the inner insulation layer due to temperature differences. An auxiliary temperature sensing device in the greenhouse space can
36. LED Thermal Protection Device with Heat-Conducting Column and Current Adjustment Mechanism
SHENZHEN JINGWEI RONGXIN TECH CO LTD, SHENZHEN JINGWEI RONGXIN TECHNOLOGY CO LTD, 2019
LED thermal protection device that prevents LED damage at high temperatures by actively adjusting current and enhancing cooling. The device has an LED light source mounted on a copper foil connected to a heat sink. A heat-conducting column connects the LED bottom to a temperature control device. A current adjustment device with a sliding contact and resistance coil is also connected. At high temperatures, a solenoid valve closes to isolate the LED from the current adjustment. This reduces LED power and prevents damage. At lower temperatures, the valve opens to allow current adjustment for optimal brightness. The sliding contact adjusts the resistance coil to regulate current. This active thermal protection improves LED reliability and performance at high temperatures.
37. Lighting Fixture with Heat-Spreading Cup-Shaped Thermally Conductive Mounting Structure
Cree, Inc., 2019
A lighting fixture design that efficiently dissipates heat from the light source towards the front of the fixture to prevent damage due to overheating. The fixture has a thermally conductive mounting structure shaped like a heat-spreading cup. The light source is mounted inside the cup with the heat generated by the light being transferred radially along the cup's bottom and then forward towards the rim. This prevents heat from building up at the rear where it can damage the fixture or surrounding cavity. The fixture may also have a lens assembly that covers the front opening of the cup.
38. Light-Emitting Device with Embedded Heat Transfer and Deformation Prevention Members
CITIZEN ELECTRONICS CO., LTD., CITIZEN WATCH CO., LTD., 2019
A light-emitting device with improved heat dissipation and pressure resistance to prevent damage to the sealing resin and internal components. The light-emitting device includes higher thermal conductivity heat transfer members embedded among the light-emitting elements within the sealing resin. These heat transfer members help dissipate heat from the light-emitting elements more effectively, preventing decreased emission intensity. The device also includes deformation prevention members on the substrate around the sealing resin to limit the depth of dents when pressure is applied to the resin. This prevents damage to the internal components and wires from finger or tool pressure during handling or installation.
39. LED Lighting Device with Semiconductor Refrigeration and Graphite Heat Spreader System
Xiaogan Shengguang New Energy Co., Ltd., 2019
High-power LED lighting device with improved heat dissipation for longer life and better performance. The device uses a unique heat management system to prevent overheating and degradation of the LED chips. The LEDs and drivers are mounted on a cold side of a semiconductor refrigeration sheet. This sheet transfers heat to a heat conduction layer on the lamp body. A compression cover presses the conduction layer to fill gaps and improve contact. A graphite heat spreader and phase change material in the conduction layer further distribute and absorb heat. This allows the LEDs to run cooler and longer lifespan compared to direct lamp body mounting.
40. Light Source Module with Embedded Electrically Conductive Heat Dissipation Layer
LG ELECTRONICS INC., 2019
A light source module with improved heat dissipation and fabrication efficiency without resorting to expensive materials. The module has a heat sink with an insulating layer to protect against electrical shock. An electrically conductive layer is embedded in the insulation to provide current to the light source. The conductive layer also has a heat dissipation portion to extract heat.
41. LED Lighting Device with Thermally Conductive Substrate and Integrated Heat Dissipation Modules
Dongguan Wenyu Industrial Co., Ltd., 2019
LED lighting device with improved heat dissipation for high power applications. The device uses a thermally conductive substrate, multiple sets of heat dissipation modules arranged on the substrate, and a separate auxiliary heat dissipation device. The heat dissipation modules have main pipes partially embedded in the substrate and extending through the heat sink assembly. Spiral heat dissipation wires are placed between fins to further improve cooling. The embedded pipes, spiral wires, and fin arrangement provide enhanced heat transfer from the LEDs to the substrate and substrate to the fins.
42. LED Lighting Fixture with Forward-Directed Heat Spreading Cup and Integrated Lens Assembly
Cree, Inc., 2019
An LED lighting fixture that uses a heat spreading cup to dissipate heat from the LED and electronics towards the front of the fixture. The fixture has a lens assembly that extends inside the mounting structure and covers the opening. The heat spreading cup is thermally coupled to the LED and has a shape that directs heat towards the front. This prevents heat buildup in the cavity where the fixture is mounted, avoiding damage.
43. LED Lighting Device with Heat Conducting Base, Vibration Isolating Suspension, and Symmetrical Heat Sinks
Dongguan Wenyu Industrial Co., Ltd., 2019
Heat dissipating LED lighting device with improved heat dissipation and vibration isolation. The device has a heat conducting base, a carrier board with LEDs, and a suspension. The carrier board attaches to the base using threaded fasteners. The suspension connects the board to the base away from the clamping part. This isolates board vibrations from the base to reduce impact on the LEDs. The carrier board has a thermally conductive layer between it and the LEDs. This improves heat dissipation while buffering the LEDs from vibrations. The device also has vents in the base and cover for airflow. The heat sinks are symmetrically arranged on the base.
44. High-Power LED Assembly with Thermoelectric Heat Sink and Microchannel Heat Exchanger
Guangdong University of Technology, 2019
High-power LED luminous body with improved heat dissipation using thermoelectric cooling and microchannel heat transfer. The LED chip is mounted directly on a thermoelectric heat sink, which is connected to a microchannel heat exchanger. This allows direct contact between the hot LED chip and the thermoelectric cooling fins, improving heat transfer. The microchannel exchanger further dissipates the heat using a fluid medium. This closed loop cooling system provides more efficient heat extraction compared to air or water cooling methods.
45. LED Light Engine with Interleaved Rib Heat Dissipation Unit and Separate Module and Electronics Housings
WEGI CO LTD, Wizai, 2019
LED light engine with improved heat dissipation to prevent device degradation at high light output levels. The light engine has separate housings for the LED module and control electronics. A heat dissipation unit with interleaved ribs is sandwiched between the housings to form a flow path for cooling fluid. This allows efficient heat transfer from both the LED module and electronics to the fluid. Fluid ports in the ribs enable fluid flow through the path.
46. LED Light Source with Embedded Heat Conductive Material for Direct Thermal Transfer
EPISTAR CORP, 2019
LED light source with improved heat management for higher lumen output and better efficiency compared to conventional LED lights. The key feature is embedding the LEDs in a transparent or translucent heat conductive material instead of using a separate heat sink. This allows direct thermal transfer from the LEDs to the surrounding material, preventing overheating. The material can be silicone, ceramic, organic wax, or a thermoplastic. The LED-filled heat conductive material is then shaped to fit standard light socket form factors. This enables LED replacements that match traditional incandescent bulbs in size and aesthetics while maximizing light output.
47. LED Smart Bulb with Fuzzy Heat Transfer Structure and Temperature-Responsive Color Adjustment
Liu Huaying, 2019
LED smart bulb with high heat transfer efficiency and color temperature feedback to prolong bulb life. The bulb has a unique heat transfer system using a fuzzy heat transfer structure with a radial phase change homogenizer, axial heat dissipation jacket, and variable color LED module. The heat working medium is a mix of alcohols and glycerol. The bulb also has temperature sensors and color control to warn when hot and change color. This prevents overheating and damage. The bulb can switch colors based on temp zones to remind users.
48. LED Lamp with Active Heat Sink and Overheat Protection Module
Taicang Skat Machinery Technology Co., Ltd., 2018
LED lamp with rapid heat dissipation to prevent overheating and damage. The lamp has a heat sink with a fan that actively dissipates heat from the LED module. The heat sink is attached to the lamp body using a heat absorbing component. This allows the fan to pull air through the heat sink fins to cool the LEDs. It also has an overheat protection module with a temperature sensor, comparator, relay, and thermistor to shut off the lamp if it gets too hot.
49. LED Lighting Device with Integrated Lens Radiator and Embedded Heat Conduction Structure
SIGNIFY HOLDING BV, 2018
LED lighting device with integrated lens radiator to improve thermal management by using the light-emitting component itself as a heat spreader. The device has an LED source and a light-emitting component optically coupled to it. A heat conduction structure is embedded in the light-emitting component to distribute heat from the LED source to specific sub-regions. This reduces thermal gradients and allows the lens to become a secondary heat sink area. It improves thermal control without needing a separate heat sink. The conduction structure can be wires, a patterned film, or a honeycomb.
50. LED Lamp with Replaceable Heat Dissipation Module Containing Particulate Thermal Conductors
Shaoxing Shangyu Huateng Electric Co., Ltd., 2018
LED lamp with a replaceable heat dissipation module to improve thermal management and ease maintenance. The lamp has an LED light board with a side for attaching the heat dissipation module. The module contains a housing filled with randomly connected particulate thermal conductors. This allows easy disassembly and replacement of the heat dissipation module compared to integrated solutions, facilitating thermal management and component replacement in the lamp.
A variety of ways for controlling the heat from LED lights are shown in these patents. These advances, which range from innovative heat sink designs and two-phase cooling solutions to integrated anion generators and modular heat management systems, can significantly increase the efficiency and longevity of LED lighting systems.
Get Full Report
Access our comprehensive collection of 141 documents related to this technology
