Wireless Control for LED Lighting
Modern LED lighting systems must balance multiple technical requirements: delivering precise illumination control while maintaining reliable wireless connectivity in electromagnetically crowded environments. Field measurements show that metal fixtures, building materials, and competing RF signals can reduce wireless control reliability by up to 40% in typical installations, particularly affecting dimming accuracy and synchronization across multiple fixtures.
The fundamental challenge lies in maintaining robust wireless control links while preserving the electrical isolation and thermal management needed for LED operation.
This page brings together solutions from recent research—including antenna designs integrated with thermal management systems, hybrid visible light/RF communication approaches, and distributed control architectures using gateway devices. These and other approaches focus on achieving reliable control while meeting commercial installation requirements and energy efficiency targets.
1. LED Lighting System with Wireless Dimming and Integrated Sensor-Controlled Bluetooth Connectivity
LINKCOM MANUFACTURING CO LTD, LINKCOM MFG CO LTD, 2024
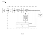
LED lighting system with integrated dimming capability that allows remote, wireless adjustment of LED brightness without physical wiring. The system uses a sensor to detect light levels, a controller to process the sensor data, and an LED driver with Bluetooth connectivity. The sensor can be integrated with the controller or connected via Bluetooth. The controller has a touch screen for user input and can automatically dim based on sensor data. The Bluetooth driver receives dimming commands wirelessly and has a comparator with a reference voltage to limit LED power. This allows remote dimming of LEDs using a wireless sensor without wired connections.
2. Lighting Device with Internal Antenna Positioned Within Exhaust Tube
SIGNIFY HOLDING B.V., 2023
A lighting device features an antenna for wireless communication positioned inside the exhaust tube. This tube, used for gas-filling the device, provides an isolated space, ensuring the antenna does not interfere with the lighting components.
3. Lighting Apparatus with Smart Circuit Incorporating Unique Grounding Structure and Insulation for Static Protection
LEEDARSON LIGHTING CO.,LTD., 2023
Lighting apparatus with a smart circuit that enhances lighting quality while reducing costs and damage from static electricity. The circuit includes a unique grounding structure and insulation around the LED chips. This protects against static discharge while providing flexible grounding connections to different parts of the circuit. The apparatus also has a wireless control circuit, a metal cover, and a metal housing for durability and easy installation.
4. Wireless-Controlled LED Dimming Module with Integrated Color Temperature Adjustment
SHENZHEN HAIXING TECH CO LTD, SHENZHEN HAIXING TECHNOLOGY CO LTD, 2023
A dimming and color temperature control module for LED lamps that allows remote wireless adjustment of brightness and color temperature from the ground without the need to climb ladders. The module connects between the LED drivers and lamps. It receives dimming signals from a remote source and converts them into PWM signals to dim the LEDs. It also provides separate power supplies for different color temperatures. This allows adjusting both brightness and color temperature from the ground using wireless controls.
5. White Light Source with Orange Nanowire LED and Blue Laser Diode for Tunable Emission and Optical Communication
King Abdullah University of Science and Technology, 2023
A white light source that combines an orange nanowire LED with a blue laser diode for high-quality tunable white light generation and high-speed optical wireless communication. The orange LED provides broad spectrum color mixing for high CRI white light and the blue laser enables high-speed data transmission.
6. Indoor LED Lighting Control System with IoT-Enabled Intelligent Gateway and Multi-Protocol Communication Modules
CHONGQING WENOVA PHOTOELECTRIC TECH CO LTD, CHONGQING WENOVA PHOTOELECTRIC TECHNOLOGY CO LTD, 2023
Indoor lighting control system using IoT technology to wirelessly control LED lights. The system uses a control module, server, intelligent gateway, and LED module. The intelligent gateway has an LED driver and communication modules. The LED driver processes commands received wirelessly or by wired connection to control the LED module. The communication modules enable wireless communication protocols like WiFi, Bluetooth, and cellular to transmit light status and commands between the modules. The server analyzes and processes light data received from the gateway.
7. Modular LED Brightness Controller with Wireless Communication and Constant Current Output
SICHUAN ZHONGKE ZHIGU INFORMATION ENG CO LTD, SICHUAN ZHONGKE ZHIGU INFORMATION ENGINEERING CO LTD, 2022
LED brightness adjustment controller for smart lighting systems that allows wireless control of LED brightness without complex wiring. The controller has separate modules for power supply, communication, processing, and constant current output. The processing module connects the communication and output modules. This modular design enables wireless communication between the processing module and the LED driver instead of using serial ports. This simplifies wiring compared to traditional controllers with integrated modules.
8. Lighting Control System with Bluetooth Mesh-Enabled LED Network and Sensor-Driven Local Control Unit
EURO WISHENGTONG SCIENCE AND TECH SHARE LIMITED CO, EURO WISHENGTONG SCIENCE AND TECHNOLOGY SHARE LIMITED CO, 2022
Intelligent lighting control system using Bluetooth mesh technology that reduces energy waste and improves efficiency compared to traditional lighting. The system has LED lights with onboard Bluetooth mesh networking and a local control unit. It uses sensors to detect ambient light and human presence. The sensors convert signals into electrical signals and a local control unit confirms their validity. The control unit then automatically adjusts the LED light switch based on the signals. This eliminates unnecessary light usage when rooms are empty or have sufficient brightness. The Bluetooth mesh networking allows central control of the lights via a separate device.
9. Lighting Control Device with Amplifying Circuit for Dimming Signal Adjustment
LG Innotek Co., Ltd., 2022
A lighting control device with precise dimming capability using an amplifying circuit. The device receives a dimming signal from the outside, amplifies it, and uses the amplified signal to control the lighting. This avoids complex circuitry and enables simple, cost-effective lighting control with precise dimming. The amplifier amplifies the dimming signal received by a wireless signal control module. This amplified signal is then sent to the lighting drivers to control the lights. The amplification allows precise dimming without complex circuits.
10. Power over Ethernet LED Lighting System with Integrated Control and Driver Mechanism
DONGGUAN LIANYUN DENGWANG TECH CO LTD, DONGGUAN LIANYUN DENGWANG TECHNOLOGY CO LTD, 2022
LED intelligent lighting system that uses Power over Ethernet (PoE) to provide power and control signals over a single network cable. The system has a controller connected to an external network cable and a driver connected to the LED lamp. The controller powers the driver over the network cable using PoE. The driver adjusts LED brightness based on environment or signals from the controller. This allows remote LED control without needing separate power and data cables.
11. White Light Illumination System with Orange Nanowire LED and Blue Laser Diode for Tunable Emission and Optical Communication
King Abdullah University of Science and Technology, 2021
White light illumination system that uses an orange nanowire LED along with a blue laser diode (LD) to provide tunable high-quality white light with simultaneous high-speed optical wireless communication capabilities. The wide linewidth orange LED provides a high color rendering index and tunable correlated color temperature, while the blue LD enables data transmission. This enables integrated lighting and communication systems that can provide high-quality white light while also transmitting data optically.
12. Power Supply Controller for LEDs with Ambient Light Sensing and Wireless Control Capabilities
WUHAN RUIWEIKANG TECH CO LTD, WUHAN RUIWEIKANG TECHNOLOGY CO LTD, 2021
Intelligent energy-saving power supply controller for LEDs that adjusts brightness based on ambient light and enables wireless remote control. The controller uses a transformer, rectifier, filter, regulator, microcontroller, LED driver IC, light sensor, and wireless receiver. The microcontroller receives light sensor data to generate PWM signals for the LED driver IC. It also receives wireless signals to remotely control the LEDs. This allows adjusting LED brightness based on ambient light and remotely without physical access.
13. Hybrid Lighting and Communications System with Orange Nanowire LED and Blue Laser Diode for White Light and Optical Data Transmission
King Abdullah University of Science and Technology, 2021
A hybrid lighting and communications system that uses an orange nanowire LED combined with a blue laser diode to produce high-quality white light with tunable color temperature and good color rendering, while also enabling high-speed optical wireless data transmission. The system achieves data rates over 1 Gbps using on-off keying modulation of the blue laser, while also generating high-quality white light with a color rendering index over 80. The nanowire LED provides color tunability and intensity for the white light, while the blue laser enables high-speed data communication.
14. LED Lighting Dimming Control Module with MCU, Zigbee Wireless Interface, and PWM Output
FOSHAN YINHE LANJING TECH CO LTD, FOSHAN YINHE LANJING TECHNOLOGY CO LTD, 2021
Dimming control module for LED lighting fixtures that enables adjustment of brightness and color temperature. The module has an LED power circuit, MCU, Zigbee wireless module, and a PWM output. The MCU connects to the LED power circuit via PWM to dim the LEDs. The Zigbee module allows wireless control from devices like routers, gateways, and smartphones using Zigbee protocol.
15. Wireless LED Color Tuning System with Integrated Dimmer Emulator and Control Unit
LUMILEDS LLC, 2020
A technique to enable wireless color tuning of LEDs without requiring a separate dimmer for CCT control. The technique involves using a wireless module to receive CCT and temperature signals, translating them at a control unit, and providing the translated signals to the LED driver. This allows color tuning using a single dimmer input while still controlling brightness. A dimmer emulator converts the translated signals to the correct dimmer voltage.
16. LED Luminaire with Wireless Dimming and Tuning via Photo-Coupler and Integrated Transceiver
Aleddra Inc., 2020
LED luminaire with remote tuning and dimming capability without requiring wiring or rewiring. The luminaire has a power converter to connect directly to AC mains, a voltage converter to regulate the voltage, and a control circuit with a photo-coupler. The photo-coupler receives a remote dimming signal via light and enables the voltage converter to dim the LED arrays. A transceiver demodulates remote signals to generate the dimming pulse. This allows wireless dimming and tuning of the luminaire without wiring.
17. Wireless Control System for LED Dimming and Color Adjustment via 433MHz Frequency Band
SHIQIANG XIANJIN SHENZHEN TECH CO LTD, SHIQIANG XIANJIN TECHNOLOGY CO LTD, 2020
Wireless control system for dimming and color adjustment of LED lights using the 433MHz frequency band to improve reliability and penetration compared to the crowded 2.4GHz band. The system has a LED power circuit, LED lamp group, wireless transmitter, and receiver. The receiver has an antenna with capacitors, inductors, and an antenna. The LED dimming and color control signals are sent over the 433MHz band instead of 2.4GHz to avoid interference and provide better wall penetration.
18. Lighting Control System with Wireless Communication for Remote Management and Sensor-Integrated Modulation
Fluence Bioengineering, Inc., 2020
Lighting control system for horticulture applications that allows users to remotely monitor and control lighting schedules and levels for multiple fixtures while also receiving real-time environmental sensor data. The system uses a control gateway device that wirelessly communicates with the control server, lighting modules, and sensor modules. This enables remote control of dimming and scheduling based on sensor inputs like temperature and light levels.
19. Single-Channel Constant-Current Driver for Wireless LED Color Tuning via High-Speed Switching
Lumileds LLC, 2020
Wireless color tuning of LED lamps using a single-channel constant-current driver to eliminate the need for separate dimmers and control inputs for color temperature and brightness. The technique involves rapid switching of the LEDs between on and off states at high speed to simulate continuous color mixing. By changing the duty cycle of each color, the desired mixed color can be achieved without dimming any individual LEDs. This allows wireless control of color temperature using a single control input instead of separate controls for color and brightness.
20. Smart Lighting System with 5G-Enabled LED Controllers for Individual and Group Dimming
CHONGQING SILIAN PHOTOELECTRIC SCIENCE & TECH CO LTD, CHONGQING SILIAN PHOTOELECTRIC SCIENCE & TECHNOLOGY CO LTD, 2020
A smart lighting system using 5G communication for efficient and flexible control of LED lights. The system has LED lamps with controllers that communicate over 5G. It allows intelligent dimming of individual lamps or groups based on unique identifiers. The system also has features like loop dimming, remote dimming from servers, and local dimming based on environmental parameters. The controllers can also monitor lamp health and faults. The 5G connectivity enables scalable, flexible, and reliable lighting control without needing dedicated power lines or mesh networks.
21. Controller and LED Lamp Assembly with Dual-Mode Power Line Carrier and Wireless Communication
SHANGHAI FEILO ACOUSTICS CO LTD, SHANGHAI YAMING LIGHTING CO, SHANGHAI YAMING LIGHTING CO LTD, 2020
A controller and LED lamp assembly for intelligent lighting that uses both power line carrier (PLC) and micro power wireless communication to overcome the limitations of wired and wireless lighting control systems. The controller includes a PLC receiver, a wireless transceiver, and a microcontroller. It connects to the power line for reliable wired communication. It also has a wireless module for backup or extended range. This dual-mode communication provides the benefits of wired reliability and wireless convenience.
22. Wireless Control Interface for LED Lamps with Integrated Brightness Modulation Positioned Between Power Supply and Lamp
CECEP LATTICELIGHTING CO LTD, 2020
Wireless control device for LED lamps that allows remote control of lamp brightness without requiring separate power supply or dimming functionality from the LED driver. The device connects between the AC-DC power supply and the LED lamp. It's located after the power supply but before the lamp, allowing it to intercept and control the power before it reaches the lamp. This eliminates the need for separate power and dimming connections for the wireless controller. The controller can adjust the lamp brightness without requiring the LED driver to have dimming capability or an auxiliary power output.
23. LED Driver with Constant Current and Voltage Sources, Wireless Control via Bluetooth Mesh, and Adaptive Current Optimization
MRINQ TECH LLP, MRINQ TECHNOLOGIES LLP, 2020
Adaptive LED driver with wireless battery-powered switches for lighting control. The LED driver has a constant current source followed by a constant voltage source to protect the LEDs. It dims using analog and PWM. A Bluetooth module connects the driver to wireless switches and smartphone. The driver adapts to optimal current for each LED. The Bluetooth mesh allows long range control.
24. IoT-Enabled LED Light Dimming System with Ambient Light Sensors and Insect Deterrence
Kim Sang-jo, 2020
IoT-based LED street light and security light dimming control system that uses an IoT device and wireless network to adjust LED brightness based on ambient light. It involves installing an IoT device on each street light/security light pole that communicates with a central server over wireless networks. The device measures ambient light and sends dimming commands to the light to save power when brightness is sufficient. It also monitors light status. This allows remote control, power savings, and real-time maintenance compared to conventional wireless systems. The IoT device has sensors, insect deterrence, and prevents insects from entering.
25. Lighting Fixture with Independent LED Board and Driver Featuring Communication Interface for External Control
IDEAL INDUSTRIES LIGHTING LLC, 2019
Lighting fixture with separate LED board and driver for flexibility and modularity. The fixture has a communication interface on the LED board that allows external control systems to send commands directly to the LED board. This separates the control intelligence from the driver, enabling modularity and flexibility in lighting design. The driver still powers the LEDs, but the LED board handles color control and dimming commands received from the external system. This allows using any compatible driver with the fixture, without integrated color control.
26. White Light Device with Orange Nanowires LED and Narrow Linewidth Blue Laser Diode
King Abdullah University of Science and Technology, 2019
A white light device architecture based on an orange nanowires LED combined with a narrow linewidth blue laser diode for simultaneous illumination and optical wireless communication. The orange nanowires LED provides tunable white light with high color rendering. The blue laser diode enables high-speed data transmission. This hybrid LED/laser system offers improved efficiency, color quality, and data rates compared to conventional phosphor-based white LEDs. The orange nanowires LED has a broad linewidth that fills the spectrum for better color rendering.
27. Wireless LED Lighting Control Device with Independent Illumination and Chromaticity Dimming Circuits
BILT LIGHTING CO LTD, 2019
Wireless dimming LED lighting control device that allows precise and independent adjustment of illumination and chromaticity of LED lights at a distance using wireless communication. The device has separate dimming circuits for illumination and color correction, with a wireless controller to send dimming and color adjustment commands. It also has memory to store user-set illumination and chromaticity values, and features like shortcut buttons for quick access.
28. Wireless-Controlled Smart LED Lighting System with Centralized Module and Individual LED Drivers
Joule IQ, Inc., 2019
Smart LED lighting system that enables wireless control of individual LED lights to sculpt the light output. The system uses a central control module connected wirelessly to smart LED drivers that control the LED lights. This allows controlling individual lights, groups, or zones to alter intensity, color, and character. The system can also execute pre-programmed lighting configurations. It uses sensors, a gateway, and cloud connectivity.
29. LED Light Fixtures with Modulated Visible Light Communication for Data Transmission and Indoor Positioning
Federal Law Enforcement Development Services, Inc., 2019
Using LED light fixtures for secure data communication and accurate indoor positioning in buildings such as offices, manufacturing plants, hospitals, schools, hotels and residential complexes. It leverages existing LED lighting infrastructure to provide high-speed data transmission and precise indoor positioning using visible light communication. The LED lights are modulated at high frequencies with embedded data to provide secure communication that can only be detected by receivers in the line of sight. This allows data transfer between LED light fixtures and devices like badges, smartphones and sensors. The system uses photodiodes, filters and signal processing to receive the light-encoded data. It can enable applications like secure access control, tracking people and assets, monitoring building systems and automating services.
30. WIFI-Integrated LED Lighting System with MCU-Driven Control via Wireless Router
Woan Technology Co., Ltd., 2019
A WIFI-based intelligent lighting control system that allows remote control of LED lights using an existing wireless router. The system consists of LED lights, a wireless router, and a control terminal. Each LED light has a WIFI module, MCU, and drive module. The WIFI module receives light control signals from the router, sends them to the MCU, which generates driving signals for the drive module to control the LED. This allows the lights to be remotely controlled via the router without requiring additional wiring or dedicated lighting control network.
31. Wireless LED Lighting Control System with Separate Control and Drive Modules
Nanjing Donghui Optoelectronics Co., Ltd., 2019
A wireless control system for LED lighting that allows remote control and monitoring of LED lamps. The system has two main modules: an LED control module and an LED drive module. The control module has a wireless receiver and microcontroller connected to a mobile phone or computer. It outputs signals to the drive module. The drive module has rectifier, transformer, switch, controller, feedback network, and output module. It converts input AC to regulated DC for the LEDs. The wireless control allows remote adjustment of LED brightness, color, and other parameters.
32. Wireless LED Control System with ID-Coded Power Output Devices for Independent Brightness and Color Adjustment
GUNITECH CORP, 2019
A light-emitting diode (LED) control system that allows wireless adjustment of LED brightness and color in luminaires. The system uses a central electronic device that communicates wirelessly with the luminaire. The luminaire has multiple power output control devices, each with an ID code. The central device controls the luminaire by transmitting power signals to specific IDs. This allows selectively adjusting LED current in each device, without complex wiring. The luminaire can have mixed LED types for color tuning. The central device sends codes to control parameters like color, brightness, start/stop times.
33. FPGA-Controlled LED Array with Selective Bead Activation and Parallel Group Management
Xi'an Meizhilu Information Technology Co., Ltd., 2019
LED adjusting device using FPGA to optimize LED lighting efficiency and brightness. The device uses an FPGA to control the individual LED beads instead of turning on all beads together. This allows selective activation of beads based on desired brightness levels, preventing overconsumption of power when full brightness is not needed. The FPGA also allows independent control of groups of beads connected in parallel, rather than using separate beads for each group. This reduces the number of required beads and connections. The device connects the LED beads to an FPGA with configurable logic to dynamically control the beads' activation. The FPGA can receive input commands for customized lighting patterns or brightness levels.
34. Lighting Management System with Combined Power Line and Wireless Control Using Centralized Controller and Power Carrier Signal Modulation
Zhejiang Kayo Lighting Co., Ltd., 2019
Intelligent lighting management system that combines power line and wireless control for easy installation, cost savings, and energy efficiency. The system uses a centralized controller that communicates wirelessly with external devices and controls individual devices over power lines. The controller modulates control signals onto the power line using a power carrier signal modulation module. LED drivers demodulate the control signals from the power line. This allows centralized control of multiple devices using both power line and wireless communication.
35. Signal-Responsive Load Regulation Device for Synchronized Light Brightness Compensation
LUTRON TECH CO LLC, LUTRON TECHNOLOGY COMPANY LLC, 2019
Load regulation device for lights that compensates for signal attenuation in long wiring to maintain consistent brightness levels when controlled remotely. The device adjusts the target brightness range based on the received control signal strength to account for voltage drop in long wiring. This prevents inconsistent brightness levels when lights farther away from the control device receive weaker signals. The device communicates with other similarly configured lights to synchronize brightness compensation based on received signal strength.
36. Lighting Fixture with Integrated Communication Apparatus and Signal-Responsive Controller
iLumisys, Inc., 2018
Integrating communication features into lighting fixtures to provide a single package that replaces a standard light bulb and provides both light and communication functions. The lighting fixture has a communication apparatus to detect presence, sound or images in the area and generate signals. A controller then uses those signals to control the light output.
37. Digital Lighting Control System with Wireless DMX Protocol and Exponential Dimming Capability
Jeong Hwan-soo, 2018
Digital lighting control system using DMX protocol that allows adaptive dimming control for theater, stage, and landscape lighting. The system uses DMX modules to transmit and receive dimming signals wirelessly or wired, allowing simultaneous control of up to 512 LED modules without crosstalk. It enables exponential dimming with 0-12000 steps instead of linear or stepped dimming. The system also supports color implementation and adaptive brightness adjustment based on viewing angle.
38. Wireless LED Lighting Control System with Group-Based Identifier Assignment
Choi In-soo, 2018
Wireless control system for LED lighting that allows group-based control to prevent unnecessary LED power waste in buildings. The system divides LEDs into custom groups and assigns unique identifiers. Users can then wirelessly control groups instead of all LEDs. This prevents driving LEDs unnecessarily in areas with sufficient light. A remote sends group IDs to wireless units in LEDs to change their state. The system works with existing wired lighting infrastructure.
39. Centralized Intelligent Lighting Control System with Remote Monitoring and Networked LED Management
SHENZHEN HIGHFENG TECH CO LTD, SHENZHEN HIGHFENG TECHNOLOGY CO LTD, Shenzhen Hanfei Technology Development Co., Ltd., 2018
Intelligent lighting control system with centralized management and remote monitoring of LED lights. The system allows remote control of LED lights from a central location using wired/wireless networks. It provides features like intelligent dimming, scheduling, and feedback using a central controller, light source terminal, and LED lights. The central controller polls and processes data from the terminals. The terminals have sensors, dimmers, storage, communication, and clocks. This allows centralized control, feedback, and management of multiple LED lights through a network.
40. Modular Linear LED Light Source with Individual LED Control and External Diffuser
Gerald Ray Richert, Danielle Wilson, Timothy Justice, 2018
A controlled linear LED light source for sorting machines that enhances imaging capability and sorting performance. The light source uses a modular LED illuminator with individual LED control that allows temporal, spatial, and spectral control of the light emitted. An external diffuser renders the light uniform. A computer network controls the LEDs to generate a multi-modal, multi-spectral light output with characteristics optimized for imaging and sorting.
41. Wireless Lighting Control System with ZigBee-Enabled Dimming Modules for LED Lamps
Hao Le Electronics Co., Ltd., 2018
A wireless dimming lighting control system using ZigBee technology to enable remote control and monitoring of LED lamps for energy conservation, maintenance and fault diagnosis. The system involves connecting dimming modules to the LED lamps and establishing wireless communication between the lamps, a gateway, a server and a control unit. This allows remote switching, dimming, status checking, telemetry and fault diagnosis of the lamps from a central location.
42. LED Lighting System with Short-Range Wireless Control and Integrated AC-DC Converter
KYUNG YEO SOO, POWERIN CO LTD, Gyeongyeosu, 2018
An LED lighting system that uses a short-range wireless communication module to enable wireless control of the lighting. The system has an LED module, a short-range wireless module, and a converter unit. The wireless module receives control signals from an external device. The converter unit converts AC power to DC for the LEDs and is controlled by the wireless signals. This allows wireless control of the lighting without needing long-range communication. Multiple lights can form a mesh network. The wireless module can be Bluetooth. The converter unit has a PCB with circuit elements to convert AC to DC.
43. Wireless LED Luminaire Control System with PWM-Driven Adjustable Parameters
Guangdong Shunde Baoshengyuan Environmental Protection Technology Co., Ltd., 2018
Intelligent lighting control system that allows versatile control of LED luminaires using wireless communication. The system consists of a control terminal, an LED lamp, and a lighting control unit. The terminal wirelessly sends signals to the control unit to adjust LED color, temperature, brightness, and alarm settings. The control unit has a PWM generator, driving circuit, and wireless module. The PWM circuit drives the LED lamp based on the received signals. This allows the control terminal to wirelessly control LED luminaires with customizable color, temperature, brightness, and alarm features.
44. Wireless Remote Control Dimming Power Supply for LED Lamps with Dual Input Signal Reception and Ambient Light Sensing
CHIN-WEI CHAO, 2018
Intelligent wireless remote control dimming power supply for LED lamps that allows simultaneous use of wall switches and handheld remotes for turning on/off, dimming, and power-off memory. The device has a wireless transmitter to receive signals from both wall switches and handheld remotes. It also has a photodiode to automatically dim based on ambient light. The power supply can drive multiple colored LED lamps without interference. It has wide AC input voltage, smooth dimming, and no need to change wiring.
45. LED Street Light System with Ambient Light Sensor and Wireless Adaptive Brightness Control
Anhui Aurora Lighting Engineering Co., Ltd., 2018
A light intensity adaptive scattered LED light control system that enables adjusting the brightness of LED street lights based on ambient conditions to save energy. The system uses an environmental sensor to measure light levels, a PLC control board to process the data, and wireless transmission modules to send the readings to a remote main control center. The center analyzes the data and sends instructions back to the street lights to adjust brightness. This allows the lights to dynamically adapt to surrounding light levels instead of fixed brightness.
46. Integrated LED Lighting Control System with Constant Current Source Circuit and Ethernet Connectivity
BMT KOREA CO LTD, INDUSTRY ACADEMIC COOPERATION FOUNDATION CHOSUN UNIV, INDUSTRY-ACADEMIC COOPERATION FOUNDATION CHOSUN UNIVERSITY, 2018
Integrated remote control system for LED lighting that reduces power consumption and enables an integrated lighting system by directly controlling the forward current of the LEDs using a constant current source circuit in the driver. This allows precise LED current regulation without the need for external current sources, which improves efficiency. The system uses a communication network like Ethernet to control the LEDs remotely. The driver has a DC/DC converter to adapt the input power and a heat dissipating part made of aluminum for LED thermal management.
47. LED Engine with Integrated Wireless Communication Module for Direct Programming
UNIVERSAL LIGHTING TECHNOLOGIES, INC., 2018
Wirelessly programming lighting devices without additional components by integrating the wireless communication module into the LED engine itself. This allows unshielded antenna placement and communication with the LED driver inside the fixture. The LED engine with integrated module can be retrofitted into existing fixtures, replacing the LED module and driver. The fixture is wired as normal, but now the LED engine's module can wirelessly receive programming signals from an external device to control the lighting output.
48. LED Lighting System with Wireless RF Communication for Dimming Control
Zhongshan Beineng Lighting Technology Co., Ltd., 2018
LED lighting system that enables wireless dimming of LED lamps without requiring physical wiring connections. It uses RF communication modules in the LED drivers and receivers to wirelessly transmit dimming commands between them. The RF modules randomly select channels to communicate on, avoiding congestion and interference. This allows LED drivers to dim their lamps wirelessly using commands sent over RF.
49. LED Lighting Control System with Short-Range Wireless Network and Integrated LED Driver Components
Lee Dong-heon, 2018
Controlling LED lighting using a short-range wireless network to efficiently dim and adjust brightness, prevent unnecessary driving, reduce energy consumption, and monitor LED status. The system involves a local LED driver with a triac dimmer, PFC converter, and light emission controller. It sends LED status and weather data to a remote server. The server checks dimming levels, weather, and monitors LED health. It sends optimized dimming signals to the local driver. This allows remote control of LED brightness matching surroundings, preventing overdriving, and maintenance diagnostics.
50. White Light Device Architecture with Orange Nanowires LED and Blue Laser Diode Integration
King Abdullah University of Science and Technology, 2018
A white light device architecture suitable for illumination and optical wireless communications. The architecture uses an orange nanowires LED combined with a blue laser diode. This achieves both high quality white light generation and high speed optical communications in a single device. The orange nanowires LED provides tunable color rendering with a high CRI, while the blue laser enables optical wireless data transmission.
The patents displayed here represent a wide variety of wireless LED lighting system technologies. The integration of wireless control with modular lighting fixtures and improved wireless communication through antenna placement along with other solutions, is how these technologies make lighting more adjustable and effective.
Get Full Report
Access our comprehensive collection of 87 documents related to this technology
