High Luminance LEDs in Lighting Applications
Modern LED lighting systems face increasing demands for higher luminous flux while maintaining compact form factors. Current high-power LED packages achieve luminance levels of 50-100 cd/mm², but applications in automotive headlights, projectors, and architectural lighting require intensities exceeding 200 cd/mm² without compromising thermal stability or operational lifetime.
The fundamental challenge lies in managing the inverse relationship between luminous intensity and thermal load while maintaining color quality and beam control.
This page brings together solutions from recent research—including advanced thermal management through flexible PCB designs, optimized phosphor configurations for natural white light, reflective optical assemblies, and micro-LED arrays with enhanced light extraction. These and other approaches focus on achieving higher luminance while addressing practical constraints in size, cost, and manufacturability.
1. Backlight Source Structure with Uniform Light Conversion and Reflective Components for LED Lamps
SHENZHEN GUANGKE HOLOGRAPHIC TECH CO LTD, SHENZHEN GUANGKE HOLOGRAPHIC TECHNOLOGY CO LTD, 2023
Backlight source structure for LED lamps that improves brightness, utilization, and efficiency of LED lamps. The structure has a light source component, a uniform light component, and a second reflective component. The light source emits light in a direction. The uniform light component converts the point light to surface light and reflects back to surrounds. The second reflective component around the light source gathers and re-emits the reflected light parallel to the emission direction. This concentrates the light to increase brightness, utilize more of the emitted light, and reduce source waste.
2. Tunable White Light LED Device with Tri-String Phosphor-Coated Blue LEDs and Adjustable Drive Circuit for Color Temperature Control
Korrus, Inc., 2023
Tunable white light LED device that provides high-quality light with adjustable color temperature and enhanced color rendering for applications like circadian lighting. It uses a combination of three LED strings (blue LEDs with phosphor coatings), each with a different color phosphor, to generate unsaturated light of different colors. These unsaturated light spectra are mixed to create a tunable white light that can be adjusted along the black body locus of correlated color temperatures. The device uses a drive circuit to adjust the relative currents to the LED strings and achieve the desired color point.
3. LED Lamp with Cylindrical Transparent Housing and Rolled Flexible PCB for Integrated Heat Dissipation
Yuriy Borisovich Sokolov, 2023
An LED lamp design that allows high-power LEDs to be used without requiring external heat sinks. This is achieved by using a cylindrical transparent housing with the LEDs mounted on a flexible PCB rolled up inside. The PCB is coated with a thin transparent layer to protect the LEDs. The rolled PCB, LEDs, and driver components are all contained within the housing. This allows the LEDs to dissipate heat directly into the surrounding air through the transparent housing.
4. White LED Lighting with Broad-Spectrum Blue Excitation and Enhanced Phosphor Composition
Intematix Corporation, 2023
White LED lighting that closely mimics natural sunlight and has improved color rendering compared to traditional LEDs. The device uses broad-spectrum blue LEDs as the excitation source along with optimized green-yellow and red phosphors. The broad blue excitation fills in the cyan trough between blue and green phosphors, boosting color rendering. The result is full-spectrum white light that appears more natural, has higher CRI, and reduces eye damage from excessive blue light exposure.
5. Lighting Apparatus with Reflective Unit and Optical Pattern Layer for Enhanced Luminance
LG INNOTEK CO., LTD., 2023
Lighting apparatus with improved luminance using LEDs and reflectors, without increasing thickness or light sources. A reflective unit with a spaced area under each LED increases reflectivity and luminance. The spaced area can be defined by an optical pattern layer to replace a light guide plate.
6. Lighting Device with Copper-Nickel Heat-Conducting Films and Integrated Thermal Management System
SHENZHEN ZHONGJIN LINGNAN XINYUE NEW MAT CO LTD, SHENZHEN ZHONGJIN LINGNAN XINYUE NEW MATERIAL CO LTD, 2023
High-intensity lighting device using copper-nickel heat-conducting films to efficiently dissipate waste heat from LEDs and allow compact, high-intensity illumination. The device has a thermal film assembly with LEDs, optical reflector, and metal frame. The copper-nickel films guide heat from the LEDs to the heat sinks. The LEDs are grouped and focused by the reflector for higher light output. The compact design allows cost-effective high-intensity lighting compared to conventional LEDs.
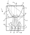
7. LED Luminaire with External Light Source and Slot-Integrated Reflector for Redirected Light Distribution
Philips Lighting Holding Company, PHILIPS LIGHTING HOLDING BV, 2022
LED luminaire with improved light output and compact design by using a reflector with a slot to redirect light from an external LED source into an internal optical element. The LED is mounted outside the reflector, which has a slot for the light guide to pass through. The light guide directs the LED light into the reflector, where it exits at an angle relative to the light guide direction due to the reflector geometry. This avoids high brightness spots and improves light distribution compared to directing the LED light straight into the optical element.
8. LED Headlight with Proximal Heat Sink and Light Concentration System
FOSHAN EVERCORE OPTOELECTRONIC TECH CO LTD, FOSHAN EVERCORE OPTOELECTRONIC TECHNOLOGY CO LTD, 2021
High heat dissipation LED headlight that emulates the light output of halogen lamps while improving heat dissipation compared to conventional LED headlights. The key innovation is placing the LED near the heat sink instead of at the light source end. A concentrator converts the LED light into parallel beams and adjusts the spot size. This allows close proximity of the LED to the heat sink for better dissipation. The concentrated light is then transmitted to the fluorescent glue layer, which glows white. The close LED-heat sink placement and light concentration enable effective heat transfer while maintaining brightness equivalent to halogen lamps.
9. Light Guide Structure with Integrated Condenser and Reflective Mirror for Low-Power LED
BEIJING HAINACHUAN HELLA AUTOMOTIVE LIGHTING CO LTD, BEIJING HAINACHUAN HELLA SANHE AUTOMOTIVE LIGHTING CO LTD, 2021
Light guide structure for realizing high brightness of a low-power LED. The structure includes a support and a condenser, wherein the PCBA is arranged at the top of the support, an LED lamp wick is installed at the top of the PCBA through a mounting seat, the condenser is arranged on the outer side of the top of the PCBA, an optical reflecting mirror surface is glued inside the condenser, and a light guide column is sleeved at the top of the condenser.
10. LED Light Source with Conical Multi-Color Die Arrangement and Closed-Loop Intensity Control
Optical Innovations Co., Ltd., INNOVATIONS IN OPTICS INC, 2021
High-emissivity LED light source for applications like surgical lighting and microscopy that provides high radiation, adjustable color temperature, and stable color rendering over time. The source uses multiple LED dies of different colors arranged in a cone shape. Closed-loop control adjusts the intensity of each color channel to maintain consistent color rendering and color temperature as the LEDs age and temperature changes. The conical geometry and closed-loop control overcome limitations of conventional LED sources like fixed CCT and CRI degradation. The high-emissivity LEDs can be coupled to fiber optics for surgical lighting.
11. Lighting Apparatus with High-Efficiency LEDs in Compact Enclosure Under 5000 mm³
EPISTAR CORPORATION, 2020
Lighting apparatus with high intensity, small volume package, and high-efficiency LEDs. The apparatus includes a board with multiple small LEDs mounted on it and an enclosure that houses the LEDs. The enclosure has a volume of less than 5000 mm3 and protects the LEDs while maintaining high light output.
12. LED Lighting Device with Dual Reflector System for Uniform Light Distribution
Lee Jae-hyun, Kim Dae-yoon, 2020
LED lighting device with uniform light output by using a distribution reflector below the LED mounting area and a main reflector above it. The LED looks down at the distribution reflector below, then the light is reflected by the distribution reflector up to the main reflector above. This evenly divides and reflects the light throughout the main reflector to brighten the entire area without dark spots.
13. LED Structure with Optical Surface Incorporating Gratings and Redirecting Features
FACEBOOK TECH LLC, FACEBOOK TECHNOLOGIES LLC, 2020
Light-emitting diode (LED) designs with improved light extraction and control. The LED structures have an optical surface coupled to the semiconductor junction to output light. The optical surface can have features like gratings, prisms, or index gradient layers to increase light extraction. It can also have redirecting structures like slanted grating arrays to steer the light. This allows capturing more light generated inside the semiconductor and directing it for better efficiency and applications like collimation.
14. LED Device Package with Insulating Reflective Layers on Electrodes
LG INNOTEK CO., LTD., 2019
Light emitting device packages and lighting device designs that aim to improve the light intensity of LED devices. The design includes using insulating reflective layers on the electrodes of the LED device to reduce light absorption and improve light output. The insulating layers are applied to selected areas of the electrodes to expose contact points while reflecting light.
15. Light-Emitting Device with Central and Peripheral LED Units for Enhanced Central Brightness
CITIZEN ELECTRONICS CO., LTD., CITIZEN WATCH CO., LTD., 2019
A light-emitting device that provides a large circular light-emitting region with increased brightness in the center by using a central LED unit surrounded by smaller peripheral LED units. The central unit has a larger light-emitting region area compared to the periphery units. This configuration increases the overall light-emitting region size while concentrating more light at the center. It avoids yield issues of making a single large LED and prevents overheating a large substrate.
16. White Light Device Architecture with Orange Nanowire LED and Narrow Linewidth Blue Laser Diode
King Abdullah University of Science and Technology, 2019
A white light device architecture based on an orange nanowires LED combined with a narrow linewidth blue laser diode for simultaneous illumination and optical wireless communication. The orange nanowires LED provides tunable white light with high color rendering. The blue laser diode enables high-speed data transmission. This hybrid LED/laser system offers improved efficiency, color quality, and data rates compared to conventional phosphor-based white LEDs. The orange nanowires LED has a broad linewidth that fills the spectrum for better color rendering.
17. Solid-State Lighting Module with Dense LED Arrays on Thermally Conductive Substrate
Phoseon Technology, Inc., 2019
High power density solid-state lighting modules that can produce focused, intense light output for applications like curing polymers, sterilization, cleaning, and material ablation. The lighting module uses dense arrays of solid-state light-emitting diodes (LEDs) on a thermally conductive substrate. The LEDs can be driven at high power to achieve the required power densities. The module allows solid-state lighting to replace high-intensity arc lamps for applications requiring high power density irradiation.
18. LED Package with Optical Element and Cover Featuring Alignable Reference Marks for Precise Assembly
KONINKLIJKE PHILIPS N.V., 2019
LED package for motor vehicle lamps that has improved brightness and luminous flux performance compared to conventional packages. The package contains a LED, an optical element, a cover, and optical reference marks. The marks on the optical element and cover are aligned to a reference mark on the substrate or heat sink during assembly. This precise alignment improves the optical performance of the LED package. The marks can be detected and aligned using an optical system during manufacturing.
19. Illumination Method Using Light Emitting Devices with Spectrum Matching for Enhanced Color Appearance
CITIZEN ELECTRONICS CO., LTD., 2019
An illumination method that creates natural, vivid, highly visible and comfortable color appearances by optimizing the light spectrum for objects. The method involves illuminating objects with light that, when measured at the object position, matches specific criteria for hue, saturation and color temperature compared to a reference light. This recreates natural color appearances indoors under typical lighting conditions. The illumination is achieved using light emitting devices such as LEDs with specific spectra. The method aims to provide favorable color appearances under moderate indoor lighting conditions while maintaining energy efficiency.
20. LED Collimated Light Source with Multi-Layer Light Guide and Zigzag-Edged Hollow Layer
Xi'an Institute of Optics and Precision Mechanics, Chinese Academy of Sciences, 2018
An LED collimated light source that provides high-intensity, directional light from a compact, low-profile package. The collimated light source uses a light guide component with a central LED module surrounded by layers that guide and collimate the light. The layers include a light guide glass, a light gathering layer, a hollow layer, and a transmission layer. The hollow layer has zigzag edges that guide the light to the transmission layer. This collimates the light from the central LED into a narrow beam. The collimating component replaces the reflector and optics in a conventional LED fixture, reducing size and weight.
21. Compact LED Light Emitting Device with Integrated Light Guide and Collimating Element
PHILIPS LIGHTING HOLDING B.V., 2018
LED light emitting device that combines multiple LED sources into a compact high quality light source. The device uses a single light guide element adjacent to the LED output surfaces to efficiently collect the emitted light and guide it to an output surface. A transparent collimating element captures the guided light and reflects any escaping light back into the guide.
22. LED Light Source Module with Sawtooth Optical Plate and Reflective Layer for Light Concentration
Zhongshan Jiangqi Lighting Technology Co., Ltd., 2018
LED light source module with a light collecting device to improve the lighting efficiency and output of LED lamps by concentrating the light emitted by the LEDs. The module has a lamp tube with a light collecting mechanism inside. The mechanism has an optical plate with a sawtooth-shaped incident surface at the top and a reflective surface at the bottom. A reflective layer between the surfaces bounces the light back and forth. This concentrates and directs the light emitted by the LEDs mounted inside the lamp body.
23. Cylindrical LED Matrix Lighting Device with Parabolic Fiber Optic Light Concentration and Enhanced Thermal Conduction
FEDERALNOE GOSUDARSTVENNOE BYUDZHETNOE UCHREZHDENIE NAUKI FIZICHESKIJ INST IM P N LEBEDEVA ROSSIJSKO, FEDERALNOE GOSUDARSTVENNOE BYUDZHETNOE UCHREZHDENIE NAUKI FIZICHESKIJ INSTITUT IM PN LEBEDEVA ROSSIJSKOJ AKADEMII NAUK, Federal State Budgetary Institution of Science P.N. Lebedev Physical Institute of the Russian Academy of Sciences, 2018
A lighting device using LED matrices that improves heat dissipation, thermal stability, and light distribution compared to conventional LED matrix arrays. The device has a cylindrical hollow body with an optical fiber inside. The LED matrices are mounted on the outer surface of the fiber. The fiber has a parabolic depression at one end. The LED matrices are positioned with their centers at the focal points of the parabola. This reflects their light into the parabolic depression and out the other end through the fiber. The parabolic shape concentrates and directs the LED light. The hollow body and fiber provide efficient heat conduction. This avoids the issues of heat dissipation and uneven brightness that arise with spaced matrix arrays.
24. Compact LED Lighting Apparatus with High-Intensity Multi-LED Configuration
EPISTAR CORPORATION, 2018
A small form factor LED lighting apparatus with high intensity. The lighting apparatus has a volume less than 5000 mm3 and a light intensity greater than 150 lumens. The compact size makes it suitable for applications where space is limited. The apparatus achieves high brightness from multiple LEDs enclosed in a small package.
25. LED Lighting Device with Separation Region and Optical Pattern Layer for Uniform Light Distribution
LG INNOTEK CO LTD, 2018
A thinner LED lighting device with improved brightness and reduced hotspots. The device uses a separation region between the first reflective member (e.g., metal) and second reflective member (e.g., transparent) to prevent light concentration and hotspots. The separation region is formed below the LED source to direct light uniformly. The device also has an optical pattern layer with an adhesive to further diffuse and disperse the light.
26. Modular LED Fixture with Arc-Shaped Array and Adjustable Converging Light Patterns
Robert Reynolds, 2018
Modular LED light fixture system with arc-shaped array to achieve high intensity illumination and full spectrum for horticulture and other applications. The system uses LED modules arranged along a curved housing that focuses their light output into a concentrated illuminated area. The modules can be adjusted to converge their light patterns. The fixture allows customization of LED colors and lenses.
27. Layered LED Lighting Device with Stacked Scattering and Condensing Structures
Sanken Electric Co., Ltd., 2018
LED lighting device that provides uniform, highly directional light from a wide area. The device uses a stacked structure of layers above the LED chips. The layers scatter and condense the LED light. A scattering layer above the LEDs scatters the light. A gap between the LED chips and scattering layer prevents internal reflections. A condensing layer above the scattering layer further concentrates the scattered light. This avoids internal reflections and spectrum changes. A fluorescent layer below the scattering layer absorbs and converts some LED light. The protective layer covers the device. The vertical distance between the LED chips and scattering layer is 5x the horizontal chip spacing.
28. LED Array with Independently Controlled Multi-Channel Strings and Variable Phosphor Application
DiCon Fiberoptics, Inc., 2018
LED lighting with high color rendering index (CRI) and adjustable color temperature. The LED array contains multiple strings, each comprising several LED chips of potentially different wavelengths, with each string controlled electronically as a separate channel. Phosphors of multiple types and emissions spectra are dispensed or applied on top of all of the individual LED chips, such that it is possible to have a different phosphor type on each individual LED chip, or on different subsets of the LED chips. The multiple channels allow for each string of LEDs and hence their output color and power to be independently switched on/off and varied in intensity, respectively. This allows the LED illuminator to provide variable or adjustable color temperature (CCT), while maintaining extremely high CRI.
29. Integrated Optical and Thermal Guide Assembly for LED Illumination
ALLNEX BELGIUM SA, 2017
Integrated illumination device that combines an optical guide with a thermal guide to improve efficiency and cooling of LED-based lighting. The optical guide receives and distributes light from the LED source, while the integrated thermal guide conducts heat away from the LED to cool it. This eliminates the need for external cooling components like fans or sinks. The combined optical and thermal guides provide efficient light distribution and cooling in a compact and integrated package.
30. LED Lighting Device with Geometrically Optimized Light Guide and Heat-Dissipating Absorptive Section
RICHARD WOLF GMBH, 2017
Lighting device with a high output from a small LED source. The device uses a unique light guide geometry and internal components to efficiently transfer the LED light into the guide and maximize output at the end. The light guide has a section with increasing cross-section that transforms incoming angled light rays to more parallel for better transmission through the narrow guide fibers. This section has a reflective inner surface. It connects to a second section surrounded by a light absorbing material. The absorber has high thermal conductivity to dissipate heat. This configuration allows high light output from the guide end while reducing thermal stress at the LED input.
31. Ultra-Thin LED Light Box with Divergence Plate and Beveled Edge Light Guide
CHANGZHOU INST TECHNOLOGY, CHANGZHOU INSTITUTE OF TECHNOLOGY, 2017
Large format high brightness LED light box with ultra-thin profile using total internal reflection. The light box has a divergence plate, light guide plate, and LED light source. The divergence plate has engraved divergence points. The light guide plate has a beveled edge. The LED light enters the light guide plate from the side, reflects internally due to total internal reflection, and exits through the beveled edge into the divergence plate. This separates the light divergence and entry functions into separate components. The divergence angle of the LED and bevel angle are optimized for maximum brightness and large format. A shading layer between the light guide plate and diffuser prevents seeing the LEDs from the side.
32. LED Lighting Device with Heat Sink Incorporating Internal Dissipation Rods and Curved Reflector Shades
(), 2017
LED lighting device with improved light distribution, illuminance and heat dissipation efficiency. The device uses a unique heat sink design with internal heat dissipation rods to efficiently conduct heat generated by the LEDs to the exterior heat sink. The LEDs are mounted on a ceramic plate that insulates them while also conducting heat to the heat sink. The lighting module has curved reflector shades that reflect and collect light multiple times for maximum illumination. This allows brighter output with less power compared to traditional LED fixtures.
33. Lighting Device with COB LED Module and Integrated Reflective and Light Guiding Structures
IL Science Co., Ltd., 2016
A lighting device with a COB (chip on board) LED module that provides uniform light by distributing and reflecting the high intensity light from the COB module. The device has a main body with a COB LED module mounted on it. An optical member on the front of the COB module guides some light to the sides. An inclined reflective member at the bottom reflects the side light downward. This prevents point sources and provides more even illumination. The main body, COB module, and cover surfaces are also reflective.
34. Lighting Fixture with Light Waveguides for Contrast Reduction Using Internal Reflection and Front Surface Extraction
ABL IP Holding, LLC, 2016
Reducing contrast between bright LEDs and surrounding surfaces in lighting fixtures. The solution involves using light waveguides to capture and re-emit some of the light from high brightness LEDs. This creates a surrounding structure with reduced contrast compared to the original LED brightness. The waveguides have channels behind the LEDs where some of the light is captured. Internal reflections keep the light in the waveguide. An extractor surface at the front of the waveguide emits the captured light to reduce contrast between the LEDs and surrounding surfaces.
35. Illumination System with Spatial and Angular Light Recycling Mechanisms
MEADOWSTAR ENTERPRISES LTD, 2016
Illumination system with light recycling to increase brightness. The system uses devices to recycle light emitted by the light source like LEDs. Spatial recycling reflects light back into the source using coatings, pipes, or reflectors. Angular recycling reflects light at different angles back into the source using lenses, reflectors, or tapers. This increases brightness by preventing waste of high-angle light and reusing it. The devices couple light between input and output ends.
36. Integrated Optical and Thermal Guide with Discontinuous Taper for LED Lighting
3M INNOVATIVE PROPERTIES CO, 2016
A compact and efficient LED lighting solution that integrates cooling into the optical guide for higher performance and reduced size. The design involves combining the optical guide that distributes the LED light with a thermal guide for heat conduction from the LED source. This integrated guide provides both optical and thermal functionality, eliminating the need for separate heat sinks or fans. The discontinuous taper shape of the guide allows efficient light extraction while still facilitating thermal conduction. The integrated guide cools the LED source more effectively compared to separate optical and thermal components.
37. LED Light Source with Thin Graded Scattering Layer Diffuser on Reflective Substrate
OSRAM SYLVANIA INC, 2016
LED light source with diffuser for uniform, glare-free illumination from large area LED arrays. The light source uses a thin diffuser with graded scattering layers on a highly reflective substrate. This achieves uniform, diffuse light extraction without the need for complex, thick optics. The graded scattering layers have different scattering properties to reduce light reflection back into the LEDs above the array and increase light scattering away from the LEDs. This prevents hotspots and glare. The thin diffuser is bonded to a reflective substrate with high reflectance LEDs to leverage internal reflections and channeling effects for efficient, uniform light extraction. The LEDs are also embedded in an index-matching host material to increase extraction.
38. Light and Heat Guide Structure for LED Devices with Edge-Mounted Source
3M INNOVATIVE PROPERTIES CO, 2016
Integrated light guide and heat guide for high efficiency LED lighting devices. The design aims to improve optical and thermal performance of LED lights while reducing complexity and cost compared to conventional solutions. The light guide has an edge-mounted LED source and a flared or closed shape to distribute the light internally. The heat guide is an external structure that conducts heat from the LED source to dissipate it. This allows efficient light extraction and heat removal without fans, sinking, or complex optics.
39. LEDs with High Refractive Index Hybrid Coating and Nanotextured Surface for Enhanced Light Extraction
GUARDIAN GLASS LLC, 2016
Improving the performance of LEDs by increasing light extraction efficiency and reducing absorption. The techniques involve coating the LEDs with a high refractive index organic-inorganic hybrid material to scatter light and make it easier to escape. The LEDs are also nanotextured to further chaoticize the light path and increase extraction. This is done by generating fractal patterns, dispersing particles, or modifying the surface. The LEDs can also be debonded and rearranged onto new substrates with improved heat dissipation. The goal is to achieve higher external quantum efficiency and brightness compared to traditional LEDs.
40. Ducted Lighting System with Sequential Single-File Collimator, LED Light Source, and Heat Sink Configuration
3M INNOVATIVE PROPERTIES CO, 2016
Ducted lighting system with a single-file light engine arrangement for high-performance, efficient, and compact lighting systems in applications like architectural lighting and LED replacement. The ducted lighting system has a collimated light engine with components arranged sequentially in a single file: a collimator, LED light source, and heat sink. This allows compact, high-lumens-per-watt lighting that can be transported long distances in mirror-lined ducts with low attenuation and weight. The collimator shapes the light beam for ducting, reducing divergence and scattering. The single-file arrangement enables compact heat dissipation and simplifies duct installation.
41. LED Lighting Module with Integrated Collimating and Diffusing Optical Elements
ZUMTOBEL LIGHTING GMBH, 2016
LED lighting module with uniform illumination and simple structure. The module has collimated and diffused LED light beams for uniform illumination. It has a collimating optical element for collimated LEDs and a diffusing optical element for diffused LEDs. This allows merged collimated and diffused beams for uniform illumination instead of separate beams. The module has simplified optics compared to individual lens elements per LED. It also enables better heat dissipation since all LEDs share the collimating optics. The luminaire has multiple of these modules for efficient uniform lighting.
42. LED Luminaire with Integrated High-Reflectivity and High-Thermal-Conductivity Sheet
GANG JIN GU, KSB CO LTD, 2016
LED luminaire using a high-reflectivity and high-thermal-conductivity sheet to improve efficiency and lifespan compared to conventional LED tubes. The LED board is directly fixed to the reflective sheet instead of a separate reflector. This allows light to be reflected and emitted in all directions from the sheet itself. The sheet also acts as a heat sink to dissipate heat from the LED board. The sheet is made of high-reflectivity and high-thermal-conductivity material like aluminum.
43. Luminaire with Light Waveguides for Surrounding Brightness Control and Contrast Reduction
ABL IP Holding, LLC, 2015
Reducing brightness contrasts between high-brightness LEDs and surrounding surfaces in luminaires to improve visual comfort. The technique involves using light waveguides to surround the LEDs and capture some of the light. This captured light is then extracted through the front surface of the waveguide to create surrounding brightness that reduces contrast compared to the LEDs. The waveguide openings can be configured to manage brightness and cutoff angles. Secondary optics can also be added to control the light distribution from the openings.
44. LED Light Source with Tapered Silica Gel Layer for Color Mixing and Heat Dissipation
ZHEJIANG TIANYAO PHOTOELECTRICITY TECHNOLOGY CO LTD, 2015
High brightness LED light source with improved color mixing and increased brightness by using a tapered silica gel layer to diffuse and mix the light from multiple colored LEDs. The LEDs are arranged in specific tapered recesses in the silica gel layer. This involves installing red, green, blue, and white LEDs in separate tapered recesses in the silica gel layer. The tapered shape of the recesses diffuses and mixes the light from each color to create a more even and mixed output. The silica gel layer is expanded between the LEDs and a heat sink to provide cooling.
45. LED Lighting Panel with Prism Structures for Narrow and Adjustable Beam Output
DESIGN LED PRODUCTS LIMITED, 2015
LED lighting panel with narrow beam angle and adjustable output angle. The panel has a transparent base with prism structures on one side and an LED on the other. A transparent guide layer encapsulates the LED. The prism structures extract light from the LED at angles determined by their shape. This provides a narrower beam compared to the wide angle output of the LED alone. The prism structures also allow adjusting the output angle. The guide layer guides the light through the base. This allows extracting a focused beam from wide angle LEDs without external optics, improving efficiency and lifetime compared to lens systems.
46. Modular LED Lighting System with Interchangeable Reflector Elements and Dynamic Brightness Adjustment
VISHAY ELECTRONIC GMBH, 2015
A modular LED lighting system with adjustable light output and color temperature. The system allows customization of lighting characteristics by interchanging reflector elements between rows of LEDs. This allows different lighting units to have optimized light distribution for their application. The system also has a light sensor and data processing to dynamically adjust LED brightness based on ambient light levels. This provides energy savings by reducing output when adequate daylight is present.
These patents demonstrate a variety of solutions for obtaining high-luminance in LED lighting systems. Some, such as tunable white light LEDs with programmable color temperature, concentrate on the design of the LEDs themselves. Other developments include the use of reflecting unit designs to improve brightness in small-space lighting systems.
Get Full Report
Access our comprehensive collection of 46 documents related to this technology
