LED Lighting Life Extension
LED junction temperatures routinely exceed 85°C during operation, with each 10°C increase above optimal temperature reducing lifespan by 30-50%. In high-power applications where LEDs operate at 350mA or higher, thermal load can lead to accelerated degradation of phosphor coatings, delamination of package materials, and premature failure of electrical connections.
The fundamental challenge lies in managing heat dissipation while maintaining the compact form factors and optical performance that make LEDs advantageous.
This page brings together solutions from recent research—including advanced heat pipe designs with circular annular shapes, thermal conductive interfaces between PCB and cover materials, dual-direction heat sinks, and protective package architectures. These and other approaches focus on practical thermal management strategies that can be implemented in commercial LED products.
1. Heat Dissipation Device with Multi-Layered Heat Sinks and Integrated Airflow Channels for LED Fixtures
LIAONING LONGTENG TECH DEVELOPMENT CO LTD, LIAONING LONGTENG TECHNOLOGY DEVELOPMENT CO LTD, 2023
Heat dissipation device for LED lighting fixtures that allows efficient cooling of the LEDs to extend their lifespan. The device has a heat transfer lamp panel with an array of second heat sinks around the outer wall. Each second heat sink has an internal air inlet slot and ventilation holes connected to bottom first heat sinks between the second sinks. This allows air to flow through the device and extract heat from the LEDs. The LED fixture is mounted on the bottom of the heat transfer panel. The panel has a through hole for wiring and a threaded hole to attach the fixture.
2. LED Lighting Device with Movable Heat Conduction Mechanism and Transmission Unit
ANHUI LISHI PHOTOELECTRIC TECH CO LTD, ANHUI LISHI PHOTOELECTRIC TECHNOLOGY CO LTD, 2023
LED lighting device with improved heat dissipation to prevent overheating and damage. The device has a movable heat conduction mechanism inside the radiator. The mechanism has a transmission unit and a heat dissipation unit both attached to the surface. This allows the heat conduction mechanism to move and flex as the LEDs expand and contract due to temperature changes. This facilitates better heat transfer between the LEDs and the radiator, preventing excessive heat buildup.
3. Graphene-Filled Microchannel Structure with Composite Phase Change Material in Spiral Configuration
PINGTAN YUXIANG SHIDAI TECH CO LTD, PINGTAN YUXIANG SHIDAI TECHNOLOGY CO LTD, 2023
Graphene-based phase change thermal conductive component for rapidly dissipating heat in LED lamps. The component has a graphene-filled microchannel structure filled with a composite phase change material. The microchannels are arranged in a spiral shape at the bottom of the lamp housing. The graphene and phase change material rapidly conduct and absorb heat from the LED chips and lamp tube, respectively, allowing fast dissipation through the fins. This improves LED lamp heat dissipation, especially in compact designs with high power and heat.
4. Composite Radiator for LED Lamps with Phase Change Core and Gradient Fins
HONGTENG ZHIZHI HUAAN TECH CO LTD, HONGTENG ZHIZHI TECHNOLOGY CO LTD, 2023
Composite radiator for LED lamps with improved heat dissipation. The radiator connects directly to the LED lamp housing and has an inner section filled with a phase change material. This section is smaller than half the volume of the overall radiator. The radiator also has fins for convective cooling. The fins surround the central connection point to the LED lamp. The fin heights decrease outwardly. This design increases surface area for air contact, leverages convection, and uses phase change material to enhance heat transfer.
5. Modular Heat Sink with Interconnected U-Shaped Heat Pipes and Fins for LED Lamps
SHENZHEN CITY JUYING TECH INDUSTRIAL CO LTD, SHENZHEN CITY JUYING TECHNOLOGY INDUSTRIAL CO LTD, 2023
A high-efficiency heat sink and cooling device for LED lamps to improve heat dissipation for high-power LED lamps. The cooling system uses multiple interconnected heat pipes and fins in a modular design to dissipate heat more effectively than conventional heat sinks. The design involves a base with grooves for installing interconnected U-shaped heat pipes. The heat pipes have fins on one end that connect to the base, and fins on the other end that connect to the lamp's heat sink. The interconnected heat pipes form a network to efficiently transfer heat from the lamp's power electronics to the base for dissipation. The modular design allows scaling the cooling capacity by adding more heat sink modules.
6. LED Module with Enclosed Superconducting Cooling Assembly and Integrated Mounting Plate
TONG XINHUA, 2023
LED superconducting module lamp with integrated cooling for high power applications to prevent lamp decay and improve longevity. The lamp has an enclosed cooling assembly attached to the lamp holder. The assembly consists of a mounting plate fixed to the holder and a frame attached to the plate. The plate has a hole to connect it to the holder. The enclosed cooling assembly allows higher power LED modules to be used without overheating or decay.
7. LED Light Source Cooling Device with Rotatable U-Shaped Bracket and Fan-Assisted Heat Dissipation System
CHANGSHA RONGZHEN ELECTRONIC TECH CO LTD, CHANGSHA RONGZHEN ELECTRONIC TECHNOLOGY CO LTD, 2022
LED light source cooling device to improve heat dissipation compared to natural convection. The device has a casing with an internal heat-conducting layer. The heat-conducting layer has penetrating holes connecting groups. An LED light source attaches to the far side of the layer. A heat sink on the other side of the layer contacts the LED. The sink has a U-shaped bracket that rotates and has a fan attached. This actively forces air through the penetrating holes to extract heat from the LED and sink.
8. LED Lamp Structure with Time-Sharing Heat Storage Using Phase Change Material and Heat Pipe
SOUTHWEST UNIV OF SCIENCE AND TECHNOLOGY, SOUTHWEST UNIVERSITY OF SCIENCE AND TECHNOLOGY, 2022
LED lamp structure that uses time-sharing heat storage and release to reduce lamp size and improve lifetime by storing some heat in a phase change material and dissipating the rest through a heat pipe. The lamp has a heat chamber with a heat pipe, LEDs on one side, and phase change material on the other. When the LEDs heat up, some goes into the PCM and some through the pipe. LEDs can operate longer before overheating. The PCM absorbs heat during LED off periods, preventing overheating.
9. LED Lamp with Aluminum-Based Flat Plate Heat Pipes Incorporating Integral Protrusions and Circular Holes
WANG QIANXIN, WU QIUYUN, 2022
LED lamp with improved heat dissipation using aluminum-based flat plate heat pipes. The lamp has two flat heat pipes, one with the LED source and one for heat dissipation, connected by sub-heat pipes. The heat pipes have protrusions and circular holes on their inner walls. These features optimize liquid reflux speed and heat transfer. The heat pipes are made by extruding aluminum. The protrusions and holes are integral with the heat pipe walls. The heat pipes are oriented horizontally or curved upward to prevent liquid stagnation. This design provides efficient heat transfer from the LED source to the dissipation heat sink.
10. LED Lamp with Aluminum-Based Flat Plate Heat Pipes Incorporating Grooved Sub-Pipes with Raised Bumps and Circular Holes
WANG QIANXIN, WU QIUYUN, 2022
LED lamp with improved heat dissipation using aluminum-based flat plate heat pipes. The lamp has two flat heat pipes, one with direct contact to the LED light source and the other in contact with the first pipe. The pipes have sub-pipes with grooves in the walls. The grooves are extruded aluminum or aluminum alloy. The pipes are oriented horizontally or nearly horizontal. The grooves have raised bumps and circular holes. The bumps are spaced 0.2mm apart, and the circular holes have diameters 0.3mm-1.2mm. This shape and size optimizes heat transfer by capillary action.
11. Composite Heat Sink with Columnar Heat Conductor and Integrated Fin-Fan Structure for LED Automotive Lights
TAMKANG UNIVERSITY, UNIV TAMKANG, 2022
Composite heat sink for LED automotive lights that provides better thermal management compared to traditional copper or aluminum heat sinks. The composite heat sink has a columnar heat conductor with a cap that directly contacts the LEDs to absorb their heat. This is integrated with a fin heat sink and fan to efficiently dissipate the absorbed heat. The integrated structure reduces thermal interfaces and resistance compared to separate copper/aluminum components.
12. LED Lamp Heat Dissipation Structure with Embedded Secondary Copper Pipes for Enhanced Thermal Conductivity
GUANGZHOU GTD CULTURE TECH GROUP CO LTD, GUANGZHOU GTD CULTURE TECHNOLOGY GROUP CO LTD, 2022
Heat dissipation structure for LED lamp bodies to improve cooling of LED lamps with irregular arrangements or wide coverage. The structure uses embedded second heat-conducting copper pipes on the lamp base to transfer heat from uncovered areas to the main fins and copper tubes. This prevents local overheating and extends LED life by efficiently dissipating heat through the fins and air. The pipes are placed at corner positions of the base where regular fins can't reach.
13. LED Lamp Heat Conduction Device with Integrated Heat Exchanger, Fan, and Grooved Base
ZHENGZHOU LIANGHUA LIGHTING ENG CO LTD, ZHENGZHOU LIANGHUA LIGHTING ENGINEERING CO LTD, 2021
Heat conduction device for LED lamps that improves heat dissipation efficiency to protect the lamp components from high temperatures. The device has a heat exchanger fixed to the upper end of the base, a fan attached to the exchanger, and vertical grooves on the base. This creates a path with increased contact area between the LED substrate and base using thermally conductive silicone. The grooves prevent oil volatilization. The exchanger has fins and an integrated cylinder. The fan blades face the exchanger. Air holes and channels guide air through the exchanger. This design allows faster heat transfer from the LED chip to the fan for efficient dissipation.
14. LED Lamp with Multilayer Heat Dissipation Structure Comprising Aluminum Substrate, Heat-Conducting Layer, and Air-Contacting Heat-Dissipating Layer
ANDERSON ELECTRONICS HK LTD, ANDERSON ELECTRONICS LTD, 2021
LED lamp and lighting device with improved heat dissipation. The lamp has an aluminum substrate, a heat-conducting layer on the substrate, and a heat-dissipating layer on the heat-conducting layer. The heat-dissipating layer contacts air to dissipate heat through convection. This allows efficient heat transfer from the LED to the air, improving heat dissipation compared to direct conduction. The heat-conducting layer can also have a thermally conductive medium like graphene to further enhance heat transfer. The device uses this lamp to improve heat dissipation from the LED.
15. Thermoelectric Separation Superconducting LED Module with Thermally Conductive Boss and Silver-Plated Aluminum Components
GUANGDONG QIGUO LIGHTING TECH CO LTD, GUANGDONG QIGUO LIGHTING TECHNOLOGY CO LTD, 2021
A thermoelectric separation type superconducting LED module with improved heat dissipation for long lamp life. The module has a thermally conductive plate sandwiched between a heat sink and an aluminum substrate. LEDs are mounted on the substrate. A thermally conductive boss below each LED connects to the LED top surface and bottom surface. This creates a thermoelectric separation that enhances heat transfer. The plate, substrate, and heat sink are all aluminum with silver plating for high thermal conductivity. The module has through holes for the bosses and fins on the heat sink for additional heat dissipation.
16. Integrated LED Lamp Heat Dissipation System with U-Shaped Heat Pipe and Stirling Engine-Driven Micro Generator
JIANGSU UNIVERSITY, UNIV JIANGSU, 2021
A high efficiency heat dissipation system for integrated LED lamps that reduces LED operating temperatures and recycles heat. The system uses a U-shaped heat pipe, Stirling engine, radiator fins, and a micro generator. The LED chip is sandwiched between the fixing frame plates with the heat pipe bottom facing the chip's bottom. Heat from the LED transfers to the pipe, which absorbs and vaporizes a medium. The vaporized medium moves through the pipe to the radiator fins where it condenses, releasing heat to the air. The remaining heat goes to the frame's bottom plate, which contacts the Stirling engine. The engine converts this heat to mechanical motion driving the micro generator to produce electricity. The power is sent to the LED through a power module.
17. LED Heat Dissipation Structure with Phase Change Material Layer and Enclosed Metal Conductor
BEIJING TRUWIN OPTOELECTRONIC MEDICAL CO LTD, 2021
Heat dissipation structure for LED light sources to improve heat management and prolong the lifetime of LEDs. The structure involves placing an automatic temperature control layer made of phase change materials behind the LED. The metal layer behind the LED conducts the heat to the phase change material. The phase change material absorbs heat and changes phase, reducing the metal layer temperature. The enclosed contact between the phase change material and metal speeds up heat transfer compared to external dissipation.
18. Thermoelectric Separation Superconducting LED Module with Aluminum Heat Plate and Thermally Conductive Bosses
JIANGMEN PENGJIANG JINDING LIGHTING APPLIANCE CO LTD, 2021
Thermoelectric separation superconducting LED module with improved heat dissipation to extend LED lamp life. The module uses an aluminum heat plate with protrusions, an aluminum substrate, aluminum heat sinks, and thermally conductive bosses. The LED beads are mounted on the substrate and connected to bosses below. This creates a thermal path from the LEDs through the bosses to the heat plate and sinks. The plate and sinks have silver plating for better heat transfer. The module has simplified assembly compared to prior art with silver-plated aluminum components. The bosses quickly guide heat away from the LEDs to the sinks.
19. LED Lighting Module with Superconducting Heat Dissipation System
ZHEJIANG OE NEW ENERGY CO LTD, 2021
Superconducting heat dissipation LED lighting module to improve the heat dissipation of long-life LED lamps. The module has a lamp frame, heat dissipation substrate, heat-conducting reflective grooves, mounting seat, LED board, superconducting heat sink, and light guide plate. The heat sink has a superconducting liquid tank and fins filled with superconducting coolant. The tank attaches to the substrate top and fins connect to it. This allows efficient heat transfer from the LED board through the substrate, grooves, seat, and fins to the superconducting liquid. The liquid has low thermal conductivity at normal temperatures but becomes superconducting at low temperatures, allowing high heat transfer. The coolant-filled fins provide further heat transfer to the ambient.
20. LED Lamp with Radial Fin Heat Dissipation Assembly and Direct Heat Pipe Connection
ZHANGZHOU LEEDARSON LIGHTING CO LTD, 2021
LED lamp with compact heat dissipation for high power applications. The lamp has a compact heat dissipation assembly with fins extending radially from the LED mounting surface. A heat pipe connects the LED area to the fins, with a top cover over the fins. This allows direct LED-to-heat pipe contact and quick heat transfer. The fins radiate heat externally. The compact assembly provides efficient high-power LED lamp heat dissipation in a small volume.
21. LED Lighting Module with Multi-Stage Cooling Configuration and Enhanced Thermal Conductivity
ADE Fortonexa Co., Ltd., ADE PHOTONEXA GMBH, 2020
LED lighting module with high power density for applications like general lighting, street lighting, lens lighting, workplace lighting, and technical lighting. The module uses a unique cooling configuration with multiple stages to dissipate heat from the LED chips. The LED chips are mounted on a secondary cooling element that has better thermal conductivity than traditional aluminum. This secondary cooling element is then connected to a tertiary cooling element like a heat sink. The multi-stage cooling allows higher power density by reducing the temperature gradient between the LED chips and the heat sink. The module can achieve power densities of up to 10x higher than traditional solutions.
22. LED Lamp Module Heat Exchange Structure with Channel-Sealed Cooling Passages
APPLIED MATERIALS INC, 2020
A heat exchange structure for LED lamp modules that improves heat dissipation from the LEDs. It uses a base with channels and an LED-populated PCB that closes the channels when soldered together. This creates sealed cooling passages between the PCB and base for circulating fluid to extract heat from the LEDs. It eliminates the need for thermal interface materials with low conductivity. The sealed channels prevent air pockets and provide consistent contact for efficient heat transfer.
23. LED Headlight Heat Sink with Side-by-Side Heat Pipes and Substrate for Enhanced Thermal Conductivity
XI QINGXIN, ZHANG GUOJUN, 2020
An LED heat sink design for automotive headlights that improves LED life and brightness by effectively dissipating the heat generated by high-power LED lamp beads. The heat sink uses heat pipes and a substrate to quickly transfer heat from the LED lamp beads to a heat sink. This prevents excessive temperature rise that degrades LED performance and longevity. The heat pipes are arranged side by side on the substrate to increase heat conduction. The LED lamp beads are mounted on the substrate near the heat pipes to allow quick heat transfer. This prevents the LEDs from overheating and reduces light decay, improving brightness and lifespan.
24. LED Tube Lamp with Integrated End Cap Light Strip and Reinforced Wiring
JIAXING SUPER LIGHTING ELECTRIC APPLIANCE CO., LTD, 2020
LED tube lamp with improved reliability and durability compared to existing designs. It addresses drawbacks of traditional LED tube lamps such as easily damaged wires, unreliable connections, and inadequate power supply. The LED tube lamp has an extended LED light strip that reaches inside the end cap to connect the LEDs directly to the power supply, avoiding wire connections. The light strip has thicker wiring in that portion to handle the electrical load. This eliminates the fragile wire connections that can break. The tube also has a protective layer with openings for the LEDs and solder pads.
25. LED Lamp with Integrated Shell Body Heat Sink and Curved Surface-Enhanced Heat Pipes
WUXI JINSHUN LIGHTING TECHNOLOGY CO., LTD., 2020
High-power LED lamp with improved heat dissipation for higher power LED chips. The lamp has a shell body that doubles as a heat sink. The LED chip is mounted on the front surface of the heat sink main body. Heat pipes connect the chip area to the back of the main body and the cover board. The heat sink main body and cover have curved surfaces matching the pipes to increase contact. This allows efficient heat conduction from the chip to the shell body for dissipation. The lamp shape can be customized for applications. The shell body heat sink eliminates the need for separate heat sinks, reducing weight and cost compared to stacked modules. The pipes and curved surfaces enhance heat transfer.
26. LED Lamp with Ventilated Base and Cushioned Mounting Plate for Enhanced Heat Dissipation and Vibration Resistance
Dongguan Wenyu Industrial Co., Ltd., DONGGUAN WENYU INDUSTRIAL CO LTD, 2020
High-efficiency heat dissipating LED lamp with improved heat dissipation and vibration resistance for high power, high brightness LED lamps. The lamp has a base with ventilation slots, a mounting plate attached to the base, an LED assembly on the plate, and heat sinks on the base. The mounting plate has a thermally conductive layer between the LEDs and base, and a cushioning layer between the plate and base to protect the LEDs from vibrations. The base vents and heat sinks provide improved heat dissipation compared to a solid base.
27. LED Street Light with Zoned Microgroove Heat Sink and Circulating Heat Transfer Medium
SHENZHEN KARMING TECH CO LTD, SHENZHEN KARMING TECHNOLOGIES CO LTD, 2020
LED street light with improved heat dissipation for longer lamp life. The street light has an LED heat sink with a closed microgroove structure filled with a heat transfer medium. The heat sink is divided into zones: a heat source area, a heat receiving area, a recirculation area, and an isolation area. The medium circulates between these zones, quickly absorbing and spreading heat for more effective dissipation. This prevents overheating of the LED chips.
28. LED Lamp Aluminum Substrate with Wave-Shaped Heat Sink Fins and Integrated Guide Chambers
Anhui Jetai Intelligent Technology Co., Ltd., ANHUI JIETAI INTELLIGENT TECHNOLOGY CO LTD, 2020
High-efficiency heat dissipation device for LED lamp aluminum substrate to improve heat dissipation of LED lamps in color sorters without using fans that blow dust around. The device attaches to the lamp housing and uses wave-shaped heat sink fins, vertical plates, and guide chambers to increase surface area and airflow for better convection cooling. The fins have gaps between sets and rows to accelerate heat transfer. This provides effective heat dissipation without affecting dust containment inside the sorter.
29. LED Car Lamp with Dual-Sided PCB and Integrated Heat Dissipation Assembly
FOSHAN GUANGDI AUTO LIGHTING CO LTD, 2019
LED car lamp with improved heat dissipation to prevent overheating and prolong lamp life. The lamp uses a unique heat dissipation assembly that quickly removes heat from the high-power LEDs. It consists of a heat dissipation component at the lamp holder front, with a superconducting copper-clad PCB board and rapid heat sinks. The PCB has LEDs on both sides, surrounded by close-contact radiating splints. A collar connects the splints. The PCB's copper cladding provides fast heat transfer. The splints dissipate heat to the holder. The lamp also has a fan in a cavity below the holder.
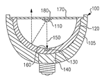
30. Heat Transfer Structures with Annular Heat Pipes and Extended Heat Rims for LED Fixtures
CREE, INC., 2019
Heat transfer structures for lighting devices like LED fixtures improve heat dissipation and extend LED lifetime. The structures include heat pipes and heat rims that extract heat from the LEDs. The heat pipes have circular annular shapes with extended regions that wrap around the heat rims to maximize thermal contact. This allows efficient heat conduction away from the LEDs. The heat rims provide additional surface area for heat transfer. The improved heat dissipation reduces LED temperature, avoids color fading, and extends lifetime.
31. LED Heat Sink with Divergent Columnar Structure on Base Plate
GUANGZHOU MICRO SHOT TECH CO LTD, GUANGZHOU MICRO-SHOT TECHNOLOGY CO LTD, 2019
LED heat sink design with improved heat dissipation and simplified manufacturing compared to conventional fin-shaped heat sinks. The heat sink has a base plate with divergent columns extending outward. This allows more surface area for heat dissipation while avoiding complex patterns that increase cost and reduce effectiveness. The LED chip is mounted on a substrate that contacts the heat sink base for direct thermal transfer. This provides stable operating conditions for the LED by efficiently removing heat from the chip.
32. LED Lamp Thermal Management System with Heat Conduction Plate and Pipe Interface to External Heat Exchanger
Jiangsu Tianying Zhilight Optoelectronic Technology Co., Ltd., JIANGSU TIWIN OPTO-ELECTRONICS TECHNOLOGY CO LTD, 2019
An LED thermal management system for improving the efficiency and reliability of LED lamps. The system uses a heat conduction plate connected to the LED board inside the lamp, which is surrounded by a thermal insulation layer. The heat conduction plate has an interface that connects to a heat conduction pipe. The other end of the pipe connects to a heat exchanger. This allows heat from the LEDs to be transferred out of the lamp and into a separate heat exchanger. The heat exchanger can be used to cool the LEDs or to extract the heat for other purposes like greenhouse climate control. The system also has an auxiliary heat insulation layer outside the lamp to further reduce heat transfer. The auxiliary insulation layer has a wood board on the outside to prevent oxidation and deterioration of the inner insulation layer due to temperature differences. An auxiliary temperature sensing device in the greenhouse space can
33. Loop-Configured Heat Dissipation System with Series-Connected Heat Transfer Elements for LED Lamps
NANTONG ZHONGKE THERMAL CONTROL TECH CO LTD, NANTONG ZHONGKE THERMAL CONTROL TECHNOLOGY CO LTD, 2019
Heat dissipation system for high-power LED lamps that improves cooling performance compared to conventional solutions. The system uses a loop configuration with multiple heat transfer elements connected in series. It includes a heat sink body with a heat extractor, a heat pipe, and a tube-fin heat sink. The tube-fin heat sink attaches to the outer wall of the heat pipe. The heat pipe and heat extractor are fixedly connected. This creates a closed loop where heat travels through the LED lamp's hot port, into the heat pipe, then through the tube-fin heat sink and back to the heat extractor. The loop design allows efficient heat transfer between elements and reduces thermal resistance compared to stacked heat sinks.
34. LED Heat Dissipation Structure with Thermoelectric Cooling and Microchannel Heat Exchanger
GUANGDONG UNIVERSITY OF TECHNOLOGY, UNIV GUANGDONG TECHNOLOGY, 2019
High-power LED heat dissipation structure using thermoelectric cooling and microchannel heat transfer to improve LED cooling efficiency. The structure includes an LED chip mounted on a substrate, connected to a thermoelectric heat sink, which in turn is connected to a microchannel heat exchanger. The thermoelectric cooling extracts heat from the LED chip, and the microchannel heat exchanger further cools the thermoelectric heat sink using a fluid medium. This closed-loop cooling system provides enhanced heat dissipation for high-power LEDs compared to air or water cooling.
35. Heat Sink with Parallel Heat Dissipation Tracks and Inclined Fluid Flow Grooves
SG LIGHT CO LTD, SHINWHA T&C CO LTD, SINSUNG L&T CO LTD, 2019
Heat sink for LED lighting fixtures that improves heat dissipation efficiency compared to conventional designs. The heat sink has a base plate in contact with the LED module to transfer heat. It also has heat dissipation tracks in parallel rows on the plate's surface. These tracks have curved and straight sections with flow grooves. The grooves connect adjacent tracks to allow fluid flow. The tracks reduce in thickness toward the inner side where it's hotter. This increases heat dissipation area and velocity. The inclined grooves accelerate fluid.
36. LED Lamp Heat Dissipation Structure with Corrugated Fins and Integrated Water-Cooled System
DONGGUAN LONGQI ELECTRONIC TECH CO LTD, DONGGUAN LONGQI ELECTRONIC TECHNOLOGY CO LTD, 2019
LED lamp heat dissipation structure that provides efficient cooling for LED lamps. The structure uses a heat sink with corrugated radiating fins attached to the top. The heat sink is mounted between upper and lower boards. The lower board has an internal radiator pipe with inlet and outlet. The pipe connects to a water storage cavity in the heat sink. This allows water to circulate through the fins for active cooling. The lower board also has heat dissipation bases attached. This creates a sealed water-cooled cooling system inside the lamp housing for efficiently dissipating the heat from the LEDs.
37. Heat Sink with Self-Contained Liquid-Driven Fan for LED Lamps
Jiangsu New Fire Lighting Co., Ltd., 2019
Heat sink for LED lamps that improves heat dissipation without increasing size or requiring external power. The heat sink has a base, a heat dissipation assembly, and a fan assembly. The fan assembly has a fan base, a heat conversion box, an impeller, and blades. The impeller is sealed in the heat conversion box filled with a heat transfer liquid. As the liquid heats, it generates convection that rotates the impeller to turn the blades. This self-contained fan cools the lamp without external power or bulkiness.
38. LED Lighting Device with Thermally Conductive Substrate and Integrated Heat Dissipation Modules
Dongguan Wenyu Industrial Co., Ltd., 2019
LED lighting device with improved heat dissipation for high power applications. The device uses a thermally conductive substrate, multiple sets of heat dissipation modules arranged on the substrate, and a separate auxiliary heat dissipation device. The heat dissipation modules have main pipes partially embedded in the substrate and extending through the heat sink assembly. Spiral heat dissipation wires are placed between fins to further improve cooling. The embedded pipes, spiral wires, and fin arrangement provide enhanced heat transfer from the LEDs to the substrate and substrate to the fins.
39. Quantum Dot Nanoparticle Composites Embedded in Ionic Metal Oxide Matrix
Cree, Inc., 2019
Stabilized quantum dot composites for use in LED displays and lighting that have improved stability over previous quantum dots. The composites are made by dispersing luminescent quantum dot nanoparticles in an aqueous solution containing an ionic metal oxide. The dispersion is dried to form a composite with the quantum dots embedded in a matrix of the metal oxide. The metal oxide matrix stabilizes the quantum dots against moisture and oxygen degradation when used in LED packages.
40. LED Heat Sink with Integrated Cooling Channels and Annular Finned Shell
Tianjin Tianxing Electronics Co., Ltd., 2019
High-efficiency LED heat sink with integrated cooling channels and fins to dissipate heat from the LEDs. The heat sink has a central LED mounting base with an LED installation mechanism. The heat sink also has a fixed heat dissipation mechanism with an annular shell containing fins, feed chamber, inlet, and outlet. The LEDs are mounted on the base and the fins transfer heat to the feed chamber. Coolant enters through the inlet, flows through the fins and base to extract heat, and exits through the outlet. This integrated design provides compact and efficient heat dissipation without separate heat pipes or fins.
41. LED Heat Sink with Multi-Component Heat Dissipation Structure and Coolant Circulation
Cheon Byeong-yeol, 2019
LED heat sink with improved heat dissipation for faster LED cooling and longer lifespan. The heat sink has multiple heat dissipation units with features like copper plates, radiating troughs, and heat dissipation layers. This allows rapid heat conduction from the LED substrate to the sink components, which then radiate the heat. The sink also uses a coolant circulating between the sink components to further dissipate heat. The multi-step heat transfer and enlarged dissipation areas improve LED cooling compared to conventional sinks.
42. LED Lighting Device with Heat Conducting Base, Vibration-Isolating Suspension, and Symmetrically Arranged Heat Sinks
Dongguan Wenyu Industrial Co., Ltd., 2019
Heat dissipating LED lighting device with improved heat dissipation and vibration isolation. The device has a heat conducting base, a carrier board with LEDs, and a suspension. The carrier board attaches to the base using threaded fasteners. The suspension connects the board to the base away from the clamping part. This isolates board vibrations from the base to reduce impact on the LEDs. The carrier board has a thermally conductive layer between it and the LEDs. This improves heat dissipation while buffering the LEDs from vibrations. The device also has vents in the base and cover for airflow. The heat sinks are symmetrically arranged on the base.
43. Heat Sink with Slot-Inserted Fin Plate and Clamping Mechanism for High-Power LED Lamps
Guangzhou Meteor Shower Optoelectronics Technology Co., Ltd., 2019
Heat sink design, fixing device, and processing method for high-power LED lamps that improves heat dissipation compared to conventional designs. The heat sink has a separate heat dissipation fin plate that inserts into slots on the heat dissipation base plate. This allows thin fins to prevent heat buildup. The fin plate is fixed by clamping it in the slot walls. A molding fixture bends and embeds the fin plate ears. The fin plate silicone connects to the slots. This provides close contact and prevents deformation. The mold has push plates to bend the fin ears.
44. LED Light with Dual Opposing Luminous Portions and Intermediate Heat Sink
Shenzhen Guanke Technologies Co., Ltd., 2019
An LED light for parking lots and garages that can provide uniform lighting both upwards and downwards. The LED light has dual luminous portions - one surrounding the top of the housing and another below it. When the upper portion emits light in the first direction, the lower portion emits light in the opposite direction. This provides omnidirectional lighting. A heat sink is positioned between the luminous portions to dissipate heat and improve LED lifespan.
45. LED Light with Dual Directional Luminous Portions and Centralized Heat Sink
Shenzhen Guanke Technologies Co., Ltd., 2019
LED light is designed for parking lots and garages that have improved heat dissipation and lifespan compared to HID lamps. The LED light has two luminous portions, one surrounding the housing and one below it, that emit light in opposite directions to provide upward and downward illumination. A heat sink positioned between the luminous portions dissipates heat from both. This allows the LED light to evenly illuminate the ceiling and floor like HID lamps but with better energy efficiency, longer lifespan, and improved heat dissipation.
46. LED Light Source with Embedded Heat Conductive Material for Direct Thermal Transfer
EPISTAR CORP, 2019
LED light source with improved heat management for higher lumen output and better efficiency compared to conventional LED lights. The key feature is embedding the LEDs in a transparent or translucent heat conductive material instead of using a separate heat sink. This allows direct thermal transfer from the LEDs to the surrounding material, preventing overheating. The material can be silicone, ceramic, organic wax, or a thermoplastic. The LED-filled heat conductive material is then shaped to fit standard light socket form factors. This enables LED replacements that match traditional incandescent bulbs in size and aesthetics while maximizing light output.
47. LED Lamp with Replaceable Heat Dissipation Module Containing Particulate Thermal Conductors
Shaoxing Shangyu Huateng Electric Co., Ltd., 2018
LED lamp with a replaceable heat dissipation module to improve thermal management and ease maintenance. The lamp has an LED light board with a side for attaching the heat dissipation module. The module contains a housing filled with randomly connected particulate thermal conductors. This allows easy disassembly and replacement of the heat dissipation module compared to integrated solutions, facilitating thermal management and component replacement in the lamp.
48. Integrated LED Lamp Base with Multi-Component Heat Sink Assembly
Lin Zhanmiao, 2018
LED lamp heat sink design to prevent overheating and prolong lamp life. The heat sink is integrated into the lamp base and has components like a heat absorbing strip, shunt tube, heat sink, guide bar, and filter screen to dissipate the heat generated by the LED lamp. This prevents excessive temperature that can damage the LED lamp over time.
49. LED Lamp with Thermal Conductive Interface for Enhanced Heat Dissipation
SHUNSIN TECHNOLOGY (ZHONG SHAN) LIMITED, 2018
LED lamp design that allows for more efficient heat dissipation to improve thermal management and extend the lifetime of the lamp. The design includes a thermal conductive material positioned between the PCB and the transparent cover to facilitate heat transfer from the LEDs to the cover. This allows the transparent cover itself to act as a heat sink, dissipating the heat generated by the LEDs. The conductive connecting structures on the end lids also help to transfer heat away from the PCB. This provides multiple paths for heat dissipation from the LEDs, reducing operating temperature and improving the reliability and lifetime of the lamp.
50. LED Lighting Apparatus with Transparent Cover Body for Thermal Connectivity to Carrier
EPISTAR CORPORATION, 2018
A high-power LED lighting apparatus with improved heat dissipation to increase the lifetime and maintain the efficiency of the LEDs. The apparatus has a carrier with a light-emitting element on its top surface, covered by a transparent cover body. The cover body protects the LED while allowing light emission. The cover body also thermally connects to the carrier to dissipate heat from the LED.
The innovative ways to increase the lifespan of LEDs are shown in these patents. The utilization of stable materials like perovskite and quantum dots, as well as enhanced electrode and insulator designs, are a few of these. The lifespan of LED lights is also being aided by enhanced power supply arrangements and package designs.
Get Full Report
Access our comprehensive collection of 122 documents related to this technology
