LED Durability Enhancement
LED lighting systems face persistent challenges in maintaining luminous efficacy and color stability over extended operational periods. Field data shows that LED junction temperatures regularly exceed 85°C in high-power applications, while environmental factors like humidity and sulfur exposure can degrade both optical and electrical components, leading to premature failure or significant performance degradation within 50,000 hours of operation.
The fundamental challenge lies in balancing thermal management, environmental protection, and serviceability while maintaining the optical and electrical performance needed for commercial applications.
This page brings together solutions from recent research—including advanced thermal interface materials, integrated heat dissipation structures, protective encapsulation techniques, and modular replacement systems. These and other approaches focus on extending LED system lifetime while preserving initial performance characteristics under real-world operating conditions.
1. LED Light Source with EMC Bracket and Movable Closing Device for Enhanced Heat Dissipation
GUANGDONG JINGRUI SEMICONDUCTOR CO LTD, 2024
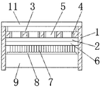
An efficient heat dissipation LED light source using an EMC bracket that improves heat dissipation for long-life LED lighting. The light source has an EMC bracket encapsulated with an LED lamp bead. The bracket has a circuit inside. A movable closing device connects to one side of the bracket. A protective shell attaches to the lower end of the closing device. The closing device has parts like a fixed frame, groove, docking frame, mounting bar, cover plate, and screws. This design allows the LED heat to pass through the bracket to fins on the closing device. The fins quickly dissipate the heat to extend LED life compared to just using the bracket.
2. LED Light with Sealed Housing and Separate Heat Dissipation Assembly
SHENZHEN FOCUSTAR OPTOELECTRONICS CO LTD, 2024
Waterproof LED light with improved heat dissipation and sealing compared to conventional LED lights. The waterproof LED has a packaging mechanism with a sealed housing and lens, a main body with the LED chip, and a separate heat dissipation mechanism at the bottom. The heat dissipation mechanism includes a base, sealing ring, thermal block, and film. The thermal block has a film on top to conduct heat from the LED chip to the base, which dissipates heat. This separates heat dissipation from sealing to prevent sealing degradation.
3. LED Lamp Heat Dissipation Kit with Embedded Component, Radiation Paint, and Heat Transfer Fluid
HUIZHOU JINXINSHENG TECH CO LTD, HUIZHOU JINXINSHENG TECHNOLOGY CO LTD, 2024
Heat dissipation kit for LED lamps that effectively cools LED lamps and extends lamp life by using radiation, conduction, and convection cooling methods. The kit has an embedded heat dissipation component in the LED lamp, radiation paint on the lamp components, and a transparent heat transfer fluid inside the lamp bulb. This integrates heat transfer pathways from the LED chips, through the lamp components, to the outer surface for dissipation. The heat dissipation component transfers heat away from the LED lamp base, the radiation paint radiates heat from lamp surfaces, and the fluid conducts heat from the LED chips to dissipate outside.
4. LED Lamp with Corrosion-Resistant Housing and Integrated Protective Lampshade
CHANGZHOU GLD PHOTOVOLTAIC TECH CO LTD, CHANGZHOU GLD PHOTOVOLTAIC TECHNOLOGY CO LTD, 2024
High-strength, corrosion-resistant LED lamp that can withstand harsh environmental conditions. The lamp has a housing with an opening covered by a corrosion-resistant lampshade. The LED module is mounted inside the lampshade. This protects the internal electronics from weathering and prevents corrosion. The lampshade also provides strength for the lamp. The housing and lampshade are fixed together to prevent separation. The lampshade opening aligns with the LED position.
5. Cylindrical Transparent Housing with Rolled Flexible PCB for Heat Dissipation in High-Power LED Lamp
Yuriy Borisovich Sokolov, 2023
An LED lamp design that enables high-power LEDs to operate without external heat sinks. The design features a cylindrical transparent housing with LEDs mounted on a flexible PCB that is rolled up inside. The PCB is coated with a thin transparent layer to protect the LEDs. The rolled PCB, LEDs, and driver components are all enclosed within the housing, allowing heat dissipation directly into the surrounding air through the transparent housing.
6. LED Lamp with Integrated Water-Cooled Heat Dissipation System and Ammonia-Filled Thermal Conduction Cover
HANGZHOU XINYAHONG ELECTRONIC TECH CO LTD, HANGZHOU XINYAHONG ELECTRONIC TECHNOLOGY CO LTD, 2023
LED lamp with integrated heat dissipation to improve lamp lifespan and reduce noise compared to conventional LED fixtures. The lamp has an integrated cooling system using a water pump, water tank, cooling pipe, and heat sink. The lamp body houses the components. The lamp group with lights is below the body, sealed with an ammonia-filled cover. The ammonia conducts heat to the outside. The water pump circulates coolant through the pipes to absorb heat from the sink. The fan blows air over the body to dissipate heat.
7. LED Module Lamp with Integrated Heat-Conducting Substrate and Sealed Light-Transmitting Package
Hangzhou Yongdian Lighting Co., Ltd., HANGZHOU YD ILLUMINATION CO LTD, 2023
High-power LED outdoor waterproof module lamp with improved heat dissipation and waterproofing for applications like outdoor lighting and underwater lighting. The lamp has a unique design to address the issues of heat dissipation and waterproofing in high-power LED lamps. It uses a substrate with LED chips on one side and a heat-conducting material on the back to directly transfer heat from the LED chips to a heat sink. The LED chips, substrate, and heat sink are sealed in a light-transmitting package to prevent air gaps. This allows better heat conduction compared to air gaps. A groove with a high thermal adhesive fills the middle of the heat sink to provide secondary sealing and prevent water entry. The lens is separate from the lamp body to allow lens adjustment. This allows customized lens options for different light distributions. The separate lens also avoids lens fogging in underwater applications.
8. LED Lighting Lamp with Heat Sink Fins, Air Guide Grooves, and Impact-Resistant Brackets
HEILONGJIANG BORUI ELECTRIC POWER TECH CO LTD, HEILONGJIANG BORUI ELECTRIC POWER TECHNOLOGY CO LTD, 2023
High temperature and shockproof LED explosion-proof lighting lamp for use in harsh environments like gas turbines. The lamp has features like heat sink fins around the LED chassis, external air guide grooves, and impact-resistant brackets to dissipate heat, protect the LEDs from vibration, and prevent failure in high temperature and shock-prone applications.
9. LED Tri-Proof Lamp with Finned Cooling Plate and Sliding Limiters for Enhanced Heat Dissipation
SHENZHEN HEPAI TECH CO LTD, SHENZHEN HEPAI TECHNOLOGY CO LTD, 2023
LED tri-proof lamp with improved heat dissipation and moisture resistance compared to existing designs. The lamp has a housing with a protective cover, an LED board, and a cooling plate with fins. The LED board is sandwiched between the housing walls and the cooling plate. This allows airflow around the board for cooling. The board is also mounted using sliding limiters that prevent wobbling. This prevents heat buildup and prolongs LED life. The fins dissipate heat further. The housing also has grooves to accommodate the board mounting. The sliding limiters prevent board movement while allowing disassembly.
10. LED Lamp with Substrate-Mounted Heat Dissipation Component and Multi-Stage Grid-Filled Condensation Box
SHENZHEN YULIANG OPTOELECTRONIC TECH CO LTD, SHENZHEN YULIANG OPTOELECTRONIC TECHNOLOGY CO LTD, 2023
LED lamp with improved heat dissipation to extend lamp life. The lamp has a substrate with LEDs mounted on it, then a protective package around the LEDs, and finally a separate heat dissipation component mounted on the other side of the substrate. This allows efficient heat transfer from the LEDs through the substrate, package, and into the dedicated heat dissipation component. The heat dissipation component has a multi-stage path with a grid-filled condensation box to further dissipate heat. This prevents excessive temperatures that can degrade the LEDs.
11. LED Lamp Protective Shell with Integrated Rear Heat Sink Assembly
JIANGSU XINGKANG PHOTOELECTRIC TECH CO LTD, JIANGSU XINGKANG PHOTOELECTRIC TECHNOLOGY CO LTD, 2023
Heat dissipation structure for LED lamps that improves cooling of the LED module to prevent overheating and damage. The structure has a protective shell around the LED module with an integrated heat sink assembly on the rear. This allows direct contact and conduction cooling of the LED module without additional external heat sinks or welded components. The integrated heat sink simplifies installation and maintenance compared to separate external heat sinks.
12. LED Lamp Heat Sink with Integrated Water-Cooled Inner Cavity and Direct Contact Cooling Mechanism
CHANGZHOU JIJIU PHOTOELECTRIC TECH CO LTD, CHANGZHOU JIJIU PHOTOELECTRIC TECHNOLOGY CO LTD, 2023
LED lamp heat sink design with integrated water cooling to improve heat dissipation efficiency and reduce manufacturing cost compared to using metal lampshades. The lamp has an inner water storage cavity in the base where water or other cooling fluids can be injected. The LED board sits on the back of the lamp base and the water directly contacts the aluminum substrate on the back of the LED board to absorb and remove the heat. This provides more efficient cooling than airflow through the lamp materials. The water cooling can also be refilled as needed, unlike solid metal heat sinks.
13. LED Light Source with Threaded Transparent Cover and Integrated Ventilated Heat Dissipation System
SHENZHEN JIEKE PHOTOELECTRIC CO LTD, 2023
Light-emitting diode (LED) light source with low thermal resistance to improve LED lifetime and brightness. The LED light source has a transparent protective cover threaded onto a base with vent holes. The base has a heat dissipation aluminum strip fixed to it. An LED is mounted on the aluminum strip. The protective cover has heat dissipation holes around its circumference. This design allows heat to easily exit the LED light source through the vented base, aluminum strip, and protective cover holes. This reduces LED temperature and prevents premature aging or dimming.
14. LED Lamp Bead with Dual-Gel Substrate Encapsulation for Enhanced Thermal Management
SHENZHEN LIAN SHANG PHOTOELECTRIC CO LTD, 2023
High-efficiency heat-dissipating LED lamp bead with improved thermal management for LED lamps. The lamp bead has a substrate with an LED chip area covered by transparent thermal silica gel and a driving circuit area covered by opaque ceramic silica gel. The two packages are connected to enclose the substrate. The opaque ceramic gel provides thermal insulation while the transparent gel allows light transmission. The lamp pins extend through the opaque ceramic area to the outside. This configuration provides targeted thermal isolation around the electronics while allowing light output.
15. Light Emitting Device with Zinc Silanolate-Infused Silicone Sealing Member
NICHIA CORPORATION, 2022
A light emitting device that has improved resistance to discoloration and sulfurization, and thus increased lumen maintenance and lifetime. The device contains a light-emitting element, a conductive member containing silver, and a sealing member that covers the element. The sealing member is made of a silicone composite containing zinc silanolate. The zinc silanolate improves the sealing member's resistance to discoloration and gas permeation compared to conventional silicones.
16. Mounting Plate with Slot and Block Mechanism for Rotatable LED Bar Integration
SHENZHEN ZHENGBANG PHOTOELECTRIC TECH CO LTD, SHENZHEN ZHENGBANG PHOTOELECTRIC TECHNOLOGY CO LTD, 2022
A packaging device for high flux LED light bars that allows efficient heat dissipation to extend lamp life. The device has a mounting plate with slots on the sides. The LED bar has blocks on the ends that fit into the slots. This allows the bar to slide and rotate within the plate. This allows the bar to be secured without enclosing it completely, leaving the sides exposed for heat dissipation. An outer encapsulation covers the top and ends of the bar.
17. LED Lamp Assembly with Integrated Heat Dissipation Fin, Cooling Fan, and Waterproof Sealed Housing
WENQINGLI, 2022
LED lamp structure with integrated heat dissipation and waterproofing. The lamp has an LED lamp body, a protective cover around it, a mounting seat on the cover, a cooling fan inside the seat, a heat dissipation fin on the seat end, and a fixing screw connecting the cover and seat. The fan, lamp body, and fan are electrically connected by cables. The seat has a slot for the cables. This allows heat generated by the LEDs to be dissipated by the fin and fan, preventing damage. The cover and seat seal the lamp for waterproofing.
18. LED Lamp with Segregated Housing and Heat Sink for Enhanced Thermal Management
JIASHAN SANSI PHOTOELECTRIC TECHNOLOGY CO LTD, PUJIANG SANSI OPTOELECTRONICS TECH CO LTD, PUJIANG SANSI OPTOELECTRONICS TECHNOLOGY CO LTD, 2022
LED lamp with all-round heat dissipation to improve the lifespan of the lamp and prevent overheating. The lamp has separate housing and heat sink components with insulation between them to block thermal transfer. This allows natural convection cooling in the lamp housing while the heat sink dissipates directly. The power supply components are coated with thermally conductive insulating materials to dissipate heat. The lamp also has detachable cover and clip connections for easy access to the heat sink.
19. LED Lamp Bead with Multi-Layered Heat Dissipation Structure and Corrosion-Resistant Package Seat
XUZHOU TONGYU AUTOMATION TECH CO LTD, XUZHOU TONGYU AUTOMATION TECHNOLOGY CO LTD, 2021
LED lamp bead with good corrosion resistance that has improved heat dissipation and prolonged service life. The lamp bead has a package seat with a fixed lamp body, a protective cover, a heat conduction plate, and a screw/bolt assembly. The plate, screw, and springs transfer heat to a heat spreading grid. The seat also has a base layer, heat conducting layer, waterproof layer, and light guide layer. This multi-layered construction allows efficient heat dissipation from the lamp body through the layers to prevent overheating and damage.
20. Outdoor LED Indicator Lamp with Integrated Heat Fins, Conductive Grease, and Active Airflow System
HAINAN MINGREN OPTOELECTRONICS TECH CO LTD, HAINAN MINGREN OPTOELECTRONICS TECHNOLOGY CO LTD, 2021
An outdoor LED indicator lamp with improved heat dissipation to extend lamp life. The lamp has a base, shell, LED body, heat fins, heat plate, and fan. The fins conduct heat from the LED body to the plate. Grease on the fins contacts the LED body to fill gaps. The plate transfers heat to the base. The VC plate on the base contacts outside air. The fan increases airflow to dissipate heat faster.
21. LED Light Source with Enlarged Housing for Enhanced Thermal Dissipation
ANHUI HANGKE PHOTOELECTRIC CO LTD, 2021
LED light source and spotlight design that improves thermal management to prevent overheating and degradation of the LED chips. The LED light source has a larger projected area housing than the actual LED substrate area. This allows more surface area for heat dissipation. The internal space is filled with a thermally conductive material to further conduct the heat from the LED chips to the housing. This prevents hot spots and prolongs LED lifespan. The spotlight uses this LED source inside a bulb that can also be filled with the thermal material.
22. Outdoor LED Lamp with Rotatable Cover and Integrated Thermal Management Structure
NANJING HANDSON TECH CO LTD, NANJING HANDSON TECHNOLOGY CO LTD, 2021
High-efficiency outdoor LED lamp with thermal management and protection to improve lamp longevity and performance. The lamp has a rotatable protective cover, heat dissipation cavity, and internal components arranged to reduce LED temperature. The components include a box, driving power source, heat-conducting plate, lampshade, radiator, and limit ring. The components are arranged inside the box with the LEDs, dissipating heat to the exterior. The rotatable cover protects the lamp. The cavity and components provide heat pathways to reduce LED temperature.
23. LED Package with Integrated Circulating Heat Dissipation System and Ventilated Moveable Top Layer
SHENZHEN ALIRORA LIMITED CO, SHENZHEN ALIRORA LTD CO, 2021
LED packaged light source with an internal cooling system to improve heat dissipation and extend lifetime. The LED package has a moveable top layer that seals over the mounting layer. Inside the mounting layer is a circulating heat dissipation mechanism to absorb and dissipate heat. The bottom of the top layer has ventilation features that cooperate with the internal mechanism. A heat dissipation pipe inside the mounting layer connects to the internal mechanism. Liquid coolant is provided in the pipe to extract heat from the LEDs and mounting layer. This internal cooling system efficiently dissipates heat from the LEDs and package components to improve reliability and prevent performance degradation.
24. LED Package with Heat Spreader Cover and Integrated Reflective Coating
SHENZHEN JUNXIANGLONG PHOTOELECTRIC CO LTD, 2021
A high-efficiency, high-temperature-resistant LED design that improves light extraction and heat dissipation. The LED is encapsulated in transparent epoxy resin with a reflective coating inside a heat spreader cover. The cover has fins extending down into the epoxy to further dissipate heat. The LED chip is mounted in the center of the cover with electrical contacts extending into the epoxy. This allows the LED chip to be fully surrounded by the heat spreader and reflective coating for better thermal management and light extraction compared to a conventional LED package.
25. LED Module with Suspended Light Source Assembly and Heat Dissipation Aperture in Metal Shell
SHENZHEN YSTER OPTOELECTRONIC CO LTD, 2021
Outdoor waterproof LED module with improved heat dissipation and water resistance compared to conventional designs. The module has a main body with a detachable light source assembly suspended inside a metal shell. This allows airflow around the LEDs to prevent heat buildup. The assembly is fixed to vertical and horizontal metal bars inside the shell instead of directly contacting the shell. The shell has a heat dissipation hole with a waterproof cap to prevent water ingress while allowing heat to escape.
26. LED Light Source with Conical Aluminum Package and Integrated Heat Dissipation System
GUANGDONG XILANG OPTOELECTRONICS TECH CO LTD, GUANGDONG XILANG OPTOELECTRONICS TECHNOLOGY CO LTD, 2021
A high-power LED light source with improved heat dissipation and longevity. The light source has a cylindrical box with a top cover, an internally threaded connection. Inside the box is a conical aluminum alloy package housing the LED lamp. The package has a lamp base, lamp holder, and breathable mesh plate. A fan with a motor and blades is mounted above the mesh plate. The LED lamp, fan, and mesh plate are all thermally connected. The package and box have heat dissipation plates. This design allows efficient heat transfer from the LED lamp through the fan and mesh plate to the outer box and dissipation plates.
27. LED Module with Multi-Part Construction for Heat Dissipation, Waterproofing, and Lens Protection
ZHONGSHAN XINGXIN PHOTOELECTRIC TECH CO LTD, ZHONGSHAN XINGXIN PHOTOELECTRIC TECHNOLOGY CO LTD, 2021
LED light source module with good waterproofing for outdoor lighting applications. The module uses a multi-part construction with separate components for heat dissipation, waterproofing, and lens protection. The LEDs are mounted on a substrate inside a sealed housing. A heat sink attaches to the bottom of the substrate. This assembly is then mounted inside a waterproof base with heat pipes connecting the base to a larger heat sink. The top of the housing has a lens cover. The multi-part construction allows separate optimization of heat dissipation, waterproofing, and lens protection.
28. LED Lamp with Insulated Separation Between Housing and Heat Sink for Enhanced Thermal Management
JIASHAN SANSI PHOTOELECTRIC TECHNOLOGY CO LTD, PUJIANG SANSI OPTOELECTRONICS TECH CO LTD, PUJIANG SANSI OPTOELECTRONICS TECHNOLOGY CO LTD, 2021
LED lamp with improved heat dissipation to increase service life by separating the lamp housing and heat sink with insulation. This prevents thermal transfer between the components. The lamp housing has natural convection for external heat dissipation. The heat sink carries the LED chips and has a separate cover to isolate it. The insulation blocks direct heat transfer between the housing and heat sink. This prevents internal temperatures from rising excessively when the lamp is in use. The separated components allow better cooling of each component separately.
29. LED Light Source Module with Layered Heat Sink and Ventilated Protective Cover
ZHONGSHAN XINGXIN OPTOELECTRONIC TECH CO LTD, ZHONGSHAN XINGXIN OPTOELECTRONIC TECHNOLOGY CO LTD, 2021
LED light source module with improved heat dissipation to extend LED lifetime. The module has a protective cover with a heat sink underneath. The heat sink has a heat absorption layer and a heat conduction layer. The LEDs are mounted on the bottom of the heat sink. The heat sink also attaches to the base. The cover has vents and a fan to extract heat. This allows efficient heat transfer from the LEDs to the sink and then to the base, preventing overheating and decay.
30. LED Lamp with Hemispherical Housing, Integrated Heat Dissipation Structure, and Secured Protective Cover
CHONGQING WENOVA PHOTOELECTRIC TECH CO LTD, CHONGQING WENOVA PHOTOELECTRIC TECHNOLOGY CO LTD, 2020
Waterproof and explosion-proof LED lamp with improved durability, heat dissipation, and water resistance compared to traditional LED lamps. The lamp has a hemispherical housing with a groove to hold the LED lamp body. A heat dissipation structure with a heat plate, fins, and aluminum plate is fixed outside the groove. This allows heat to transfer from the LED lamp to the fins and then dissipate through the aluminum plate. A cover over the opening protects the lamp and prevents dust and water ingress. The cover is secured with a rotating shaft and fasteners. The lamp body can still be accessed by removing the cover.
31. LED Package with Transparent Plate, Reflective Surface, and Penetrating Radiating Fins for Heat Dissipation
ANHUI JIATUO TECH DEVELOPMENT CO LTD, ANHUI JIATUO TECHNOLOGY DEVELOPMENT CO LTD, 2020
High-power LED package with good heat dissipation to improve the lifespan of high-power LEDs by effectively dissipating the heat they generate during operation. The LED package has an outer shell with an inner wall that has a transparent plate above a reflective surface. The LED substrate with the LED chip has a heat dissipation substrate at the bottom. The heat dissipation substrate has radiating fins that penetrate through the outer shell for heat dissipation. The transparent plate above the reflective surface inside the outer shell allows light to exit while the reflective surface inside directs the light back into the LED. This improves light extraction compared to enclosing the LED in opaque silicone. The penetrating fins allow direct contact of the heat dissipation substrate with the outer shell for efficient heat transfer out of the package.
32. LED Lamp Module with Aluminum Substrate and Enclosed Reflector Cups
QIAN LIJUN, 2020
LED lamp module with improved heat dissipation, waterproofing, and protection against dust, oil, and UV light. The module has an aluminum substrate mounted on the heat sink. LEDs are connected to the outside of the substrate. A reflector cup encloses each LED, with a silicone lens in the inner mold. This provides better heat dissipation compared to directly mounting the LEDs to the heat sink. The enclosed LEDs also have better waterproofing, dust protection, oil resistance, and UV resistance compared to exposed LEDs. The heat sink has a cable hole for easier installation.
33. Luminaire with Stainless Steel or Plastic Body and Metal-Core Printed Circuit Boards for Enhanced Heat Dissipation in Chemically Aggressive Environments
OSVETLENI CERNOCH S R O, OSVĚTLENÍ ČERNOCH S.R.O, 2020
Luminaire for chemically aggressive environments like chemical plants and areas with exhaust fumes, rain, and leachates that can destroy luminaires. The luminaire has a body made of stainless steel or plastic to withstand the chemicals, with LED modules mounted inside. Heat dissipation is improved by using metal-core printed circuit boards (MPCB) with a metal layer that can connect to the body. Thermally conductive pads or paste between the MPCB and body/LED modules ensure heat transfer. The MPCB is pressed against the body to prevent air gaps. This allows efficient heat dissipation from the LEDs using only the body material, without needing additional heat sinks that would corrode in the chemicals.
34. LED Package with Ventilated Cooling System and Reflective Fluorescent Coating
JIANGSU YUNHONGHUI ELECTRONIC TECH CO LTD, JIANGSU YUNHONGHUI ELECTRONIC TECHNOLOGY CO LTD, 2020
LED packaging design with improved heat dissipation and light extraction for longer lifespan and higher efficiency. The packaging has features like a ventilation tube with a fan and cooler, a reflective layer, a fluorescent coating, and a colloid filler to enhance cooling, light reflection, and protection. The components are mounted on a base with a cover, and a temperature sensor activates the fan and cooler when needed. The design provides better heat dissipation compared to conventional heat sinks, and higher light output by utilizing the reflective and fluorescent coatings.
35. LED Packaging Device with Integrated Cooling Tube and External Protective Cover
WUXI PINGSHE INTELLIGENT TECH CO LTD, WUXI PINGSHE INTELLIGENT TECHNOLOGY CO LTD, 2020
LED packaging device for efficient and easy production of long-life LED lighting components. The device consists of a housing with upper and lower sections, a cooling tube inside the lower section, LED wicks attached to the cooling tube, and an external packaging cover connected to the tube. The design allows efficient heat dissipation through the cooling tube and housing sections, and the external packaging cover encloses the LED wicks for protection. The LED wicks are secured to the tube and covered externally, simplifying production compared to wrapping wires with insulation. The device is suitable for radiation curing of LED wick insulation instead of traditional injection molding.
36. LED Module with Insulated Heat Sink, Convex Cover Protrusions, and Pressure-Equalizing Air Vents
AMOSENSE CO.,LTD, 2020
LED module design to prevent internal pressure buildup and improve durability. The module has a light source unit with LEDs on a circuit board, a heat sink with an insulating coating, a protective cover, and air vents. The cover has convex protrusions matching the LED positions. The air flow between the source and cover has vents to equalize pressure with the outside. The coating on the heat sink improves heat radiation while reducing weight. This prevents pressure spikes from heated air as the LEDs get hot. The vents balance pressure, preventing deformation of seals, and the insulating coating improves heat dissipation.
37. Light Emitting Device Package with Black Epoxy Molding Compound for Enhanced Rigidity and Light Extraction
LG INNOTEK CO., LTD., 2020
Light emitting device package with improved rigidity and light extraction efficiency, and lighting apparatus using the package. The package has a black body made of black epoxy molding compound (EMC) containing carbon black. This provides better mechanical strength and stability compared to white EMC or ceramics. The black EMC also prevents cracks and dust generation which can impact performance. The black body surrounds and supports the LED die mounted on lead frames. The black EMC body is encapsulated with a separate outer molding for protection. The package allows high light extraction and prevents cracking compared to conventional LED packages.
38. LED Luminaire Assembly with Modular Replaceable Modules and Concave-Convex Lenses
Eaton Intelligent Power Limited, 2020
A high-intensity LED luminaire (HILL) assembly that overcomes the drawbacks of existing high-intensity LED luminaires. The HILL assembly has improved thermal management, serviceability, balanced current control, and reduced off-angle glare. It uses replaceable LED modules, concave-convex lenses for light dispersion, modular components for customization, and circuitry to maintain constant color temperature and dimming using pulse width modulation. The HILL assembly also has a bracket to enclose the power supply circuitry.
39. LED Lamp Packaging Structure with Central Groove and Heat Dissipation Channels
DONGGUAN EBIRD PHOTOELECTRIC TECH CO LTD, DONGGUAN EBIRD PHOTOELECTRIC TECHNOLOGY CO LTD, 2020
High-power LED lamp packaging structure with improved heat dissipation to prevent overheating of the LEDs. The lamp has a base with a central groove and multiple heat dissipation channels. The LED light source and transparent cover are mounted on the base. The groove bottom is sealed by a plate with aligned connection holes. A rotating component in the holes connects to a heat sink. Limiting plates on the lamp side have card slots. The heat sink extends into the channels, and the limiting plates near the sink prevent contact with the cover. This provides a sealed pathway for heat transfer from the LEDs to the sink.
40. Heat Transfer Structures with Circular Annular Heat Pipes and Heat Rims for LED Fixtures
CREE, INC., 2019
Heat transfer structures for lighting devices like LED fixtures improve heat dissipation and extend LED lifetime. The structures include heat pipes and heat rims that extract heat from the LEDs. The heat pipes have circular annular shapes with extended regions that wrap around the heat rims to maximize thermal contact. This allows efficient heat conduction away from the LEDs. The heat rims provide additional surface area for heat transfer. The improved heat dissipation reduces LED temperature, avoids color fading, and extends lifetime.
41. Multicomponent LED and IC Device Packaging with Thermal Isolation Structures and Heat Dissipation Features
KONINKLIJKE PHILIPS ELECTRONICS NV, KONINKLIJKE PHILIPS NV, KONINL PHILIPS ELECTRONICS NV, 2019
Thermally enhanced packaging of multiple LEDs and an integrated circuit (IC) in a device to improve heat dissipation and protect temperature-sensitive components. The packaging involves separating the hot LED area from the cold IC area, using thermal envelopes between LEDs and IC, asymmetrical layouts to maximize distance between components, ring structures to thermally isolate components, and heat sinks. This prevents thermal crosstalk between LEDs and IC and allows operating LEDs at higher temperatures while keeping IC cooler.
42. LED Light Source Assembly with Integrated Heat Dissipation Ring and Waterproof Outer Cover
LAIWU YINHUI PHOTOELECTRIC TECH CO LTD, LAIWU YINHUI PHOTOELECTRIC TECHNOLOGY CO LTD, 2019
LED light source assembly that provides efficient heat dissipation and waterproofing. The assembly has an LED light source, a fixing unit, a heat dissipation unit, and a waterproof unit. The LED is mounted on a fixed base with a cover above. A heat dissipation ring below the base houses a heat pipe. The waterproof unit includes an outer cover over the fixed base and cover. This design allows effective heat transfer from the LED to the heat pipe, while the waterproof cover prevents ingress of moisture.
43. LED Lamp with Aluminum Heat Dissipation Structure and Through-Hole Alignment
Jiangmen Ruiqi Lighting Co., Ltd., 2019
LED lamp design that facilitates heat dissipation to improve lamp lifespan. The lamp has a heat dissipation portion made of aluminum around the lamp cap. This portion connects the cap and housing and has a through hole. The LED chip is encapsulated in silica gel on a substrate. The chip location corresponds to the through hole. Heat from the chip can exit the lamp through the hole, improving overall heat dissipation. Other features like an inner cover and refraction unit are optional.
44. LED Lamp Structure with Graphene Housing and Integrated Glass Cover
Ganzhou Zhongheng Optoelectronics Technology Co., Ltd., 2019
A new type of LED lamp structure that improves heat dissipation, reduces costs, and simplifies manufacturing compared to conventional LED lamps. The lamp uses a graphene housing with an embedded glass cover, reflector, and insulating sheet. The LED and power supply are inside. The graphene housing provides high thermal conductivity to dissipate LED heat. The graphene also enables direct copper plating for electrical connections. This eliminates the need for aluminum substrates, thermal interface materials, and separate heat sinks. The lamp has a snap-on glass cover, adjustable bracket, and penetrating wire entry.
45. LED Lamp with Sealed Liquid-Cooled Cavity for Enhanced Heat Dissipation
Chen Bingwu, 2019
LED lamp design with improved heat dissipation using liquid cooling inside a sealed lamp bulb. The lamp has a plastic shell with an inner lining shell forming a sealed cavity filled with liquid. The LED filament or circuit board is mounted close to the inner surface of the lining shell. The liquid absorbs heat from the LEDs and dissipates it to the air through the bulb walls, preventing high temperatures inside the lamp that degrade LED life.
46. LED Lamp with Graphene Housing, Graphene-Based Heat Spreader, and Copper-Plated Graphene Layer for Enhanced Thermal Management
Ganzhou Zhongheng Optoelectronics Technology Co., Ltd., 2019
LED lamp structure that addresses the issues of heat dissipation, cost, and durability in LED lamps. The lamp uses a graphene housing, graphene-based heat spreader, and copper-plated graphene functional layer to improve heat dissipation and extend LED lifetime. The lamp has a snap-fit glass cover, reflector, and bracket for adjustable illumination. The graphene housing, graphene spreader, and copper-plated graphene functional layer all provide thermal conductivity to dissipate heat from the LEDs. The copper plating on graphene allows direct low-temperature welding of the LEDs onto the spreader layer. This reduces thermal resistance and improves LED lifespan. The zinc alloy inlet screw resists corrosion and oxidation to secure the wiring.
47. LED Lamp with Phase Change Liquid Heat Dissipation Cylinder and Capillary Wick System
Xi'an Keruisheng Innovation Technology Co., Ltd., 2019
LED lamp for cars that provides high light output and extended lifetime by using a heat dissipation cylinder with phase change liquid and capillary material. The LED chip is mounted inside the cylinder with the phase change liquid. As the chip generates heat, the liquid absorbs it and changes to gas. The inner wall of the cylinder cools the gas back to liquid. This repeated phase change provides efficient heat dissipation from the chip. The capillary material wicks the liquid back into contact with the chip.
48. Encapsulated LED Light Source with Vented Cover and Gas Permeable Membrane
Zhongshan Pinyuan Lighting Appliance Co., Ltd., 2018
A waterproof LED light source that has improved water resistance and longer service life compared to conventional LED lights. The waterproofing is achieved by encapsulating the components in a waterproof potting compound and using a vented cover with a gas permeable membrane. This allows moisture to escape during assembly and operation without compromising the waterproofing. The potting compound fills the case and prevents moisture ingress from all directions. The vented cover allows any trapped moisture to escape, preventing internal condensation that can degrade seals. The potting compound is also thermally conductive to dissipate heat from the LEDs.
49. LED Package with Multi-Layer Structure and Integrated Heat Sinks
Shenzhen Quncheng Optoelectronics Technology Co., Ltd., 2018
High-power LED package for improved heat dissipation and light spread. The package has a unique design that enables better heat dissipation and wider light spread compared to conventional LED packages. The package uses a multi-layer structure with heat sinks, a silicon substrate, and a lens. The heat sinks are connected to the outer housing and dissipate heat faster. The silicon substrate has the LED chip mounted on it. A lens is placed over the chip and silicon. This setup allows efficient heat dissipation from the substrate and housing, preventing chip burnout. The lens spreads the light more widely compared to the chip alone.
50. LED Lamp with Thermal Conductive Interface Between PCB and Transparent Cover for Enhanced Heat Dissipation
SHUNSIN TECHNOLOGY (ZHONG SHAN) LIMITED, 2018
LED lamp design that allows for more efficient heat dissipation to improve thermal management and extend the lifetime of the lamp. The design includes a thermal conductive material positioned between the PCB and the transparent cover to facilitate heat transfer from the LEDs to the cover. This allows the transparent cover itself to act as a heat sink, dissipating the heat generated by the LEDs. The conductive connecting structures on the end lids also help to transfer heat away from the PCB. This provides multiple paths for heat dissipation from the LEDs, reducing operating temperature and improving the reliability and lifetime of the lamp.
The patents shown here demonstrate a variety of methods for producing LED lights with great durability. Some concentrate on novel approaches to heat dissipation, such as self-cooling designs and the use of certain materials to enhance thermal transmission. Others tackle environmental conservation by means of improved sealing methods and sturdy home plans.
Get Full Report
Access our comprehensive collection of 105 documents related to this technology
