Fuel Cell Durability Enhancement
Polymer electrolyte membrane fuel cells operate in demanding environments where chemical, thermal, and mechanical stresses can significantly reduce their functional lifespan. Field data shows that membrane degradation, catalyst dissolution, and bipolar plate corrosion can reduce power output by 10-15% after just 5,000 hours of operation under typical automotive duty cycles.
The fundamental challenge lies in maintaining membrane conductivity and catalyst activity while protecting these components from the aggressive chemical environment created by hydrogen peroxide formation and radical species generation.
This page brings together solutions from recent research—including nanofiber antioxidant integration, adaptive hydrogen pressure control systems, specialized bipolar plate coatings, and intelligent purge management strategies. These and other approaches focus on extending fuel cell lifetime while maintaining the high power density needed for commercial applications.
1. Fuel Cell System with Predictive Catalyst Restoration Control Mechanism
TOYOTA JIDOSHA KABUSHIKI KAISHA, TOYOTA MOTOR CO LTD, 2024
Fuel cell system that maximizes catalyst performance restoration while minimizing response time degradation during power increases. The system has a fuel cell with a control device to execute a power restoration process for the catalyst by lowering the cell voltage. The control device predicts when a power increase request will come and determines the necessity and extent of the restoration based on the prediction. This allows targeted catalyst restoration without excessively lowering cell voltage during normal operation, preventing performance loss.
2. Series-Parallel Fuel Cell Stack with Central Plate and Separate Parallel Gas Channels
HAIZHUO POWER BEIJING ENERGY TECH CO LTD, HAIZHUO POWER ENERGY TECHNOLOGY CO LTD, 2024
Series-parallel fuel cell stack design, system, and control method to improve performance and longevity of high-power commercial fuel cell stacks. The stack has two identical sub-stacks connected in series using a central plate. The sub-stacks share the membrane electrode assembly, bipolar plates, and assembly process. But they have separate hydrogen and air channels, connected in parallel. Heat dissipation channels are series. This balances gas and temperature distribution between cells. A control method monitors voltage, air pressure, hydrogen flow, and coolant temperature to optimize stack operation.
3. Fuel Cell Separator Plate with Channel Geometry for Controlled Water Flow Management
Hyundai Motor Company, Kia Corporation, 2023
Fuel cell separator plate with channel shapes to reduce humidity variation inside the fuel cell stack. The separator plate has channels for the reaction gas flow. The channel shapes are designed to suppress water flow into the gas diffusion layers at certain locations. This prevents drying out or overhumidification of the membrane electrode assembly (MEA) in those areas. The channel shapes can have inclines, undercuts, or other features to control water flow. This reduces humidity variation and improves fuel cell performance by maintaining consistent moisture levels in the MEA.
4. Fuel Cell System with Actuator-Controlled Internal State Variable Adjustment
DENSO CORP, 2023
Fuel cell system with internal state control to suppress voltage fluctuations and deterioration of catalyst performance in fuel cells. The system has actuators to adjust internal state variables like membrane humidity and oxide film rate. A controller optimizes these variables to approach targets as current changes. By stabilizing internal conditions, it reduces voltage fluctuations and catalyst degradation compared to uncontrolled operation.
5. Multi-Stage Solid Oxide Fuel Cell System with Hydrogen Concentration Sensing and Sweep Current Adjustment Mechanism
MIURA CO LTD, 2023
Controlling sweep current in a multi-stage solid oxide fuel cell system to optimize performance by accurately sensing and adjusting the hydrogen concentration in the off-gas of each cell stack. The system has separate fuel electrodes for each stack, and a detection device to measure hydrogen content in the anode off-gas from the front stack. The sweep currents of the front and rear stacks are then adjusted based on the hydrogen level to prevent fuel starvation in the rear stack when the front stack's off-gas contains high hydrogen concentrations. This avoids fuel waste and improves overall system efficiency.
6. Fuel Cell with Gas Diffusion Layers Exhibiting Optimized Over-Humidified Gas Diffusion Resistance Ratio
TOYOTA MOTOR CORP, 2023
Fuel cell design with improved water management for better performance over a wide operating temperature range. The key is optimizing the ratio of over-humidified gas diffusion resistance between the anode and cathode gas diffusion layers. By selecting materials with a resistance ratio of 0.4 or less, more water is drained from the cathode side when humid and less evaporates from the anode side when dry. This prevents drying at high temps while enhancing low temp drainage.
7. Fuel Cell System with Degradation-Responsive Flow Path Switching Mechanism
OSAKA GAS CO LTD, 2023
A fuel cell system with flow path switching to mitigate local temperature rise in the cell stack as it degrades. The system has channels for anode and cathode gas flow, plus a switching mechanism in some channels. A controller monitors cell stack degradation based on temperature measurements. When local degradation is detected, the controller switches the gas flow path to move high-temperature gas away from the degraded area. This prevents excessive temperature rise and oxidation in the degraded region. The switching is repeated as degradation progresses.
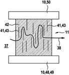
8. Fuel Cell Membrane with Dispersed Cerium Hydrogen Phosphate Nanofiber Antioxidant
KOREA INSTITUTE OF SCIENCE AND TECHNOLOGY, 2023
Improving the durability and conductivity of fuel cell membranes by adding a nanofiber antioxidant, cerium hydrogen phosphate (CeHPO4), to the membrane. The antioxidant scavenges destructive radicals produced in the fuel cell to protect the membrane without reducing proton conductivity like conventional antioxidants. The nanofiber form provides high dispersibility in the membrane. The membranes with dispersed CeHPO4 show improved proton conductivity and durability in fuel cells.
9. Electrode Catalyst Layer with Fiber Reinforcement for Polymer Electrolyte Fuel Cells
TOPPAN INC, 2023
An electrode catalyst layer for polymer electrolyte fuel cells that improves durability during repeated start-stop cycles. The layer contains catalyst-carrying carbon particles, a polymer electrolyte, and at least one of carbon fibers or organic electrolyte fibers. The fiber materials reduce thickness reduction due to carbon particle corrosion during start-stop cycling. The thickness after 10,000 cycles is at least 70% of the original.
10. Fuel Cell System with Exhaust Gas Recirculation and Discharge Mechanism for Grouped Stacks
TOSHIBA CORP, TOSHIBA ENERGY SYSTEM&SOLUTION CORP, 2023
Fuel cell system with recirculation of exhaust gas to improve fuel utilization and suppress voltage fluctuations. The system has multiple fuel cell stacks divided into groups. The exhaust gas from one group is recirculated upstream to the other group. A discharge mechanism is provided to periodically release some exhaust gas to prevent nitrogen buildup. This allows recycling exhaust to increase fuel utilization without periodic nitrogen spikes and voltage fluctuations.
11. Fuel Cell System with Selective Gas Recirculation and Pressure Control for Deterioration Mitigation
Hyundai Motor Company, Kia Corporation, 2023
Improving the durability and lifespan of fuel cells by avoiding stack deterioration due to mixed potential and reverse currents when the fuel cell is restarted after being stopped. The fuel cell deterioration avoidance method involves selectively recirculating air and hydrogen, controlling anode hydrogen pressure, and managing cooling water temperature based on diagnostic criteria like open circuit decay time and current distribution deviation. This prevents degradation by avoiding conditions prone to mixed potential and reverse currents when restarting the fuel cell.
12. Membrane Electrode Assembly with Anode Catalyst Layer on Microporous Layer and Integrated Oxygen Evolution Reaction Catalyst
KOREA ADVANCED INSTITUTE OF SCIENCE AND TECH, KOREA ADVANCED INSTITUTE OF SCIENCE AND TECHNOLOGY, 2023
Membrane electrode assembly (MEA) for polymer electrolyte fuel cells that prevents reverse voltage. The MEA has a design where the anode catalyst layer is on the microporous layer (MPL) instead of directly on the polymer electrolyte membrane. An oxygen evolution reaction (OER) catalyst layer is formed on the MPL and anode side. This prevents deactivation of the OER catalyst due to carbon oxidation during reverse voltage operation. The MEA also allows removing carbon from the anode catalyst layer for improved durability and performance stability over time. The OER catalyst layer prevents water electrolysis and carbon oxidation at the interface during reverse voltage.
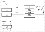
13. Fuel Cell System with Catalyst-Based Hydrogen Partial Pressure Control Mechanism
TOYOTA JIDOSHA KABUSHIKI KAISHA, 2023
Fuel cell system that enhances fuel cell lifetime by controlling hydrogen partial pressure in the cell membrane. The system calculates the optimal target hydrogen partial pressure based on the catalyst location in the membrane. A controller adjusts the gas supply to achieve the target. This reduces chemical degradation of the membrane. The catalyst suppresses hydrogen peroxide formation when hydrogen is over-rich. By limiting hydrogen partial pressure, the catalyst location maximizes the suppression effect.
14. Hydrogen Supply System with Pressure-Based Fuel Cell Deterioration Estimation and Adaptive Flow Control
HYUNDAI MOTOR COMPANY, KIA MOTORS CORPORATION, 2023
Fuel cell hydrogen supply system that estimates fuel cell deterioration and adjusts hydrogen supply to compensate. The system estimates fuel cell stack deterioration based on changes in pressure when opening/closing a hydrogen supply valve. It uses this estimated deterioration level to estimate the hydrogen concentration. This allows precise control of hydrogen supply to compensate for fuel cell degradation. The system avoids additional sensors by inferring stack degradation from pressure changes during valve operation. This enables accurate control of hydrogen supply to the anode side of the fuel cell as the stack degrades.
15. Fuel Cell Stack with Bipolar Plate-Integrated Short-Circuit Element and Pressurized Compartment
ROBERT BOSCH GMBH, 2023
Fuel cell stack with short-circuiting mechanism to prevent degradation during start-up and shut-down without damaging individual cells. The fuel cells in the stack have a printed short-circuit element on the backside of the bipolar plate facing away from the gas diffusion layer. This allows the cells to be short-circuited by contact between the elements when stacked. The stack also has a pressurized compartment between the cells that can be filled with gas or liquid to pressurize the cells during short-circuiting. This prevents potential differences between cells and reduces degradation during start-up and shut-down.
16. Fuel Cell Electrode with Cerium Hydrogen Phosphate Nanofiber Antioxidant Integration
KOREA INSTITUTE OF SCIENCE AND TECHNOLOGY, 2023
An electrode for a polymer electrolyte membrane fuel cell that contains an antioxidant to improve the durability of the fuel cell. The antioxidant is cerium hydrogen phosphate dispersed as nanofibers. Adding this antioxidant to the catalyst layer of the fuel cell electrode helps protect the membrane from chemical degradation during operation. The antioxidant scavenges radicals that can attack and degrade the electrolyte membrane, thereby minimizing performance loss over time.
17. Fuel Cell Membrane Electrode with Integrated Thermistor for Voltage Monitoring
ZHEJIANG TIANNENG HYDROGEN ENERGY TECH CO LTD, ZHEJIANG TIANNENG HYDROGEN ENERGY TECHNOLOGY CO LTD, 2022
A fuel cell membrane electrode design with improved durability against high potential corrosion and reverse poling. The fuel cell membrane electrode has a thermistor incorporated to monitor voltage and prevent damage. The electrode structure is a proton exchange membrane with catalyst layers on each side, diffusion layers, and an external thermistor. The thermistor allows real-time voltage monitoring during fuel cell operation. This enables early detection of high potential or reverse poling conditions to prevent catalyst layer damage.
18. Fuel Cell Stack Purge System with Adaptive Condensate and Hydrogen Management
HYUNDAI MOTOR COMPANY, KIA CORPORATION, 2022
A system and method for purging condensate water and hydrogen from a fuel cell stack in a way that improves operation stability and efficiency by accurately and adaptively managing the purging process. The system includes a purge valve that selectively directs the purged water/hydrogen to either the atmosphere or back into the fuel cell humidifier based on stack pressure and conditions.
19. Fuel Cell Stack with Integrated Dummy Cell Sensors for Real-Time Cell State Monitoring
BEIJING SINOHYTEC CO LTD, 2022
Fuel cell stack design with integrated online monitoring to improve stack performance and reliability. The design involves adding a dummy cell with sensors at the stack ends to measure the working state of the first and last cells. This provides real-time monitoring of stack imbalances and allows optimizing operating conditions to mitigate issues like low voltage startup and condensation. The integrated monitoring enables controlling stack input/output based on cell-by-cell data instead of just stack totals.
20. Fuel Cell System with Differential Electrode Material Configuration and Output Control Mechanism
HONDA MOTOR CO LTD, 2022
Fuel cell system with multiple fuel cells to improve durability and power generation performance. The system has a first fuel cell with an electrode made of a first material and a second fuel cell with an electrode made of a second material with lower resistance to output voltage fluctuations. The system controls the second fuel cell to limit output power fluctuations within a certain range. It then adjusts the output of the first fuel cell based on the required power and the output of the second fuel cell. This allows the second fuel cell with better stability to handle some of the load and reduce fluctuations, while the first fuel cell compensates for the rest. This improves overall fuel cell system durability and performance by leveraging the strengths of each fuel cell.
21. Fuel Cell System with Cathode Side Parallel Gas Channels and Interleaved Rib for Moisture Management
TOYOTA CENTRAL R&D LABS INC, TOYOTA CENTRAL RES & DEV, TOYOTA MOTOR CORP, 2022
Fuel cell system design that prevents performance degradation under both low and high humidity operating conditions. The system uses a fuel cell with specific separator and gas flow channel configurations. The cathode side separator has parallel gas channels with an interleaved rib. One channel has a constriction that forces gas to flow through the cathode diffusion layer. This prevents dryout at low humidity by recirculating cathode gas. At high humidity, it prevents flooding by evacuating excess liquid. The anode side has separate channels and does not recirculate gas. This balances moisture management to prevent both drying and flooding.
22. Fuel Cell System with Protective Layout for Hydrogen Components Using Strategic Component Positioning
HONDA MOTOR CO., LTD., 2022
Fuel cell system design that protects hydrogen system components from damage due to loads like impacts. The design uses a layout where hydrogen system components are placed between the fuel cell stack and air system components. This ensures that if the fuel cell system receives a load, it is possible to suitably protect auxiliary devices which are present at positions where the pressure of the hydrogen gas is high. The upstream hydrogen auxiliary device is placed farther away from the air system component than the downstream hydrogen auxiliary device. This protects the upstream device from impacts.
23. Membrane Electrode Assembly with Fibrous Reinforced Catalyst Layer and High Permeability Gas Diffusion Layer
TOPPAN PRINTING CO LTD, 2022
Membrane electrode assembly (MEA) for polymer electrolyte fuel cells that improves durability, power density, and stability compared to conventional MEAs. The MEA has an electrode catalyst layer containing a catalyst, carbon particles, polymer electrolyte aggregates, and fibrous material. The fibrous material increases the strength of the electrode catalyst layer to prevent cracking. It also has a gas diffusion layer with high air permeability and low electrical resistance to enhance gas diffusibility and drainage. The MEA structure reduces cracking, improves gas diffusibility, and mitigates electrical resistance effects on performance.
24. Fuel Cell System with Pressure-Based Hydrogen Quality Detection and Power Generation Inhibition Mechanism
TOYOTA JIDOSHA KABUSHIKI KAISHA, 2022
Fuel cell system that can detect poor quality hydrogen fuel and prevent irreversible degradation of the fuel cell performance. The system uses a pressure sensor to monitor the hydrogen gas pressure in the fuel cell. If, after a certain amount of time, the pressure does not reach expected levels based on the amount of hydrogen supplied, it indicates impurities in the gas. The system then disables power generation to avoid damaging the fuel cell.
25. Shutdown Method for Proton Exchange Membrane Fuel Cells Using Controlled Voltage Application
PANASONIC INTELLECTUAL PROPERTY MAN CO LTD, PANASONIC INTELLECTUAL PROPERTY MANAGEMENT CO LTD, 2022
A method to stop a proton exchange membrane fuel cell without damaging the cell. The method involves applying a voltage to the cell during shutdown that keeps the terminal voltage above the open circuit voltage. This prevents fuel depletion and cell deterioration when current extraction is stopped. The voltage is set between open circuit and water electrolysis threshold. Temperature and redox reactions are monitored to determine when to stop the cell.
26. Bipolar Plate with Segregated Oxidant, Fuel, and Coolant Channels for Fuel Cells
BOSCH GMBH ROBERT, Robert Bosch Limited Liability Company, 2022
Bipolar plate design for fuel cells that reduces water flooding and improves performance. The bipolar plate has separate channels for oxidant, fuel, and coolant, with the oxidant channels on opposite sides of the plate. This prevents water from accumulating in the oxidant channel and flooding the cathode. It also allows even distribution of oxidant throughout the cell, preventing oxygen depletion. The separate channels also enable independent control of oxidant flow, fuel flow, and coolant flow.
27. Membrane Electrode Assembly with Differential Gurley Value and Fibrous Diffusion Layers for Polymer Electrolyte Fuel Cells
TOPPAN PRINTING CO LTD, 2022
Membrane electrode assembly for polymer electrolyte fuel cells that balances moisture content and prevents flooding in both low and high humidity environments. The assembly has a polymer electrolyte membrane sandwiched between a fuel electrode and an air electrode. The Gurley value (air permeability resistance) of the air electrode diffusion layer is 80 seconds or less and higher than the fuel electrode diffusion layer. This promotes water drainage at the air electrode to prevent flooding and balance moisture. The air electrode diffusion layer contains a fibrous substance like proton-conducting or electron-conducting fibers to enhance conductivity and strength. The fuel electrode diffusion layer can also contain fibers. The fibrous material improves durability and prevents cracking.
28. Solid Metallic Iridium-Rich Coating for Bipolar Plates with Noble Metal Undercoat System
Schaeffler Technologies AG & Co. KG, 2022
A coating for bipolar plates of fuel cells or electrolyzers that provides improved performance and durability compared to previous coatings. The coating is a solid metallic solution containing iridium or iridium and ruthenium in concentrations of at least 99%. The iridium-rich coating has low electrical resistance like gold but is more stable and less prone to corrosion/dissolution. It can also contain small amounts of other noble metals like platinum or gold. The coating may also have an undercoat layer system containing elements like titanium or niobium. The coating is applied to bipolar plates of fuel cells or electrolyzers to improve their corrosion resistance and electrical conductivity.
29. Fuel Cell System with Controller for Managing Voltage to Regulate Oxide Scale Formation
TOYOTA JIDOSHA KABUSHIKI KAISHA, TOYOTA MOTOR CO LTD, 2022
Fuel cell system that optimizes operation and extends fuel efficiency by avoiding unnecessary oxide scale formation. The system has a fuel cell with membrane electrode assembly and a controller to manage the output voltage. When the cell voltage reaches a threshold, the controller prevents further voltage increase to avoid exposing the catalyst to high potentials that could dissolve platinum. However, if the cell voltage already exceeds a higher threshold indicating oxide scale formation, the controller allows voltage increase to complete the scale. This avoids unnecessary scale formation when platinum oxide is already present, while preventing dissolution when catalyst exposure is low.
30. Fuel Cell Stack with Plastic Manifold Secured by End Plate Projections
HONDA MOTOR CO LTD, 2022
Fuel cell stack design with a fuel manifold made of plastic that reduces damage compared to metal manifolds. The fuel cell stack has a plastic manifold that connects the fuel gas channels between the fuel cells. The plastic manifold is held in place by projections on the end plate holes. This prevents excessive deformation of the plastic manifold due to thermal expansion differences between the plastic and metal components. This reduces damage to the plastic manifold compared to previous designs where the plastic manifold was secured with metal clamps.
31. Solid Oxide Fuel Cell System with Proton-Conductive Electrolyte and Controlled Fuel Supply for Safe Shutdown
Panasonic Intellectual Property Management Co., Ltd., 2022
Fuel cell system with a solid oxide fuel cell (SOFC) that can safely stop without damaging the cell when using a proton-conductive electrolyte. The stop control involves supplying fuel at a higher rate than the cell consumes in open circuit. This prevents fuel shortages that could damage the SOFC with its unique proton-conductive electrolyte compared to oxide-ion SOFCs. The higher fuel flow continues until cell temperature drops to prevent redox reactions or hole conduction.
32. Fuel Cell System with Load-Specific Stack Optimization for Stress Mitigation on Membrane Electrode Assembly
Weishi Energy Technology Co., Ltd., WEISHI ENERGY TECHNOLOGY CO LTD, 2022
Fuel cell system design to improve durability and performance by matching load conditions to minimize stress/strain on the membrane electrode assembly (MEA) during operation. The system uses multiple fuel cell stacks, each optimized for a specific load condition to avoid excessive MEA stress/strain changes during load transitions. This improves MEA life and performance compared to using a single stack across varying loads. The system also considers temperature and humidity effects on MEA fatigue.
33. Fuel Cell Unit Seals with Particulate-Enhanced Extended Diffusion Paths
ROBERT BOSCH CO LTD, 2022
Fuel cell unit with extended diffusion path seals to improve long-term reliability by reducing diffusion of gases through the seals. The seals contain particles of particulate material that lengthen the diffusion path of fluids sealed by the seals. This reduces diffusion through the seals over long periods like 10-15 years, improving fuel cell unit reliability. The particles could be polarizable or have dipole properties to orient in an electric field. The particles are added during seal manufacturing to extend the diffusion path.
34. Membrane Electrode Assembly with Fiber-Enhanced Catalyst Layers for Water Retention and Durability
TOPPAN PRINTING CO LTD, 2022
Membrane electrode assembly (MEA) for fuel cells with improved water retention and durability under low humidity conditions. The MEA uses electrode catalyst layers that contain specialized materials to enhance water management. These layers have catalyst-supporting particles, a polymer electrolyte, a water-retaining material, and a conductive material. The water-retaining material is a fiber that traps excess water generated during load fluctuations, maintaining gas diffusivity. This prevents drying and flooding issues. The fiber entanglement suppresses cracking. By adding water-retaining fibers to the catalyst layers, high power and durability are achieved at low humidity, reducing the need for humidifiers.
35. Fuel Cell Membrane Electrode with Integrated Layers via Chemical Vapor Deposition and Elastic Gas Diffusion Layer
SANY AUTOMOBILE MANUFACTURING CO LTD, SANY AUTOMOBILE MFG CO LTD, 2022
Fuel cell membrane electrode design and preparation method that enables longer life and improved performance by preventing electrode delamination. The electrode is made by integrating the catalyst layer, gas diffusion layer, and electrode plate using chemical vapor deposition. The gas diffusion layer is made from an elastic material to avoid delamination during expansion/contraction. The electrode also has a hydrophobic layer on the gas diffusion layer side close to the catalyst. This prevents delamination by reducing internal stresses.
36. Fuel Cell System with Selective Operation of Dual Catalyst Carrier Configurations
MITSUBISHI MOTORS CORP, 2021
Fuel cell system optimizing power generation and durability by selectively operating fuel cells containing different catalyst carriers based on load requirements. The system has two types of fuel cells with catalyst layers using carriers with different properties: one with a higher deterioration resistance but lower output, and the other with higher output but lower durability. When the load demand is high, both cells are operated. For lower load demands, only the cell with the higher deterioration resistance carrier is operated to reduce overall cell degradation. This allows reducing the amount of platinum catalyst needed without sacrificing output, as the higher output cell is only used when needed.
37. Fuel Cell with Hydrogen Peroxide Decomposition Catalyst Layer and Hydrogen Ion Conductive Polymer
Hyundai Motor Company, Kia Motors Corporation, 2021
Fuel cell design and manufacturing method to improve durability and adhesion between components. The fuel cell includes a "durability enhancing layer" containing a hydrogen peroxide decomposition catalyst and hydrogen ion conductive polymer on the side of the fuel cell where the gas diffusion layer contacts the electrolyte-electrode assembly. This layer prevents electrolyte deterioration and improves adhesion.
38. Fuel Cell with Intermediate Layer Containing Hydrogen Peroxide Decomposition Catalyst and Viscous Hydrogen Ion Conductive Polymer
Hyundai Motor Company, Kia Motors Corporation, 2021
Fuel cell design and manufacturing method to improve durability and adhesion. A durability enhancing layer is added between the gas diffusion layer (GDL) and the electrolyte membrane-electrode assembly (MEA) in a fuel cell. The layer contains a hydrogen peroxide decomposition catalyst to prevent membrane deterioration. It also has a highly viscous hydrogen ion conductive polymer to improve adhesion between the GDL and MEA. This allows targeted enhancement of durability and adhesion where needed.
39. Fuel Cell System with Dual Voltage Conversion for Catalyst Regeneration and Stable Auxiliary Device Operation
TOYOTA JIDOSHA KABUSHIKI KAISHA, TOYOTA MOTOR CO LTD, 2021
Fuel cell system that can stably operate auxiliary devices like electric motors even when regenerating poisoned catalysts and warming up the fuel cell. The system has a fuel cell, consumer, voltage converter between the fuel cell and load, and an optionally chargeable power storage device with a separate voltage converter. When regenerating catalysts, the fuel cell voltage is lowered to a region where power efficiency is low. This reduces the difference between commanded and actual fuel cell current, allowing stable consumer operation. The lower fuel cell voltage is fed back to compensate when returning to normal operation.
40. Fuel Cell System with Sensor-Based Water Management and Drainage Cycle Initiation
TOYOTA MOTOR CORP, 2021
Fuel cell system that mitigates stack degradation and fuel consumption by optimizing water management during stack operation. The system uses sensors to monitor stack voltage, current, temperature, and inclination. When cross-leakage of electrolyte membrane is detected, the system estimates stack water content and checks if it can be drained. If so, it initiates a drainage cycle. This prevents excessive water accumulation, electrolyte corrosion, and fuel cell damage. It also reduces stack water content to lower fuel consumption by decreasing the amount of water that needs to be evaporated during high-temperature operation.
41. Fuel Cell System with pH Estimation via Voltage and Temperature Correlation Analysis
TOYOTA MOTOR CORP, 2021
Fuel cell system that accurately estimates pH decrease in individual cells of a fuel cell stack without directly measuring pH, to enable effective deterioration prevention of the electrolyte membrane. The system calculates an electrolyte membrane deterioration index based on cell voltage, cooling water temperature, and learned correlations. If the index exceeds a threshold, it increases stack power output to mitigate membrane degradation. This leverages parameters closely affecting pH without measuring it, improving suppression of electrolyte membrane deterioration.
42. Bipolar Plate with Transverse Channel Configuration for Fuel Cell Stack
BOSCH GMBH ROBERT, Robert Bosch Limited Liability Company, 2021
Bipolar plate design for fuel cells that improves performance and reduces degradation by preventing water flooding of the cathode area. The bipolar plate has separate channels for oxidizing agent, fuel, and coolant that intersect the cell stack transversely. This allows parallel flow of oxidizing agent through the cathode gas diffusion layer instead of longitudinal flow. This prevents water accumulation and oxygen depletion in the cathode. The feed channel brings oxidizing agent to the cathode side of the stack, and discharge channels remove oxidizing agent from the cathode side.
43. Fuel Cell with Multi-Inlet Separator for Controlled Airflow and Enhanced Water Drainage
SUZUKI MOTOR CORP, 2021
Fuel cell design to prevent surging of the compressor and reliably eliminate flooding of the fuel cell stack in a short time. The fuel cell has a separator with multiple inlets of different pressure losses in the air flow path. During flooding, instead of bypassing air, the fuel cell allows water to drain from the air path by selecting the inlet with higher resistance. This prevents surging while draining water faster. Additionally, during flooding, the fuel cell increases compressor speed and backpressure valve opening to increase airflow rate and drain water faster.
44. Fuel Cell Anode Purging Method with Pressure-Responsive Hydrogen Supply Mechanism
Hyundai Motor Company, Kia Motors Corporation, 2021
Fuel cell purging method for preventing fuel cell deterioration and reducing hydrogen consumption in fuel cell vehicles after long stops. The method involves supplying hydrogen to the anode when negative pressure peaks after the vehicle is stopped. This prevents deterioration without excessive purging. The pressure is monitored and when it reaches zero, hydrogen is supplied so the anode pressure rapidly increases to positive pressure.
45. Fuel Cell Stack with Porosity Gradient in Coating, Bonding Layer, and Air Electrode
Morimura Sofuku Technology Co., Ltd., MORIMURA SOFC TECHNOLOGY CO LTD, 2021
A fuel cell power generation unit design with reduced cracking in fuel cell stacks. The design involves a gradient in porosity between the coating, bonding layer, and air electrode in the fuel cell stack. This gradient allows the thermal expansion and contraction of each component to better match and relieve stresses during temperature cycling. By having a higher porosity in the bonding layer and gradient between coating, bonding layer, and air electrode, cracking from thermal expansion mismatch is reduced compared to uniform porosity in all components.
46. Fuel Cell System with Adaptive Catalyst Recovery Based on Oxide Scaling Type Detection
TOYOTA JIDOSHA KABUSHIKI KAISHA, TOYOTA MOTOR CO LTD, 2021
Fuel cell system with optimized catalyst performance by balancing recovery versus degradation. The system intelligently determines when to perform catalyst recovery processes based on the type and amount of oxide scaling. It avoids unnecessary refreshes when the scaling is primarily type 1 oxide, which can be removed at lower voltages. But if type 2 oxide is present, it indicates more severe scaling. The system lowers the output voltage further to remove both types. This balances recovery versus degradation from refreshing.
47. Fuel Cell Stack with Vertically Arranged Cells and Differential Thermal Conductivity Gas Diffusion Layers
BOSCH GMBH ROBERT, ROBERT BOSCH GMBH, 2021
Fuel cell stack design with optimized thermal management and electrical conductivity for fuel cell systems like vehicles. The stack has fuel cells arranged vertically with anode-side and cathode-side gas diffusion layers. The anode-side layer has a high thermal conductivity to dissipate heat, while the cathode-side layer has a low thermal conductivity to retain moisture. The anode-side layer also has a higher electrical conductivity for electron flow. This allows higher cathode-side temperatures for better performance, while avoiding anode overheating. The design balances thermal and electrical requirements for fuel cell stacks.
48. Fuel Cell Stack with Porous Gas Diffusion Layers and Alignment Mechanism
BOSCH GMBH ROBERT, ROBERT BOSCH GMBH, 2021
A fuel cell stack design for fuel cell systems used in vehicles that improves durability and reduces maintenance compared to conventional stack designs. The stack has multiple fuel cells stacked vertically with a gas diffusion layer (GDL) on each cell's anode and cathode. The GDLs are made of a porous material that allows gas diffusion while preventing contaminants from entering the fuel cell. The GDLs have a lower binder content and higher porosity compared to conventional GDLs. This reduces clogging of the GDL pores, minimizing gas crossover and membrane damage. The lower binder content also reduces binder degradation and cracking over time. The stack also features a connecting device between adjacent cells to prevent misalignment during assembly and tensioning elements to compress the cells together for improved sealing and electrical connection.
49. Fuel Cell with Oxygen Ion Barrier Layer Between Cathode and Thin Film Solid Electrolyte
HITACHI HIGH TECH CORP, HITACHI HIGH-TECH CORP, 2021
Fuel cell design with improved durability by preventing water formation in the electrolyte layer. The fuel cell has a cathode, anode, and a thin film solid electrolyte sandwiched between them. The thin film electrolyte is doped zirconia or cerium oxide that exhibits proton conduction when thin. To prevent oxygen ions from the cathode side entering the electrolyte and reacting with hydrogen to form water, a first oxygen ion barrier layer is placed between the cathode and electrolyte. This prevents oxygen ion conduction through the barrier layer and prevents water formation in the electrolyte.
50. Solid Oxide Fuel Cell with Protective Electrolyte Coating and Barrier Layer on Metal Substrate
CERES INTELLECTUAL PROPERTY CO LTD, 2020
Solid oxide fuel cell (SOFC) design for long-term operation on metal substrates without substrate corrosion. The SOFC architecture includes a protective electrolyte coating on the substrate to prevent corrosion, along with a barrier layer adjacent to the gaskets. The electrolyte coating thickness is >2 μm, preventing reactants from reaching the substrate. The barrier layer prevents corrosive agents from the gaskets from contacting the substrate. This prevents localized corrosion growth and substrate damage.
Get Full Report
Access our comprehensive collection of 118 documents related to this technology
