Temperature Control for Fuel Cell Systems
Fuel cell systems experience temperature variations that directly impact their efficiency and longevity. Operating temperatures in PEM fuel cells must be maintained between 60-80°C, while high-temperature cells can reach 200°C, creating thermal management challenges across multiple subsystems including the membrane, catalyst layers, and cooling circuits.
The fundamental challenge lies in maintaining optimal temperature distributions throughout the stack while managing the competing demands of heat removal during peak loads and thermal preservation during low-power operations.
This page brings together solutions from recent research—including adaptive cooling circuits that respond to power demands, waste heat recovery systems for auxiliary heating, thermal management strategies for hydrogen storage, and temperature-based shutdown protocols. These and other approaches focus on maximizing system efficiency while ensuring component durability across diverse operating conditions.
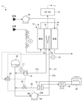
1. Fuel Cell Vehicle Thermal Management System with Integrated Coolant Loop and Selective Circulation Control
Chery Wanda Guizhou Bus Co., Ltd., CHERY AND WANDA GUIZHOU BUS CO LTD, 2024
Fuel cell vehicle thermal management system that allows low-temperature rapid preheating and precise temperature control of both the fuel cell and battery packs using a common coolant loop. The system has separate coolant circuits for the fuel cell stack and battery pack, with a common expansion pot and pump. A three-way solenoid valve allows selective circulation between the stack and battery circuits. This allows preheating the battery when the stack is warm, and vice versa. A single intercooler cools both circuits. The stack coolant inlet temperature sensor regulates the stack heating, and the battery coolant inlet sensor regulates the battery heating.
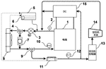
2. Fuel Cell Temperature Control System with Thermostat-Regulated Coolant Flow and Solenoid Valve Bypass
SHENZHEN HYNOVATION POWER TECH CO LTD, SHENZHEN HYNOVATION POWER TECHNOLOGY CO LTD, 2024
Fuel cell temperature control system and method that improves fuel cell efficiency during cold starts and idle operation. The system uses a thermostat, water heater, and solenoid valve to control the flow of coolant between heating and cooling circuits. During cold starts, a small coolant loop heats the fuel cell stack. Once the stack temperature is high enough, the thermostat opens fully to circulate coolant through both loops. This prevents sudden temperature drops when switching to full circulation. During idle, the thermostat increases in small steps to balance heating and cooling. A solenoid valve can bypass the thermostat during cold starts to fully heat the stack. The method involves starting the pump, waiting, checking stack temperature, then gradually opening the thermostat.
3. Fuel Cell Stack Thermal Management System with Dynamic Coolant Flow Control Based on Temperature Distribution
HYUNDAI MOTOR CO, 2024
Active thermal management system for fuel cell stacks that improves performance and durability by dynamically controlling coolant flow to each cell based on measured temperature distribution. The system has a coolant distribution device in the manifold that can open/close to steer coolant flow between cell groups based on temperature readings. This reduces temperature variation across cells and prevents overcooling or overheating issues.
4. Fuel Cell System with Autonomous Cooling Control via Condition-Based Controller Override
Toyota Motor Corporation, TOYOTA JIDOSHA KABUSHIKI KAISHA, 2024
Fuel cell system that allows more efficient and autonomous cooling control when specific fuel cell conditions are met. The fuel cell controller can override upper-level controller instructions and independently control the fuel cell cooler in a predetermined sequence when certain fuel cell conditions are satisfied. This allows unique fuel cell-specific cooling needs to be handled locally by the fuel cell controller instead of requiring the upper-level controller to understand and implement those cooling requirements.
5. Fuel Cell System with Inverter-Based Internal Heating for Cold Start Operations
FORD GLOBAL TECH LLC, FORD GLOBAL TECHNOLOGIES LLC, 2024
A fuel cell system that allows faster cold start and enables immediate driving away in cold weather. It uses the fuel cell inverter to actively heat the fuel cell stack during cold starts instead of relying solely on external heaters. When the stack temperature is low, the inverter switches to a configuration where it draws power from the fuel cell to generate heat internally. This heat is then transferred to the stack to quickly bring it up to operating temperature. Once warm, the inverter switches back to normal mode and the fuel cell powers the vehicle. This avoids the need for external heaters and allows immediate driving away.
6. Fuel Cell System with Temperature Maintenance, Module Management, and Integrated Reformer Control
HD KOREA SHIPBUILDING & OFFSHORE ENG CO LTD, HD KOREA SHIPBUILDING & OFFSHORE ENGINEERING CO LTD, 2024
Fuel cell system that can maintain stack temperature and improve durability in abnormal operating conditions, manage multiple fuel cell modules, and use a complex reformer without separate water treatment. The system has a temperature maintenance unit to keep stack temperature during power outages or fuel cuts. It also has a module management unit to set standby mode for modules based on power demand. The complex reformer has a fuel control to adjust steam and partial oxidation reformer based on anode exhaust water vapor.
7. Dual-Core Radiator System with Isolated Water Channels for Fuel Cell Heat Dissipation
GUANGDONG YUNTAO HYDROGEN ENERGY TECH CO LTD, GUANGDONG YUNTAO HYDROGEN ENERGY TECHNOLOGY CO LTD, 2024
Fuel cell heat dissipation system that reduces complexity and cost compared to conventional systems with separate main and auxiliary radiators. The system has a single dual-core radiator with isolated water channels and connected air paths. The main heat dissipation circuit uses the main core and the auxiliary circuit uses the auxiliary core. This allows sharing of the main radiator for both circuits. The fan is on the main core side. The system also has integrated water tanks and pumps for each circuit. A control method regulates fan and pump speeds based on temperatures to balance cooling.
8. Fuel Cell System Hot Module with Integrated Cooling Body and Adjustable Air Flow Mechanism
MIURA CO LTD, TOKYO GAS CO LTD, 2024
Hot module for a fuel cell system that allows easy temperature control of the fuel cell stack. The hot module has a cooling body near the stack where cooling air flows through to extract heat. By adjusting the air flow rate, excess heat inside the module can be discharged to maintain stack temperature. This eliminates the need for external cooling and prevents stack overheating. The cooling body is positioned near the stack and configured with the same air flow direction as the stack fuel flow. It can have turbulent flow features and shapes like boxes or tubes.
9. Fuel Cell Cold Start Device Incorporating Phase Change Material with Integrated Heat Storage and Temperature-Controlled Circulation System
Beijing Hydrogen Power New Energy Technology Co., Ltd., 2024
Fuel cell cold start device using phase change material to enable reliable low temperature starting of fuel cells without preheating. The device consists of a heat storage unit filled with a phase change material, a water pump, fuel cell stack, three-way valve, radiator, temperature sensors, and a controller. During startup, the pump circulates coolant through the heat storage to melt the phase change material. This provides heat to the fuel cell stack to prevent ice formation. After startup, the valve switches to bypass the heat storage and use the radiator for cooling. The controller monitors temperatures to manage the heating and cooling cycles.
10. Fuel Cell Water and Heat Management System with Parallel Heat Exchangers and Multi-Way Valve Configuration
SHANGHAI REFIRE TECH COMPANY LTD, SHANGHAI REFIRE TECHNOLOGY COMPANY LTD, 2024
A fuel cell water and heat management system with improved temperature control for different operating conditions. The system has multiple heat exchangers connected in parallel with a three-way and four-way valve. This allows separate heat dissipation branches for the first and second radiators, heater, and intercooler. The valves can be selectively actuated to route cooling water through the appropriate branches based on fuel cell temperature. This provides more granular temperature control compared to simple warm-up and cool-down modes.
11. Fuel Cell System with Dual Heat Source Warm-Up Mechanism and Adaptive Coolant Temperature Management
TOYOTA MOTOR CORP, 2024
Reducing warm-up time of a fuel cell system by efficiently raising the cooling water temperature during startup. During warm-up, instead of just using fuel cell power to heat the coolant, a separate power consumption unit like a brake resistor also draws power. This increases the total heat generation to raise coolant temp faster. The system detects coolant temperature and switches between optimized warm-up methods based on starting conditions. If coolant is very low, use the dual heat source method. If coolant is warmer, use the single heat source method.
12. Fuel Cell Thermal Management System with Multi-Pass Heat Exchange and Mixed Coolant Circulation Loop
CRRC IND RES INST CO LTD, CRRC INDUSTRY RESEARCH INSTITUTE CO LTD, 2024
A thermal management system for fuel cells that provides rapid and dynamic temperature control to improve fuel cell performance and reliability. The system uses a heat exchange module with a multi-pass structure that allows adjusting the cooling flow rate based on stack power demand. It connects the stack, stack outlet, and heat exchanger in a main cooling loop, with a separate circulation loop that mixes coolant from both circuits. This provides quicker stack temperature response compared to radiators, preventing excessive cooling. An intercooler further reduces stack temperature. The circulation pump powers the mixed coolant loop.
13. Fuel Cell Power System with Master-Slave Heat Transfer Configuration and Controlled Loop Switching
BEIJING SINOHYTEC CO LTD, 2024
Reducing the number of heaters in fuel cell power systems to save costs and energy compared to conventional designs. The idea is to use a master fuel cell with built-in heaters to warm up and start, then transfer heat to a slave fuel cell instead of using heaters on both cells. A controller switches between loops based on start conditions. This reduces the number of heaters needed compared to independent heating for each cell.
14. Hierarchical Thermal Circuit System with Backbone Ambient Loop for Fuel Cell Vehicle Cooling
AVL POWERTRAIN UK LTD, 2023
Thermal management system for fuel cell vehicles that allows efficient cooling of fuel cell stacks, electric motors, and batteries without increasing vehicle drag. The system has a hierarchical thermal circuit with a backbone ambient loop and dedicated loops for fuel cells, motors, and batteries. The backbone loop provides primary cooling to the others. This allows efficient cooling without adding radiators to the front end. The system also has features like PTC heaters, compressor-based refrigeration, and bypass valves for optimized cooling in different conditions.
15. Fuel Cell System with Multi-Stage Temperature and Power Target Control for Enhanced Thermal Management
TOYOTA IND CORP, TOYOTA INDUSTRIES CORP, TOYOTA MOTOR CORP, 2023
A fuel cell system for vehicles that improves cooling and power generation performance of the fuel cells while preventing temperature overshoot. The system uses a fuel cell stack, temperature sensor, cooling fan, and control circuit. The control circuit sets higher target temperatures for the fuel cell stack when more power is needed. It suppresses fan speed changes until the actual temperature reaches the target. This prevents supercooling and allows faster temperature rise. Feedback control adjusts fan speed based on target temp, and feedforward control based on heat release. This improves fan speed control. The system uses multiple stages for power and temp targets to reduce voltage fluctuations.
16. Fuel Cell System with Refrigerant-Free Oxidant-Based Rapid Warm-Up Mechanism
TOYOTA MOTOR CORP, 2023
A fuel cell system that can quickly warm up a fuel cell to the operating temperature without using refrigerant, thereby avoiding heat spots that degrade fuel cell performance. During warm-up when the fuel cell temperature is below the target, the system stops refrigerant supply and increases the oxidant gas flow rate. This cools the fuel cell using the oxidant instead of refrigerant. The oxidant flow rate is controlled to raise the fuel cell temperature to the target. This allows faster warm-up without heat spots compared to using no oxidant or adjusting refrigerant flow.
17. Integrated Fuel Cell Thermal Management System with Independent Cooling and Heating Pipelines and On-Demand Deionization
Zhengzhou Yi'ang New Energy Vehicle Technology Co., Ltd., ZHENGZHOU YIANG NEW ENERGY AUTOMOBILE TECHNOLOGY CO LTD, 2023
Fuel cell thermal management system that integrates fuel cell cooling, passenger cabin heating, and deionization into a single system. The system uses independent pipelines for cooling and heating to avoid waste heat loss. It also has an on-demand deionizer to prevent ion buildup in the coolant. The control is a combination of feedforward and feedback that adaptively tunes parameters based on working conditions to reduce overshoot. This improves efficiency, reduces waste, and enables more flexible layout of heating components.
18. Fuel Cell System with Heat Exchanger and Pump-Controlled Fluid Circulation for Anode Off-Gas Cooling
Ceres Intellectual Property Company Limited, Miura Company Limited, 2023
Fuel cell system with optimized water management and coking prevention to enable operation of intermediate temperature solid oxide fuel cells (IT-SOFC) at high efficiency. The system uses a heat exchanger to cool the anode off-gas and heat a transfer fluid. The transfer fluid is then reheated by another exchanger before returning to the first exchanger. A pump circulates the fluid. The key is controlling the pump speed versus flow rate of another medium to balance cooling and reheating. This prevents freezing and coking issues. By prioritizing pump speed over other flow, heat is added to the fluid. Conversely, lower pump speed with reduced other flow removes heat. This allows high anode off-gas cooling without condensate freeze risk.
19. Fuel Cell Stack Cooling System with Dynamic Airflow Control Based on Output Current and Temperature
HONDA MOTOR CO LTD, 2023
Flexibly cooling a fuel cell stack based on its output current and temperature to improve efficiency and lifespan. The cooling air supply is controlled in addition to the stack temperature to stabilize output current. If the stack temperature rises, cooling air flow is increased. If output current decreases, cooling air flow is reduced. This allows cooling to adapt to stack state rather than fixed levels. It prevents excessive cooling causing dew point issues, or insufficient cooling leading to overheating. By dynamically managing cooling based on stack conditions, the fuel cell stack can operate more effectively and reliably over its lifetime.
20. Fuel Cell System with Reversible Thermal Coupling Circuits for Battery Temperature Regulation
BOSCH GMBH ROBERT, Robert Bosch Limited Liability Company, 2023
Efficiently heating or cooling a battery in a fuel cell system using the waste heat from the fuel cell. The system has two fluid circuits, one connected to the fuel cell and the other to the battery, that can be reversibly thermally coupled together. By selectively connecting the circuits, excess fuel cell heat can be used to bring the battery temperature into an optimal range without extra power consumption. A heat exchanger allows indirect thermal coupling to maintain separate fluid flows. The circuits are thermally decoupled when the fuel cell has enough heat or the battery is already warm enough.
21. Hydrogen Generation System with Pressure and Temperature Controlled Water Vapor Regulation
DENS B.V., 2023
Hydrogen generation electricity system that allows precise control of water content in hydrogen gas to optimize fuel cell performance. The system uses a reaction chamber to convert a hydrogen carrier substance like formic acid into hydrogen gas. By controlling pressure and temperature in the chamber, the water vapor concentration in the hydrogen gas stream can be adjusted. This avoids the need for expensive membranes to extract water vapor from the gas for fuel cell use.
22. Thermoelectric Waste Heat Recovery System with Phase Change Heat Storage for Fuel Cell Vehicles
Sichuan Rongchuang Xinneng Power System Co., Ltd., SICHUAN RONGCHUANG NEW ENERGY POWER SYSTEM CO LTD, 2023
Waste heat power generation system for fuel cell vehicles that extracts heat from the fuel cell stack and uses thermoelectric generators to convert it into electricity. The system has a thermoelectric module with hot and cold sides, a heat storage tank filled with phase change material, and a DC-DC power supply. When the fuel cell stops, it releases heat into the storage tank. The outlet valve to the radiator closes and the pump runs at low speed to cool the storage tank. This captures the fuel cell waste heat for thermoelectric generation, improving efficiency and stability compared to direct stack cooling.
23. Rollable Vapor Chamber Assembly with Curved Configuration for Fuel Cell Temperature Regulation
SOUTH CHINA UNIV OF TECHNOLOGY, SOUTH CHINA UNIVERSITY OF TECHNOLOGY, 2023
A fuel cell thermal management assembly using a rollable vapor chamber to provide uniform temperature control for fuel cells. The assembly has a curved vapor chamber with temperature detection and control modules. The fuel cell has a curved shape and the vapor chamber wraps around it. The chamber has sections in contact with the cell and exposed to the air. The temperature is detected and regulated by the external module to prevent local hotspots and cold starts. The curved chamber allows compact thermal management without internal cooling channels.
24. Fuel Cell Thermal Management System with Dual Circulation Loops and Integrated Heating Device
Jilin University, JILIN UNIVERSITY, 2023
Vehicle fuel cell thermal management system with improved startup capability and temperature control. The system has separate small and large circulation loops for cooling the fuel cell and battery, respectively. A heating device is added to the small loop for cold starts. Thermostats control the water flow distribution between loops based on stack and battery temperatures. This allows simultaneous optimal temperature operation of both components.
25. Fuel Cell System with Distributed Cooling and Individual Module Current Control
KOMATSU LTD, KOMATSU MFG CO LTD, 2023
A fuel cell system with distributed cooling and individual current control to improve performance and lifespan of fuel cell modules. The system has temperature sensors in each module, a distributed cooling system with separate cooling loops for each module, and an individual current control circuit for each module. The controller adjusts module output current based on the measured module temperatures. This allows balancing module temperatures and performance without overall system output penalties. It prevents hot spots and uneven degradation across modules.
26. Fuel Cell System with Sensor-Guided Dynamic Cooling Control
GAONCELL CO LTD, 2023
A fuel cell system with intelligent cooling control for maintaining optimal operating temperature of the fuel cell stack. The system uses temperature sensors inside the fuel cell system to measure temperatures like the fuel cell stack temperature, ambient temperature, and coolant inlet/outlet temperatures. A control unit receives this temperature data and adjusts the cooling water flow rate and fan speed to optimize stack temperature regulation based on the sensor readings. This dynamic cooling management helps prevent overheating and slowdown due to temperature extremes.
27. Multi-Channel Heat Exchanger System with Mode-Switching Control for Fuel Cell Thermal Management
Beijing Zhongli Energy Technology Co., Ltd., Shanghai Re-Fire Energy Technology Co., Ltd., BEIJING CHONGLI ENERGY TECHNOLOGY CO LTD, 2023
Multi-mode thermal management system for fuel cells that improves efficiency, reduces vehicle energy consumption, and extends fuel cell lifetime. The system uses a multi-channel heat exchanger connected to the fuel cell water, heat pump refrigerant, and passenger cabin water circuits. A control unit switches between three modes: 1) fuel cell and heat pump, 2) fuel cell and passenger cabin, 3) all three circuits. This allows optimized heat management based on fuel cell temperature, avoids overheating, and reduces energy waste compared to conventional systems with separate circuits. If temperature sensors fail, the system maintains normal operation instead of shutting down.
28. Fuel Cell Powertrain Thermal Management System with Coordinated Heating and Waste Heat Recycling
CUMMINS INC., 2023
Optimizing thermal management of fuel cell powertrains to improve cold start performance while reducing system size. The method involves heating the fuel cell stack during cold starts by using a heater and battery power instead of relying solely on radiators. This reduces the need for large radiators and fans in cold climates. The system also coordinates fuel cell and battery heating based on charge level to balance start times. It allows using heat from the operating fuel cell to warm the idle cell through a heat exchanger. This recycles waste heat and reduces overall system size.
29. Integrated Thermal Management System with Common Water Loop and Electronic Thermostats for Fuel Cell Stack and Auxiliary Component Cooling
TONGJI UNIV, TONGJI UNIVERSITY, 2023
Integrated thermal management system for fuel cells that combines cooling of the fuel cell stack with cooling of auxiliary components like air compressors and converters. The system uses a common water loop with separate electronic thermostats and radiators to adjust cooling flow and temperature for the stack and accessories. This allows integrating accessory cooling into the fuel cell loop instead of separate systems, reducing components and improving system integration. The method involves controlling the thermostats and radiators to balance stack and accessory cooling needs.
30. Hydrogen Storage Unit with Integrated Heat Medium Circuit for Temperature Regulation of Metal Hydride Alloy Cylinders
BROTHER KOGYO KABUSHIKI KAISHA, 2023
Hydrogen storage unit and fuel cell system configurations that can heat or cool the hydrogen storage containers containing metal hydride alloys to enable efficient hydrogen release and absorption for the fuel cell. The hydrogen storage unit has a housing with hydrogen cylinders and an internal temperature control member that circulates a heat medium to heat or cool the cylinders. The fuel cell system uses the same heat medium circuit from the fuel cell stack cooling system to regulate the hydrogen storage temperature. This allows low-cost and efficient temperature control without additional heaters or coolers.
31. Fuel Cell System with Control Unit for Plateau Phase Temperature Management
BOSCH GMBH ROBERT, Robert Bosch Limited Liability Company, 2023
Fuel cell system and method for improved freeze starts. The system has a control unit that monitors coolant temperature during startup. It identifies a plateau phase where temperature increase slows. During this phase, the control unit reduces coolant flow through the heat dissipater, increases fuel cell current, and/or reduces cell voltage. This prevents coolant overheating, reduces temperature differences, and prevents icing.
32. Integrated Thermal Management Assembly with Simplified Component Configuration for Fuel Cell Vehicles
Shanghai Gaoshi Automotive Technology Co., Ltd., SHANGHAI CO-MORALS AUTOMOTIVE TECHNOLOGY CO LTD, 2023
Integrated thermal management system for fuel cell vehicles that reduces complexity, improves efficiency, and enables higher reliability compared to conventional systems. The system uses a simplified layout with integrated components like the stack, radiator, water pumps, and valves. The stack, radiator, and water pumps are connected through a network of pipes with valves to enable heat exchange and flow control. This allows waste heat from the stack to be used to preheat the stack, reducing startup time. The integrated layout reduces space requirements, simplifies piping, and enables centralized control of temperatures.
33. Integrated Thermal Management System with Unified Cooling Loop for Fuel Cell Vehicles
JILIN UNIVERSITY, UNIV JILIN, 2023
Cold start thermal management system for fuel cell vehicles that allows reliable cold starts at sub-zero temperatures. The system integrates the cooling circuits of the fuel cell stack, non-stack components, and air conditioning into a single loop with flow regulation and heat exchangers. This allows interconnection and sharing of heat sources to improve efficiency. By collecting temperatures and controlling loop modes, it simplifies components and improves cold start capability.
34. Fuel Cell Power Generation System with Integrated Cooling, Hydrogen Storage, Power Boosting, and Heat Isolation Partition
Hyundai Motor Company, Kia Corporation, 2023
Fuel cell power generation system with a fuel cell, radiator, hydrogen storage, power boosting, distribution units, and partition. The fuel cell is cooled by the radiator. Hydrogen storage supplies the fuel cell. The power boosting unit increases the fuel cell power output. The power distribution unit routes the boosted power. The partition isolates heat from the radiator. This system can be mounted in a vehicle or cargo box and moved to charge an electric vehicle, or used as a stationary power supply with heat isolation.
35. Hydrogen Fuel Cell Cooling System with Auxiliary Bypass Circuit and Gasifier Integration
ZeroAvia, Inc., 2023
Cooling system for hydrogen fuel cells in vehicles like aircraft that uses auxiliary cooling during peak power demands. The fuel cell includes a gasifier to convert liquid hydrogen to gas. The cooling system has a regular coolant circuit sized for normal power levels and an auxiliary bypass circuit that diverts coolant around the gasifier. During peak power, the auxiliary circuit is activated to bypass coolant, using the heat of hydrogen gasification to supplement fuel cell cooling. This prevents overcooling and enables a smaller main coolant system for cruise conditions. A controller manages the cooling systems based on power demand and conditions.
36. Fuel Cell System with Smart-Controlled Thermal Management and Independent Cooling Circuits
HYUNDAI MOBIS CO LTD, 2023
Fuel cell system with improved thermal management for vehicles and equipment like construction machines that can operate effectively in low wind conditions. The system uses smart control to optimize cooling even when external airflow is insufficient. It determines whether to start/stop cooling based on external temperature and stack/component coolant temperature. This allows maintaining target cooling performance without excessive fan usage. The system has separate pumps, radiators, and fans for stack and component cooling. Temperature sensors monitor stack/component coolant.
37. Fuel Cell System with Hydrogen Tank Temperature Modulation Based on Fuel Level
KUBOTA CORPORATION, 2023
A fuel cell system for vehicles like tractors and backhoes that adjusts the temperature inside the hydrogen tank based on the amount of hydrogen remaining. When the hydrogen level gets low, the system increases the tank temperature to release more available gas. This allows quick response to load changes without reducing fuel cell output. It also reduces unused hydrogen left in the tank.
38. Fuel Cell Temperature Control System with Dual Cooling Water Routes and Selective Valve Mechanism
HYUNDAI MOBIS CO LTD, 2023
Fuel cell temperature control system that efficiently manages the temperature of a fuel cell stack and a solid-state hydrogen storage device. The system has a valve to select between two cooling water routes. One route goes through the stack when its temperature is high, and the other route goes through the storage device when the storage temperature is high. This allows the storage's endothermic reaction to cool the water when the stack is hot, preventing stack overheating. It also allows the storage's exothermic reaction to heat the water when the storage is hot, preventing storage overheating. By leveraging the temperature characteristics of the stack and storage, the system can maintain the temperatures within optimal ranges.
39. Fuel Cell Power Plant with Adaptive Thermal Oil Circulation Control System
FUJI ELECTRIC CO LTD, 2023
Fuel cell power plant with an intelligent cooling system to prevent overcooling and reduce energy waste. The cooling system circulates thermal oil to cool the fuel cell. A pump, heater, temperature sensor, and control device are used. The control device adjusts the oil flow rate based on the temperature measured by the sensor to prevent overcooling and excessive heating of the oil. This avoids excessive oil heating by the heater when cold oil enters the system, and prevents excessive oil cooling when hot oil leaves the system.
40. Thermal Management System with Independent Circuits for Fuel Cell, Battery, and Cabin Temperature Regulation in Hybrid Electric Vehicles
CHINA FAW CO LTD, 2022
Thermal management system for fuel cell hybrid electric vehicles that improves efficiency of the fuel cell engine, battery, and air conditioner in cold temperatures. The system has separate circuits for stack cooling/heating, battery cooling/heating, heating, and refrigeration. It uses a BMS to control pumps and valves in these circuits during warm-up, air conditioning warm-up, normal air conditioning, and normal cooling modes. This enables targeted heating/cooling of the fuel cell stack, battery, and cabin air to optimize performance in cold environments.
41. Fuel Cell System with Dual Temperature Sensors for Thermal Runaway Detection and Prevention
TOYOTA MOTOR CORP, 2022
Air-cooled fuel cell system that can detect and prevent thermal runaway. It has two temperature sensors, one near the air inlet and another directly touching the metal fins of the fuel cell. If the temperature difference exceeds a threshold or the rate of temperature rise is excessive, the control unit stops power generation. This allows early detection of abnormalities inside the fuel cell.
42. Fuel Cell System with Freeze-Prevention Cooling Circuit and Temperature-Controlled Heater and Valve Mechanism
ZHONGSHAN BROAD-OCEAN MOTOR CO., LTD., 2022
Fuel cell system that prevents water freezing in the fuel cell stack during shutdown to prevent damage. The fuel cell has a cooling circuit with a water pump, radiator, valve, and heater. Sensors monitor the coolant temperature at the inlet and outlet. During startup, the heater is activated if the coolant inlet temperature is below a threshold. This heats the coolant to prevent freezing. The valve is also closed during startup to prevent coolant drainage. After a preset time, the fuel cell is shut down normally. The heater and valve controls prevent coolant freezing during shutdown by keeping the coolant temperature above freezing.
43. Thermal Management System with Integrated Fuel Cell, Warm Air, and Refrigerant Circuits Featuring Heat Exchange Mechanism
LANTU AUTOMOBILE TECH CO LTD, LANTU AUTOMOBILE TECHNOLOGY CO LTD, 2022
Thermal management system for fuel cell vehicles that efficiently heats and cools the fuel cell stack and passenger compartment. The system uses a fuel cell circuit, warm air circuit, and refrigerant circuit with a heat exchanger. It optimizes heat exchange between these circuits to heat/cool the fuel cell and passenger compartment efficiently. The refrigerant circuit delivers high temp refrigerant to heat fuel cell and passenger compartment. It then exchanges heat with the warm air circuit to further heat the passenger compartment. This allows rapid fuel cell start and passenger compartment heating. When fuel cell needs cooling, low temp refrigerant is circulated through the fuel cell circuit. When fuel cell is cool and passenger compartment needs heating, the fuel cell and passenger compartment exchange heat through the heat exchanger.
44. Fuel Cell System with Backup Heat Source and Staged Temperature Adjustment Mechanism
TOKYO GAS CO LTD, 2022
A fuel cell system with a backup heat source that prevents rapid temperature changes in hot water supplied to users when the main fuel cell unit temperature drops. The system has a hot water storage tank to store heat from the fuel cell. If the tank temperature drops below a threshold, the fuel cell hot water temperature is lowered instead of the normal target. This prevents sudden drops when the backup heat source can't immediately match the tank temperature. The target hot water temperature is stepped down in stages as tank temperature falls further.
45. Vehicle Fuel Cell Power System with Coordinated Water Pump Speed Control to Prevent Coolant Counterflow
HONDA MOTOR CO.,LTD., 2022
A power system for vehicles with fuel cells that prevents coolant counterflow and improves efficiency. The system has a power control method that coordinates the rotation speeds of the water pumps in each fuel cell stack and the main water pump to prevent coolant reversal. This prevents issues like coolant dew condensation and desiccation caused by counterflow. By coordinating pump speeds instead of using non-return valves, it avoids the additional cost and efficiency penalty of valves.
46. Integrated Thermal Management System with Common Cooling and Heating Unit and Separate Thermal Management Units for Fuel Cell, Motor, and Battery
FAW JIEFANG AUTOMOTIVE CO, 2022
Vehicle thermal management system to improve energy utilization and heat dissipation capacity of fuel cell, battery, and motor components in vehicles. The system uses a common cooling and heating unit along with separate thermal management units for the fuel cell, motor, and battery. The cooling and heating unit has a heating module and refrigeration module. The fuel cell thermal management unit has a heat exchanger to exchange heat with the fuel cell, and a circulation heat exchanger with a pump and valves. This allows efficient cooling and heating of the fuel cell, motor, and battery separately while sharing the central cooling/heating unit.
47. Fuel Cell Vehicle Warm-Up System with Braked Rotating Shaft and Heat-Generating Speed Reducer
HONDA MOTOR CO LTD, 2022
A warm-up system for fuel cell vehicles that reduces warm-up time by using the fuel cell itself as a heat source. The system has a motor, a speed reducer, and a braked rotating shaft connected to the fuel cell. When the fuel cell temperature is low, the motor spins the shaft to generate heat in the speed reducer. This heat is transferred to the fuel cell to warm it up faster than just relying on the fuel cell's own heat generation.
48. Thermal Management System with Heat Assistance and Adjustable Loops for Fuel Cell Vehicles at Low Temperatures
CHONGQING CHANG AN NEW ENERGY AUTOMOBILE TECH CO LTD, CHONGQING CHANG AN NEW ENERGY AUTOMOBILE TECHNOLOGY CO LTD, 2022
Low-temperature thermal management system for extended-range fuel cell vehicles that improves cold start capability and power economy at low temperatures. The system uses a thermal management controller, water pump, heating loop, cooling loop, and three-way valve to provide heat assistance for cold starting the fuel cell below 0°C. It also adjusts fuel cell and battery heating based on temperature to compensate for lower power and capacity. This allows reliable low-temp operation without ice forming in the fuel cell stack or blocking oxygen transmission. The system allows extended-range fuel cells to be used in cold climates without issues.
49. Fuel Cell Cooling System with Dual Circuit Configuration and Heat Exchanger Integration
TAIYUAN UNIVERSITY OF TECHNOLOGY, UNIV TAIYUAN TECHNOLOGY, 2022
A cooling system for fuel cells that provides efficient cooling without temperature overshoots and fast response times. The cooling system has two cooling circuits, a small circuit for fast warm-up and a large circuit for full cooling. It uses a heat exchanger to transfer heat between the circuits based on ambient temperature. A controller switches between circuits and manages the flow of cooling water. This integrated cooling system allows optimized cooling for all temperatures without switching cycles.
50. Fuel Cell Thermal Management System with Adjustable Heat Exchange and Selective Heat Recovery Control
Jinhua Hydrogen Technology Co., Ltd., JINHUA HYDROT TECH CO LTD, 2022
Fuel cell thermal management system with adjustable heat exchange and control method to improve fuel cell efficiency and stability by utilizing waste heat from the fuel cell system for other components that require heat. It allows controlled exchange of heat between a heat exchanger and a heat storage system to avoid excessive cooling and power consumption. The system has a fuel cell, thermal management components like a radiator, heat exchanger, water tank, pump, etc., and a control unit. The control unit enables selective heat exchange based on fuel cell temperature, external heat demand, etc. This allows heat recovery from the fuel cell, reducing waste dissipation and power consumption. It also prevents excessive cooling of the fuel cell by controlling radiator flow.
Get Full Report
Access our comprehensive collection of 208 documents related to this technology
