Process Uniformity in Micro-LED Manufacturing
Manufacturing micro-LED displays requires precise control across multiple process steps, with current techniques achieving yields below 99.99% at the individual LED level. When scaled to a 4K display containing over 24 million pixels, even small defect rates become significant manufacturing challenges, particularly for maintaining consistent optical and electrical properties across the array.
The fundamental challenge lies in balancing transfer speed and precision while maintaining uniformity in both the physical placement and performance characteristics of each micro-LED.
This page brings together solutions from recent research—including laser-assisted selective transfer methods, segmented substrate approaches, redundant LED architectures, and specialized bonding pad designs. These and other approaches focus on improving manufacturing consistency while maintaining the high throughput needed for commercial production.
1. Display Module with Substrate Featuring Differential Surface Energy for Micro LED Alignment
Samsung Electronics Co., Ltd., 2024
Display module with improved bonding accuracy for micro LEDs. The module has a substrate with a region around the pixel area having higher surface energy. When bonding micro LEDs to the substrate electrodes, an adhesive layer is temporarily cured to move the excess adhesive from the pixel area to the higher surface energy region. This reduces thickness variation and misalignment of the micro LEDs compared to uniform adhesive. The higher surface energy area helps hold the micro LEDs in place during curing. The thinner adhesive between the electrodes reduces voids and gaps.
2. Selective MicroLED Transfer Method Utilizing Adhesive Layer and Backplane Alignment
SMARTKEM LTD, 2024
Selective transfer of microLEDs to avoid defective pixels in displays. The method involves selectively transferring microLEDs from a growth substrate to a display substrate, rather than growing and transferring the entire array. It involves depositing an adhesive layer on the growth substrate with some microLEDs exposed. A backplane is deposited on the adhesive layer aligned with the exposed microLEDs. The backplane with connected microLEDs is then transferred to the display substrate. This allows avoiding defective microLEDs from the growth substrate and improving display yield.
3. MicroLED Display Device with Integrated Epitaxial LED Layer and Pixel Driving Circuitry on Single Silicon Substrate
CHANGCHUN CEDAR ELECTRONICS TECH CO LTD, CHANGCHUN CEDAR ELECTRONICS TECHNOLOGY CO LTD, 2023
Active full-color MicroLED display device with improved yield and manufacturing efficiency by integrating the MicroLED array and driver circuitry on a single silicon substrate instead of transferring pre-made MicroLEDs. The device has a silicon substrate with an epitaxial layer of LED material on one side. MicroLEDs are formed on the epitaxial layer by etching. A pixel driving circuit is prepared on the other side of the substrate. This avoids the complex and low yield microtransfer method of attaching pre-made MicroLEDs to a display backplane.
4. Integrated LED Chip with Micro LED Epitaxial Wafer Growth and Mesa Etched Bosses
SHENZHEN SITAN TECH CO LTD, SHENZHEN SITAN TECHNOLOGY CO LTD, 2023
Integrated LED chip with improved reliability and yield by growing micro LED epitaxial wafers in each micro LED region surrounded by passivation. This avoids etching to define micro LED areas and reduces damage. The micro LED wafers are mesa etched with bosses. Driving structures are placed next to the mesas to avoid blocking light. Electrodes connect between the mesas and driving. This simplifies chip preparation compared to mass transfer or monolithic bonding.
5. Micro LED Display Formation via Staged Transfer with Enlarged Inter-Wafer Gaps
Corning Incorporated, CORNING INC, 2023
Efficiently forming micro LED displays by transferring micro LED wafers to a large transfer substrate with gaps between wafers. The gaps are larger than the initial micro LED spacing. This allows populating the display backplane in fewer steps compared to traditional methods. The micro LEDs are transferred in stages using the gaps: initial transfer for each color, gap fill rows, gap fill columns, and cross gap fill for each color. This reduces the number of transfer steps from hundreds to less than 20.
6. Micro LED Display Chip with Patterned Substrate for Uniform Epitaxial Growth
Jihua Laboratory, Shenzhen Aoshiwei Technology Co., Ltd., JIHUA LABORATORY, 2023
Micro LED display chip, manufacturing method, and device that avoids brightness non-uniformity and mura issues in micro LED displays. The method involves growing the micro LED epitaxial layer on a patterned substrate with protrusions and recesses. The LEDs are formed in the recesses aligned with the protrusions. This ensures consistent LED quality, brightness, and efficiency since the LEDs grow in the same crystal orientation as the recesses. The LED array made on the patterned substrate is then connected to a backboard to create the micro LED display chip.
7. Sequential Etching Mass Transfer Method for Micro LED Displays with Temporary Substrate Bonding
Guangdong Semiconductor Industry Technology Research Institute, GUANGDONG SEMICONDUCTOR INDUSTRY TECHNOLOGY INSTITUTE, 2023
Mass transfer method for micro LED displays that improves yield and reduces displacement errors during transfer. The method involves partially etching the original substrate with the micro LED array still attached. Then a temporary substrate is bonded to the micro LED side. Final etching completes the transfer by lifting off the original substrate through the temporary substrate. This sequential etching reduces micro LED loss and displacement compared to direct etching.
8. Micro-LED Microdisplay with Discrete n-GaN Mesas and Redistribution Layer for CMOS Integration
DING JIE, HU WUMIN, LIU BIYU, 2023
Micro-LED microdisplay with separate n-GaN mesas to avoid optical crosstalk and cracking issues compared to continuous n-GaN layers. The display has an array of Micro-LED chips bonded to a CMOS driving substrate using a redistribution layer. The Micro-LED chips are made by etching separate n-GaN mesas surrounded by etched p-GaN and InGaN/GaN quantum wells. This allows passivation and electrode wiring after separating the n-GaN without cracks. The redistribution layer connects the Micro-LED chips to the CMOS substrate instead of bonding the continuous n-GaN.
9. Micro LED Chip Transfer System Using Wafer-Level Preprocessing with Square Tube Pixel Array
SHENZHEN AOTO ELECTRONICS CO LTD, 2023
Efficient and accurate transfer of micro LED chips onto a driving substrate for displays using a wafer-level preprocessing and packaging technique. The method involves extracting micro LED crystals from a wafer, placing them into square tubes, arranging the tubes in a pixelated array, cutting the array into sheets, and attaching the sheets to a driving substrate. This allows large numbers of tiny LEDs to be precisely transferred and assembled into displays using a wafer-level packaging process instead of pick-and-place.
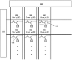
10. Micro LED Display Module with Substrate Recesses and Quantum Dot Integration
HUBEI XINYING PHOTOELECTRIC CO LTD, 2023
Micro LED display module with improved transfer precision, reduced defects, higher throughput, and better contrast. The module has a substrate with positioned recesses to match the micro LED chips. This avoids offset during transfer and improves yield. The recesses also prevent crosstalk between pixels. The module uses quantum dot materials for full color micro LEDs with better purity. It has a transparent black matrix to improve contrast. The micro LEDs are matched to the recesses with beveled edges to improve brightness. The display uses only blue micro LEDs for consistent brightness. The black matrix is applied first then transparent encapsulation avoids brightness loss.
11. MicroLED Display Panel with Direct Bonding to Driving Substrate via Prefabricated Packaging Substrate
CHENGDU CHENXIAN PHOTOELECTRIC CO LTD, 2023
Display panel with simplified manufacturing process for microLED displays that eliminates the need for a conductive buffer layer between the microLED chips and the driving substrate. The microLEDs are transferred to a prefabricated packaging substrate instead of directly onto the driving substrate. This allows bonding the microLED-filled packaging substrate to the driving substrate without needing a separate conductive buffer layer. The packaging substrate can have features like pits filled with adhesive to hold the microLEDs.
12. Monolithic Micro LED Pixel Design with Sacrificial Substrate Transfer and Planarization for Dense Array Formation
Plessey Semiconductors Limited, PLESSEY SEMICONDUCTORS LTD, 2023
A monolithic micro LED pixel design that enables efficient manufacturing of high resolution micro LED displays. The design involves forming multiple micro LED subpixels on a sacrificial substrate, then transferring the entire array onto a handling substrate. This allows further processing of the sacrificial substrate side while protecting the LED surface. A planarizing dielectric layer is added to align the LED surface. The sacrificial substrate is removed, leaving etched sidewalls surrounding the LEDs. This allows dense packing of micro LEDs without cross-talk. The handling substrate can then be removed for final display assembly. The monolithic pixel design enables high yield manufacturing of large micro LED arrays.
13. Micro LED Transfer Method Utilizing Grooved Substrate with Exposed Pixel Electrodes and Solder Encapsulation
LUOHUAXIN DISPLAY TECH DEVELOPMENT JIANGSU CO LTD, LUOHUAXIN DISPLAY TECHNOLOGY DEVELOPMENT CO LTD, 2023
Micro LED transfer method to improve yield and stability of mass transferring large numbers of micro LED chips onto a display substrate. The method involves using a specialized transfer substrate with exposed pixel electrodes and grooves. The micro LEDs are transferred onto the substrate with melting solder that surrounds the electrode contact points. This prevents solder overflow and ensures stable electrical connections. The exposed electrodes and grooves also provide alignment features for precise transfer.
14. MicroLED Display Device with Sequentially Bonded Monochrome MicroLED Arrays and Epitaxial Layer with Avoidance Holes
LEIYU OPTOELECTRONICS TECH SUZHOU CO LTD, LEIYU OPTOELECTRONICS TECHNOLOGY CO LTD, 2023
MicroLED display device with improved yield and simplified fabrication compared to conventional microLED displays. The device uses separate monochrome microLEDs for each color instead of integrating color conversion layers. The display is prepared by sequentially bonding and etching layers. A driving substrate, bonding layer, and monochrome microLED array are provided. A separate microLED epitaxial layer with avoidance holes is bonded over the monochrome LEDs. Etching exposes the monochrome LEDs and forms the separate color microLEDs. This reduces fabrication complexity compared to integrating color conversion layers on monochrome LEDs.
15. Method for Thickness Modification of LEDs to Prevent Interference During Transfer from Growth Substrates to Backplanes
Nanosys, Inc., NANOSYS INC, 2023
Reducing interference during transfer of closely packed LEDs from growth substrates to backplanes in display manufacturing. The method involves modifying the thicknesses of LEDs in different colors to prevent collisions during transfer. The LEDs are initially grown at high density on a wafer with one LED per pixel area. Then, some LEDs are isolated and transferred to the backplane while others remain on the wafer. Additional metal is added to the remaining LEDs to increase their thickness. This allows them to be transferred without interference since the thicker LEDs now have larger gaps between them. This enables using high density growth substrates for LED fabrication, reducing cost, while still enabling reliable transfer to backplanes without collisions.
16. Segmented Micro LED Transfer Method with Simultaneous Substrate Allocation
POINT ENGINEERING CO., LTD., 2023
Manufacturing method for micro LED displays that reduces time for transferring the micro LEDs from the growth substrate to the final display substrate while preventing non-uniformity of luminous properties. The method involves segmenting the micro LED regions on the growth substrate and simultaneously transferring the segmented regions to separate display substrates. This allows efficient transfer of all the micro LEDs without waiting for simultaneous transfers from the growth substrate. The segmented arrangements on the display substrates also prevent luminance and color uniformity issues.
17. Method for Mass Transfer of MicroLEDs via Substrate Flipping and Heat-Assisted Bonding
BOR JEN WU, BOR-JEN WU, CHIA BIN TSEN, 2022
A method to mass transfer microLEDs from their growth substrate to a display substrate with circuitry and pads for attaching the microLEDs. The method involves flipping the microLED-containing substrate, bonding the microLEDs to the display substrate using heat, then separating the flipped substrate. This allows transferring many microLEDs at once without individually picking them up. The display substrate has driving circuitry and pads for attaching the microLEDs. The separated microLED substrate is reflowed to fix the microLEDs in place. This avoids the mass transfer problem of picking up and placing many tiny microLEDs.
18. Method for Manufacturing MicroLED Displays with Metal Column Stabilization and Nanowire Grid Layer Integration
Luo Huaxin Display Technology Development Co., Ltd., LUOHUAXIN DISPLAY TECHNOLOGY DEVELOPMENT CO LTD, Luo Huaxin Display Technology Development (Jiangsu) Co., Ltd., 2022
A manufacturing method for high-efficiency microLED displays that improves transfer accuracy and bonding stability during the transfer process. The method involves transferring multiple microLED devices from epitaxial substrates onto a temporary transfer substrate. Before transfer, metal columns are formed between adjacent microLEDs on the temporary substrate. This prevents deformation of the light-emitting layers during transfer. After transfer, the microLEDs are bonded to the display substrate and covered with a pixel-defining material. The metal columns provide stability and prevent warpage during bonding. The nanowire grid layer between the material and microLEDs further improves bonding stability.
19. Active MicroLED Display with Integrated Epitaxial Layer and Drive Electronics
HISENSE VISUAL TECH CO LTD, HISENSE VISUALTECHNOLOGY CO LTD, 2022
Active microLED display with improved yield and efficiency by integrating the microLED and drive electronics. The method involves forming a microLED epitaxial layer on a substrate, adding electrodes on one side far from the epitaxial layer, creating driving circuitry on the electrode side, stripping the substrate, etching the epitaxial layer based on electrode positions, and adding final electrodes on the microLED units. This directly forms active microLED display units without separate microLED and drive substrates.
20. Direct Bonding Method for Multicolor Micro LED Displays Using Sequential Epitaxial Layer Integration on Circuit Chips
NO 55 INSTITUTE OF CHINA ELECTRONICS SCIENCE & TECH GROUP, NO.55 INSTITUTE OF CHINA ELECTRONICS SCIENCE & TECHNOLOGY GROUP, 2022
Efficient manufacturing method for multicolor micro LED displays that avoids the challenges of transferring and interconnecting large numbers of micro LEDs. The method involves bonding the micro LED epitaxial layers directly onto the driving circuit chips during fabrication. This is done by sequentially bonding and removing the LED epitaxial wafers from the driving chip wafer to form a multilayer structure with the LED layers bonded to the circuit chips. This enables efficient fabrication of multicolor micro LED displays by eliminating the need for separate LED and driver wafers and subsequent transfer steps.
Because of their complex production process, micro-LED components were previously difficult to produce consistently. This barrier has been removed by advances in transfer printing and laser-assisted processes. As a result of these trustworthy and efficient techniques, the manufacturing of micro-LED displays has expanded significantly.
Get Full Report
Access our comprehensive collection of 78 documents related to this technology


