Increase Durability of Micro-LEDs
Micro-LED displays face significant durability challenges at multiple scales. Individual micro-LEDs, typically 3-10 micrometers in size, must maintain stable electrical and optical properties while withstanding thermal cycling, mechanical stress during manufacturing, and operational current densities exceeding 1000 A/cm². At the panel level, arrays of millions of these devices must achieve consistent performance over thousands of hours without degradation or failure.
The fundamental challenge lies in balancing the competing demands of electrical efficiency, thermal management, and mechanical robustness while maintaining the precise optical properties required for display applications.
This page brings together solutions from recent research—including redundant LED architectures, current-guiding structures to prevent sidewall degradation, thermal isolation through micro-cap designs, and protective encapsulation techniques. These and other approaches focus on achieving the reliability needed for commercial micro-LED displays while preserving their exceptional brightness and efficiency advantages.
1. Carbon Fiber Production from Solid Asphaltenes via Direct Melt Spinning Method
THREAD INNOVATIONS INC, 2025
Making carbon fibers from solid asphaltenes, a component found in crude oil and bitumen, by melt spinning the asphaltenes directly into fibers instead of dissolving them in solvents. The solid asphaltene precursor is heated and melted in a sealed vessel, then extruded through a spinneret to form green fibers. The fibers are stabilized, carbonized, and graphitized in stages to improve mechanical properties. This allows making carbon fibers from solid asphaltene sources without dissolving them first.
2. Conductive Stator Enclosure for Mitigating Electrical Discharge in Dynamo-Electric Machines
FLENDER GMBH, 2025
Reducing electrical discharge machining (EDM) damage in dynamo-electric machines like motors and generators by using conductive cans around the stator to dissipate capacitive voltages. The cans are made with conductive materials like fiber-reinforced composites or coated with conductive layers. This allows them to be part of the machine's grounding system, reducing voltage spikes on bearings and other components connected to the shaft. The cans still encapsulate the stator, but their conductivity prevents capacitive voltages from building up between stator and rotor. This reduces EDM wear in bearings and gearboxes compared to using insulating cans.
3. Distributed Cryptographic System with Autonomous Interlinked Blockchains for Data Archiving
ANTONIO STUCCHI, 2025
Distributed cryptographic system for secure and scalable data archiving using a network of autonomous blockchains. The system enables data immutability, verifiability, and scalability improvements over traditional blockchains for enterprise applications. Each participant has its own independent blockchain to manage its data. Blocks are linked inter-chain using cryptographic hashes. If a participant wants to modify data, they must rewrite their entire chain. This prevents tampering since all linked chains would need agreement. The system also enables cancellation and deletion of data through special blocks.
4. Distributed Data Detection Method with Remote Operation Selection for Resource-Constrained End-Unit Devices
EVERYSIGHT LTD, 2025
Distributed data detection method for low latency, low weight, low power devices like smart glasses that need local processing of data but lack the resources for it. The method involves an end-unit device obtaining datasets and streaming some to a remote computing device. The end-unit determines local information and sends it. The remote device selects an operation based on the local info and dataset parts. The end-unit detects using the selected op. This allows leveraging remote resources for optimized detection without requiring heavy local hardware. The remote device can also select ops for both devices using the same dataset parts.
5. Depth Sensor System with Adaptive Emission and Frame Rate Control Based on Motion and Environmental Analysis
SAMSUNG ELECTRONICS CO LTD, 2025
Reducing power consumption of depth sensors in AR headsets to enable longer battery life by intelligently adjusting the emission pattern and frame rate based on user motion and environment. The AR device senses user motion and identifies activity. It then determines the optimal emission pattern and frame rate for the depth sensor based on that activity. This allows reducing power by lowering intensity, shortening range, or decreasing frame rate when less precision is needed. It also adjusts patterns to maximize range when needed. By dynamically optimizing depth sensor settings for the task, it reduces power consumption compared to fixed settings.
6. Flexible Display Substrate with Parallel Protective Link Lines for Signal Integrity
LG DISPLAY CO LTD, 2025
Display devices with signal lines that can maintain proper operation even when the substrate bends and cracks occur in the signal lines. The solution involves adding parallel protective link lines running through the bending area. These protective link lines have the same metal as the touch sensor layer and extend parallel to the main signal lines. This prevents cracks in the main signal lines from disrupting signal transfer as the protective link lines can still carry the signal.
7. Farming Vehicle Guidance Line Management System with Mode-Switching Based on Internal Status
KUBOTA CORP, 2025
A system to prevent a farming vehicle from following an incorrect replacement guidance line when receiving updates from a server. The system has a switch between two modes to handle guidance line updates. In the first mode, the vehicle replaces the original guidance line with the new one received from the server. In the second mode, the vehicle keeps the original line. The switch is controlled based on the vehicle's internal status. This prevents issues like following an incorrect replacement line if the timing of the update is off. The system acquires vehicle status and switches between modes to avoid following wrong guidance lines when receiving updates from an external server.
8. Method for Manufacturing Display Devices Using Direct Bonding of Light Emitting Elements with Protrusions
SAMSUNG DISPLAY CO LTD, 2025
A method to manufacture display devices with improved reliability by avoiding the need for transfer steps. The method involves bonding the display substrate metal layer with protrusions on the light emitting element during growth, then transferring the element to the display substrate by aligning and moving. This eliminates separate transfer steps and associated reliability issues.
9. MicroLED Display Fabrication Method Utilizing Pressure Jig for Substrate Flattening During Transfer
JAPAN DISPLAY INC, 2025
A method to improve yield and reliability of microLED display fabrication by preventing warpage during transfer of the microLEDs from the growth substrate to the final display substrate. The method involves using a pressure jig to flatten the sapphire growth substrate before laser transfer of the microLEDs. This prevents warpage issues during laser lifting and transfer that could misalign the microLEDs. The pressure jig applies localized pressure to flatten the substrate against the spacer and circuit board, avoiding excessive crushing of components.
10. Display Device with Grooved Insulating Film for Secure Mounting Electrode Integration in MicroLED Arrays
JAPAN DISPLAY INC, 2025
Display device with improved reliability and reduced electrode peeling of microLED displays. The display has a substrate with pixels containing light-emitting elements and transistors. The transistor and light-emitting element are insulated by a film. The mounting electrode for the light-emitting element is on the insulating film. The film has a groove along the mounting electrode's edge. The anode electrode connects to the transistor and makes contact with the mounting electrode in the groove bottom. This configuration prevents peeling of the mounting electrode by securely anchoring it in the groove.
11. LED Display with Heat Sink and Inert Gas-Filled Airflow Channels for Micro LED Devices
Chongqing Konka Optoelectronics Technology Co., Ltd., CHONGQING KONKA OPTOELECTRONICS TECHNOLOGY CO LTD, 2024
LED display and electronic equipment with improved heat dissipation for micro LED devices. The heat dissipation is achieved by surrounding the LED chips with a heat sink and introducing an inert gas into the airflow channels. The heat sink absorbs and conducts heat away from the LED chips. The inert gas fill in the airflow channels acts as an insulator to prevent heat transfer between adjacent LED chips. This prevents accumulation of heat on the display backplane and improves display performance and chip lifetime.
12. Micro LED Display Module with Heat Dissipation Holes and Light Absorbing Sheet
Lumens Co., Ltd., 2023
Micro LED display module with improved heat dissipation and reduced light reflection. The module has an external light absorbing sheet over the micro LED chips. The sheet has arrays of heat dissipation holes connecting the centers of four holes. This allows heat generated by the LEDs to dissipate to the outside. It also exposes areas of the adhesive layer beneath the holes for heat transfer. This prevents trapped heat and delamination issues. The holes also reduce internal reflections by allowing light to escape.
13. MicroLED Display with Circuit Board Mounted on Heat Sink and Thermal Adhesive-Filled Interface
QINGDAO GOERTEK INTELLIGENT SENSOR CO LTD, 2023
MicroLED display with improved heat dissipation by mounting the circuit board on the heat sink and filling the hollow area between them with thermal adhesive. This directly attaches the microLED chip to the heat sink with the adhesive surrounding it for better heat transfer.
14. LED Display Device with Thermally Conductive Connectors for Direct Heat Sink Integration
ZHEJIANG UNIVIEW TECH CO LTD, ZHEJIANG UNIVIEW TECHNOLOGY CO LTD, 2023
LED display device with improved heat dissipation to extend display life. The device uses thermally conductive connectors between the PCB and a separate heat sink enclosure. This allows direct contact and heat transfer between the PCB and enclosure, preventing heat buildup on the PCB and LEDs. The connectors quickly dissipate the LED heat to the enclosure. This avoids heat accumulation that ages the display.
15. LED Array Display Substrate with Sealed LED Assembly and Integrated Cooling Pipe System
WUHAN QITIAN XINRUI TECH CO LTD, WUHAN QITIAN XINRUI TECHNOLOGY CO LTD, 2023
LED array display substrate with improved heat dissipation and safety compared to conventional LED displays. The substrate has a sealed LED assembly with cooling, protection, and an anti-seepage mechanism. A cooling pipe with pump extracts heat from the LEDs through a sealed gap between silicone sleeves and plates. This prevents coolant leakage into the display. The silicone protection isolates the LEDs from external seepage. The sealed LED assembly with internal cooling improves heat dissipation efficiency and longevity by absorbing heat from the LEDs.
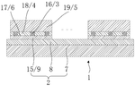
16. Micro-LED Display Panel with Series and Parallel-Connected Redundant Sub-Pixel Architecture
PlayNitride Inc., 2023
Micro-LED display panel with redundancy to improve yield and reliability. The display has micro-LEDs arranged in sub-pixels on a driving substrate, with some sub-pixels containing two series-connected micro-LEDs of the same color. In normal sub-pixels, both LEDs emit light, but if one LED fails, only the working LED emits light. Redundancy positions allow extra LEDs to parallel connect if both originals fail. This compensates for failed LEDs and maintains full sub-pixel brightness. The redundancy prevents single LED failures from affecting display quality.
17. Micro LED Display Device with Multi-Boss Mesa Structure for Enhanced Stability and Electrical Performance
SHENZHEN SITAN TECH CO LTD, SHENZHEN SITAN TECHNOLOGY CO LTD, 2023
Micro LED display device with improved stability and electrical performance by optimizing the mesa structure of the micro LED chips. The micro LED device has a mesa structure with multiple bosses, each boss having multiple light-emitting units. This controls the number of bosses and units to avoid excessive side area leading to instability, and excessive boss area causing high leakage current. It improves micro LED device stability and electrical performance compared to having a single boss per unit or large boss areas.
18. Micro-LED with Central Current Guiding Structure and Sidewall Flow Diversion
SAMSUNG ELECTRONICS CO., LTD., 2023
Micro-LED design with a current guiding structure to improve efficiency and lifespan. The micro-LED has a current guiding element in the center of the LED stack that directs the current flow away from the sidewalls. This prevents current from flowing through the defect-prone sidewall region, which can reduce efficiency. The current guiding part forces the current to spread out through the center of the LED before reaching the sidewalls. This avoids non-radiative recombination and damage that can occur on the sidewalls.
19. MicroLED Display Device with Bonding Support Layers Featuring Varying Optical Densities
PlayNitride Display Co., Ltd., 2023
MicroLED display device with bonding support layers between the electrode pads to prevent shorts, misalignment, and cracking during bonding and curing. The bonding support layers are placed between the substrate pads and the microLED electrodes. They prevent pad contact causing shorts, provide support to prevent microLED cracking, and serve as alignment references during transfer. The layers have varying optical densities between upper and lower portions, with lower density lower portions. This prevents light leakage.
20. Display Module with Dual-Layer Heat Sink Structure for Enhanced Thermal Management
SHANGHAI TIANMA MICROELECTRONICS CO LTD, 2022
Display module with improved heat dissipation to prevent damage from excessive heat during operation. The module has a heat sink in the array layer next to the LEDs. This sink absorbs the LED heat and spreads it away from the LEDs to prevent localized hotspots. Additionally, a separate heat sink on the other side of the module dissipates the absorbed heat further. The heat sinks have larger areas on the sides away from the LEDs to maximize heat transfer. This allows the module to operate at higher brightness without failure due to heat buildup.
21. Display Substrate with Backside Micro LED Attachment for Enhanced Heat Dissipation
HERMAN SEMICONDUCTOR TECH SHENZHEN CO LTD, HERMAN SEMICONDUCTOR TECHNOLOGY CO LTD, 2022
Display substrate, display module, and display device design to improve heat dissipation in high-density micro LED displays. The display substrate has a base substrate with micro LED chips attached to the backside. This allows direct heat transfer from the LEDs to the substrate, preventing heat accumulation between closely packed LEDs. The LEDs emit light through the substrate. A display panel can be added on the light-emitting side of the substrate. This substrate design reduces micro LED heat buildup, improves LED reliability, and enables high-density micro LED displays with better heat dissipation.
22. Micro-LED Packaging with Sealed Encapsulation for Enhanced Connection Stability and Thermal Management
QINGDAO GOERTEK INTELLIGENT SENSOR CO LTD, 2022
Micro-LED packaging structure to improve heat dissipation and reliability. The packaging has a sealed encapsulation around the wire connections between the micro-LED chip, lead frame, and contact electrode to prevent disconnections. This prevents damage to the connections during shock and vibration that can cause micro-LED failure. The encapsulation also prevents thermal stresses from concentrating in the small micro-LED chip, which reduces temperature rise and improves efficiency and reliability.
23. Micro-Cap Insulated Micro-LED Display with Gas or Vacuum Sealed Chambers
Acer Incorporated, 2022
Micro-LED display that can sustain high brightness without overheating, which can lead to color degradation and reduced lifetime. The display uses micro-caps to thermally insulate the tiny LEDs from the substrate. The micro-caps create chambers around each LED that are sealed and can be filled with gas or vacuum. This prevents heat buildup and protects the color conversion layers. The display also has color material layers on the micro-caps to enhance color performance.
24. Display Backplane with Thermally Conductive Connections for MicroLED Heat Dissipation
CHONGQING KANGJIA OPTOELECTRONIC TECH RESEARCH INSTITUTE CO LTD, CHONGQING KANGJIA OPTOELECTRONIC TECHNOLOGY RESEARCH INSTITUTE CO LTD, 2022
A display backplane and display device with improved heat dissipation for high resolution, high brightness microLED displays. The display backplane has thermally conductive connections between the LED chips and the backplane substrate. This provides direct heat conduction path from the chips to the backplane to dissipate the heat. The connections replace the encapsulation layer on the chip side, which can trap heat. The improved heat dissipation prevents thermal accumulation on the backplane and maintains LED performance and lifespan.
25. MicroLED Package with Direct Chip-to-Heatsink Thermal Conduction Configuration
QINGDAO GOERTEK INTELLIGENT SENSOR CO LTD, 2022
MicroLED package design with improved heat dissipation for better reliability. The package has a heat sink, chip, glass panel, and circuit board. The chip is attached to both the heat sink and glass panel, and the circuit board is mounted on the heat sink. This allows direct chip-to-heatsink thermal conduction to dissipate chip heat.
26. MicroLED Display Package with High Thermal Conductivity Spacer Structures and Molding Compound
Facebook Technologies, LLC, 2022
Display package design for microLED displays that improves thermal management and planarity. The package has a molding compound, LED dies, backplane die, and spacer structures. The spacer structures have higher thermal conductivity than the molding compound. This provides mechanical support and alignment for the LED dies while allowing thermal isolation between them. The higher thermal spacers prevent thermal coupling between closely packed microLED dies. The molding compound with lower thermal conductivity surrounds the LED dies and backplane.
27. Chip-Level Packaged LED Light Source with Thermal Isolation Groove and L-Shaped Conductive Sheet
GUANGXI XINYI PHOTOELECTRIC TECH CO LTD, GUANGXI XINYI PHOTOELECTRIC TECHNOLOGY CO LTD, 2022
Chip-level packaged digital LED light source with improved heat dissipation for prolonged LED chip life. The LED light source has a main body with a thermal isolation groove on the top surface. The bottom wall of the groove has a seat that protrudes out. A base is attached to the seat's upper side. The LED chip is placed on the bottom wall of the reflection cavity in the base. The seat is located at the bottom wall of the base. An L-shaped thermally conductive sheet is fixed to the outer surface of the thermal isolation groove. The vertical plate of the sheet extends out of the main body and contacts the outer surface of the base. The horizontal plate of the sheet penetrates out of the main body. This configuration allows effective heat dissipation from the LED chip through the thermally conductive sheet, reducing attenuation and improving current handling capability to prolong LED chip life.
28. Micro-LED Display with Microstructured Surface and Encapsulation Film Anchoring Method
Interface Technology (ChengDu) Co., Ltd., Interface Optoelectronics (ShenZhen) Co., Ltd., General Interface Solution Limited, 2022
Micro-LED display and package method to encapsulate micro-LED chips with an optimized film. The micro-LED chips have small microstructures on their surfaces. A softened encapsulation film is pressed onto the substrate and chips until the microstructures penetrate it. When the film hardens, it tightly encapsulates the chips and substrate without coating. The penetrating microstructures anchor the film, preventing the chips from falling off. This provides chip protection without coating or modules. The microstructures also improve light extraction.
29. Micro-LED Display with Graphene Thermoelectric Conversion Layer for Heat Management
SHENZHEN AOTO ELECTRONICS CO, SHENZHEN AOTO ELECTRONICS CO LTD, 2022
Micro-LED display panel, display module, and LED display screen with improved heat dissipation and power efficiency. The display has a micro-LED panel with individual lamp bodies containing the LED chips. A graphene thermoelectric conversion layer is placed below the wiring layer. The conversion layer absorbs waste heat from the wiring and circuitry to dissipate it. This prevents accumulation of heat on the panel and substrate. The graphene layer is electrically connected to the display power supply.
30. Micro-LED Display Incorporating Antistatic Ground Structure with Peripheral Ground Circuit Board and TVS Diodes
Samsung Electronics Co., Ltd., 2022
Micro-LED display with an antistatic ground structure to protect the internal circuitry from static damage. The display has an additional ground circuit board that grounds static electricity from the display circuits, like the multiplexer and driver IC. The board is connected to the side circuitry and positioned around the main circuitry. It contains antistatic protection elements like TVS diodes to absorb static charges and prevent them from damaging sensitive circuits. This allows the display to be assembled and handled without risking static damage.
31. Display Assembly with Opposite-Side Power and Ground Connections for Enhanced Heat Distribution and Signal Separation
JIANGXI YANGDAO MICROELECTRONICS CO LTD, 2022
Display assembly with improved uniformity, longevity, and interference reduction compared to conventional displays. The assembly has the power and ground connections on opposite sides of the substrate, instead of both on one side. This distributes heat more evenly across the display since it is generated on both sides. It also separates the power and ground signals to reduce interference. The LED lamps connect in series between the power and ground terminals on the opposite sides of the substrate. This allows parallel groups of LED lamps to be connected. If one group fails, the other groups still light since they're connected in parallel.
32. Micro LED Display Panel with Thermally Conductive Nanomaterial Layer and Raised Sections for Enhanced Heat Dissipation
GUANGDONG ZHONGQIANG ELITE ELECTRONIC TECH CO LTD, GUANGDONG ZHONGQIANG ELITE ELECTRONIC TECHNOLOGY CO LTD, 2022
Micro LED display panel design to improve heat dissipation and lifetime of the micro LEDs. The panel has a thermal conduction layer on the circuit side with raised sections filling the gaps between micro LEDs. This layer conducts heat from the LEDs. On the other side is either a substrate or a graphite thermal sheet. A frame surrounds the panel and makes contact with the air to further dissipate heat. The materials used are thermally conductive nanomaterials like carbon nanotubes or silver nanowires. This setup allows the micro LEDs to dissipate heat more effectively, preventing accumulation and degradation.
33. Micro-LED Display Device with Double-Layer Wiring Substrate and Separate Pixel Transistor Configuration
UNIV XIAMEN, XIAMEN UNIVERSITY, 2021
Micro-LED display device with high brightness and reliability using a unique layout to address the limitations of conventional Micro-LED displays. The display has a double-layer wiring bearing substrate with the Micro-LED chips and transistors arranged on it. Above the substrate is a TFT backplane with TFT units matching the pixel size. The substrate has conductive holes for each pixel that connect the TFT backplane to the transistors below. This allows separate gating and power supply transistors for each pixel, avoiding issues like heat dissipation, photoproduction, and TFT consistency. The double-layer wiring and separated transistors enable high brightness, reliability, and compactness compared to conventional Micro-LED displays with integrated backplanes.
34. LED Packaging Structure with Dual Heat Sink and Graphene Rod for Enhanced Thermal Management
SEEFY OPTOELECTRONIC CO LTD, 2021
High-brightness full-color display LED packaging structure that improves heat dissipation for better performance and longer life. The LED chip is mounted on a circuit board with a bonding sheet. A cover encloses the chip. Below the board is a main heat sink with an air guide plate and graphene rod. Above the board is a secondary heat sink with fins. This dual heat dissipation setup draws air through the main sink and exhausts through the secondary sink to efficiently cool the chip.
35. Flexible Package Structure with Embedded Mini LEDs, Barrier Layers, Water Absorbers, and Heat Dissipation Columns
MANTIX DISPLAY TECH CO LTD, MANTIX DISPLAY TECHNOLOGY CO LTD, 2021
Flexible package structure for mini LEDs that allows high resolution, high contrast, and flexible displays while improving reliability and lifespan of the display. The structure involves embedding the mini LEDs between barrier layers and filling gaps with water absorbing particles. This prevents water and oxygen ingress into the display. The LED chips and electrode pins penetrate the barriers. Heat dissipation columns connect the electrode pins to the backside barrier layers. This allows uniform temperature distribution inside the display. The barrier layers, water absorbers, and heat columns prevent temperature concentration and failure. The water absorbers prevent water ingress. The barriers prevent oxygen ingress. The heat columns dissipate heat away from the LED chips.
36. LED Package Device with Ceramic Substrate and Isolated Heat Dissipation Cavities
RUIWEI HUANQIU TECH SHENZHEN CO LTD, RUIWEI HUANQIU TECHNOLOGY CO LTD, 2021
High-stability LED package device with improved thermal management and reliability. The device uses a ceramic substrate, power supply assembly, and heat dissipation components to provide stable operation of the LED chips. The ceramic substrate has alternating positive and negative conductive plates connected to main lines. The LED chips are mounted on separate soldering stations far from the substrate. A heat pipe, heat spreader, and heat sink dissipate chip heat to the surrounding environment. The ceramic substrate, heat pipe, and heat sink form separate heat dissipation cavities to isolate components and prevent shorts.
37. LED Package with Integrated Circulating Heat Dissipation System and Moveable Ventilated Top Layer
SHENZHEN ALIRORA LIMITED CO, SHENZHEN ALIRORA LTD CO, 2021
LED packaged light source with an internal cooling system to improve heat dissipation and extend lifetime. The LED package has a moveable top layer that seals over the mounting layer. Inside the mounting layer is a circulating heat dissipation mechanism to absorb and dissipate heat. The bottom of the top layer has ventilation features that cooperate with the internal mechanism. A heat dissipation pipe inside the mounting layer connects to the internal mechanism. Liquid coolant is provided in the pipe to extract heat from the LEDs and mounting layer. This internal cooling system efficiently dissipates heat from the LEDs and package components to improve reliability and prevent performance degradation.
38. Mini/Micro LED Display Panel with Stacked Heat Dissipation Structure Incorporating Protruding Pins and Dual Heat Spreaders
INST FLEXIBLE ELECTRONICS TECH THU ZHEJIANG, INSTITUTE OF FLEXIBLE ELECTRONICS TECHNOLOGY OF THU ZHEJIANG, 2021
Mini/Micro LED display panel with improved thermal management for higher reliability and efficiency. The display uses a stacked heat dissipation structure to effectively remove heat from the LEDs. LED chips are mounted on a circuit board with protruding pins. A first heat spreader covers the pins between the LEDs. A transparent second heat spreader covers the first spreader and LEDs. The second spreader has higher thermal conductivity to guide heat downward. This multi-layer structure increases heat dissipation area and efficiency compared to just using the first spreader.
39. LED Display Device with Pre-Heating Mechanism via Temperature Rise Calculation
NEC DISPLAY SOLUTIONS LTD, NES DISPLAY SOLUTIONS LTD, 2020
LED display device that prevents damage to the LED elements due to temperature changes when the display is turned on at high brightness without requiring a warm-up break-in procedure. The device calculates the brightness of each LED based on the video input, calculates the temperature rise for that brightness, and then controls a heater inside the display to generate the calculated temperature rise. This pre-heats the LEDs before they are turned on at high brightness, preventing moisture expansion and vaporization that can damage the LEDs.
40. Micro LED Display Module with Heat Dissipation Holes in Light Absorbing Sheet
LUMENS CO LTD, 2020
Micro LED display module with improved heat dissipation and reduced light leakage compared to conventional designs. The module has an external light absorbing sheet with heat dissipation holes covering the adhesive layer. The holes allow heat generated by the micro LEDs to radiate to the outside. They are positioned between adjacent pixels to avoid blocking light. This prevents thermal damage to the LEDs and prevents the absorbing sheet from falling off. The sheet also absorbs external light. Without the gaps between black films in conventional assemblies, it reduces light leakage between modules.
41. LED Display Dot Matrix Module with Direct Soldered LED Chips on Copper Foil and Via Hole Connectivity
Vtron Group Co., Ltd., VTRON TECHNOLOGIES LTD, 2020
LED display dot matrix module with improved heat dissipation and reliability compared to traditional modules. The module has an innovative layout that avoids the need for metal pads on the PCB for LED chip connections. Instead, the LED chips are directly soldered to copper foil on the PCB. This allows better heat dissipation as the heat generated by the LED chips passes through the copper foil. The copper foil also acts as a heat spreader. The LED chips are held in place by metal glue. The PCB has via holes for lead wires to connect the chip pins to the driving circuit. This eliminates the need for metal pads, reduces module size, and prevents electrochemical failures due to heat-induced oxidation/corrosion.
42. Micro Display Device with Solder Bump Array for Simultaneous Bonding of Micro LED Grid
SHENZHEN AOSHIWEI TECH CO LTD, SHENZHEN AOSHIWEI TECHNOLOGY CO LTD, 2020
A micro display device for use in projection systems that reduces the risk of pixel failure in bonding of micro LED displays. The micro display device has a substrate with a grid of micro LEDs. Each micro LED has a bonding pad. Instead of individually bonding each micro LED, the device has an array of solder bumps on the substrate. The solder bumps are larger than the micro LED pads and surround them. This allows multiple micro LEDs to be soldered to the substrate at once, reducing the likelihood of single point failures during bonding.
43. MicroLED Display Panel with Thermally Conductive Layer Featuring Hollow Sections for LED Chip Attachment
SHENZHEN CHINA STAR OPTOELECTRONICS SEMICONDUCTOR DISPLAY TECH CO LTD, SHENZHEN CHINA STAR OPTOELECTRONICS SEMICONDUCTOR DISPLAY TECHNOLOGY CO LTD, 2020
MicroLED display panel with improved thermal management to reduce aging and improve lifetime. The display has a thermally conductive layer between the LED chips and the substrate. This layer has hollow sections that are filled with a binding material to attach the LED chips. One side of the thermally conductive layer directly contacts the substrate and the other side contacts the LED chips. This allows the heat generated by the LEDs to be quickly conducted away from them and into the substrate, reducing their operating temperature and preventing accelerated aging.
44. Multilayer Co-Fired Ceramic Substrate with Embedded LED Chip Pits for Thermal Conduction
KAIXIAN SHENGLONG NETWORK TECH CO LTD, KAIXIAN SHENGLONG NETWORK TECHNOLOGY CO LTD, 2020
A simple heat dissipation solution for small-pitch LED displays to improve lifespan and avoid complex and failure-prone heat sink components. The display uses a multilayer co-fired ceramic substrate with embedded pits to hold the LED chips. This direct contact between the chips and the ceramic substrate provides efficient thermal conduction for dissipation without additional components. The ceramic material has good thermal conductivity compared to air or plastic substrates, allowing the chips to dissipate heat directly into the display backplane.
45. LED Display Device with Rear Heating Elements and Auxiliary Heat Sink Assembly
HUNAN YESTECH OPTOELECTRONIC CO LTD, 2019
LED display device with improved heat dissipation and longer lifespan. The device has an LED light board with LEDs on the front and heating elements on the back. An auxiliary heat sink is attached to dissipate heat from the heating elements. A thermally conductive connector joins the heating element to the auxiliary heat sink to accelerate heat transfer. This reduces temperature of the LEDs, preventing degradation and uneven color output. Multiple devices with auxiliary heat sinks can be connected together to form a large display with better overall heat dissipation.
46. LED Display Module with Thermal Conductor Linking Driver Circuit to External Heat Sink
Huizhou Lehman Optoelectronic Technology Co., Ltd., LEDMAN OPTOELECTRONIC HZ CO LTD, 2016
LED display module design to improve thermal performance and reliability by using a thermal conductor to efficiently dissipate heat from the LED driver circuit to an external heat sink. The module has a housing with a PCB containing the LED elements and driver circuit inside. A thermal conductor connects the driver circuit to an external heat sink fin. This allows the driver heat to be transferred out of the module instead of accumulating inside. This improves cooling and prevents overheating issues that can degrade LED performance and shorten life.
47. LED Module with Distributed SMD Chips and Thermal Insulation Layer for Heat Management
HE SUHUA, 2016
LED module design with improved thermal management for longer life and reliability. The module has multiple SMD LED chips distributed on different positions of the substrate. There is a thermal insulation layer between the substrate and some or all of the chipsets. This insulation prevents direct thermal conduction between the chips and substrate. It forces the chips to dissipate heat through their own packaging instead. This balances the heat distribution and prevents hotspots that could degrade the LEDs.
In order to increase performance and endurance in a variety of applications, micro-LED displays are being developed. These objectives are met by innovations, including redundancy design, creative mounting methods, and modern guiding structures. These advanced techniques also improve the reliability and performance of micro-LED display.
Get Full Report
Access our comprehensive collection of 47 documents related to this technology
