Hybrid Integration in Micro-LED Display Manufacturing
Micro-LED displays demand sub-micron positioning accuracy while managing thermal, optical, and electrical interfaces across millions of microscopic elements. Current fabrication processes achieve placement tolerances within 1-2 μm, but achieving consistent performance across large arrays requires managing multiple physical phenomena at the device level—from quantum well optimization to thermal management at junction temperatures exceeding 85°C.
The fundamental challenge lies in maintaining precise control over electrical, optical, and thermal characteristics while scaling production to commercially viable yields and costs.
This page brings together solutions from recent research—including waveguide-based optical coupling systems, monolithic array architectures with improved light extraction, heterogeneous integration with TMD transistor matrices, and thermal management strategies for high-density arrays. These and other approaches focus on practical manufacturing solutions while preserving the core advantages of micro-LED technology.
1. Thin-Film Circuit Layer Bonded to LED Array with Reduced Metal Bonds and Low-Temperature Bumps
Facebook Technologies, LLC, 2022
Hybrid integration in micro-LED with backplanes reduces cost and improves performance. The LED array is fabricated separately from the control circuitry. A thin-film circuit layer is deposited on the LED array to control the LEDs. The backplane with drive circuitry is then bonded to the circuit layer using a reduced number of metal bonds. This allows the LEDs to act as the support structure for the circuitry, reducing bump count. The thin-film circuits can be interconnected to further reduce bonds. The bonding uses low-temperature bumps to avoid mismatches.
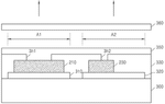
2. Hybrid Bonding Structure for MicroLED Array and CMOS Circuit Integration Without Through-Silicon Vias
IMEC VZW, 2020
A method and device structure for fabricating high-performance microLED displays with improved pixel density, efficiency and integration compared to conventional approaches. The method involves hybrid bonding of the microLED array wafer to a CMOS driver circuit wafer without using through-silicon vias. The microLEDs are individually connected to CMOS circuitry using contacts on the bottom side of the microLED wafer and matching contacts on the CMOS wafer. This allows dense microLED arrays to be seamlessly integrated with CMOS circuits without sacrificing pixel fill factor or performance.
3. MicroLED Display Chips with Metal Barrier for Crosstalk Reduction and Enhanced Color Conversion
HUAWEI TECH CO LTD, HUAWEI TECHNOLOGIES CO LTD, 2024
MicroLED display chips with reduced crosstalk and improved color conversion efficiency. The chips have a metal barrier between adjacent color conversion layers to prevent light leakage. This reduces crosstalk between pixels. The barrier also reflects light into the conversion layer for improved efficiency. The barrier is formed by patterning a metal layer over the light shielding structure. The barrier has a solid wall between the color conversion layers. This requires only one patterning step compared to separate barriers for each layer. The barrier also improves heat dissipation. The barrier shape and hole size can be adjusted to optimize light extraction and conversion efficiency.
4. MicroLED Display with Enhanced Quantum Efficiency and Vertically Stacked Structures
Meta Platforms Technologies, LLC, 2024
Improving the efficiency and light extraction of microLED displays, as well as enabling high-resolution microLED arrays with smaller pitches and easier electrical connections. The techniques involve: 1. Internal quantum efficiency improvement: Using a special epitaxial growth process to reduce surface recombination and improve internal quantum efficiency of microLEDs. The process involves doping the active region with magnesium and annealing it at high temperatures to activate the dopants. This passivates surface defects and reduces non-radiative recombination. 2. External quantum efficiency improvement: Modifying the microLED structure to extract more light. This includes optimizing the mesa shape, sidewall facets, and reflectors to minimize trapped light and maximize extraction efficiency. 3. Display panel design: Using stacked microLED structures to increase the packing density of the display. The microLEDs are vertically stacked
5. Heterogeneous Integrated Micro-LED Display Panel with Dual-Wavelength Chip Growth and Carrier Bonding Method
WUHAN UNIV, WUHAN UNIVERSITY, 2024
Heterogeneous integrated full-color Micro-LED display panel with improved transfer and alignment method. The method involves growing blue-green dual-wavelength Micro-LED chips on one carrier and red Micro-LED chips on another carrier. Then, the carriers with the arrays of chips are aligned and bonded to a target substrate with electronics. This allows transferring and aligning a large number of Micro-LED chips in arrays without individual chip pick-and-place. The chips are bonded to the substrate through electrode holes filled with conductive material.
6. MicroLED Microdisplay Chip with Stacked Subpixels and Isolated Reflective Structures
RayOpto Electronics Technology Co., Ltd., RAYSOLVE PHOTOELECTRIC TECHNOLOGY CO LTD, Rayz Technologies (Suzhou) Co., Ltd., 2024
MicroLED microdisplay chip with improved color efficiency and manufacturing simplicity for applications like AR/VR displays. The chip has separate red, green, and blue subpixels stacked without color overlap. This allows independent driving of each color. The subpixel layers are isolated by through-holes in the planarization layer, enabling independent reflective structures for each color. A barrier layer protects the reflective layer from contact resistance. The manufacturing method involves sequentially forming the subpixels without distinguishing order.
7. Display Panel with MicroLED Layer and Thin Film Transistor Array on Backside of Base Substrate
WUHAN CHINA STAR OPTOELECTRONICS SEMICONDUCTOR DISPLAY TECHNOLOGY CO., LTD., 2024
Display panel design with improved stability and yield of microLED chips compared to existing panels. The panel has the microLED layer and thin film transistor (TFT) array on the backside of the base substrate instead of on the light-output side. This allows mass transferring the microLEDs first, then forming the TFTs directly on the backside. This eliminates the need for intermediate bonding steps when transferring the fragile microLEDs, improving their reliability and yield.
8. LED Display with Embedded Chip Microholes in Metal Layer for Enhanced Resolution and Thermal Management
Yan Guangneng, GUANGNENG YAN, 2024
LED display with improved resolution, heat dissipation, and isolation between pixels. The display has LED chips embedded in microholes in a metal layer instead of attaching them directly to the substrate. This allows the electrodes to be in the same plane for easier electrical connection and better resolution. The metal layer also provides thermal conductivity for better heat dissipation and isolation between pixels due to the embedded chips. The display is manufactured by forming the metal layer, etching microholes, embedding chips, and adding the driving layer.
9. Micro LED Display Transfer Method Using Temporary Substrate with Layered Receiving and Transfer Mechanism
HYMSON LASER TECH GROUP CO LTD, HYMSON LASER TECHNOLOGY GROUP CO LTD, 2024
Transfer method for micro LED displays that improves accuracy and reduces damage compared to conventional methods. The method involves using a temporary substrate with layers for receiving and transferring micro LEDs. The receiving layer improves orderliness and the transfer layer enables selective transfer. After transferring micro LEDs to the temporary substrate, the receiving layer is patterned to remove spaces between LEDs. Then the transfer layer is processed to release specific LEDs. This allows selective transfer of LED arrays with custom spacing and arrangement.
10. Method for Transferring Micro LEDs Using Temporary Substrates with Packed Color Arrangement
Shanghai Tianma Micro-Electronics Co., Ltd., 2024
A method to improve the efficiency and yield of transferring micro LEDs from growth substrates to display substrates in order to fabricate micro LED displays. The method involves transferring micro LEDs of multiple colors from growth substrates to temporary substrates first. Then, micro LEDs of the same colors from the temporary substrates are simultaneously transferred to the display substrate. This reduces the number of transfers and improves yield compared to transferring individually from growth substrates. The temporary substrates have packed color arrangement for easier pickup and alignment.
11. Micro LED Array Display with Flip Chip Bonded Pixels on CMOS Backplane
LUMENS Co., Ltd., 2023
Micro LED array display device that enables individually driving and controlling micro LED pixels using flip chip bonding on a CMOS backplane. The display has a micro LED panel with multiple pixels, a CMOS backplane with cells corresponding to each pixel, and bumps between them. The micro LED pixels are flip chip bonded to the CMOS cells to drive them individually. This simplifies wiring and eliminates data lines compared to connecting each pixel. The display can also be a full color implementation with red, green, and blue micro LED panels bonded to the same CMOS backplane.
12. Active Full-Color MicroLED Display with Integrated Silicon Substrate and Etched Epitaxial MicroLEDs
CHANGCHUN CEDAR ELECTRONICS TECH CO LTD, CHANGCHUN CEDAR ELECTRONICS TECHNOLOGY CO LTD, 2023
Active full-color MicroLED display device with improved yield and manufacturing efficiency by integrating the MicroLED array and driver circuitry on a single silicon substrate instead of transferring pre-made MicroLEDs. The device has a silicon substrate with an epitaxial layer of LED material on one side. MicroLEDs are formed on the epitaxial layer by etching. A pixel driving circuit is prepared on the other side of the substrate. This avoids the complex and low yield microtransfer method of attaching pre-made MicroLEDs to a display backplane.
13. MicroLED Display Chip with Wavelength Conversion Elements and Reflective Layer Integration
Raytron Technology Co., Ltd., RAYSOLVE PHOTOELECTRIC TECHNOLOGY CO LTD, Raytron Technology (Suzhou) Co., Ltd., 2023
MicroLED display chip with improved efficiency and display quality by covering the LED elements with conversion elements and reflective layers. The method involves forming microLED elements on one side of a driving panel. Wavelength conversion elements are placed on the same side, one for each microLED, covering the LED surface. Reflective layers are formed on the sides of the conversion elements. This reflects both the microLED's excitation light and the converted light. The reflective layers prevent light leakage and improve efficiency and collimation compared to uncovered conversion elements.
14. Selective Micro LED Array Transfer Method Using Adsorption Zones for Static Element Retention
Chengdu Chenxian Optoelectronics Co., Ltd., CHENGDU CHENXIAN OPTOELECTRONICS CO LTD, 2023
A method for transferring micro LED arrays to displays without damaging the micro LEDs that don't need to be moved. The method involves selectively transferring only the micro LEDs that need to be moved while leaving the ones that should stay on the source substrate in place. This is done by using a console with adsorption zones for the static micro LEDs. During transfer, the micro LEDs that should be moved are picked up by the transfer head, but the ones on the console are not disturbed. This prevents accidental dislodging of the micro LEDs that are supposed to remain on the source substrate.
15. Micro LED Microdisplay with Flip-Chip Bonded Array and Crosstalk-Reducing Pixel Separation
SHAOXING JUNWAN MICROELECTRONIC TECH CO LTD, SHAOXING JUNWAN MICROELECTRONIC TECHNOLOGY CO LTD, 2023
Micro LED microdisplay device structure with low crosstalk and small size, achieved by flipping the micro LED array and bonding it to the driving circuit instead of directly attaching the LED wafer. This allows etching the LED substrate after bonding to separate the pixels. Black filling or a reflective layer between pixels absorbs/reflects light that would otherwise leak and cause crosstalk. The microdisplay structure has flip-chip bonded micro LED array, driving circuit, and separated pixels with reduced crosstalk compared to direct bonding.
16. Micro LED Display Module with Recessed Substrate and Quantum Dot Integration
HUBEI XINYING PHOTOELECTRIC CO LTD, 2023
Micro LED display module with improved transfer precision, reduced defects, higher throughput, and better contrast. The module has a substrate with positioned recesses to match the micro LED chips. This avoids offset during transfer and improves yield. The recesses also prevent crosstalk between pixels. The module uses quantum dot materials for full color micro LEDs with better purity. It has a transparent black matrix to improve contrast. The micro LEDs are matched to the recesses with beveled edges to improve brightness. The display uses only blue micro LEDs for consistent brightness. The black matrix is applied first then transparent encapsulation avoids brightness loss.
17. Integrated Micro LED Display Panel with On-Substrate Transistor Formation and Direct Electrical Interconnection
LG Display Co., Ltd., 2023
Micro LED display panel and manufacturing method that allows making a micro LED display without transferring the micro LED chips. The micro LED and transistor driving element are both formed on the same substrate plane. This reduces thickness and simplifies connections compared to transfer methods. The micro LED and transistor are electrically connected via wires through contact holes in the passivation layer. The micro LED and transistor are manufactured by sequential steps on the substrate including growing the LED stack, forming the transistor, and removing excess LED stack.
18. Micro LED Display Panel with Light-Shielding Layer and Enhanced Transfer Method
TCL China Star Optoelectronics Technology Co., Ltd., TCL CHINA STAR OPTOELECTRONICS TECHNOLOGY CO LTD, 2023
Micro LED display panel and transfer method to eliminate color mixing and improve efficiency compared to conventional pick-and-place transfer. The panel has a light-shielding layer between the electrodes of the driving substrate. This separates the micro LED strips of different colors after bonding to prevent light leakage between strips. Alternatively, it separates individual micro LEDs of different colors on a strip. This eliminates the need for multiple transfers and reduces cost and defects compared to pick-and-place.
19. Micro LED Display Chip with Integrated Concave Micro Lenses for Enhanced Light Collimation
LEIYU OPTOELECTRONICS TECH SUZHOU CO LTD, LEIYU OPTOELECTRONICS TECHNOLOGY CO LTD, 2022
Micro LED display chip with improved brightness and yield by integrating micro lenses on the chip to gather and collimate the emitted light. The micro lenses are placed in concave areas formed between each LED mesa and surrounding grid holes on the barrier structure. This direct coverage and filling of the concave areas prevents lens detachment and increases contact area. It also allows better light gathering from the LED tops and sides.
20. Micro LED Display Chip with Grid-Enclosed LED Mesa and Reflective Layer
LEIYU OPTOELECTRONICS TECH SUZHOU CO LTD, LEIYU OPTOELECTRONICS TECHNOLOGY CO LTD, 2022
Micro LED display chip with improved brightness and manufacturing method to address the issue of low brightness in micro LED displays. The chip design involves arranging micro LEDs on a drive panel and surrounding each LED mesa with a grid structure containing grid holes. A reflective layer is then added on the grid structure surface. This enclosed design prevents light leakage from the sidewalls of the micro LEDs, reducing crosstalk between pixels and improving brightness.
21. Vertical Micro LED Assembly with Through-Hole Substrate Alignment
Chi-Young Yoon, Bae-Gun Jung, 2022
Light emitting diode (LED) assembly which improves light efficiency, a light quantity, and an integration degree through optimized alignment of vertical type micro LEDs each having a nano size or micro size. The assembly includes a substrate provided with a plurality of through holes formed in a thickness direction, micro LEDs each formed in a vertical type in which a vertical width is greater than a lateral width, and aligned in an upright state by being at least partially inserted into the through holes of the substrate.
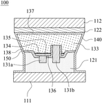
22. Monolithically Integrated Micro-LED Display Chip with Transition Metal Dichalcogenide Transistor Matrix
NANJING UNIVERSITY, 2022
A monolithically and heterogeneously integrated micro-LED display chip with high resolution, large driving current, high brightness, and low voltage. The chip is prepared by integrating a monolayer transition metal dichalcogenide (TMD) transistor matrix with micro-LEDs using back-end-of-the-line (BEOL) processing steps. The TMD transistor matrix provides high resolution and current driving capability.
23. Micro-LED Display Panel with Substrate-Integrated Driving Circuit Layer and One-to-One Micro-LED Element Connectivity
Shanghai Tianma Micro-Electronics Co., Ltd., 2022
Display panel that is capable of independent pixel control, independent light emission control, high luminance, low power consumption, ultra-high resolution and high colorfulness. The panel includes a substrate, a driving circuit layer, where the driving circuit layer is disposed on a side of the substrate, and includes a plurality of driving circuits; and an LED element layer, where the LED element layer is disposed on a side of the driving circuit layer facing away from the substrate, and includes a plurality of micro-LED elements which are electrically connected to the plurality of driving circuits in a one-to-one correspondence through via holes in the plurality of driving circuits.
24. Micro LED Display Structure with Removable Connecting Layer and Isolation Layer Integration
PlayNitride Display Co., Ltd., 2022
Micro LED display structure and fabrication method to improve yield and processing. The structure involves a removable connecting layer between the micro LED and substrate, covered by a layer on the LED surface. This allows easier removal of the connecting layer compared to sputtered coatings. The covering layer contacts an isolation layer, preventing micro LEDs from touching during removal. The display has circuit substrate pads, covered micro LEDs, and isolation between them.
25. Monolithic Micro-LED Display Fabrication with Integrated Active Matrix TFTs on Single Substrate
Korea Advanced Institute of Science and Technology, 2022
Micro-LED display manufacturing method and micro-LED display that enables mass production of micro-LED displays by integrating the micro-LEDs and active matrix TFTs on the same substrate. The method involves forming the micro-LEDs with multiple subpixels and wavelengths on the substrate, then integrating TFTs and other display elements without transferring the micro-LEDs. This allows fabricating the micro-LED display in a monolithic process.
26. MicroLED Display Fabrication with Multi-Wavelength Quantum Well Emitters and Independent pn Junctions
LUMILEDS LLC, 2022
Fabricating high resolution microLED displays with multiple wavelength emitters in a single device area for improved color gamut and efficiency. The technique involves growing multiple quantum well LEDs in the same epitaxial wafer with separate pn junctions for each color. Open vias are etched between the junctions for electrical contact. The etching process is optimized to avoid damage that converts the GaN type from p- to n-type. This allows ohmic contact to the etched p-GaN surface for low resistance current flow. The separate junctions enable independent control of wavelength and radiance for each color.
27. Monolithic Integrated Multicolor MicroLED Display with Alternating Forward-Mounted and Flip-Chip LED Arrays
NANJING UNIVERSITY, UNIV NANJING, 2022
Single-chip integrated multicolor microLED display with high resolution and large area. The display uses a monolithically integrated microLED chip with alternating forward-mounted and flip-chip LED arrays. This reduces alignment and yield issues compared to transferring discrete microLEDs. The chip has a thin film transistor array and the LED arrays are fabricated separately. The forward-mounted LEDs emit through the transistor array, while flip-chip LEDs emit from the substrate side. This allows using the same LED array process. The forward-mounted LEDs have electrodes on one side and the flip-chip LEDs have electrodes on the opposite side. This allows the same electrode connections. The flip-chip LEDs have a wavelength conversion layer. The alternating LED stacking and flip-chip technique enables monolithic integration of multicolor microLED displays with high resolution and large area
28. Micro LED Display with Side Wall Reflecting Layer Formed via Sacrificial Layer Process
Rayz Technologies Co., Ltd., RAYSOLVE PHOTOELECTRIC TECHNOLOGY CO LTD, Rayz Technologies (Suzhou) Co., Ltd., 2022
Micro LED display device with reduced crosstalk and improved brightness. The device has a reflecting layer on the side walls of the LED units to prevent light leakage and crosstalk between adjacent pixels. This is achieved by a fabrication process where a sacrificial layer is deposited first, then the reflecting layer, and finally the sacrificial layer is removed. This allows forming the reflecting layer only on the side walls without etching. The reflecting layer blocks spontaneous emission from the side walls and reflects light back into the LED, improving brightness. The reflecting layer is discontinuous due to the sacrificial layer thickness, allowing stripping of both together.
29. Method for Aligning and Transferring Individually Cut Micro-LED Chips to Driver Substrate
Shenzhen Siton Technology Co., Ltd., SHENZHEN SITAN TECHNOLOGY CO LTD, 2022
Method for transferring Micro-LED chips to a driver substrate for display applications. The method involves cutting Micro-LEDs arranged in an array on a wafer into individual chips along rows and columns. These chips are then aligned and transferred to the driver substrate where each chip is electrically connected to a corresponding driving circuit. This selective transfer of individually cut Micro-LEDs allows high resolution displays to be made by precisely placing and connecting each Micro-LED to the correct drive circuit.
30. MicroLED Display with Regrown Active Layers for Integrated Multicolor Emission
LG Display Co., Ltd., LG DISPLAY CO LTD, 2022
MicroLED display with simplified manufacturing and improved efficiency by using regrowth to generate all colors from a single microLED chip. The microLED has separate active layers for blue and green emission. After growing the blue-emitting layers, green-emitting layers are regrown on top of them. This avoids the transfer steps and complexity of using separate red, green, and blue microLEDs. The blue and green microLEDs can still generate red light by exciting phosphor that absorbs the blue or green.
31. Micro LED Array Structure with Integrated Pixel Arrays for Standardized Assembly
CHANGCHUN INST OPTICS FINE MECH & PHYSICS CAS, CHANGCHUN INSTITUTE OF OPTICS FINE MECHANICS AND PHYSICS CHINESE ACADEMY OF SCIENCES, 2022
Full-color Micro LED array structure and preparation method to enable use of existing LED placement equipment for Micro LED displays. The method involves forming micro LED pixels in arrays on a wafer, then assembling the pixel arrays into larger display units. This allows using standard LED transfer equipment to handle the display units instead of the tiny individual micro LEDs. The display units can then be transferred to the main circuit board. The display units are composed of multiple micro LED pixel arrays isolated by structures.
32. Micro LED Display with Multi-Shape Subpixels and Sequential Transfer Substrate
SAMSUNG ELECTRONICS CO LTD, 2022
Micro LED displays with improved efficiency and yield using a transfer substrate and method. The displays have subpixels with multiple micro LEDs of different shapes or sizes instead of just one. The transfer substrate has regions for transferring the different micro LED types. The transfer method sequentially transfers the larger main micro LED first, then the smaller secondary micro LED to some subpixels. This allows flexibility in subpixel design while avoiding gaps from missing transfers.
33. Micro LED Display with Sequential Transfer of Differently Sized LEDs for Subpixel Filling
SAMSUNG ELECTRONICS CO., LTD., 2022
Micro LED displays with improved transfer efficiency using a sequential transfer method. The display has subpixels containing differently sized micro LEDs. The transfer process involves sequentially transferring a larger primary micro LED followed by a smaller secondary micro LED to each subpixel. This allows filling subpixels with the larger LED first and then the smaller one. It prevents voids and gaps that can occur when attempting to transfer both sizes simultaneously. The smaller secondary micro LED replaces any remaining empty subpixel space after the larger primary LED.
34. Multi-Layer Micro-LED Display Substrate with Non-Overlapping Primary Color Arrays
XIAMENSHENMINGMINE GALLIUM COMPOUND SEMICONDUCTOR LIMITED CO, XIAMENSHENMINGMINE GALLIUM COMPOUND SEMICONDUCTOR LTD CO, 2022
A Micro-LED display substrate with improved color accuracy and reduced crosstalk compared to conventional stacked Micro-LED displays. The substrate has three layers, each containing a primary-colored Micro-LED array. The layers are stacked but not overlapped vertically, allowing independent control of the LEDs in each layer. This avoids chromatic aberration and crosstalk issues when stacking red, green, and blue LEDs in vertical alignment.
35. Laminated Micro LED Display with Stacked RGB Pixel Units and Opposing Electrode Configuration
ANHUI XITAI INTELLIGENT TECH CO LTD, ANHUI XITAI INTELLIGENT TECHNOLOGY CO LTD, 2022
Laminated micro LED full-color display with improved pixel density and brightness. The display has stacked RGB pixel units with independent red, green, and blue micro LEDs arranged in a laminated structure on a wafer. Each micro LED has electrodes on opposite sides, allowing better electrode coverage and light extraction compared to side-by-side stacking. This improves display brightness and reduces crosstalk. The laminated structure also allows higher pixel density and better active area utilization compared to side-by-side stacking.
36. Display Device with Integrated Blue Micro-LEDs and Red/Green QLED Sub-Pixels
GUANGDONG JUHUA PRINTING DISPLAY TECH CO LTD, GUANGDONG JUHUA PRINTING DISPLAY TECHNOLOGY CO LTD, TCL CHINA STAR OPTOELECTRONICS TECH CO LTD, 2022
Display device with improved efficiency, lifespan, and cost by integrating blue Micro-LEDs, red QLEDs, and green QLEDs in the same display. The blue sub-pixels use Micro-LEDs while the red and green use QLEDs. This leverages the strengths of each technology to avoid weaknesses. The blue Micro-LEDs have better efficiency and lifespan than blue QLEDs. Transferring blue Micro-LEDs is cheaper than red/green due to smaller size. The QLEDs provide better efficiency and lifespan than blue Micro-LEDs for red and green. The QLEDs are also less costly than red/green Micro-LEDs.
37. Micro-LED Display Panel with Curved Reflector-Encapsulated MicroLED Chips
UNIV WUHAN, WUHAN UNIVERSITY, 2022
Full-color Micro-LED display panel with reduced crosstalk between pixels and a manufacturing method for it. The display panel has a unique design where the microLED chips and curved reflectors are both arranged on the driving panel. This reduces crosstalk by having the reflectors surround each microLED chip to prevent light leakage. The curved reflectors are made by depositing a reflective layer on the inner walls of a cavity array created by the reflectors. The microLED chips are then placed in the cavities and filled with adhesive. This encapsulates the microLEDs and reflectors together. The method involves growing complete microLED chips, flipping them, and placing them in the curved reflector cavities.
38. Stacked Substrate Micro LED Display with Through-Hole Exposure for Multi-Layered LED Integration
SHENZHEN CLT ELECTRONICS CO LTD, 2022
Micro LED display screen with improved manufacturing process for high resolution, high brightness and power efficiency. The display has multiple substrates stacked with exposed micro LED chips in a one-to-one correspondence between adjacent substrates. The middle substrate covers the first substrate and has through holes for exposing the micro LEDs from the first substrate. The third substrate covers the middle substrate and has separate through holes for exposing the micro LEDs from the middle substrate and the first substrate. This allows stacking multiple substrates with exposed micro LEDs for higher resolution and brightness compared to a single substrate.
39. Assembled LED Display Panel with Separate Color Substrates and Dislocated Subpixel Layout
Shenzhen TCL New Technology Co., Ltd., SHENZHEN TCL NEW TECHNOLOGY CO LTD, 2022
An assembled LED display panel with improved manufacturing efficiency for high PPI displays like MicroLED. The panel consists of three transparent substrates with blue, green, and red LEDs assembled separately instead of integrating the colors on a single substrate. This allows mass transfer of all colors simultaneously instead of separate transfers or packaged subpixel transfers. It also enables faster assembly after transfer since each color is already on its substrate. This reduces cycle time compared to transferring and assembling each color separately. The subpixel layout on each substrate is dislocated to prevent interference. A light shield between subpixels and spacing between substrates prevent collisions. Larger subpixel LEDs are used for better yield compared to submicron MicroLEDs.
40. Transfer Module for Micro LED Arrays with Integrated Driving Electronics
JIAN MULINSEN DISPLAY DEVICE CO LTD, 2021
Bulk transfer micro LED display technology that improves efficiency, yield, and precision of transferring large numbers of micro LEDs compared to conventional methods. The technique involves creating a transfer module with integrated driving electronics and LED chips arranged in an array. This allows transferring multiple micro LEDs at once rather than individually. The array is then attached to the display backplane using perimeter contacts. This reduces transfer steps, improves precision, and avoids issues like packaging adhesive peeling and thermal mismatch. The display screen uses a backlight with a quantum dot layer and a packaging module over the micro LEDs.
41. Method for Fabricating Micro LED Display Substrates via Intermediate Transfer of Micro LED Arrays
HEFEI BOE OPTOELECTRONICS TECHNOLOGY CO., LTD., BOE TECHNOLOGY GROUP CO., LTD., 2021
A method to manufacture micro LED display substrates by transferring arrays of micro LEDs from a growth wafer to the display substrate using an intermediate transfer step. The method involves forming micro LED arrays on the growth wafer, transferring them to an adhesive layer on a temporary transfer substrate, and then transfers the micro LEDs from the temporary substrate onto the display substrate pads. This allows precise placement of the micro LEDs onto the display substrate pads using the temporary transfer substrate as an intermediate step.
42. MicroLED Display Manufacturing Method with Adhesive-Based Thermal Compatibility Transfer
Jade Bird Display Limited, 2021
A method for manufacturing microLED displays with improved efficiency and yield by using adhesives to transfer microLED arrays to substrates with better thermal compatibility for bonding. The method involves growing microLEDs on a substrate, transferring the microLED array to an intermediate substrate with a more compatible coefficient of thermal expansion, and then bonding the microLED array on the intermediate substrate to the pixel drivers on the final substrate. This allows better alignment and bonding at elevated temperatures without internal stress or misalignment issues due to thermal mismatch.
43. Micro LED Display Fabrication via Module Replacement Using Relay Substrate Testing
POINT ENGINEERING CO., LTD., 2021
Micro LED display manufacturing method to improve efficiency by replacing defective modules instead of individual micro LEDs. The method involves transferring micro LEDs from a donor substrate to a relay substrate, testing the relay substrate modules for defects, and replacing any faulty modules with good ones before transferring the final modules to the display substrate. This allows batch testing and replacement of entire modules instead of laborious individual micro LED removal and replacement.
44. Micro LED Display with Staggered Arrangement and Rotational Transfer for Seamless Area Integration
PlayNitride Display Co., Ltd., 2021
Micro LED display with improved uniformity and reduced visibility of transfer boundaries. The display has adjacent transfer areas with staggered micro LED arrangements. In one area, the LEDs are in a straight line, in the other area they are offset. This prevents brightness differences when viewed from the edge between areas. A transfer head picks up and places LEDs in each area in a staggered pattern. The head rotation allows overlapping the transfer area boundaries. This avoids brightness transitions between areas.
45. Method for Fabricating Vertically Stacked Micro LED Arrays Using Substrate-Free LED Membranes
KING ABDULLAH UNIVERSITY OF SCIENCE AND TECHNOLOGY, UNIV KING ABDULLAH SCI & TECH, 2021
A method for making vertically stacked red, green, and blue micro LED arrays by transferring individual LED membranes. The method involves fabricating red, green, and blue LEDs without substrates (membranes) by removing the substrate material. These membranes are then vertically stacked on a common substrate using bonding layers. This allows simplified transfer and fabrication of the RGB micro LEDs compared to transferring discrete LEDs. The membrane LEDs are fully transparent due to lack of substrate, while the regular LEDs have opaque substrates.
46. Micro LED Display with Time-Sharing Fabry-Perot Light Control Layer for Selective Color Transmission
Hisense Visual Technology Co., Ltd., HISENSE VISUAL TECHNOLOGY CO LTD, 2021
Micro LED display with reduced color crosstalk and simplified manufacturing compared to conventional Micro LED displays. The display uses a time-sharing Fabry-Perot (FP) light control layer between the color conversion layer and substrate. This layer selectively transmits red, green, or blue light. A control circuit chooses which color to transmit through the FP layer. This eliminates the need for blue Micro LEDs in each subpixel, reducing crosstalk and simplifying manufacturing compared to conventional Micro LED displays where each subpixel has a blue Micro LED.
47. Method for Fabricating MicroLED Display with Integrated TFTs on Single Substrate
KOREA ADVANCED INSTITUTE OF SCIENCE AND TECHNOLOGY, Daejeon, KOREA, REPUBLIC OF, 2021
Method for manufacturing a microLED display without transferring individual microLEDs. The method involves forming the microLEDs and TFTs on the same substrate. This is done by partitioning the microLED into subpixels, planarizing it, creating via holes, and then integrating the microLED and TFT. This allows manufacturing a microLED display with multiple color microLEDs and integrated TFTs all on one substrate, simplifying production compared to transferring tiny individual microLEDs.
48. Wafer-Level MicroLED Array Transfer and Integration Method for Large-Area Displays
Korea Advanced Institute of Science and Technology, 2021
Mass production method for large-area microLED displays that enables high resolution, high brightness microLED displays with improved yield and lower cost compared to transferring individual microLEDs. The method involves fabricating a wafer-level microLED array, transferring it to a display substrate, flattening the microLEDs, forming via holes, and integrating the microLEDs with a monolithic TFT array on the substrate. This allows thousands of microLEDs to be transferred and integrated in a single step, reducing defects and costs compared to transferring each microLED individually.
49. MicroLED Display with Surface-Roughened n-GaN Layer for Crosstalk Reduction
TIANJIN SIMUCAL TECH CO LTD, TIANJIN SIMUCAL TECHNOLOGY CO LTD, 2021
Reducing crosstalk in microLED displays by roughening the surface between individual pixels. This involves forming a hemispherical or conical surface on the n-GaN layer between the gaps of a single device. This allows light from the channel between the GaN layers to penetrate through the rough surface before reaching the adjacent device, reducing the optical crosstalk between pixels.
50. Micro-LED Display with Vertically Integrated Layered Structure for Densely Stacked Transistors and LEDs
LG DISPLAY CO LTD, 2021
Micro-LED display with high resolution, increased light emitting area, and densely packed transistors and LEDs for micro-pixel sub-pixels. The display has a micro-LED and switching transistor densely stacked in each pixel, with a driving transistor below. The micro-LED and transistors are vertically integrated in a layered structure. The LED and switching transistor share a common channel layer and have separate supply and forming layers. The driving transistor has a vertical channel. This allows compact micro-pixels with all components in a small area. It also expands the LED emitting region compared to horizontally arranged transistors. The stacked design enables dense packing of micro-LEDs and transistors, increasing pixel density and resolution.
Several technical challenges have made micro-LED screen optimization challenging. Thankfully, new methods of combining different technologiesᅳhybrid integration in micro-LEDsᅳare starting to demonstrate promise. High-performing panels require the correct alignment and cooling of tiny LEDs, and these developments help to address these issues. It may be possible to lower the cost of integrating micro-LEDs with backplanes, increasing the technology's accessibility.
Get Full Report
Access our comprehensive collection of 91 documents related to this technology
