Modular Designs for Micro-LED Display Production
Micro-LED display manufacturing faces critical yield and integration challenges at microscopic scales. Current processes must precisely place and bond LED arrays as small as 3-10 micrometers, while maintaining consistent electrical connectivity and optical performance across millions of pixels. Assembly yields below 99.999% can render entire display modules unusable.
The fundamental challenge lies in balancing manufacturing complexity and cost against display performance metrics like brightness, power efficiency, and color accuracy.
This page brings together solutions from recent research—including alignment-free bonding architectures, redistribution layer approaches, integrated color conversion systems, and modular assembly techniques. These and other approaches aim to improve manufacturing yields while maintaining the superior brightness and efficiency that make micro-LED technology promising for next-generation displays.
1. Modular Lighting System with Interchangeable Geometric Profiles and Seamless Spacer Connections
3FORM LLC, 2025
Modular lighting system with flexible configuration and seamless appearance for customizable light fixtures. The system uses interchangeable geometric profiles that can be joined end-to-end to form different shapes. The profiles have hollow interiors and can be connected by spacers that provide a seamless look and inhibit light leakage. The tracks for hanging the fixtures have adjustable couplers to position them. This allows easy assembly of customized light fixtures with flexible mounting options and seamless appearance.
2. Modular Lighting System with Detachable Light Units and Integrated Electrical-Mechanical Connectors
LEEDARSON LIGHTING CO LTD, 2025
A modular lighting system with detachable light units that can be easily added, removed, and rearranged to customize the overall light output. The system uses a frame structure with connectors between the detachable light units. The connectors allow electrical and mechanical connection between the units. The detachable light units can have their own controllers and can be swapped out to change the light source type or color. The modular design allows flexibility in configuring the lighting setup and enables expansion or reduction of the overall light output as needed.
3. MicroLED Display with Directly Bonded Reconstituted Substrates and Hybrid Bonding Structure
ADEIA SEMICONDUCTOR BONDING TECH INC, 2025
MicroLED display technology with improved manufacturing methods using reconstituted substrates. The displays are formed by bonding together separate substrates containing singulated control devices and singulated LEDs, without interposing an adhesive. This direct bonding allows higher density, lower cost, and faster manufacturing compared to conventional pick-and-place techniques. The reconstituted substrates can also be stacked to further increase pixel density. The bonded structures can have hybrid bonding with direct bonds between nonconductive features and direct metal bonds between conductive features.
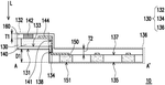
4. Flexible Lighting Panels with Snap-Connectors and Integrated Electrical Interfaces for Modular Assembly
COOLEDGE LIGHTING INC, 2025
Thin, flexible lighting panels with snap-connecting features for modular assembly into customizable illumination systems. The panels have flexible frames with electrical connectors and light-emitting elements on a flexible substrate. The connectors allow snap-fitting of panels together and to power buses. This enables modular, scalable lighting systems with custom sizes and configurations. The snap-fit connections also allow easy installation without wiring. The flexible frames further enable conformable shapes and flexible mounting options.
5. Modular Electronic Building System with Magnetically Connected Functional PCBs for Custom Interactive Object Assembly
SPHERO INC, 2025
Modular electronic building system that allows easy creation of custom interactive objects without programming or electronics expertise. The system uses pre-assembled printed circuit boards (PCBs) connected by magnets. Each board performs a discrete function like LED, button, sensor, etc. Users can combine the boards to make larger circuits. The magnets provide mechanical connection and electrical signal transfer. The modular design enables intuitive tangible programming by connecting boards in specific ways to create desired behaviors. It also allows mixing electronic modules with traditional materials for expanded creativity.
6. Display Panel with Flexible Substrate and Seamless Splicing Connection Structure
BOE TECHNOLOGY GROUP CO LTD, 2025
Display panel with seamless splicing capability for full screen displays. The panel has a flexible substrate with connection vias, connection portions extending out of the vias, and a leveling layer filling and smoothing the via tops. Driving circuits, chip, and micro LEDs are bonded to the other sides of these layers. This allows seamless panel-to-panel joining by aligning the connection portions without via swelling issues.
7. Modular LED Display System with Shape-Specific Processing and Integrated Controllers
Samsung Electronics Co., Ltd., 2023
Display device with customizable modular LED displays that can be assembled into any shape. The modular LED displays each have their own controllers and power connections. The modular displays are manufactured by processing them based on their specific shapes. The processed modules are then assembled into the final display. This allows creating displays of arbitrary shapes by optimizing the modules for each shape instead of designing custom displays for each shape. The central processor converts and sends content to the module controllers based on their shapes.
8. LED Display Module with Integrated Main Control Chip and Bus-Connected LED Driver Chip
Shenzhen AOTO Electronics Co., Ltd., SHENZHEN AOTO ELECTRONICS CO LTD, 2023
LED display module and LED display device with simplified architecture to reduce development time and cost compared to traditional LED display modules. The LED display module has a main control chip with an instruction decoder, storage unit, and DMA channel. The decoder converts instructions into control signals for operations. The chip connects to the LED driver chip via a bus. This eliminates separate capture, sending, and scanning cards. The display device has a control system with a transmission interface, data processing chip, and component with multiple interfaces. The LED modules connect to the component interfaces. The control system also has an instruction memory for power-on initialization.
9. LED Display Screen with Integrated Control Module within Enclosure for Modular Configuration
XIAN QINGSONG OPTOELECTRONIC TECH CO LTD, XIAN QINGSONG OPTOELECTRONIC TECHNOLOGY CO LTD, 2023
LED display screen with integrated control module inside the display module enclosure to eliminate the need for a separate control box. The display has multiple modules with lamp panels inside boxes. One module per box has the control module. This allows splicing different numbers of modules for variable display sizes. The control module is connected to the lamp panels inside the box using wiring. This integrates the control electronics into the display enclosure, simplifying manufacturing, installation, and maintenance versus external control boxes. The integrated design enables thin, full-screen LED displays.
10. Modular Micro LED Display with Side Surface Connectivity and Integrated Synchronization Controller
JO SUNG HYUN, 2023
Micro LED display device that can be connected to neighboring micro LED displays to form a tiled display system without requiring individual setup. The displays have terminals on their side surfaces to connect to adjacent displays. Each display contains a controller that can communicate with connected displays using packets containing arrangement and identification data. This allows the displays to exchange data and synchronize without a central controller.
11. Modular LED Display Panels with Uniform Dimensions and Variable Pixel Pitches for Customizable Resolution Assemblies
Ultravision Technologies, LLC, 2022
Modular LED display panels with different pixel pitches that can be combined to create custom resolution displays without needing multiple sizes. The panels have the same size and shape but different pixel pitches. This allows interconnecting and tiling the panels with different resolutions to form larger displays without needing custom-sized panels for each resolution.
12. Multi-Color LED Display Module with Independent Bias Circuits for Grouped LEDs
COMMISSARIAT A LENERGIE ATOMIQUE ET AUX ENERGIES ALTERNATIVES, 2022
Compact multi-color LED display module for emissive displays like televisions, computers, and smartphones that enables high resolution and multi-viewpoint displays. The module has a fixed number of LEDs per group, like 2, and a separate bias circuit for each group to individually control the LEDs. This allows simultaneous emission with common timing. The bias circuits can adjust LED power through current or time modulation. Multiple modules can display a pixel with subpixels from different colors. This allows compactness, parallel processing, and flexibility for multi-viewpoint displays.
13. Selective MicroLED Tile Placement for Pixel Uniformity Based on Parameter Sorting
Corning Incorporated, 2022
Optimizing pixel uniformity in microLED displays by selectively placing tiles based on a predetermined parameter. The parameter could be microLED brightness or color accuracy. The method involves sorting tiles based on their parameter values, then assembling the display using sorted tiles. Adjacent tiles are paired with one having a higher parameter value than the other. This helps mitigate pixel non-uniformities.
14. MicroLED Display with Separated Driver Circuitry and Substrate-Integrated Conductive Paths
Intel Corporation, 2022
Reducing pixel pitch of microLED displays by separating the driver circuitry from the microLED array. The microLED matrix is on one side of a substrate and driver circuits are on the other side. Conductive paths in the substrate connect the microLEDs to the drivers. This allows reducing pixel size beyond the microLED size limitation. A separate driver circuit provides scan and PWM signals to the matrix drivers. The matrix drivers then control the microLEDs based on the scan and PWM signals.
15. Modular Micro LED Display with Selective LED Module Power Control
SHENZHEN OUTOELECTRON CO LTD, 2022
Energy-saving Micro LED display screen that reduces power consumption by allowing individual LED modules to be turned off when not in use instead of the entire display. The display has a main control module, power supply module, and multiple LED modules. Each LED module has an interface to connect to the control and power modules. The control module converts video data and sends it to the LED modules. The power module supplies power to the display. When a module is not needed, the control module can disable power to that module instead of the whole display.
16. Micro LED Display with Pixel Array and Integrated Signal Compensation Controller
PLAYNITRIDE DISPLAY CO LTD, 2022
Micro LED display with high resolution and compact layout to improve display quality and density. The micro LED display has a circuit board with micro LEDs having pixel arrays. A controller on the board drives the micro LEDs. The controller has an interface, data driving circuit, and core circuit. The interface receives command/data signals. The core circuit generates compensated display info based on micro LED arrangement in each pixel. The data driving circuit generates control signals for the micro LEDs using the compensated info. This allows packed micro LED displays with high resolution and compact layout as the controller optimizes the display signal for each micro LED.
17. Spliced Micro LED Display Panel with Stacked Micro LED Modules Featuring Internal Circuits, Conductive Vias, and Light-Blocking Layers
PlayNitride Display Co., Ltd., 2022
Spliced micro LED display panel with improved yield and reduced size compared to individual micro LED transfer. The panel is made by connecting multiple micro LED modules to circuit boards. The modules are stacked and bonded together with smaller gaps between adjacent modules on adjacent boards. This reduces transfer time and improves yield versus transferring individual micro LEDs. The modules have features like internal circuits, conductive vias, and light-blocking layers to enable stacking and bonding.
18. Micro LED Display with Single Controller Driving Compensated High-Density LED Array
PlayNitride Display Co., Ltd., 2022
Micro LED display with high resolution and improved display quality using a single controller. The display has closely packed micro LED devices on a circuit board. A single controller drives the micro LEDs by transmitting signals to control their display statuses. The controller calculates compensated display data based on the micro LED arrangement to improve image quality. By reducing the pitch between micro LEDs and using a single controller, the display resolution is increased compared to one-to-one control.
19. MicroLED Display Assembly with Shape-Matched Wells and Vertical Electrode Platforms for Self-Alignment
eLux, Inc., 2022
Fluidic assembly of high-resolution microLED displays using a specific LED shape and trap structure to enable self-alignment during assembly. The microLEDs have vertical electrodes and a unique shape. The display substrate has wells with matching shapes and platforms for the microLED electrodes. When suspended microLEDs flow over the substrate, they self-align in the wells due to the shape match. This allows precise positioning of millions of microLEDs using fluidic assembly for high-resolution displays.
20. Micro LED Display Device with Redundant Element Array and Dynamic Pixel Compensation Mechanism
CHANGCHUN INST OPTICS FINE MECH & PHYSICS CAS, CHANGCHUN INSTITUTE OF OPTICS FINE MECHANICS AND PHYSICS CHINESE ACADEMY OF SCIENCES, 2021
Micro LED display device with redundant elements and dynamic compensation to mitigate defects and improve yield. The display has more LED rows and columns than needed to compensate for dead pixels. A mechanism moves the excess LEDs to cover defective areas. The controller manages the LED array and movement to display an image without defects.
Since the extensive application of micro-LED displays depends on solving technological issues, scientists are working hard to find answers. Three main issues that are being addressed are heat control, LED protection, and exact placement. Advancements in micro-LED modular assembly methods, such as alignment-free bonding and epitaxial layer slicing, have the potential to enhance flexibility and performance.
Get Full Report
Access our comprehensive collection of 44 documents related to this technology


