Improved Dynamic Viscosity of Lubricating Oil Under Shear
Modern lubricating oils operate under increasingly demanding conditions where dynamic viscosity varies significantly with applied shear rates. In heavy industrial gearboxes, shear forces can exceed 400 Pa, while temperatures fluctuate between ambient and 150°C during operation cycles. These conditions create a fundamental challenge: oils that maintain optimal film thickness at 40 mm²/s viscosity under low shear may thin excessively under high-shear conditions, compromising bearing protection and energy efficiency.
The engineering challenge lies in developing lubricant formulations that maintain appropriate viscosity characteristics across the full spectrum of shear rates while simultaneously preserving thermal stability and oxidation resistance.
This page brings together solutions from recent research—including non-Newtonian particulate thickeners that exhibit variable viscosity characteristics, ethylene-α-olefin copolymer viscosity modifiers with defined molar content, polyalkyl(meth)acrylate polymers with specific molecular weights, and novel triblock copolymer architectures. These and other approaches demonstrate practical methods to achieve improved dynamic viscosity behavior across varied operating conditions while maintaining cost-effectiveness and compatibility with existing equipment.
1. Lubricant Composition with Non-Newtonian Particulate Thickener and Variable Viscosity Characteristics
IDEMITSU KOSAN CO LTD, 2025
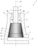
Lubricant composition with reduced oil leakage, oil scattering, and improved pore permeability for applications like impregnated bearings and machine tool lubricants. The composition contains a lubricant base oil and particles with a thickener. The particles behave like a non-Newtonian fluid with low viscosity at low shear stress and high viscosity at high shear stress. This provides the benefits of reduced oil leakage and scattering while also reducing stirring resistance during operation compared to conventional lubricants. The particle size, thickener ratio, and base oil viscosity are optimized for this behavior.
2. Lubricant Composition with Polyalphaolefin Base Oil and Ethylene-Propylene Copolymer for Gearboxes
TOTALENERGIES ONETECH, 2024
Lubricant composition for industrial gearboxes, particularly windmill gearboxes, comprising at least 30% polyalphaolefin base oil with a kinematic viscosity of ≤5 cSt at 100°C and at least 5% ethylene-propylene copolymer with a kinematic viscosity of 200-5000 cSt at 100°C. The composition provides improved oxidation stability and energy efficiency for high-stress gear applications.
3. Ethylene-α-Olefin Copolymer Viscosity Modifier with Defined Molar Content and Rotational Viscosity
MITSUI CHEMICALS INC, 2024
Viscosity modifier for lubricating oil and hydraulic fluid composition. The viscosity modifier comprises an ethylene-α-olefin copolymer with specific characteristics, including an ethylene molar content rate of 40-60 mol%, a rotational viscosity of 1,000-5,000 mPa·s at 150°C, and a Hasen Chromaticity of 30 or lower. The copolymer is produced using a specific catalyst system and process conditions. The viscosity modifier is used in a hydraulic fluid composition that contains a lubricating oil base oil and has a kinematic viscosity at 40°C of 28-170 mm2/s.
4. Investigating linear and non-linear dynamic characteristics of textured journal bearings with slip boundary condition and pseudoplastic lubricants: a numerical study
Mohammad Arif, Saurabh Kango, Dinesh Kumar Shukla - IOP Publishing, 2024
Abstract External excitations and unbalanced rotor forces can increase vibration amplitudes and may also cause the breakdown of continuous liquid lubricant film in hydrodynamic journal bearings. The perfect isolation of the journal-bearing system from these undesirable forces and excitations are difficult. However, recent studies suggest that by utilizing advanced manufacturing techniques, smart coating materials, and highly efficient synthetic lubricants; one can improve the reliability of hydrodynamic lubricant film under such critical operating conditions. In the present study, authors observed the influence of micro-scale textures, low surface energy coatings with slip boundary condition, and pseudoplastic lubricants on the stability margin of hydrodynamic journal bearings. To perform this investigation, the unsteady thermo-hydrodynamic Reynolds equation with considering Elrod cavitation algorithm has been solved. Further, to observe variation in stability margin as compared to conventional bearings, the various dynamic characteristics such as stiffness and damping coefficients, ... Read More
5. Shear properties and dynamic responses of greases in a micrometer-order gap
H Wang Chun, Tomoko Hirayama, Naoki Yamashita - Frontiers Media SA, 2024
Grease is used as a lubricant in a wide range of fields, including bearings, because it reduces friction, prevents harmful wear of components, protects against rust and corrosion, and acts as a seal to prevent the invasion of dirt and water. Although most of the research on grease has focused on the environment inside the bearing, there has been little research on the fundamental lubrication mechanism of grease. It is known that thickeners, which keep a complex three-dimensional structure in the grease, have a significant effect on the shear characteristics of grease, and it is assumed that this is due to the orientation of the thickener structure in the shear direction. In this study, the apparent viscosity of grease in a micro-order gap was measured using our original viscometer and compared with the apparent viscosity measured with a submillimeter-order gap rheometer because grease may show different rheological properties compared to conventional measurements. In addition, the dynamic response of viscous resistance that appeared when each grease was subjected to a change in the s... Read More
6. Fast flow of an Oldroyd-B model fluid through a narrow slowly varying contraction
E. J. Hinch, Evgeniy Boyko, Howard A. Stone - Cambridge University Press (CUP), 2024
Lubrication theory is adapted to incorporate the large normal stresses that occur for order-one Deborah numbers, $De$ , the ratio of the relaxation time to the residence time. Comparing with the pressure drop for a Newtonian viscous fluid with a viscosity equal to that of an Oldroyd-B fluid in steady simple shear, we find numerically a reduced pressure drop through a contraction and an increased pressure drop through an expansion, both changing linearly with $De$ at high $De$ . For a constriction, there is a smaller pressure drop that plateaus at high $De$ . For a contraction, much of the change in pressure drop occurs in the stress relaxation in a long exit channel. An asymptotic analysis for high $De$ , based on the idea that normal stresses are stretched by an accelerating flow in proportion to the square of the velocity, reveals that the large linear changes in pressure drop are due to higher normal stresses pulling the fluid through the narrowest gap. A secondary cause of the reduction is that the elastic shear stresses do not have time to build up to their steady-state equilibr... Read More
7. Analysis of Water-Lubricated Journal Bearings Assisted by a Small Quantity of Secondary Lubricating Medium with Navier–Stokes Equation and VOF Model
Xiaohan Zhang, Tao Yu, Hao Ji - MDPI AG, 2024
Due to the low viscosity of water, water-lubricated bearings are susceptible to significant wear and noise in demanding operating conditions. It has been demonstrated that a small quantity of secondary lubricating medium can improve the lubrication performance of water-lubricated contact surfaces and achieve the purpose of temporary risk aversion. As a further step, the feasibility of the proposed idea is experimentally validated on a water-lubricated bearing test bench. A numerical model that couples the NS equation and the VOF model is then developed to investigate the behavior of the flow field lubricated by pure water and water with a small quantity of the secondary lubricating medium. This model provides the predictions of important quantities such as the load-carrying capacity, the secondary lubricating medium volume fraction and the contact pressure under different lubricated conditions. The results show that the secondary lubricating medium can enter into the contact region and improve the lubrication performance of water-lubricated bearings, especially at lower shaft rotati... Read More
8. Influence of water evaporation on elastohydrodynamic lubrication with water-containing polyalkylene glycols
Stefan G. Hofmann, Thomas Lohner, Karsten Stahl - Tsinghua University Press, 2024
Abstract The reduction of frictional power losses in power transmitting gears takes a crucial role in the design of energy- and resource-efficient drivetrains. Water-containing lubricants like glycerol and polyalkylene glycols have shown great potential in achieving friction within the superlubricity regime with coefficients of friction lower than 0.01 under elastohydrodynamic lubrication. Additionally, a bio-based production of the base stocks can lead to the development of green lubricants. However, one challenge associated with the application of water-containing lubricants to gearboxes is the evaporation of water and its impact on the lubricant properties. In this study, the influence of water evaporation on elastohydrodynamic friction and film thickness was investigated for three water-containing polyalkylene glycols. Two nominal water contents of 20 wt% and 40 wt% and two viscosities were considered. The results show that the friction increases continuously with higher evaporated water content, while the overall friction level remains low in nearly water-free states. A similar ... Read More
9. The effect of fluid viscoelasticity in soft lubrication
Mutiara Sari, Carmine Putignano, Giuseppe Carbone - Elsevier BV, 2024
This study explores the influence of fluid viscoelasticity in soft lubrication, in which elastohydrodynamic lubrication (EHL) plays an important role. Our findings reveal that introducing polymers can significantly reduce the friction coefficient, particularly for high Deborah numbers, i.e., the ratio between the polymer relaxation time and the flow residence time, due mainly to an increased minimum film height. This augmented film thickness reduces the Newtonian pressure contributions, lowering friction. The study highlights the non-linear relationship between Deborah numbers, load, and viscoelasticity effects, as well as the complex interplay between these factors in the Pipkin space analysis. These insights provide a comprehensive understanding of the fluid viscoelasticity in soft lubricated contacts.
10. Research Status on the Physical Properties of Working fluid-Lubricant Mixture Systems{fr}État de la recherche sur les propriétés physiques des systèmes de mélange fluide de travail-lubrifiant
Zijian Lv, Tianci Zhang, Tingxiang Jin - Elsevier BV, 2024
As countries prioritize climate change concerns, promoting the use of new environmentally friendly working fluids has become a common goal for the industry. In thermal systems, lubricants come into contact with these working fluids and directly affect their utilization efficiency. Therefore, investigating the effect of lubricant mixing on the physical properties of process media is essential to promote the adoption of new environmentally friendly working fluids. This paper categorizes and organizes recent research literature on working fluids and lubricants. It was aimed to comprehend the effect of lubricants on the operating characteristics of working fluids. By comparing the research methods and experimental equipment utilized in previous studies, this work analyzes the variation of basic physical properties, including miscibility, solubility, viscosity, and gas-liquid phase equilibrium. In addition, the effects of lubricant mixing in terms of heat exchange characteristics, additives, and material compatibility are also summarized. These findings provide a reference for achieving o... Read More
11. <strong></strong>Enhancing Lubricating Oil Performance through the Integration of Viscosity Improvers in Mono-Grade and Multi-grade Blends
Nnadikwe Johnson, Iheme Chigozie - MDPI AG, 2024
ABSTRACT Lubricants play a crucial role in reducing friction and wear between surfaces in relative motion. Engine oil, as a lubricant, is specifically designed to minimize friction and wear between the moving parts of different equipment and machinery. Engine oil blending serves the purpose of adjusting the variety of lubricants available to meet specific performance requirements. Through blending, it is possible to tailor the characteristics of the lubricating oil, such as viscosity, stability, and additive content, to optimize its effectiveness in reducing friction, protecting engine components, and enhancing overall equipment performance. By customizing lubricant formulations through blending, manufacturers can address the diverse lubrication needs of modern engines and machinery, ensuring smooth operation, longevity, and efficiency.To enhance the quality of the lubricant and achieve the desired high-performance multi-grade engine oil, a systematic approach was followed. The process began with testing the specific gravity of the oil using a hydrometer and thermometer to ensure acc... Read More
12. Effects of confinement-induced non-Newtonian lubrication forces on the rheology of a dense suspension
Alan Rosales-Romero, Adolfo Vázquez-Quesada, S. S. Prasanna Kumar - Elsevier BV, 2024
In this work, we propose a functionalised bi-viscous lubrication model to study the material properties of concentrated non-Brownian suspensions and explore the possible confinement-induced non-Newtonian effects of the lubricant in the rheological response of this type of suspensions. From tribological studies, it is well-known that even macroscopically Newtonian liquids under strong confinement might exhibit properties which deviate significantly from their bulk behaviour. When two surfaces separated by an extremely small gap (still large compared to the molecular size) are sheared, strong shear-thinning of the lubricant viscosity at low shear-rates is observed, in spite of its Newtonian-like bulk response. This is connected to a significant increase of the zero-shear-rate viscosity under extreme confinement. We start from an effective lubrication algorithm recently proposed and develop a new gap-size-dependent interparticle bi-viscous lubrication model, able to capture qualitatively the main phenomenology of confined lubricants. We solve the lubrication interaction between particle... Read More
13. Nonequilibrium molecular dynamics investigation on friction behavior of organic friction modifiers under dynamic load
Pengchong Wei, Pan Gao, Wei Pu - Elsevier BV, 2024
The evolution of lubricating oil containing additives under dynamic conditions is very significant, since its oil film structure, velocity distribution, and adsorption characteristic have an obvious impact on friction and wear. In this work, a boundary lubrication (BL) and elastohydrodynamic lubrication (EHL) models under sinusoidal load were carried out by nonequilibrium molecular dynamics (NEMD), using iron oxide as the substrate, hexadecane, and stearic acid molecules as lubricants. It was discovered that the friction in the BL regime is positively correlated with the degree of additive's solidification. The greater the solidification degree of additive layers, the less the interlacing between them, making the relative motion between them easier and reducing compression oscillation within them, thus diminishing friction in the BL regime. The degree of liquefaction of base oil and additive regions, as well as the velocity difference within their interlacing zones, are connected to the friction force in the EHL regime. At high frequencies as well as large amplitudes, the oil film ha... Read More
14. A Coarse Grained Molecular Dynamics Model for the Simulation of Lubricating Greases
Anthony Benois, Sebastián Echeverri Restrepo, Nicola De Laurentis - Springer Science and Business Media LLC, 2024
Abstract The rheological properties of lubricating greases are determined by the viscosity of the base oil, the interaction between base oil and thickener, and the interaction between thickener particles. The contribution of the oilthickener interactions to the viscosity is well known, but the contribution of the thickenerthickener interactions has not yet been studied by employing theoretical or computational frameworks. In this paper, we use coarse-grained molecular dynamics to simulate a fibrous microstructure, and we show that the experimentally observed viscoelastic/plastic behaviour can be well reproduced. A parametric study shows that the apparent viscosity increases with increasing fibre length, fibre stiffness and thickener concentration. This is as expected, showing that this modelling approach is useful to study effects on grease rheology that are not accessible experimentally, such as impact of fibre entanglement or agglomeration.
15. Modified Reynolds Equation for Confined High Viscosity Film Lubrication and Lubrication Analysis of Micro-Tapered Pad Bearing
Kyosuke Ono - Japanese Society of Tribologists, 2023
This study proposes a mathematical expression for the high-viscosity surface layer generated by the confinement of a lubricant film, which is evident in engine oil with a metallic detergent additive. The characteristics of a microtapered pad bearing lubricated by a confined high-viscosity film were clarified by solving a modified Reynolds equation for the confined high-viscosity lubricant film. The load capacity began to increase compared with that in the bulk viscosity case when the trailing gap decreased from twice the saturated high-viscosity layer thickness. The maximum value of the friction coefficient at the trailing gap near the layer thickness becomes remarkable compared with the case of the adsorbed high-viscosity layer model. Assuming that the increased effective viscosity caused by the confinement of the lubricant film is due to an adsorbed high-viscosity layer, the load capacity is significantly overestimated when the trailing gap is greater than the saturated high-viscosity layer thickness. Next, a mathematical expression of the synthetic viscosity of a lubricant with a ... Read More
16. An analytical study on nonlinear viscoelastic lubrication in journal bearings
Ali Abbaspur, M. Norouzi, Pooria Akbarzadeh - Springer Science and Business Media LLC, 2023
This paper presents a novel analytical solution for journal-bearing viscoelastic lubrication using the perturbation method. The nonlinear Giesekus model was used for the constitutive equations to study the effects of fluid elasticity, shear-thinning viscometric functions, and strain-hardening elongational viscosity of viscoelastic lubrication. The investigation focuses on the impact of characteristic parameters such as mobility factor, eccentricity ratio, and Weissenberg number on the fluid film pressure distribution, load capacity, and shear stress. Although distinguishing between the normal stress differences and extensional viscosity in mixed viscoelastic flows is complicated, we investigated the role and contribution of these two factors. By increasing the elasticity of the fluid, the portion of both mentioned parameters increases consequently. Furthermore, analyses and comparisons show the contributions of the first normal stress and elongational viscosity to the load capacity of the bearing through the stress ratio and flow type parameter for the first time. The research findin... Read More
17. Analysis of flow diffusion of secondary lubricant in water-lubricated bearings
Qingchen Liang, Peng Liang, Feng Guo - AIP Publishing, 2023
To reduce the lubrication failure of water-lubricated bearings under short-term harsh conditions, preliminary experiments have shown that temporarily supplying a small amount of lubricating oil into a bearing as a secondary lubricant can improve the load capacity of the water film therein. However, the physical flow and diffusion state of this secondary lubricant (oil) in water are unclear. Therefore, a mixed lubrication model and a volume-of-fluid model are incorporated to study the diffusion behavior of a small amount of lubricating oil in a water-lubricated bearing. The results show that there is a backflow effect in the local area inside the bearing, where the fluid velocity is in the opposite direction to the linear velocity of the shaft. This backflow effect intensifies with increasing eccentricity ratio, which enlarges the oil-free zone in the middle part of the bearing. In the convergence area at the water inlet end of the bearing, the water supply pressure and backflow effect prevent the lubricating oil from escaping. Increasing the shaft speed has a positive effect on the d... Read More
18. Grease Composition with Polyalphaolefin Base Oil and Soap Thickener Exhibiting Specific Viscosity Transition Stress and Shear Viscosities
JTEKT CORP, 2023
Grease composition for lubricating applications like gears that provides stable grease supply and retention. The grease has a base oil of polyalphaolefin (PAO) and a soap thickener. It has a viscosity transition stress of 300 Pa or more at 25°C to penetrate contact areas, but less than 40 Pa at 100°C to prevent grease migration. Shear viscosities at 25°C and 100°C are also optimized to balance grease supply and retention.
19. Comment on Neupert, T.; Bartel, D. Evaluation of Various Shear-Thinning Models for Squalane Using Traction Measurements, TEHD and NEMD Simulations. Lubricants 2023, 11, 178
Scott Bair - MDPI AG, 2023
The field of EHL (elastohydrodynamic lubrication) may be the only one in science in which a model for shear-dependent viscosity would be evaluated by means other than viscometer measurements [...]
20. An Investigation Into the Influence of Viscosity on Gear Churning Losses by Considering the Effective Immersion Depth
Joseph F. Shore, Anant S. Kolekar, Ning Ren - Informa UK Limited, 2023
We present an experimental investigation into the influence of oil viscosity on gear churning losses in splash lubricated transmission systems. The inertia rundown method was used to perform tests on a single gear within a cylindrical housing with several oils of different viscosities at several immersion depths. A complex and non-monotonic relationship between churning torque and viscosity was observed which was highly influenced by the rotational speed, with higher viscosity oils resulting in lower churning torque at higher speeds in some cases. This was attributed to a reduction in effective immersion depth due to oil being centrifugally distributed around the casing by the rotating gear, an effect that was observed to be more pronounced with higher viscosity oils. An effective immersion depth parameter, dependent on the rotational speed of the gear and the lubricant viscosity, was defined to account for this phenomenon. Gear churning losses could be better predicted using an existing empirical model when this parameter was used instead of the nominal immersion depth as is usually... Read More
21. A numerical study on the impact of lubricant rheology and surface topography on heavily loaded non-conformal contacts
Deepak K. Prajapati, Dilshad Ahmad, Jitendra Kumar Katiyar - IOP Publishing, 2023
Abstract The increasing requirement of high-power density (power throughput/ weight) in modern day machines lead to thin film lubrication condition in various machine components (rolling element bearings, gears, cams, etc,) due to severe loading conditions. Surface roughness features and lubricant rheology plays a vital role in thin film lubrication, and significantly affects the lubrication performance and lifetime of machine components. The present work demonstrates surface topography and lubricant rheology effects on the traction coefficient for heavily loaded non-conformal contacts. The load-sharing concept considering elastic-plastic deformation of asperities, and Carreau shear-thinning rheological model is employed to describe the dry rough contacts and non-Newtonian behavior of lubricant. An influence of surface topography parameters such as roughness, skewness, kurtosis, and pattern ratio on the traction coefficient is discussed. From results, it is found that among different surface topographies, negatively skewed surfaces having isotropic surface pattern exhibit minimum tra... Read More
22. Study on Lubricating Performance of the Bubbly Oil Under High Shear Rate—Part 2: Application Study in High-Speed Bearing
Shuyun Jiang, Shaohua Li, Feida Zhou - ASME International, 2023
Abstract This paper aims to investigate the lubricating performance of the bubbly oil. Due to space limitation, the work is divided into two parts. Part 1 concluded that the bubbly oil under high shear rate has a lower viscosity than the non-aerated oil, and the air volume fraction can be adjusted conveniently to reach a high value. Based on this, in Part 2, we intend to explore the feasibility of using the bubbly oil in lubricating high-speed bearings. Here, we select a step thrust bearing as object and analyze its static characteristics under the bubbly oil lubrication. A test rig for the high-speed step thrust bearing was developed to measure the static characteristics of the bearing under the bubbly oil lubrication. The lubrication models for the hydrodynamic step thrust bearing were established to predict the bearing static characteristics. The results show that the static characteristics parameters of the bearing under the bubbly oil lubrication are less than those under the non-aerated oil lubrication, and the differences of static characteristics parameters of the bearing bet... Read More
23. CFD Performance Analysis of Journal Bearing Using Coconut Oil as Lubricant
Ammar bin Ariffin, Khairul Imran Sainan, Syazuan Bin Abdul Latip - Trans Tech Publications Ltd, 2023
Lubrication is one of the important factors for a journal bearing to function well. Therefore, the use of bio-lubricants such as coconut oil and vegetable oil are highly recommended for their high level of biodegradability to reduce the risk of environmental pollution. Vegetable oil like coconut oil has a great lubricating quality including low friction coefficient and improved oxidation stability which is very suitable to be used as a lubricant. The performance assessment of journal bearings utilizing coconut oil as a bio-lubricant and varying angular velocity and eccentricity ratio will be the main emphasis of this study. The behavior of the journal bearing with coconut oil as the lubricant will be examined using the Computational Fluid Dynamics (CFD) program, ANSYS Fluent. Using ANSYS Fluent, the pressure distribution of pure coconut oil is analytically studied. To evaluate the efficacy of each lubricant with a varied value of angular velocity utilized by the journal in journal bearings, average viscosity, viscosity index, and produced maximum pressure can be discovered under the ... Read More
24. Influence of Real Lubricant Density–Pressure Behavior on the Dynamic Response of Elastohydrodynamic Lubricated Conjunctions
Jimmy Issa, Wassim Habchi - ASME International, 2023
Abstract The current work investigates the influence of real lubricant densitypressure behavior on the dynamic response of elastohydrodynamic lubricated conjunctions. Such a response is often based on a nonrealistic universal equation of state, despite longstanding evidence of its lack of support by measurements. A finite element framework is employed to investigate the damping and stiffness characteristics of line contact elastohydrodynamic (EHD) lubricating films, subject to a harmonic loading. Both the equivalent stiffness and damping coefficients of lubricating films are found to increase with the base applied external load and its amplitude of oscillation. They decrease however with increasing mean entrainment speed and load oscillation frequency. That is, they both increase as lubricant films get thinner. By comparison with the real densitypressure response of a highly compressible silicon oil, the universal equation of state is shown to underestimate the lubricant films stiffness and damping characteristics. The relative deviations in equivalent damping and stiffness coeffi... Read More
25. Study Comparing the Tribological Behavior of Cottonseed and Castor Oil Biodiesel Blended Lubricant under varying Load Conditions
Raviteja Surakasi, Ravi Ganivada, Ramya Pakalapati - International Journal for Research in Applied Science and Engineering Technology (IJRASET), 2023
Abstract: We have an increasing global need for bio lubricants that are safe for human and environmental use, easily biodegradable, and non-polluting. The friction and wear qualities of cotton seed blended lubricant as well as castor blended lubricant are compared and contrasted in this research using a Pin on disc wear testing Tribometer. In this research, we will look at the study's results and analyse their significance. Blended lubricants were created by combining cotton seed & castor based biodiesel with the basic lubricant SAE20W40 at volumetric ratios of 5, 10, 15, & 20%. Cotton seed and castor blended bio lubricants were tested for friction and wear at sliding velocities of 2.5 metres per second while subjected to weights of 50 N, 100 N, and 150 N. Wear might be slowed by as much as 15 percent by mixing in cotton seed biodiesel with the base oil, as has been shown. When this threshold is passed, wear increases at an ever-increasing pace. Castor oil blended lubricant performed best in wear tests when coupled with a base lubricant at a 5 and 10 percent castor oil blende... Read More
26. Low Friction Drilling Fluid Additive Technology
Nelson Akaighe, S. C. Zeilinger, Joshua Cutler - SPE, 2023
Abstract The use of lubricants is commonplace when drilling with water-based drilling fluids. They are less frequently applied when drilling with non-aqueous fluids, as the oil-based drilling fluid is thought to impart a high lubricity. With increased reach of the wells, lubricants are also applied in non-aqueous fluids (NAF) to reduce torque and drag at high angle, for extended reach and horizontal wells to improve drilling efficiency. However, the performance of these lubricants in NAF at extended periods of elevated temperature at downhole conditions is often inconsistent, thought to be hampered by ineffective metal binding and hydrolytic instability of the lubricant molecule. This requires frequent re-dosing and therefore higher cost to maintain performance. In order to identify a better-performing lubricant, it was necessary to better understand the fundamentals of lubrication in a drilling fluid. For example, what portion of the well contributes most to torque and drag? What is the frictional regime that dominates the lubricity between a drill pipe and its contact points? Looki... Read More
27. Thickening Properties of Carboxymethyl Cellulose in Aqueous Lubrication
Jan Ulrich Michaelis, Sandra Kiese, Tobias Amann - MDPI AG, 2023
Increasingly restricted availability and environmental impact of mineral oils have boosted the interest in sustainable lubrication. In this study, the thickening properties of sodium carboxymethyl celluloses (CMCs) were investigated in order to assess their potential as viscosity modifiers in aqueous gear and bearing fluids. The pressure, temperature and shear dependence of viscosity was studied at different concentrations and molecular weights MW. The tribological properties were investigated at different viscosity grades in both sliding and rolling contact, and compared to rapeseed oil and polyethylene glycol 400. The viscosity of the CMC solutions was adjustable to all application-relevant viscosity grades. Viscosity indices were similar or higher compared to the reference fluids and mineral oil. Temporary and permanent viscosity losses increased with MW. Permanent viscosity loss was highest for high MW derivatives, up to 70%. The pressure-viscosity coefficients were low and showed a high dependency on shear and concentration. In rolling contact, low MW CMC showed up to 35% lowe... Read More
28. Lubrication with Non-Newtonian Fluids
Bastiaan Veltkamp, J. Jagielka, Krassimir P. Velikov - American Physical Society (APS), 2023
Hydrodynamic lubrication is studied for both shear thinning and viscoelastic polymer solutions. We find that elasticity, notably strong normal stresses, does not change the friction significantly for the range of parameters tested in this manuscript. Shear-thinning properties, on the other hand, do change the formation of the lubricating layer thickness and the dependence of friction on velocity relative to Newtonian fluids. A hydrodynamic model that includes shear thinning is developed and compared to experimental data. The model describes the dependence on lubrication parameters well, but underestimates the lubricating layer thickness by a constant factor of roughly 1.5. The theory allows us to define a Hersey-like number for shear-thinning fluids that describes the lubricating layer thickness as a result of the balance between normal load and viscous force. For each tested liquid it succeeds in collapsing friction measurements onto the same curve. The friction analysis for both lubrication theory and experiments then reveals that shear thinning mainly changes the layer thickness, ... Read More
29. Lubricant Composition with Hydrocarbon Base Stock and Ester Combination for Driveline and Industrial Gears
LUBRIZOL CORP, 2023
Lubricant composition for driveline and industrial gears containing a hydrocarbon base stock and a combination of esters, including a carboxylic acid mono-ester and a dicarboxylic acid di-ester, to improve traction coefficient and reduce energy losses at low temperatures. The composition enables the use of lower-cost Group II and III base oils while achieving comparable performance to high-end Group IV oils.
30. Elucidation of Correlation between Molecular Structure and Viscosity by Measuring Temperature Dependence of Dielectric Relaxation Spectra and Shear Viscosity
Kyosuke Uchida, Shintaro Itoh, Kenji Fukuzawa - Japan Society of Mechanical Engineers, 2023
Reducing lubricant viscosity is one effective way to improve the energy efficiency of automobiles. Designing a lubricant with the desired properties requires elucidating the relation between viscosity and molecule structure. In this study, we measured the temperature dependence of dielectric relaxation for lubricants with different molecular structures. The dielectric relaxation measurements can evaluate the motility of single molecules influenced by the ambient viscosity. Additionally, we measured the temperature dependence of lubricant viscosity with a rotational viscometer. By comparing the results of both flow viscosity and dielectric relaxation measurements, we find a correlation between flow activation energy and single-molecule mobility when viscosity is dependent on molecular weight, while there is no correlation between them when polarity dominantly affects viscosity.
31. In-situ ultrasonic viscometry of lubricants under temperature and shear
G. Peretti, Nathalie Bouscharain, Nicole Dörr - Elsevier BV, 2023
Understanding the behaviour of engine and gear oils, especially the viscosity, under temperature and shear is important to improve machine operation. A novel viscometer using ultrasound is presented and used under a range of temperatures. A single cross-temperature (between 20C and 60C) ultrasonic calibration is shown to be sufficient. Next, the ultrasonic viscometer is compared to a conventional viscosity measurement technique for Newtonian and non-Newtonian lubricants. Newtonian viscosity standard fluids and shear-thinning engine oils are studied. Both viscosity measurement techniques match for Newtonian fluids but ultrasonic measurements are consistently lower for shear-thinning fluids. It suggests that the ultrasonic viscometer is similar to a high-shear viscometer with a shear rate of about 106s1.
32. Study on the frictional properties of the top ring-liner conjunction for different-viscosity lubricant
Di Hei, Meiru Zheng, Cheng Liu - SAGE Publications, 2023
In modern internal combustion engines, the lubricant viscosity affects greatly the friction power loss. To obtain maximum fuel economy of the engines, the lubricants with different viscosities are considered to evaluate the friction properties of the compression ring-cylinder liner conjunction in the engines in this study. To conduct the evaluation, an improved mixed lubrication model is developed with considerations of the cylinder liner deformation, the lubricant thermal effect & transportation, and the change of lubrication condition from full flooded to starve. On this basis, the influence of different viscosity lubricants on the minimum oil film thickness, friction, power loss, FMEP, and wear load are investigated. The numerical result indicates that the low viscosity lubricant is more beneficial to facilitate the change of lubrication condition from starve to fully flooded. Furthermore, the low viscosity lubricant will result in large wear load on the compression ring surface while reducing the friction power loss.
33. Clarification of the effects of adsorption films of ester-blended oil on friction by in situ reflectance spectroscopy
Kodai Hirata, Motoyuki Murashima, Noritsugu Umehara - Elsevier BV, 2023
In recent years, the demand for friction reduction in oil lubrication systems has become increasingly important due to the need to improve fuel economy and achieve carbon neutrality. Ester-based lubricants are known to show low friction and environmentally friendly, and they have high viscosity indexes. In the present paper, first, in situ reflectance spectroscopy was used to clarify the behavior of the oil-film thickness increase during sliding. The results showed that as the number of ester bonds increased from 1 to 4, the ester oil film thickened and the friction coefficient decreased from 0.10 to 0.06. In addition, oleic-acid-type lubricants were found to have superior ability to form a thicker oil film than the isostearic acid type.
34. Improving the Intrinsic Viscosity for Base Lubricating Oils mixed with OCP by using Some Polymeric Additives
Tiba Naif Jasim, Talib B. Kashmoula - Al-Farabi University College, 2022
The relative viscosity, specific viscosity and reduced viscosity were enumerated to evaluate the intrinsic viscosity for three types of base lubricating oils 40, 60 and 150 stock that were mixed with olefin copolymer of type Polyvinyl chloride-100XA at four temperature degrees of 40, 60, 80 and 100 oC and using of three different kinds of polymeric additives formulations named as Lubrizol 21001, HiTEC 8722B and HiTEC 340. Mixtures of base lubricating oils with proportions of 2, 4, 6, 8 and 10 wt% from the Polyvinyl chloride-100XA were blended with 4 and 8 wt% of the three additives. The results were remarkable and showed that the intrinsic viscosity for the base lubricating oils increase by increasing both temperature degrees and the proportions of Polyvinyl chloride-100XA and the additives.
35. Lubricating Oil Composition with Ethylene-α-Olefin Random Copolymer
MITSUI CHEMICALS INC, 2022
Lubricating oil composition for industrial gears comprising a lubricant base oil and a liquid random copolymer of ethylene and α-olefin prepared by solution polymerization under a specific catalyst system. The composition exhibits excellent temperature viscosity properties, with a kinematic viscosity at 40°C of 100 to 10,000 mm2/s and a viscosity index of 130 or more.
36. Effect of Base Oil and Thickener on Texture and Flow of Lubricating Greases: Insights from Bulk Rheometry, Optical Microrheology and Electron Microscopy
Annika Hodapp, Andreas Conrad, Bernhard Hochstein - MDPI AG, 2022
The structure and flow behavior of lubricating greases depend on the base oil and the type and concentration of the dissolved thickener. In this study, the linear viscoelastic properties of greases were characterized by combining oscillatory shear and squeeze flow covering a broad frequency range (0.1105 rad s1). Multiple-particle tracking (MPT) microrheology and scanning electron microscopy (SEM) provided further insight into local viscoelastic properties and sample structure on a submicron-length scale. The type and viscosity of the base oil did not affect the absolute value of the complex viscosity and the filament shape formed by a given thickener. High-frequency shear modulus data, however, indicated that the thickener lithium 12-hydroxystearate formed stiffer networks/filaments in poly--olefins than in mineral oils. As expected, the viscosity increased with increased thickener concentrations, but microscopy and high-frequency rheometry revealed that the thickness, length, and stiffness of the individual filaments did not change. In mineral oil, the 12-hydroxystearate thicken... Read More
37. Effect of lubricant shear thinning behaviour on major functioning parameters of a pad bearing operating in hydrodynamic lubrication region
Charalampos Salodimitris, Pantelis G. Nikolakopoulos - IOP Publishing, 2022
Abstract Type of lubricant used for fluid film bearings is one of the most important factors to consider. Bearing characteristics have to maintain steady throughout a wide range of conditions. However, viscosity, which is one of the primary lubricant properties, highly deviates depending on environmental and operational conditions. Macro-molecular micro-structure of lubricants is strongly correlated to temperature and shear rate, leading to a shear thinning behaviour. This work aims in studying a pad bearing lubricated by a shear thinning oil in hydrodynamic region. Hydrodynamic wedge was modelled for a small fixed pad bearing of 8.5 mm inner radius, 14.5 mm outer radius, 40 angle and 50 m inlet outlet film thickness difference. Variety of cases were studied for several runner rotational velocities and minimum film thickness. Lubricant was modelled as a carreau fluid. Load carrying capacity, power losses, friction coefficient, mass flow rate, temperature and viscosity were evaluated. From the aspect of load carrying capacity, this specific pad bearing is optimally operating for r... Read More
38. Effect of slip boundary condition and non-newtonian rheology of lubricants on the dynamic characteristics of finite hydrodynamic journal bearing
Mohammad Arif, Saurabh Kango, Dinesh Kumar Shukla - IOP Publishing, 2022
Abstract In the present study, the influence of various slip zone locations on the dynamic stability of finite hydrodynamic journal bearing lubricated with non-Newtonian and Newtonian lubricants has been investigated. Linearized equation of motion with free vibration of rigid rotor has been used to find the optimum location of the slip region with maximum stability margin limit. It has been observed that bearing with interface of slip and no-slip region near the upstream side of minimum film-thickness location is effective in improving the direct and cross stiffness coefficient, critical mass parameter, and critical whirling speed. The magnitude of dynamic performance parameters with slip effect is highly dependent on the rheology of lubricant. Shear-thinning lubricants combined with slip boundary condition shows higher dynamic stability as compared to the Newtonian lubricants under the conventional boundary condition. For all considered rheology of lubricants, the dynamic stability of bearing with slip effect is improving by increasing the eccentricity ratio.
39. Effect of Nanoparticle on the Performance of Water Lubricated Journal Bearing
Nathi Ram Chauhan, Arhantika Khera, Shubhi Lall Agarwal - IOP Publishing, 2022
Abstract Journal bearings have widespread use in machinery with rotating shafts. Hydrodynamic journal bearings have lubricating fluid present between shaft and bearing to reduce friction and allow smooth operation. The lubricating fluid develops pressure when bearing is in operation and this pressure is used to carry load on the shaft. The commonly used lubricants in the industry are petroleum based synthetic oils. To do away with the disposal issues and toxicity regarding synthetic oils, water is used as the lubricating fluid for this study. The effect of adding nanoparticles to water is studied and a program in MATLAB is developed to determine the characteristics of bearing, namely load carrying capacity, coefficients of stiffness and coefficients of damping for shaft speeds 500 rpm, 1000 rpm and 1500 rpm. It is observed that addition of nanoparticles results in increased magnitude of load carrying capacity and the bearing exhibits high value of damping and stiffness coefficients indicating stability of shaft for every speed.
40. A Study of Palm Oil and Engine Oil Viscosity Effect by Using CFD
Zuraidah Rasep, Muhammad Noor Afiq Witri Muhammad Yazid, Syahrullail Samion - Springer Singapore, 2022
Viscosity is the most important lubricant parameter as lubricant requires suitable values to ensure its performance in industrial applications under a high pressure and temperature. In this study, the effects of viscosity on temperature for engine oil (SAE 20W40) and palm oil were studied in journal bearing application using the ANSYS FLUENT CFD (computational fluid dynamic) method. In addition, this study also compared the effects of constant viscosity and viscosities that dependent on temperature for engine oil (SAE 20W40) for an application of journal bearing at a different rotational speed of journal bearing start from 200 rpm, 400 rpm, 600 rpm, 800 rpm, and 1000 rpm. The results show that the pressure distribution in journal bearing is in agreement with the experiment by using the correct method in ANSYS FLUENT. Finally, under the hydrodynamic lubrication regime, the lubricant viscosity has a significant impact on the improvement of a journal bearings most essential aspects (maximum pressure and load carrying capacity). Hence decision to consider constant viscosity conditions o... Read More
41. Numerical analysis of lubricant viscosity variations on operating condition of helical gear system
Khaldoon F. Brethee, Rashaq A. Mohammed, Ghalib R. Ibrahim - Inderscience Publishers, 2022
This study presents a dynamic model to investigate the effects of lubricant viscosity due to oil degradations or oxidations on the vibration signal of helical gear system. The modelling has been extended to consider the effect of elastohydrodynamic lubrication (EHL) to include frictional effects between meshed gears. A ten degree-of-freedom (10-DOF) model has been developed to combine lateral, torsional and axial vibrations of helical gear transmissions with supporting bearings, powerful motor and applied load. The variation of viscosity takes into account through the time-varying of EHL friction coefficient. The results conclude that higher lubricant viscosity could increase internal fluid friction and vibrational excitation, where higher motor power is required to overcome the higher friction of thicker lubricants. The vibration signal can be a good indicator for lubrication condition and it is possible to be used for monitoring the lubrication condition and obtain accurate diagnostic result for tooth surface defects.
42. Effect of Bio Lubricants on the Dynamic Performance of Rotor Bearing System: A Mathematical Model
Muhammad Imran Sadiq, Wan Aizon Wan Ghopa, Mohd Zaki Nuawi - Springer International Publishing, 2022
High-performance machinery operates on fluid-film bearings due to the operating requirements and conditions such as high speed of the shaft. Such extreme operating conditions demand a carefully designed rotor bearing system with suitable lubricant. The lubricant tribological, rheological, and dynamical properties play pivotal role in having the smooth operation of the rotor bearing system. The rising temperature of the lubricant during operation causes reduction in its viscosity and affects the operating bearing clearance. Radial bearing clearance and oil temperature are very critical in rotor bearing system as they may cause flow induced instability like oil whirl and oil whip. These flow induced instabilities that are known to be detrimental for the smooth operation of the rotating machines. Thus, the main objective of current work is to review and summarize the methodologies that are implemented to improve and enhance the dynamic performance of the fluid film journal bearing using the bio-lubricants. The mathematical model was also developed in order to simulate the coefficient of... Read More
43. Dynamic Viscosity-Temperature Characteristics and Models of Various Lubricating Oils
Li Wang, Xudong Gao, Yuhai Shen - Bentham Science Publishers Ltd., 2022
Background: The dynamic viscosity - temperature characteristics of lubricants are the main factors used to determine the oil film thickness and carrying capacity. There are few studies on the factors affecting the dynamic viscosity-temperature characteristics of lubricating oils and the dynamic viscosity-temperature model. Objective: This research aims to analyse the influences of lubricating oil type and initial kinematic viscosity on dynamic viscosity - temperature characteristics and present a new dynamic viscosity - temperature model. Methods: The characteristic curves of dynamic viscosity versus temperature of polyol ester oil, paraffinic mineral oil, and five types of PAO (poly a-olefin) oils with different initial viscosities were obtained by using a kinematic viscosity test device and a density test device. The influences of lubricating oil type and lubricating oil viscosity on dynamic viscosity - temperature characteristics were analysed. Based on our patent technology and repeated verification, a new dynamic viscosity - temperature model was presented. Results: Viscosity - ... Read More
44. The Effect of Thickener Composition Ratios on the Rheological Behaviour of Palm Bio-Grease Formulation
Izatul Hamimi Abdul Razak, Mohamad Ali Ahmad - Springer Singapore, 2022
Lubricating greases constitute a semi-fluid of lubricants with particular properties mainly attributed to the oil viscosity and the chemical reaction between the base stock and thickener compound. This work deals with the development and rheological characterization of a bio-based lubricating grease formulation based on different ratios of the thickener composition. The bio-grease was formulated by palm TMP ester thickened with calcium complex soap that comprises 0.81.2 weight ratios of calcium hydroxide and an equal ratio of stearic and benzoic acids. The grease consistency was determined according to the NLGI grade, whereas the rheological behaviour was characterized through the viscous flow measurements and shear stress shear rate relationship. Results obtained show that the higher calcium hydroxide element in the thickener composition yielded softer palm grease with a viscous structure. Conversely, the lower content of calcium hydroxide or an excess of the acids in the formulated palm grease yielded the higher consistency or harder grease, with viscoelastic liquid structure.
45. Effect of lubricant viscosity on dynamics of high-precision gear considering lubricant-induced backlash reduction
Chen Zhou, Yibo Jiang, Sheng Li - Elsevier BV, 2022
The effect of lubricant viscosity on dynamics of a high-precision spur gear pair with near-zero backlash is investigated under deterministic and uncertain conditions via a tribo-dynamic model. This model, for the first time, considers the backlash reduction induced by the lubricant film between meshing teeth. In general, increasing viscosity can mitigate vibration in off-line-of-action (OLOA) direction and decrease dynamic transmission error (DTE) but can hardly mitigate vibration in line-of-action (LOA) direction. Moreover, increasing viscosity can suppress the uncertainty of OLOA vibration caused by the uncertain backlash, supporting stiffness and meshing stiffness but cannot suppress the uncertainty of DTE. Therefore, gear dynamic performance can be improved by increasing lubricant viscosity. However, to what extent the gear dynamic performance can be improved depends on the operating condition and surface roughness.
46. Investigation of stiffness and damping coefficients in fluid film bearing with bio-oils and mineral-based oil
Muhammad Imran Sadiq, Wan Aizon Wan Ghopa, Mohd Zaki Nuawi - Elsevier BV, 2022
Rotating machinery utilizes fluid film bearings because of their good load carrying capacity and inherent damping properties. Fluid film bearings offer stiffness and damping parameters to ensure dynamic stability. The damping and stiffness characteristics of oil film significantly change the critical speed and unbalance response of the rotor. The damping and stiffness coefficients (direct, cross-coupled) may lead to system instability, also known as self-excited vibrations. Bio-oils have good tribological and physiochemical properties. They are also environment-friendly and bio-degradable. In this work, bio-oils (rapeseed, palm olein, and soybean) are evaluated in terms of their dynamic characteristics to that of mineral-based SAE40 lubricant for journal-bearing applications. The analytical extraction of damping and stiffness coefficients is performed based on the experimental dynamic viscosity data at different temperatures. In comparison to SAE40, the bio-oils have shown improved responsiveness. Bio-oils showed lower cross-coupled stiffness coefficients than SAE40, the primary sour... Read More
47. Measuring lubricant viscosity at a surface and in a bearing film using shear-horizontal surface acoustic waves
G. Tyreas, R.S. Dwyer-Joyce, Rai Singh Notay - SAGE Publications, 2022
The lubricating effectiveness of an oil film in a journal bearing depends on the dynamic viscosity of the oil. The viscosity in turn depends on the local operating temperature, pressure, and shear rate. Reproducing these conditions in a laboratory viscometer to investigate the lubricant behaviour is a challenging task. As a result, methods that allow oil viscosity measurement in-situ in a film, would be preferred. Ultrasound technology utilising shear bulk acoustic waves (BAW) has been used to measure liquid viscosity in the bulk, as well as in-situ in a film; the reflection of a shear BAW from a solid-liquid interface depends on the liquid viscosity. Surface acoustic waves (SAW) have been also used for measuring bulk liquid viscosity. In this paper, shear-horizontal surface acoustic waves (SH-SAWs) were explored for measuring oil film viscosity, as they present good coupling with liquids and sensitivity to surface changes. The main objectives of this work were to generate SH-SAWs on metallic media, investigate the wave response at the metal-oil interface, relate the wave response to... Read More
48. Thermohydrodynamic Analysis of Journal Bearing Using Non-newtonian Lubricants
Kedar Deshmukh, Vilas Warudkar - Springer Singapore, 2022
This paper presents the results of thermohydrodynamic analysis of journal bearing lubricated with non-Newtonian fluids. Simulation work has been carried out in Ansys FLUENT, which solves three-dimensional NavierStokes and energy equations. Lubricant flow has been considered as laminar. Thermal effects and hydrodynamic pressure of the fluid film of circular journal bearing are studied by varying viscosity index in the range of 0.751.3. Clearance space of 0.8 mm has been kept for the fluid between journal and bearing surface. Analysis has been carried out at eccentricity ratio of 0.8 and journal speed in the range of 500 RPM3000 RPM. It has been found out that shear-thickening fluids, i.e., viscosity index greater than 1 tends to enhance the load-carrying capacity and shear-thinning fluids, i.e., viscosity index less than 1 tends to decrease the load-carrying capacity. The temperature of the bearing surface tends to increase with the increase in viscosity index.
49. Numerical analysis of lubrication of conformal contact with discontinuous oil droplets
Shuyi Li, Feng Guo, Wong Pat Lam - Elsevier BV, 2022
Under limited lubricant supply condition, the lubrication of a slider bearing can be enhanced by discontinuous oil droplets on the lubrication track induced by poor surface wettability. This experimental finding is contrary to the general perception that strong surface wettability favors lubricating film build up. Theoretical lubrication models with the lubricant supply in the forms of oil droplets (Model ) and uniform oil layer (Model ) are established to clarify the odd experimental observation. Results show that oil supply in the form of droplets can achieve better lubrication performance than the uniform oil layer, which are correlated to the experimental finding. The mechanism is probably due to the early film pressure initiation when oil droplets enter the bearing contact.
50. Measurements of viscosity profile in elastohydrodynamic lubrication film using fluorescence method under various contact pressure conditions
Takefumi Otsu - Japan Society of Mechanical Engineers, 2022
This paper describes rheological properties of hydrodynamic and elastohydrodynamic lubrication (EHL) film under various contact pressure conditions using the fluorescence measurement method. In this measurement method, the viscosity and the information about the state of the lubricant (liquid or solid) can be obtained via the analysis of fluorescence spectrum of a pyrene excimer emission. Previous research revealed that the intensity of excimer emission decreased with increasing of viscosity. In addition, the intensity ratio between the excimer peak and lubricant 5P4E fluorescence peak was introduced for the analysis, and the ratio decreased with increasing viscosity of lubricant. In this study, the viscosity profile obtained from the relationship between the intensity ratio and viscosity showed that the state of lubricant in the lubrication film corresponded almost exactly to the lubrication regime proposed in previous researches. It is concluded that the viscosity measurement technique proposed in this study is useful method for practical uses in hydrodynamic and elastohydrodynamic... Read More
Get Full Report
Access our comprehensive collection of 86 documents related to this technology
