Non Conductive Lubricants for Electric Vehicles
Electric vehicle (EV) lubricants operate under fundamentally different constraints than their conventional counterparts. Unlike traditional combustion engines, EV powertrains generate electrical potentials of 400-800V, creating environments where standard lubricants with electrical conductivity above 1000 nS/m risk enabling parasitic current pathways. Testing reveals that exposure to these conditions accelerates oxidative degradation, with some formulations losing 40-50% of their base viscosity after just 500 hours of operation under simulated drive cycles.
The engineering challenge lies in balancing electrical insulation properties with the mechanical protection required for high-torque EV transmissions while simultaneously maintaining compatibility with copper windings and sensitive electronic components.
This page brings together solutions from recent research—including formulations utilizing phosphorylated bis-succinimide dispersants, high-molecular-weight succinimide systems post-treated with phosphorus-boron compounds, polyalkylene glycol/poly-alpha-olefin/ester blends, and triazole corrosion inhibitors combined with amine-sulfur antiwear additives. These and other approaches demonstrate how lubricant chemistry is being reconfigured to address the particular needs of electric propulsion systems while maintaining the required thermal management capabilities.
1. Lubricating Composition with Phosphorylated Bis-Succinimide Dispersant and High Electrical Resistivity
CHEVRON ORONITE COMPANY LLC, 2025
Lubricating composition for electric vehicles with improved electrical resistivity and antiwear properties, comprising a major amount of lubricating oil and about 1.0-5.0 wt.% of a phosphorylated dispersant derived from a bis-succinimide and dialkyl dithiophosphoric acid, wherein the composition is substantially free of zinc and exhibits a volume resistivity of 10^8 ohm-cm or greater at 120°C.
2. ADDITIVE AND BASE OIL TRENDS IN EV APPLICATIONS
Raj Shah, M.B. Das, Humaun Kabir - ASME International, 2025
Abstract Electric vehicle (EV) technology has matured over time, improving in some performance areas against traditional internal combustion engine (ICE) vehicles. Despite advancement, there is considerable opportunities for further improvements, particularly in the broader field of lubrication, including areas like grease. As in any mechanical system, greases and lubricants play a significant role in the component life of EV power plants and drivetrains. Moreover, they can significantly contribute to vehicle efficiency, energy savings, and overall driving experience. Since the lubricants in EVs work under harsh thermal and electrical environments, designing an ideal high performance and stable lubricant can be challenging. This paper evaluates the industry's progress on EV lubrication including analyzing existing lithium-based lubricants and spotlighting advanced material additives such as graphene, boron nitride, or cutting-edge ionic liquids. It also discusses optimizing base stock selection, with a focus on Polyalphaolefin (PAO) molecules and designing various additives to enhanc... Read More
3. Lubricating Oil Composition with Soluble Sulfur-Containing Additive for Electric Vehicles
CHEVRON ORONITE COMPANY LLC, 2025
Lubricating oil composition for electric vehicles, comprising a major amount of lubricating oil, a phosphorus-containing additive, and a sulfur-containing additive selected from thiadiazole, dithiadiazole, dimercaptodithiadiazole, and derivatives thereof, wherein the sulfur-containing additive is soluble in the lubricating oil without the need for a dispersant additive.
4. Lubricating Oil Compositions with Anti-Fatigue Additive and Sulfonate Detergent
CHEVRON ORONITE CO, 2025
Lubricating oil compositions with enhanced fatigue protection, particularly suitable for functional fluids and electric vehicle applications, comprising 0.001-1.5% anti-fatigue additive and sulfonate detergent, with reduced levels of sulfur-containing compounds, such as metal sulfurized phenates, and optionally glycerol, which imparts improved fatigue performance without compromising anti-wear properties.
5. Electric Vehicle Transmission Fluid with Oxidation Inhibitors and Low Conductivity for Compatibility with Yellow Metals and Electrical Components
VGP IPCO LLC, 2024
Electric vehicle transmission fluid formulation designed to meet the unique demands of EV drive systems, providing improved lubrication, wear protection, and compatibility with yellow metals and electrical components. The formulation includes oxidation inhibitors, anti-wear additives, and copper corrosion protection, while maintaining low electrical conductivity and thermal stability. The fluid is engineered to withstand extreme power and torque fluctuations, and is designed to be compatible with a wide range of EV transmission materials.
6. Triboelectric Performance of Ionic Liquid, Synthetic, and Vegetable Oil-Based Polytetrafluoroethylene (PTFE) Greases
Nur Aisya Affrina Mohamed Ariffin, Chiew Tin Lee, Arunkumar Thirugnanasambandam - MDPI AG, 2024
Within electrical contacts, poor electrical conductivity of lubricants can lead to triboelectric charging, causing electrostatic currents and thermal effects, which accelerate lubrication failure. This study aimed to address these challenges by producing and testing three greases with different base oils: ionic liquid ([Oley][Oleic]), synthetic oil (PAO4), and vegetable oil-based synthetic ester (trimethylolpropane oleate). Each grease was prepared with polytetrafluoroethylene powder as the thickener. The greases were tested using a custom-made tribometer, integrated with a grounded electrical current system, with friction tests conducted with up to a 2 A electrical current flow at a constant voltage supply of 4.5 V. Under triboelectric friction testing, [Oley][Oleic] grease outperformed a commercial perfluoropolyether grease by 27.7% in friction and 16.3% in wear. This grease also showed better performance than formulated lithium grease with extreme pressure additives. The study demonstrates that greases with low interfacial resistance can retain their lubrication capacity under tri... Read More
7. Lubricant Composition with Triazole Corrosion Inhibitors and Amine-Sulfur Anti-Wear Additives
TOTALENERGIES ONETECH, 2024
Lubricant composition for electric vehicle propulsion systems that improves antiwear and anticorrosion properties by combining triazole corrosion inhibitors with amine- and sulfur-based antiwear additives. The triazole compounds like tolyltriazole prevent corrosion of metal components while the amine-sulfur additives like dimercaptothiadiazoles reduce wear. This combination provides simultaneous wear and corrosion protection for electric vehicle motors, bearings, and transmissions.
8. Lubricating Fluid for Electric Motors with Succinimide Dispersant and Phosphorus-Boron Post-Treatment
AFTON CHEMICAL CORP, 2024
A lubricating fluid for electric motor systems in hybrid and electric vehicles, comprising a base oil of lubricating viscosity, a high molecular weight succinimide dispersant, an amine salt of a phosphoric acid ester, an ashless dialkyl dithiophosphate, and a sulfur-providing additive. The fluid has a kinematic viscosity of 4.5 cSt or less, 150-250 ppm total phosphorus, and an electrical conductivity of 37 nS/m or less. The succinimide dispersant is derived from a polyisobutylene with a number average molecular weight of 2000 or greater, and is post-treated with a phosphorus and boron containing compound.
9. Lubricant Composition with Polyalkylene Glycol, Poly-alpha-olefin, and Ester Blend Including Sulfur-Based Extreme Pressure Agent
IDEMITSU KOSAN CO LTD, 2024
A lubricant composition for electric and hybrid vehicle motors, comprising a base oil blend of polyalkylene glycol (PAG), poly-alpha-olefin (PAO), and ester, with an additive package including a sulfur-based extreme pressure agent. The PAG provides thermal stability and low viscosity, while the PAO and ester enhance solubility and compatibility with the extreme pressure agent. The composition is optimized for electric motor applications, avoiding additives typically used in conventional lubricants that can degrade performance.
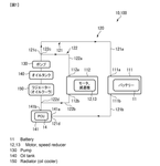
10. Lubricating Oil Composition with High Transmittance and Specific Viscosity for Electric Vehicle Thermal Management Systems
IDEMITSU KOSAN CO, 2024
Lubricating oil composition for electric vehicle systems that circulates through a circuit connecting a battery, motor, and transaxle, providing thermal management and insulation properties. The composition has a high transmittance of 90% or more and a kinetic viscosity of 1.0-2.2 mm2/s at 100°C. The composition is used in a circulation system that controls temperatures of the battery, motor, and transaxle through a network of paths and valves.
11. Electric Potential Controlled Ionic Lubrication
Zhongnan Wang, Hui Guo, Sudesh Singh - MDPI AG, 2024
Electric potential controlled lubrication, also known as triboelectrochemistry or electrotunable tribology, is an emerging field to regulate the friction, wear, and lubrication performance under charge distribution on the solidliquid interfaces through an applied electric potential, allowing to achieve superlubrication. Electric potential controlled lubrication is of great significance for smart tunable lubrication, micro-electro-mechanical systems (MEMS), and key components in high-end mechanical equipment such as gears and bearings, etc. However, there needs to be a more theoretical understanding of the electric potential controlled lubrication between micro- and macro-scale conditions. For example, the synergistic contribution of the adsorption/desorption process and the electrochemical reaction process has not been well understood, and there exists a significant gap between the theoretical research and applications of electric potential controlled lubrication. Here, we provide an overview of this emerging field, from introducing its theoretical background to the advantages and c... Read More
12. Lubricating Oil Composition with Mineral Base Oil and Fluorine Compound for Electric Vehicle Cooling Systems
IDEMITSU KOSAN CO LTD, 2024
A lubricating oil composition for electric vehicle cooling systems, comprising a base oil and a fluorine compound, where the base oil is a mineral oil with a 40°C kinematic viscosity of 1-25 mm²/s, and the fluorine compound content is 3-30% by weight. The composition provides both lubricity and cooling performance, enabling efficient heat management in electric vehicle systems.
13. Lubricating Oil Composition with Extreme Pressure Agent and Nitrogen-Containing Ashless Dispersant
ENEOS CORP, 2024
Lubricating oil composition for electric vehicles comprising a lubricating oil base oil, an extreme pressure agent, and a nitrogen-containing ashless dispersant, suitable for lubricating both electric motors and gear mechanisms in integrated electric vehicle powertrains.
14. Lubrication subjected to effects of electric and magnetic fields: recent research progress and a generalized MEMT-field Reynolds equation
Xiaoman Wang, Q. Jane Wang, Ning Ren - Frontiers Media SA, 2024
Electric and magnetic fields have been used in various ways to enhance the performance of lubrication systems. The presence of these fields can significantly change the properties of lubricants. The rapid adoption of electric vehicles (EVs) has presented new lubrication-related challenges due to the presence of electric current. There is an urgent need for an in-depth study of lubrication systems subjected to such fields. This paper highlights recent research works on several key areas of lubrication involving electric or magnetic fields, which are:1) electric double layer in lubrication, 2) electrorheological fluids, 3) magnetorheological fluids, 4) ferrofluids, and 5) typical fluids used in the current EVs and typical surface failures of bearing components in EVs. Commonly used lubricants in each area are reviewed; lubrication mechanisms and related mathematical models are summarized; methods for and results from numerical analyses and experimental explorations are discussed; and common features of lubrications in different fields are explored. Based on the current research progres... Read More
15. Lubricating Fluid Composition with Borated Succinimide, 2,5-Alkyl-Thiadiazole, and Phosphorus Additive for Electric Drives
VOLKSWAGEN AG, 2024
A lubricating fluid composition for electric drives that prevents corrosion of electrical components while maintaining high efficiency in transmissions. The composition comprises 10-88% by weight of a low-viscosity synthetic oil, 0.1-5% by weight of a borated succinimide dispersant, 0.1-5% by weight of a 2,5-alkyl-thiadiazole compound, and 0.1-5% by weight of a phosphorus-containing additive. The composition has a dynamic viscosity of 0.8-4.0 mm2/s at 100°C and is suitable for use in electric motors, transmissions, and battery-operated vehicles.
16. Thermal and electrical properties of electric vehicle fluids
Kailash Arole, Micah J. Green, Hong Liang - Elsevier, 2024
Electric vehicles (EVs) have gained increased attention in recent years owing to their excellent performance and emission of less hazardous products to the surroundings. The varied design of EVs compared to the internal combustion engine vehicles has created new requirements in lubricants and fluids for their operation. The increasing electrification of vehicle drivetrains has led to lubricants being in contact with more electrical components, such as motors, sensors, battery modules, and power electronics. This has led to different operating conditions, such as being subjected to an electric field, higher rpm, and higher thermal stress, affecting the electrical properties of lubricants, especially for electrified transmission fluid. The electrical properties of lubricants play a vital role in preventing corona discharge and arc absorbance, which can cause premature failure and electromagnetic interference problems in motors, leading to bearing instability, excessive vibrations, and noise. Understanding the interactions of lubricants with the electric field is crucial for optimizing ... Read More
17. Glycerol-based lubricants for electric vehicles
Yijun Shi, Marcus Björling, Roland Larsson - Elsevier, 2024
To increase the driving range of electric vehicles (EVs) and to make them less dependent on fossil-based technology, it is important to switch to new types of lubricants with low friction and renewable origin. During the past couple of decades, researchers found that glycerol, which is biodegradable and nontoxic, can provide superlubricity even under high contact pressure with rough surfaces. Glycerol can also be used as a coolant for EVs to increase the efficiency of the electric motors. This chapter gives a summary of the tribological performance of different contacts, i.e., steel-steel, steel-diamond-like carbon (DLC), DLC-DLC, steel-self-lubricating materials, and steel-ceramic, which are lubricated by glycerol.
18. Lubrication of bearings under electrical conditions
Guoxin Xie, Jianbin Luo - Elsevier, 2024
The understanding of the lubrication properties under electrical conditions, in order to achieve the suppression of electrical damage and even use the electrical environment to promote lubrication, is highly relevant to the bearings used in electric cars. In this chapter, important research progress on lubrication as well as the premature failure of bearings under electrical conditions in the past decades will be briefly reviewed. The basic research on dry friction under electrical conditions and then the molecular adsorption and orientation at the lubricated interface under electrical conditions will be discussed. Subsequently, microbubble behaviors in thin lubrication films under electrical conditions will be introduced. The electrodamage in bearings under electrical conditions and the protection technology are discussed in the final part.
19. Dielectric Strength of Electric Vehicle Fluids (Lubricants and Coolants) at Usual Operating Temperatures
Julio A. Cao-Romero-Gallegos, Cesar David Resendiz-Calderon, Irving Cazarez-Ramírez - IEEE, 2023
The development of suitable fluids, including lubricants or coolants, for electric vehicles (EVs) requires large efforts on their formulation, characterization, and performance testing. An important property for these fluids is dielectric strength or breakdown voltage (BDV), which is expected to be as high as possible at wide temperature range. Short circuits and bearing currents are highly undesirable phenomena which are known to cause inefficiencies and potential failure or wear of electromechanical hardware if BDV magnitude is not adequate. In modern EVs, the typical fluids comprise lubricants (for bearings and gears in the driveline) such as automatic transmission fluids (ATFs) and low-viscosity gear oils, and coolants (for thermal management in the battery pack and power electronics), namely, ethylene-glycols and dielectric oils. Although these fluids are reported to have acceptable BDV at room temperature (according to ASTM D877 and/or D1816 standard methods) for electric equipment, BDV is likely to be altered when temperature changes occur. The information of BDV at room (20-3... Read More
20. Lubricating Grease Composition with Tailored Oil Viscosity and Frictional Properties for Electric Vehicles
VGP IPCO LLC, 2023
High-efficiency lubricating grease for electric vehicles that reduces energy consumption by optimizing oil viscosity and frictional properties. The grease formulation includes a thickener, lubricating oil, surface-active ester, and additives such as friction reducers and anti-wear agents. The composition can be tailored to achieve specific NLGI consistency grades and viscosity classifications for various EV components.
21. Vehicle Lubrication Mechanism with PTFE Particle-Induced Friction Neutralization and Static Elimination
TOYOTA MOTOR CO LTD, 2023
A vehicle with a friction neutralizing-static eliminating type lubrication mechanism that significantly reduces positive potential during travel. The mechanism uses a lubricant with PTFE fine particles that generate a negative potential compared to metal components in the triboelectric series. When the particles come into frictional contact with metal components, they neutralize and eliminate the positive potential, and then continue to attract to the metal surface when floating in the lubricant.
22. Lubricating Oil Composition with Polyalkylene Glycol and Polyvinyl Ether Base Oils
IDEMITSU KOSAN CO LTD, 2023
A lubricating oil composition for cooling electric vehicle devices, comprising a base oil containing at least one synthetic oil selected from polyalkylene glycols having a degree of polymerization of 3 to 5 and polyvinyl ethers having a degree of polymerization of 3 to 4. The composition has a high flash point, low pour point, and excellent electrical insulation properties while maintaining good cooling performance.
23. Lubricating Composition with Base Oil and Additives Featuring Boron and Nitrogen Concentration for Electric and Hybrid Vehicle Applications
TOTALENERGIES ONETECH, 2023
A lubricating composition for electric and hybrid vehicles that combines lubrication and cooling properties. The composition comprises a base oil and additives such as antiwear, antioxidant, and dispersant agents, with specific concentration ranges of boron (≤100 ppm) and nitrogen (100-500 ppm). The composition is designed to provide improved durability and electrical resistivity for electric motor and hybrid vehicle applications, including cooling of power electronics, rotors, and stators, as well as lubrication of bearings and gearboxes.
24. Lubricating Oil Composition with Phosphite Ester and Thiadiazole Derivatives for Electric Drive Units
IDEMITSU KOSAN CO LTD, 2023
A lubricating oil composition for electric drive units that combines gear oil and motor oil functions, featuring high extreme pressure resistance, durability, and wear resistance, along with high volume resistivity. The composition contains a phosphite ester derivative with a sulfur-substituted alkyl group and a thiadiazole derivative, which are blended with a base oil. This unique combination enables the lubricating oil to meet the demanding requirements of electric drive units, including miniaturized gearboxes and high-force tooth surfaces.
25. Heat Transfer System with Dielectric Oleaginous Fluid and Direct Component Contact
THE LUBRIZOL CORP, 2023
A heat transfer system and method employing a dielectric oleaginous heat transfer fluid for cooling electrical componentry. The fluid has low electrical conductivity, low flammability, and low freeze point, and is free of cyclic structures. The system includes a bath containing the fluid in direct contact with the electrical componentry, a heat transfer fluid reservoir, and a heat exchanger. The fluid is pumped through the system to absorb heat from the componentry and transfer it to the heat exchanger for cooling.
26. A brief review of the rapid transformation of driveline lubricants for hybrid electric and electric vehicles
T P Newcomb - Frontiers Media SA, 2023
Hybrid electric and electric vehicles have represented a small portion of the automotive market for many years and mainly use current lubricants, typically automatic transmission fluids (ATFs). However, regulatory compliance to limit greenhouse gases and increased consumer demand have resulted in a rapid global transition to electrified vehicles. This has prompted the need for new advances in vehicle technology to improve efficiency and thereby increase range. Enabling and optimizing such advances requires a new generation of driveline lubricants. Incorporating an electric motor in a transmission or axle, where the motor is exposed to the gear box lubricant, creates new challenges that focus attention on lubricant characteristics that were previously not differentiating features, for example, electrical and thermal properties. Additionally, lubricants must now also be compatible with the constituents used in electric motors which include new polymeric materials and, in some cases, exposed copper. Compatibility tests of these polymers vary within the industry and the risk of copper co... Read More
27. Neoteric Innovations Concerning Battery Technology And Lubricants For Electric Vehicles
Karan Mathews Shaji, Ravishankar Dudhe, Ahana Fatima Alex - IEEE, 2023
Electric automobiles play a paramount role in the electrification revolution towards the curtailment of the carbon footprint owing to the fact that the transport sector is a key contributor to both greenhouse gas emissions and local pollution. As a broad endeavor to alleviate the negative environmental effect of climate change, promoting the adoption of electric automobiles has been proposed as a dual alternative to reduce exhaustible fuel resource expenditure along with the greenhouse gas emissions. The electric automobile market has recently gained a lot of recognition. The refinement of relevant rechargeable battery components with lubricants is crucial for the development of hybrid and battery-powered automobiles in the future. To optimize energy production while simultaneously assuring safety, special attention must be paid to the material characteristics and protective coatings of said electrodes while also considering the electrolyte employed. The long-term objective of lubrication science is to prioritize the efficient application of certain lubricants for electric motors and... Read More
28. Rheological Characterization and Tribological Evaluation of Water-Based Lubricants in AISI 52100 Bearing Steel
Juan Bosch, Christopher DellaCorte - Springer Science and Business Media LLC, 2023
Abstract This study explores the rheological and tribological behavior of water-based lubricants (WBLs) as potential alternatives for electric vehicle (EV) applications. As the transportation sector increasingly shifts towards EVs to reduce carbon emissions, the demand for efficient lubricants becomes critical. WBLs here are defined as fluids containing a minimum of 50 wt% water mixed with glycerol, ethylene glycol (MEG), polyethylene glycol (PEG), or one of two polyalkylene glycols (PAGs). Rheological properties were investigated and compared with traditional lubricating oils. Results demonstrate distinctive rheological characteristics in WBLs, with viscositytemperature responses resembling traditional oils with lowered pressureviscosity coefficients. Nevertheless, WBLs exhibit promising film-forming capabilities in highly loaded contacts. Additionally, in sliding contacts, WBLs generally display lower friction coefficients compared to traditional oils, with PEG exhibiting the lowest value near 0.1. These findings suggest that WBLs may offer advantages in reducing friction and ene... Read More
29. Electrified four-ball testing – A potential alternative for assessing lubricants (E-fluids) for electric vehicles
Oscar A. Aguilar-Rosas, Leonardo Israel Farfán-Cabrera, Ali Erdemir - Elsevier BV, 2023
The increasing worldwide demand for hybrid and electric vehicle technology has brought new challenges for the global lubricant industry. The new lubricants for electric vehicles, also called E-fluids or EV-fluids, are expected to meet a new set of requirements including withstanding the much severe operating conditions of EV powertrains. High starting torques, high RPMs and uncontrollable shaft currents passing through the contact interfaces are some of the most challenging powertrain conditions that can impact the performance of these lubricants. Although there have been some papers already reporting on significant alteration of tribological properties of lubricants under electrification, so far there are no standard test protocols aimed at the fast and reliable screening of base oils, additives and formulated lubricants under such conditions. Thus, this research work focuses on exploring the popular four-ball ASTM-D4172 standard method to evaluate the tribological behavior of lubricants under electrified conditions. Specifically, a conventional four-ball tester was instrumented wit... Read More
30. Impact of oxidation on rheology and tribology of sustainable lubricants for electromechanical drive systems
D. Güney, V. Joukov, J. Albrecht - Wiley, 2023
Abstract The rheological and tribological properties of environmentally compatible lubricants of different bases (native oil, synthetic ester, polyalkylene glycolcontaining oil) compared to a conventional, mineral oilbased lubricant are investigated in order to develop toxicologically harmless and technically suitable lubricants for electromechanical drives. The aging of the oil is also considered. The results of this study reveal that the properties of polyalkylene glycolcontaining and synthetic esterbased lubricants have the potential to act as substitutes for lubricants containing mineral oil. By examining and improving the properties of sustainable lubricants, gear oils that are partially or totally nonmineral oil based will be highly attractive in the future.
31. Tribological Performance of Modified Jatropha lubricant Under Reciprocating NANOVEA T 50 Tribometer for Electric Vehicles
Anthony Chukwunonso Opia, Mohd Fadzli Bin Abdollah, Hilmi Amiruddin - Kyushu University, 2023
elopment of electric vehicles (EVs) in solving the ICEs pollution challenges. To achieve the expected performance of EVs, the use of suitable bio-lubricants is necessary. In this work, novel lubricants were formulated from jatropha oil as base lubricant using Polytetrafluoroethylene and hexagonal boron nitrate (h-BN) as additives to address the issues of friction and wear during lubrication. The investigation employed a sensitive NANOVEA T50 tribometer machine. The additives' effectiveness in enhancing tribological performance was assessed in terms of their capacity to reduce friction, wear, and load carrying ability. The substrate morphology and elemental distribution on lubricated worn surfaces was done using a scanning electron microscope (SEM) and energy dispersive x-ray (EDX). Under higher loads (25 N), blended 0.5 wt.% poly. + 0.6 wt.% h-BN reduced friction and wear, but at lower (5 N) working conditions, it performed poorly due to lack of frictional energy for the film formation. However, as compared to base jatropha oil, the 0.5 wt% poly. + 0.6 wt% h-BN provided the best fric... Read More
32. Lubricant Composition with Sterically Hindered Amine or Phenol and Amine-Based or Sulfur-Based Antiwear Additives for Electric Vehicle Propulsion Systems
TOTAL MARKETING SERVICES, 2022
Lubricant composition for electric vehicle propulsion systems that combines sterically hindered amine or phenol compounds with amine-based and/or sulfur-based antiwear additives to prevent corrosion and wear while maintaining electrical insulation properties. The composition comprises a base oil, one or more sterically hindered amine or phenol compounds as anticorrosion additives, and one or more amine-based and/or sulfur-based antiwear additives, such as dimercaptothiazole derivatives.
33. Lubricating and Cooling Fluid with Sulfurized Component, Dual Dispersant System, and Multi-Component Friction Modifiers for Electric Motors
AFTON CHEMICAL GMBH, MERCEDES-BENZ GROUP AG, 2022
A lubricating and cooling fluid for electric motor systems that provides wear protection, friction reduction, and cooling while maintaining low electrical conductivity and copper corrosion resistance. The fluid comprises a lubricating base oil, a sulfurized component, a dispersant system with two dispersants of different molecular weights, and a friction modifier system with multiple components. The dispersants are balanced to maintain low conductivity while providing wear protection, and the friction modifiers are selected to optimize friction reduction while minimizing electrical conductivity. The fluid is designed for use in electric motor systems operating at elevated temperatures, where conventional lubricants may fail to provide adequate performance.
34. Lubricant Composition with Polyalkylene Glycols for Enhanced Thermal Conductivity
TOTAL MARKETING SERVICES, 2022
Lubricant composition for cooling electric vehicle engines and batteries. The composition contains polyalkylene glycols (PAGs) obtained by polymerizing alkylene oxides like ethylene oxide or copolymerizing ethylene oxide and propylene oxide. The PAGs cool the engine components and batteries by transferring heat more effectively than air or water. The composition can also lubricate engine parts like bearings and gears. It provides an alternative cooling method to air or water cooling for electric vehicles and hybrid vehicles.
35. A prospective view on biodegradable lubricants for hybrid and electric vehicles
C I Bradu, G Ianuş - IOP Publishing, 2022
The most suggestive outlining between the vehicles powered by the electric motor (EVs) and hybrid electric vehicles (HEV) consists in the battery power supplied to the electric motor and unilaterally fulfilling the traction characteristic, while HEVs can only minimize dependence on fossil fuels. The main difference between electric motors and combustion engines in terms of emissions, carbon footprint, and sustainability is that electric motors eliminate the possibility of contamination of oil by soot. In addition, global insights about current Hybrid and EV lubrication involves new specialized lubricants to overcome challenges of electrical compatibility and the short persistence in the environment - known as biodegradability. Biogenic or recycled lubricants have fallen under the incidence of a very high cost for the automotive industry, in contrast to achieving tough performance and efficiency. Nowadays, eco-sustainability proposes future improvement trends. Lubricants from vegetable and animal sources are relevant, coupled with the numerous possibilities of formulating lubricants f... Read More
36. Design of lubricants in electric and hybrid vehicles via computer-aided molecular design (CAMD) technique
K W Wong, Lik Yin Ng, C H Lim - IOP Publishing, 2022
Abstract The market of electric and hybrid vehicles (EVs and HEVs) is expanding exponentially in recent years. It serves as a greener solution in the transportation sector as compared to internal combustion engine vehicles (ICEVs). Conventional lubricants used for ICEVs are not suitable for the EVs and HEVs as the latter operates on electric motors instead of combustion engines. Performance characteristics such as the electrical conductivity, thermal conductivity and copper compatibility are not considered by the ICEVs lubricant but are important for the EVs and HEVs. In this research, computer-aided molecular design technique is used to design the lubricant that is compatible with the EVs and HEVs. The lubricant properties considered are thermal conductivity, specific heat capacity, viscosity, density, and flash point. Group contribution (GC) property prediction model is utilized to ensure that the desired properties are possessed by the generated lubricant. There are six possible solutions of lubricant being generated and discussed. Other properties such as the electrical conducti... Read More
37. Lubrication Performances of Polyalkylene Glycols at Steel Interface under External Electric Fields
Xiangyu Ge, Xiaodong Wu, Qiuyu Shi - MDPI AG, 2022
This work studied the lubrication performances of polyalkylene glycols, which are insulating oils, at the steel interface under external electric fields. The results show that external electric fields greatly affect the lubrication performances of polyalkylene glycols, and there is an optimal voltage (-1.0 V) for the improvement in friction reduction performance. The surface analysis and experiment results indicate that the polyalkylene glycol adsorption film and the reduction in the amount of FexOy and FeOOH in the tribochemical film contribute to improved friction performance under the negative voltage condition. This work proves that the lubrication performances of insulating oils can be affected by external electric fields as well. A lubrication model was proposed, hoping to provide a basic understanding of the lubrication mechanisms of ether-bond-containing insulating oils in the electric environment.
38. Lubricating Oil Composition with Triazole and Sulfur Compounds for Electrical Insulation and Wear Resistance
ENEOS CORP, 2022
A lubricating oil composition for hybrid and electric vehicles that balances electrical insulation, seizure resistance, and wear resistance. The composition includes a lubricant base oil, an alkaline earth metal detergent, a triazole-based compound, a sulfur-containing compound, and an ashless dispersant. The triazole-based compound has a specific structure and content, while the sulfur-containing compound is selected from a sulfur-containing heterocyclic ether compound and a sulfide compound. The composition also includes a phosphorus-based compound and an antioxidant.
39. Lubricating Fluid Composition with Thiadiazole and Amine Phosphate for Electric and Hybrid-Electric Motors
AFTON CHEMICAL CORP, 2022
A durable lubricating fluid for electric motors and hybrid-electric motors that maintains low electrical conductivity over its lifespan. The fluid comprises a lubricating oil, a thiadiazole or derivative providing sulfur and nitrogen, an amine salt of a phosphoric acid ester providing phosphorus and nitrogen, and a sulfur-to-phosphorus-to-nitrogen weight ratio of at least 2.3. This composition delivers wear protection while maintaining low electrical conductivity, making it suitable for electrified vehicles.
40. Lubricating Fluid Composition with Phosphorylated Succinimide Dispersant for Electric Motor Systems
AFTON CHEMICAL CORP, 2022
A lubricating fluid for electric motor systems that provides wear protection, copper corrosion inhibition, and high electrical resistivity. The fluid comprises a base oil and a phosphorylated succinimide dispersant with 2-3.5 wt% phosphorus, which delivers 650 ppm or less phosphorus to the fluid. The fluid has a kinematic viscosity of 3-6.5 cSt at 100°C and a resistivity of at least 50 MΩ·m after aging at 150°C.
41. Ionic Liquid Additives in Water-Based Lubricants for Bearing Steel – Effect of Electrical Conductivity and pH on Surface Chemistry, Friction and Wear
Wahyu Wijanarko, H. Khanmohammadi, N. Espallargаs - Frontiers Media SA, 2022
Water-based lubricants have the potential to become the largest environmentally friendly lubricants in applications such as electric vehicles and the newly emerging green technologies of the future due to their inherent low viscosity and cooling properties. In order to be environmentally acceptable (EAL), both base lubricants and additives should comply with biodegradability, non-toxicity, and non-bioaccumulation requirements. Additives for water-based lubricants should ideally be polar and soluble in water and, at the same time, should not increase the electrical conductivity to critical levels for corrosion. However, most additives used in synthetic or mineral oils are non-polar. Ionic liquids have recently gained attention as lubricant additives due to their high polarity, making them highly surface-active (i.e. high tendency to adsorb on metal surfaces). However, they are seen as highly corrosive for many metal alloys. In this work, a water-glycol lubricant containing two different ionic liquids has been investigated as a potential green lubricant for a bearing steel AISI 52100 w... Read More
42. Winning Form ULA
James H. Billington - Mark Allen Group, 2022
The development of specialized lubrication fluids for electric vehicle powertrains are providing greater performance, more efficiency, and component longevity. Selda Gunsel, vice president of global lubricants and fuels technology at Shell, explains how e-fluids are created and the challenges that must be overcome as we shift to an electrified world
43. Chemistry is Everything
- Mark Allen Group, 2022
Dedicated lubricants for electrified heavy duty commercial vehicles are designed to handle the high demands of eCV e-motors
44. Effects of electrostatic catalysis on the formation of chemical reaction films with charged lubricant containing sulfurized isobutylene additive
Ruochong Zhang, Yu Xia, Jiecong Zhang - Elsevier BV, 2022
Tribochemical reactions between lubricant additives and friction interface can be initiated or catalyzed by self-excited electrons during friction. To explore the effects of static electricity-stimulated artificial electrons on chemical activity of additives, tribological properties of steel/steel interface and static chemisorption on steel surface were investigated with white oil containing sulfurized isobutylene additive (WO+T321) under electrostatic minimum quantity lubrication (EMQL). The results show that charged WO+T321 lubricant exhibits improved anti-friction (AF) and anti-wear (AW) properties, and chemical reaction films contain higher concentrations of S element on the worn and static chemisorption steel ball surface. This is attributed to the electrostatic catalysis induced by artificial electrons which ionize T321 molecule into anions and free radicals, promoting the formation of lubricating film enriched in S element.
45. Latest developments in designing advanced lubricants and greases for electric vehicles—An overview
Raj Shah, Blerim Gashi, Andreas Rosenkranz - Wiley, 2022
Abstract According to the Environmental Protection Agency, transportation is the largest contributor of greenhouse gas emissions (28% of total emissions). Electric vehicles have remarkably grown in popularity and represent a greener future for the automotive industry. This growth has prompted lubricant and grease technology to adapt to an entirely new environment, which is exposed to new factors including external electric currents/fields and extreme temperatures and pressures originating from electric motors and power electronics. Consequently, novel lubricants and greases need to be developed and explored to ultimately improve fuel efficiency and performance. Nanoadditives have offered exceptional opportunities to enhance electrical, thermal and tribological properties of the lubricants and greases used. It is thus vital to fully explore and understand the effects of nanoparticles' addition to lubricants and greases, as well as the mechanisms by which improvements are obtained. This perspective summarises the recent trends of developing lubricants and greases for electric vehicles... Read More
46. In-situ observation of molecular behavior of lubricant during application of electric field
Kazufumi KONTANI, Chinsei GO, Renguo Lü - Japan Society of Mechanical Engineers, 2022
Electric vehicles (EVs) have achieved considerable efficiency gains in terms of energy consumption, but further improvements remain a challenge. One example is electrical failure of bearings. The electrical environment of bearings, such as the sources of shaft voltage and bearing current and the different components, as well as typical modes of bearing electrical failure, such as various localized damage and poor lubrication, have been reported, but the mechanism of lubrication failure remains unclear. Therefore, the objective of this study was to investigate the molecular behavior of lubricating oil when an electric current is applied, especially molecular orientation and physical and chemical adsorption characteristics on sliding surfaces. A microscopic FT-IR in-situ observation system was applied to clarify the molecular behavior of the lubricating oil. Oleic acid was used as a typical lubricant. It was found that the friction coefficient increased on the charged surface. FT-IR spectra suggested that the dissociation of dimers of oleic acid due to surface charge. As a result, fric... Read More
47. Lubricating Oil Composition with Metal-Free Additives and High Volume Resistivity
CHEVRON JAPAN LTD, 2021
A lubricating oil composition for electric vehicles, hybrid vehicles, and plug-in hybrid vehicles with electric motors and/or generators, comprising a base oil, a phosphorus-containing antiwear additive, a corrosion inhibitor, and a sulfur-based extreme pressure additive, wherein the composition is substantially free of metal compounds such as calcium, molybdenum, and zinc, and demonstrates high volume resistivity, wear protection, and copper corrosion resistance.
48. Lubricant Composition with Fluoro Fire Retardant for Electric and Hybrid Vehicle Propulsion Systems
TOTAL MARKETING SERVICES, 2021
A lubricant composition for electric and hybrid vehicle propulsion systems that simultaneously provides lubrication, cooling, and fire resistance. The composition comprises a base oil and a fluoro fire retardant, which can be used to cool batteries while preventing thermal runaway and ignition. The composition can also be used to lubricate electric motors and transmissions, and its fire-resistant properties make it suitable for use in lithium-ion and nickel-cadmium batteries.
49. Ionic Liquid Composition with Divalent Bis(Ammonium) or Bis(Phosphonium) Cation and Monovalent Sulfonate or Phosphate Anion
SK INNOVATION CO LTD, SK LUBRICANTS CO LTD, 2021
An ionic liquid composition for lubrication applications, comprising a divalent cation and a monovalent anion, wherein the cation is selected from bis(ammonium) and bis(phosphonium) and the anion is selected from sulfonate and phosphate. The ionic liquid exhibits improved corrosion resistance and wear protection when used in lubricant formulations.
50. Lubricant Composition with Diester-Based Thermal Conductive Properties for Electric Vehicle Propulsion Systems
TOTAL MARKETING SERVICES, 2021
A lubricant composition for electric vehicle propulsion systems that combines lubrication and cooling functions. The composition comprises a base oil and a diester of formula (I) with high thermal conductivity and heat capacity, which enables simultaneous lubrication and cooling of the motor, power electronics, and battery. The diester is synthesized through esterification reactions between glycols and fatty acids, and the composition can further include additives such as radical inhibitors and hydrocarbon-containing fluids. The composition provides improved thermal management and lubrication performance, enabling longer oil-changing intervals and enhanced overall system reliability.
Get Full Report
Access our comprehensive collection of 66 documents related to this technology
