E-Motor Cooling Lubricant Solutions
Electric motor cooling in vehicles presents a multifaceted thermal challenge where temperatures can reach 150-180°C at stator windings during peak loads, while power densities exceed 5 kW/L in modern designs. The interaction between electrical and mechanical heat sources compounds with space constraints, creating thermal gradients that affect both performance and component longevity as systems cycle between high-load and regenerative states.
The central engineering challenge involves balancing thermal management against electrical isolation properties while maintaining appropriate viscosity profiles across operational temperature ranges.
This page brings together solutions from recent research—including dual-channel oil circuits with integrated cooler distribution passages, hybrid water-oil cooling modules, low-viscosity oleaginous heat transfer fluids, and specialized lubricant compositions with triazole corrosion inhibitors. These and other approaches demonstrate how modern cooling solutions can simultaneously address heat dissipation, electrical compatibility, and lubrication requirements in high-performance electric powertrains.
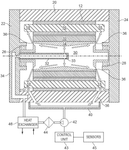
1. Hybrid Powertrain Cooling and Lubrication System with Integrated Water and Oil Cooling Modules
JING JIN ELECTRIC TECH CO LTD, 2025
A hybrid powertrain cooling and lubrication system that combines water and oil cooling to improve heat dissipation and lubrication efficiency. The system features a water cooling module with separate passages for the drive motor and reducer, and an oil cooling module with a pump, oil cooler, and delivery passages to lubricate and cool the motor, reducer, and range extender.
2. Low-Viscosity Oleaginous Heat Transfer Fluid with Variable Amplitude Depth Profile
THE LUBRIZOL CORP, 2025
Heat transfer fluid for cooling electrical components like batteries in electric vehicles that provides superior cooling performance with low electrical conductivity, low flammability, and low freeze point compared to traditional coolants. The fluid is a low-viscosity, low-flammability oleaginous oil like isoparaffinic hydrocarbon or ester with a kinematic viscosity of 0.7-7 cSt at 100°C and a flash point of at least 50°C. This fluid allows immersion cooling of electronic components without electrical shorting risks or freezing issues. It provides better cooling compared to water glycol-based coolants due to its lower thermal conductivity.
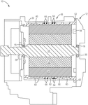
3. Electric Motor Thermal Management System with Internal Rotor Core Cooling Channels
FCA US LLC, 2024
Thermal management system for electric motors, particularly for electrified vehicle powertrains, that cools the rotor core through internal channels rather than relying on external surface cooling. The system features a hollow shaft with radial channels that connect to axial channels within the rotor core, enabling oil to flow through the rotor's internal structure to dissipate heat generated by the motor's operation.
4. Electric Drive System with Dual-Channel Oil Circuit and Integrated Cooler Distribution Passage
CONTEMPORARY AMPEREX TECHNOLOGY CO LTD, 2024
Electric drive system for vehicles with improved oil circuit efficiency, comprising a casing with a receiving cavity, a motor installed in the cavity, an oil pump to circulate lubricating oil, and a cooler to dissipate heat. The oil circuit includes a first oil supply channel connecting the oil pump to the motor, a second oil supply channel connecting the oil pump to the transmission, and an oil distribution passage connecting the cooler to both channels. The system achieves high oil utilization efficiency by directly injecting cooled oil into the motor and transmission, eliminating heat loss through the oil circuit.
5. Lubricant Composition with Triazole Corrosion Inhibitors and Amine-Sulfur Anti-Wear Additives for Electric Vehicle Propulsion Systems
TOTALENERGIES ONETECH, 2024
Lubricant composition for electric vehicle propulsion systems that improves antiwear and anticorrosion properties by combining triazole corrosion inhibitors with amine- and sulfur-based antiwear additives. The triazole compounds like tolyltriazole prevent corrosion of metal components while the amine-sulfur additives like dimercaptothiadiazoles reduce wear. This combination provides simultaneous wear and corrosion protection for electric vehicle motors, bearings, and transmissions.
6. Lubricating Fluid Composition with Succinimide Dispersant and Phosphoric Acid Ester for Electric Motor Systems
AFTON CHEMICAL CORP, 2024
A lubricating fluid for electric motor systems in hybrid and electric vehicles, comprising a base oil of lubricating viscosity, a high molecular weight succinimide dispersant, an amine salt of a phosphoric acid ester, an ashless dialkyl dithiophosphate, and a sulfur-providing additive. The fluid has a kinematic viscosity of 4.5 cSt or less, 150-250 ppm total phosphorus, and an electrical conductivity of 37 nS/m or less. The succinimide dispersant is derived from a polyisobutylene with a number average molecular weight of 2000 or greater, and is post-treated with a phosphorus and boron containing compound.
7. Lubricant Composition with Polyalkylene Glycol, Poly-alpha-olefin, and Ester Base Oil Blend Containing Sulfur-Based Extreme Pressure Agent
IDEMITSU KOSAN CO LTD, 2024
A lubricant composition for electric and hybrid vehicle motors, comprising a base oil blend of polyalkylene glycol (PAG), poly-alpha-olefin (PAO), and ester, with an additive package including a sulfur-based extreme pressure agent. The PAG provides thermal stability and low viscosity, while the PAO and ester enhance solubility and compatibility with the extreme pressure agent. The composition is optimized for electric motor applications, avoiding additives typically used in conventional lubricants that can degrade performance.
8. Electric Drive Unit Housing Integrated with Combined Direct Stator and Water Jacket Cooling System
DANA AUTOMOTIVE SYSTEMS GROUP LLC, 2024
An electric drive unit with a compact cooling system that combines direct stator cooling and water jacket cooling. The system features a housing with a water jacket, a stator with oil ducts and radial openings, and an oil inlet that extends through the housing. The oil ducts traverse the stator laminations, and the water jacket acts as a heat exchanger for the oil cooling circuit, eliminating the need for an external heat exchanger.
9. Integrated Electric Pump System with Isolated Water and Oil Circulation Passages and External Air Cooling Housing
YOUNGSHIN PREC CO LTD, 2024
An electric pump and system that integrates cooling water and oil circulation using a single driving source, with a housing structure that enables efficient external air cooling of the oil. The pump features a cylindrical main body with isolated passages for water and oil circulation, driven by a central motor stator. The system includes a water pump module and an oil pump module, each with a cover, housing, and rotating impeller or rotor, that operate simultaneously to circulate cooling water and oil. External air cooling is achieved through a radiation fin on the main body, while the isolated passages enable efficient heat transfer between the water and oil.
10. Lubricating Oil Composition with Mineral Base Oil and Fluorine Compound
IDEMITSU KOSAN CO LTD, 2024
A lubricating oil composition for electric vehicle cooling systems, comprising a base oil and a fluorine compound, where the base oil is a mineral oil with a 40°C kinematic viscosity of 1-25 mm²/s, and the fluorine compound content is 3-30% by weight. The composition provides both lubricity and cooling performance, enabling efficient heat management in electric vehicle systems.
11. Lubricating Fluid with Succinimide Dispersant and Sulfur Additive for Electric Motor Systems
AFTON CHEMICAL CORP, 2024
A lubricating fluid for electric motor systems in hybrid and electric vehicles, comprising a lubricating oil and additives, including a succinimide dispersant, a sulfur-providing additive, and a detergent system, that provides improved wear protection, oxidative stability, and electrical conductivity while maintaining low viscosity. The fluid is formulated with a specific combination of additives that balance antiwear, friction, and corrosion performance while minimizing electrical conductivity.
12. Electric Motor with Dual Cooling Circuits and Wave Channel Oil Distribution System
VOITH PATENT GMBH, 2024
Electric motor with a cooling system for rotor and stator, comprising a housing with a stator and rotor on a shaft, an oil cooling circuit with an oil sump and pump, and a water cooling circuit connected to a cooler. The oil circuit passes through the housing space and has passages for oil entry and exit, while the rotor shaft has a wave channel forming a section of the oil circuit and oil injection openings for injecting oil into the housing space.
13. Lubricating Fluid Composition with Low-Viscosity Synthetic Oil, Borated Succinimide Dispersant, 2,5-Alkyl-Thiadiazole, and Phosphorus Additive
VOLKSWAGEN AG, 2024
A lubricating fluid composition for electric drives that prevents corrosion of electrical components while maintaining high efficiency in transmissions. The composition comprises 10-88% by weight of a low-viscosity synthetic oil, 0.1-5% by weight of a borated succinimide dispersant, 0.1-5% by weight of a 2,5-alkyl-thiadiazole compound, and 0.1-5% by weight of a phosphorus-containing additive. The composition has a dynamic viscosity of 0.8-4.0 mm2/s at 100°C and is suitable for use in electric motors, transmissions, and battery-operated vehicles.
14. Heat Transfer Fluid Comprising Re-Refined Lubricating Oils with Distinct Physicochemical Properties
TOTALENERGIES ONETECH, 2023
Heat transfer fluids based on at least partly re-refined lubricating oils for use in various systems, including cooling systems for thermal or electric motors, refrigerators, boilers, air conditioners, and thermal solar collectors. The fluids are formulated using re-refined lubricating oils obtained from used lubricating compositions, which have been subjected to one or more re-refining treatment steps to eliminate contaminants. The re-refined oils are characterized by their composition and physicochemical properties, which are distinct from virgin base oils. The fluids can be used as a coolant in mobile or stationary motor systems, and can be formulated with additives to promote compatibility with system materials.
15. COOLING AND TRIBO-ENGINEERING CHARACTERISTICS OF OIL LUBRICANTS
Andrey Sholom, Semyon Pilyugin, Aleksey Abramov - Bryansk State Technical University BSTU, 2023
The paper presents the results of studies aimed at defining the effect of the cooling properties of oil lubricants used in various metalworking processes. The design and a brief description of the installation are given, which allows to obtain temperature-time, temperature-velocity dependencies of various liquids. The use of this installation gives the opportunity to select lubricants according to its cooling properties, depending on the temperature range required by the process. The assessment results of lubricant cooling properties at UZS-2 installation, manufactured according to the requirements of international standards ISO 9950, ASTM D6200 - 01 and ASTM D6482 06 are presented. The dependences of tribo-engineering properties of the tested oil lubricants on their cooling characteristics are found out. It is shown that with an increase in the temperature at which the maximum cooling rate of the lubricant is provided, its extreme pressure and anti-wear properties determined according to GOST on a four-ball friction machine increase.
16. Review of the Current Research Status of High Efficiency Liquid Cooling Technology for High Power Density Motors
Shanshan Yang, Zhou Zhou, Chuang Liu - IEEE, 2023
Efficient cooling design is a necessary condition for improving motor performance and extending motor life. This article outlines the current research status of high efficiency liquid cooling technology for high power density motors, including indirect liquid cooling, direct liquid cooling, and hybrid cooling. It analyzes and discusses the specific implementation methods, characteristics, and application scenarios of various cooling technologies. Finally, it summarizes the development trends and key technologies.
17. Lubricating Oil Composition with Branched Alkyl Base Oil, Sulfur-Containing Phosphite, and Thiadiazole Extreme Pressure Agent
IDEMITSU KOSAN CO, 2023
Lubricating oil composition for electric drive units, comprising a base oil, a phosphite compound, a metal detergent, a viscosity index improver, and an extreme pressure agent, wherein the base oil contains a branched alkyl group with 3-20 carbon atoms, the phosphite compound has a sulfur-containing group, and the extreme pressure agent is a thiadiazole compound. The composition provides balanced scuffing resistance and copper corrosion protection for electric drive units, particularly gearboxes and motors.
18. Lubricant Compositions with Diester Additives and Reduced Conventional Antiwear Additives
TOTALENERGIES ONETECH, 2023
Lubricant compositions for vehicle engines that improve antiwear properties while reducing the content of conventional antiwear additives. The compositions contain diester additives of the formula R1OOC-R2OOC-R3, where R1, R2, and R3 are hydrocarbon groups, and conventional antiwear additives such as zinc dialkyldithiophosphates. The diester additives enhance antiwear performance while enabling lower levels of phosphorus-based and sulfur-based additives that can damage engine components and emissions control systems.
19. Fluids for Electric Drivelines with Detergent and Ester Base Oil Systems
AFTON CHEMICAL CORP, 2023
Lubricating and cooling fluids for electric and hybrid-electric vehicle drivelines that provide improved durability of insulated magnet wires in electric motors. The fluids contain a detergent system providing at least 50 ppm metal and a base oil system including a lubricating viscosity base oil blended with an ester base oil, with a ratio of metal to ester groups of 70 or less. The fluids are compatible with insulation coatings on magnet wires, including polyamides, polyimides, and poly(amide/imide) materials, and maintain electrical properties while providing cooling and lubrication.
20. Research on the Structure of a New Integrated Cooling Channel for Electric Motor and Reducer
Aihua. Wu, Ting Li, Xiaojian. Chen - IEEE, 2023
In the cooling system of electric drive assembly, cooling fluid often only flows through the motor and controller, which cannot effectively dissipate heat from the motor bearings and reducers. This paper proposed a new water-cooled structure that can effectively dissipate heat from the motor and reducer. The structure at different parameters were simulated using CFD-FLUENT to investigate the temperature of the motor bearing seat and reducer end face. The simulation results show that when L1: L2=1:1, the cooling efficiency is the highest. In addition, research has shown that adding spoiler columns to the new structure will result in a more uniform distribution of fluid velocity and better heat dissipation effect.
21. Motor Vehicle Motor with Integrated Oil Collection Tank and Vane Pump for Combined Lubrication and Cooling Functions
AUDI AG, 2023
A motor for a motor vehicle that integrates lubrication and cooling functions in a simplified and space-saving design. The motor features an oil collection tank that buffers oil from the lubrication circuit, and a vane pump that delivers oil from the tank to the electric machine and other components. The oil collection tank is integrated into the motor housing and collects oil that drains from the lubrication circuit, while the vane pump provides a reliable and efficient means of delivering oil to the components. The motor can be configured as a gear motor with a transmission integrated into the oil circuit, and features a heat exchanger and oil filter to enhance cooling and oil quality.
22. Electric Motor Cooling System with Dielectric Fluid Circulation Through Hollow Rotor Shaft and Lamination Stacks
DANA AUTOMOTIVE SYSTEMS GROUP LLC, 2023
A cooling system for electric motors that provides uniform and effective temperature control without substantially increasing vehicle weight and manufacturing costs. The system cools laminations of a rotor and end windings of a stator using a dielectric fluid, such as oil, passed through a hollow rotor shaft as a coolant. The coolant flows through a primary passage in the shaft and is distributed to secondary passages through the lamination stacks via connecting pathways. The secondary passages flow coolant to both ends of the lamination stacks and end windings, with balancing plates routing the coolant to the end windings via nozzles.
23. Lubricating Oil Composition for Electric Drive Units with Phosphite, Thiadiazole, and Benzotriazole Components
IDEMITSU KOSAN CO LTD, 2023
Lubricating oil composition for electric drive units, comprising a base oil, a phosphite with a sulfur-containing group, a thiadiazole compound, and a benzotriazole compound, with specific mass ratios of these components that balance scuffing resistance and copper corrosion protection.
24. Rotor Assembly with Open Oil Channels and Balancing Plate Conduits for Electric Machine Cooling
DANA AUTOMOTIVE SYSTEMS GROUP, 2023
Cooling system for electric machines, comprising a rotor assembly with a balancing plate and a set of open oil channels that direct pressurized oil towards the balancing plate, where the balancing plate includes oil conduits that direct the oil towards stator end windings. The open oil channels form a mixture of oil and air that flows through the rotor laminations, with outlets profiled to direct the oil towards the balancing plate.
25. External Oil Spray Cooling System for Stator Core Periphery with Independent Distribution Lines
BAYERISCHE MOTOREN WERKE AG, 2023
A spray oil cooling system for the stator core periphery of an electric drive unit in a vehicle, comprising an oil pump, a separate oil line, and oil spray nozzles. The oil line is routed outside the stator housing and core, with branches feeding cooling oil to the stator end windings and output gear. The system enables efficient partial load cooling and sufficient full load cooling of the stator core periphery, while avoiding crosstalk between coolant lines.
26. Immersion Coolant Composition with Polyalphaolefin Base and Short-Chain Fatty Alcohol and Acid Additives
TAI CHIH CHENG, 2023
A low-viscosity immersion coolant for high-performance computing systems, comprising a polyalphaolefin (PAO) base with added fatty alcohols and fatty acids having shorter carbon chains. The additives reduce intermolecular forces in the PAO, lowering its viscosity while maintaining its flash point and electrical conductivity. The coolant enables efficient heat transfer and thermal management in high-power computing applications, including data centers and edge computing systems.
27. Viscosity Fluid Formulation with API Group II-V Base Oil and Additive for Electric Vehicle Drive Units
TESLA INC, 2023
A low-traction, high-pressure viscosity fluid formulation for electric vehicle drive units and drivelines, comprising a base oil selected from API groups II-V and an additive, optimized for motor cooling, oxidation stability, and evaporation resistance while maintaining gearbox protection and efficiency.
28. Lubricating Composition with Boron and Nitrogen Additives for Electric and Hybrid Vehicle Systems
TOTALENERGIES ONETECH, 2023
A lubricating composition for electric and hybrid vehicles that combines lubrication and cooling properties. The composition comprises a base oil and additives such as antiwear, antioxidant, and dispersant agents, with specific concentration ranges of boron (≤100 ppm) and nitrogen (100-500 ppm). The composition is designed to provide improved durability and electrical resistivity for electric motor and hybrid vehicle applications, including cooling of power electronics, rotors, and stators, as well as lubrication of bearings and gearboxes.
29. Preliminary Study on the Applicability of Water-Based Lubricant as a Direct Cooling Medium in Rotating Electrical Machines
Liguo Yang, Yu Cao, Shimin Zhang - IEEE, 2023
Direct oil cooling is particularly popular in modern electric drive systems as it enables an effective cooling performance. Subsequently, the power density of the electric drive can be significantly increased. However, the cooling efficiency is severely limited due to the significantly lower heat capacity and thermal conductivity of oils than the conventional cooling medium, water. To overcome the limitation of oil cooling, a water-based lubricant possessing much higher heat capacity and thermal conductivity is developed as a direct cooling medium. Considering the high electric conductivity, the applicability of the water-based lubricant is discussed in this paper under the aspects of material compatibility and the effects on the electric behavior of the insulation system. The results indicate sufficient material compatibility of the lubricant with the enameled wire. The lubricant affects the insulation system during operation as its presence enhances the likelihood of electric leakage and leads to electric field concentration on the insulation materials.
30. Selected Aspects of Lubrication in Die Forging Processes at Elevated Temperatures—A Review
Marek Hawryluk, Łukasz Dudkiewicz, Jan Marzec - MDPI AG, 2023
The paper concerns selected aspects of the application of coolinglubricating agents as well as methods and devices assigned to lubrication in hot die forging processes realized at elevated and high temperatures in the context of their effect on the quality of the forgings and the durability of the forging instrumentation. An analysis was made of the currently used lubricants and their properties and applications in selected industrial forging processes, and a review was conducted of the presently applied coolinglubricating systems and devices. The article also presents the authors own studies referring to the effect of the application of lubricating and cooling agents, the volume of the lubricant portion, the times and directions of its application, and other factors affecting tribological conditions. It also presents lubricating devices constructed based on the knowledge and experience of the authors. The elaborated systems, introduced into selected forging processes, make it possible to examine the effect of the volume and time-frequency of the applied lubricant dose on the wear... Read More
31. Cooling Assembly with Dual-Coolant Jacket Featuring Segregated and Bypass Passages
CATERPILLAR INC, 2023
A cooling assembly for an electric machine that employs multiple coolants circulating through a single cooling jacket. The jacket has separate passages for two coolants, with a bypass passage connecting the outer passages and bypassing the inner passage. This configuration enables independent circulation of two coolants, such as water and oil, through the jacket to enhance cooling efficiency of the electric machine.
32. Dielectric Oleaginous Heat Transfer System with Direct Contact Bath and Variable Amplitude Zigzag Sipes
THE LUBRIZOL CORP, 2023
A heat transfer system and method employing a dielectric oleaginous heat transfer fluid for cooling electrical componentry. The fluid has low electrical conductivity, low flammability, and low freeze point, and is free of cyclic structures. The system includes a bath containing the fluid in direct contact with the electrical componentry, a heat transfer fluid reservoir, and a heat exchanger. The fluid is pumped through the system to absorb heat from the componentry and transfer it to the heat exchanger for cooling.
33. Vehicle Motor Drive Device with Integrated Stator Cooling and Bearing Lubrication System
NIDEC CORP, 2023
A drive device for a vehicle motor that integrates stator cooling and bearing lubrication into a single lubricant supply system. The device features a housing with separate motor and gear compartments, each with its own bearing support structure. A lubricant supply portion is positioned radially outward of the stator and connects to the bearing support structures through a dedicated lubricant flow path, eliminating the need for a separate oil passage to the bearing.
34. Fluorinated Ether Compounds with Unique Molecular Structure for Thermal Management Fluids
CASTROL LTD, 2023
Fluorinated ether compounds for thermal management fluids, particularly for battery-powered electrical vehicles, computing data centers, and high-performance computers. The compounds have a unique molecular structure that enables them to efficiently manage heat while maintaining electrical insulation properties. They can be formulated into thermal management fluids that meet coolant specifications, including viscosity, flashpoint, and thermal conductivity requirements, while also meeting environmental standards. The compounds can be used in direct cooling of electrical components, eliminating the need for electrical shielding and enabling more efficient heat transfer.
35. Lubricant Composition with Traction Coefficient Additive for Electric Vehicle Gearboxes
KURCHAN ALEXEI NIKOLAEVICH, 2022
A lubricant composition for electric vehicle gearboxes that reduces energy losses by minimizing traction coefficient. The composition includes a base stock and a traction coefficient additive, which can be a polyhydroxyalkyl or polyhydroxyalkenyl carboxylic acid or a polyether compound. The additive is specifically designed to reduce friction between gear components, enabling improved energy efficiency and longer battery life in electric vehicles.
36. Lubricating Compositions with Branched Diester and Low Molecular Weight Poly(meth)acrylate Copolymers for Electric and Hybrid Vehicle Transmissions
AFTON CHEMICAL CORP, 2022
Lubricating compositions for electric and hybrid-electric vehicle transmissions that provide simultaneous lubricating, electrical, and thermal performance. The compositions comprise a solvent system of a base oil blended with a branched diester, combined with low molecular weight poly(meth)acrylate copolymers. The branched diester component is a reaction product of dicarboxylic acids and alcohols with specific chain lengths. The copolymers have a weight average molecular weight of 50,000 g/mol or less and a polydispersity index of 1-2. The compositions achieve electrical conductivity of 80,000 pS/m or less and thermal conductivity of 134 mW/m*K or more.
37. Lubricant Composition with Sterically Hindered Amines and Dimercaptothiazole Derivatives for Electric Vehicle Propulsion Systems
TOTAL MARKETING SERVICES, 2022
Lubricant composition for electric vehicle propulsion systems that combines sterically hindered amine or phenol compounds with amine-based and/or sulfur-based antiwear additives to prevent corrosion and wear while maintaining electrical insulation properties. The composition comprises a base oil, one or more sterically hindered amine or phenol compounds as anticorrosion additives, and one or more amine-based and/or sulfur-based antiwear additives, such as dimercaptothiazole derivatives.
38. Electric Axle Cooling System with Axial Rotor Coolant Lines and Circumferential Stator Spray Rings
DANA TM4 INC, 2022
A cooling system for electric traction motors in electric axles, comprising a coolant manifold mounted to the rotor end plate, rotor coolant lines extending axially through the rotor, and spray rings positioned circumferentially about the stator end windings. The coolant manifold supplies coolant to the rotor coolant lines, which flow axially through the rotor to radially directed flow lines that connect with heat transfer lines. The spray rings receive coolant from the rotor coolant lines and direct it onto the stator end windings. A motor sump system collects the coolant and returns it to a heat exchanger.
39. Lubricating and Cooling Fluid for Electric Motor Systems with Sulfurized Component, Dual Dispersant System, and Multi-Component Friction Modifier System
AFTON CHEMICAL GMBH, MERCEDES-BENZ GROUP AG, 2022
A lubricating and cooling fluid for electric motor systems that provides wear protection, friction reduction, and cooling while maintaining low electrical conductivity and copper corrosion resistance. The fluid comprises a lubricating base oil, a sulfurized component, a dispersant system with two dispersants of different molecular weights, and a friction modifier system with multiple components. The dispersants are balanced to maintain low conductivity while providing wear protection, and the friction modifiers are selected to optimize friction reduction while minimizing electrical conductivity. The fluid is designed for use in electric motor systems operating at elevated temperatures, where conventional lubricants may fail to provide adequate performance.
40. Lubricant Composition with Carboxylic Acid Ester Base Oil for Electric Vehicle Component Stability
BASF SE, 2022
A lubricant for electric vehicles comprising a base oil selected from carboxylic acid esters, such as 2-ethylhexyl oleate, that provides controlled electrical conductivity, heat conductivity, wear protection, oxidation stability, deposit control, and corrosion inhibition over the lifetime of the lubricant. The carboxylic acid ester base oil enables the lubricant to maintain its lubricating properties despite exposure to high surface temperatures of electrical components in electric and hybrid vehicles.
41. Lubricant Composition Comprising Polyalkylene Glycols for Enhanced Heat Transfer in Electric Vehicle Components
TOTAL MARKETING SERVICES, 2022
Lubricant composition for cooling electric vehicle engines and batteries. The composition contains polyalkylene glycols (PAGs) obtained by polymerizing alkylene oxides like ethylene oxide or copolymerizing ethylene oxide and propylene oxide. The PAGs cool the engine components and batteries by transferring heat more effectively than air or water. The composition can also lubricate engine parts like bearings and gears. It provides an alternative cooling method to air or water cooling for electric vehicles and hybrid vehicles.
42. In-Wheel Motor Drive Device with Integrated Lubricating Oil Supply Structure
NTN CORP, 2022
A lubricating oil supply structure for an in-wheel motor drive device, comprising an oil tank, an oil pump, and an oil pipe. The oil tank is positioned at the lower part of the motor unit and/or reducer unit, and the oil pump is configured to pump lubricating oil from the tank. The oil pipe is fixedly mounted in the upper part of the motor unit and/or reducer unit, with an inlet for receiving pumped oil and at least one outlet for discharging oil downwards.
43. Electric Drive Assembly with Integrated Oil and Water Dual Cooling System
JING JIN ELECTRIC TECH CO LTD, 2022
An electric drive assembly for new energy vehicles featuring oil/water dual cooling. The assembly comprises a motor module, gearbox module, water cooling module, and oil cooling module. The motor module includes a motor housing, shaft, and stator, while the gearbox module includes a gearbox housing connected to the motor housing. The water cooling module comprises a motor water jacket and heat exchanger, with the heat exchanger located at the gearbox housing's lower end. The oil cooling module features an oil conveying device at the gearbox housing's bottom, with oil passages connecting the motor and gearbox housings. The assembly enables efficient cooling of both the motor and gearbox through a closed-loop system, improving reliability and service life.
44. Electric Vehicle Powertrain with Dual-Pump Cooling System and Segregated Oil Chambers
HUAWEI DIGITAL POWER TECHNOLOGIES CO LTD, 2022
A powertrain for an electric vehicle that improves cooling performance through a dual-pump system. The system includes a mechanical oil pump driven by the powertrain's rotating components and an electronic oil pump controlled by the vehicle's MCU. The two pumps work together to provide sufficient cooling oil flow, with the mechanical pump handling high-speed operation and the electronic pump handling low-speed and blocked motor scenarios. The system also features a shared oil pan and separate oil chambers for the motor and reducer, allowing for efficient cooling oil distribution and heat dissipation.
45. Rotating Electrical Machine with Rotor Shaft Coolant Injection and Radial Flow Distribution
CUMMINS INC, 2022
Rotating electrical machine with improved cooling system, comprising a rotor shaft with a hollow interior, a stator with end windings, and a coolant circuit. The machine includes an injection tube connected to the machine enclosure, which introduces coolant into the hollow interior of the rotor shaft. The coolant flows through the hollow interior, exits at each end, and is propelled radially outwards towards the stator end windings, providing even and effective cooling without complex cooling circuits or multiple injection points.
46. Cooling and Lubrication System with Dual-Pump Configuration and Compartmentalized Housing for Electric Vehicle Transmission and Electric Machine
ZAHNRADFABRIK FRIEDRICHSHAFEN, 2022
A cooling and lubrication system for electric vehicles, comprising a housing with separate compartments for the transmission and electric machine, a coolant sump, two pumps, and a heat exchanger. The system delivers coolant to the transmission and electric machine through a network of spray nozzles and outlets, with the first pump delivering a liquid-air mixture to the transmission and the second pump delivering pressurized coolant to the electric machine. The system also includes a common rail reservoir with multiple outlets and a filter to maintain coolant quality.
47. Powertrain Cooling System with Reversible Oil Pump for Bidirectional Coolant Circulation
HUAWEI DIGITAL POWER TECH CO LTD, 2022
A powertrain cooling system for electric vehicles that improves heat dissipation efficiency of the powertrain, particularly the motor, through a novel oil circulation mechanism. The system employs a reversible oil pump that alternates between forward and reverse rotation to circulate coolant through the motor and oil tanks. When the pump reverses, coolant is introduced into the motor cavity, where it accumulates and cools the motor components by immersion. This approach enables effective cooling even when the motor is stationary or operating at low speeds, addressing a critical challenge in electric vehicle powertrains.
48. Lubricant Composition with Low Electrical Conductivity and Variable Viscosity for Electric Vehicle Transmissions
SHELL INTERNATIONALE RESEARCH MAATSCHAPPIJ BV, 2022
Lubricant fluid for electric vehicle transmissions that provides improved performance in electric vehicles operating at high torques, high speeds, and low temperatures. The lubricant composition contains specific base oils, additives, and viscosity modifiers that provide the required properties for electric vehicle transmissions. The composition has low electrical conductivity to insulate high voltage components and prevent dielectric breakdowns. It also has high electrical resistivity. The composition can be used in electric vehicle transmission applications to improve efficiency and reliability.
49. Gearbox Housing with Internal Cooling Pins for Enhanced Heat Transfer
RIVIAN IP HOLDINGS LLC, 2022
Gearbox housing with internal cooling pins to enhance heat transfer from lubricant to coolant, particularly in regions surrounding bearings and gears, thereby reducing thermal limitations on gearbox performance and lifespan.
50. Lubricating Fluid Composition with Thiadiazole and Amine Salt Additives for Low Conductivity in Electric Motors
AFTON CHEMICAL CORP, 2022
A durable lubricating fluid for electric motors and hybrid-electric motors that maintains low electrical conductivity over its lifespan. The fluid comprises a lubricating oil, a thiadiazole or derivative providing sulfur and nitrogen, an amine salt of a phosphoric acid ester providing phosphorus and nitrogen, and a sulfur-to-phosphorus-to-nitrogen weight ratio of at least 2.3. This composition delivers wear protection while maintaining low electrical conductivity, making it suitable for electrified vehicles.
Get Full Report
Access our comprehensive collection of 92 documents related to this technology
