Improved Power Efficiency of Liquid Immersion Cooling for Data Center
Liquid immersion cooling systems in data centers operate at thermal capacities up to 100 kW per rack, exceeding traditional air-cooling limits by an order of magnitude. Modern dielectric fluids demonstrate thermal conductivities between 0.07-0.15 W/m·K and heat capacities of 1-2.5 kJ/kg·K, creating a significant but underutilized potential for enhanced cooling efficiency. In typical deployments, however, power usage effectiveness (PUE) ratios still hover between 1.15-1.30, indicating substantial room for optimization in real-world implementations.
The fundamental challenge lies in maximizing heat transfer coefficients at the component interface while simultaneously minimizing the energy required to circulate, condense, and recycle the cooling medium.
This page brings together solutions from recent research—including two-phase immersion systems with active vapor management, waste heat recovery mechanisms that convert thermal energy into fluid circulation, porous-coated heat transfer surfaces, and dynamically adjustable cooling systems that respond to varying computational loads. These and other approaches demonstrate how power efficiency improvements can be practically implemented in data center environments while maintaining reliability and reducing operational costs.
1. Two-Phase Immersion Cooling System with Active Vapor Condensation and Return Mechanism
LIQUIDSTACK HOLDING BV, 2025
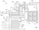
Two-phase immersion cooling system with active vapor management to reduce fluid loss and improve efficiency compared to prior art two-phase cooling systems. The system uses a vapor management system connected to the immersion tanks to condense and return vapor instead of allowing it to escape. This prevents fluid loss and reduces the need for continuous chiller operation compared to freeboard condensers. The vapor management system has a valve that opens when tank pressure exceeds a threshold to allow vapor admission, condensing it in a separate chamber, and returning condensed liquid back to the tanks. This prevents overfilling while capturing and recycling vapor.
2. Two-Phase Coolant Evaporation System with Impeller-Driven Single-Phase Coolant Circulation for Immersion Liquid Cooling Servers
SUZHOU METABRAIN INTELLIGENT TECHNOLOGY CO LTD, 2025
Waste heat recovery system for immersion liquid cooling servers that allows heat dissipation without needing additional pumps. The system uses a two-phase coolant in an evaporation box that absorbs heat from the single-phase coolant in the server immersion tank. A driving impeller in the circulation pipe rotates as the gas-filled coolant flows, driving a driven impeller to pump the single-phase coolant. This recirculates the coolant without pumps, utilizing the evaporating coolant's heat to drive the pumping.
3. Immersion Cooling Waste Heat Recovery System with Two-Phase Coolant-Driven Impeller Mechanism
SUZHOU METABRAIN INTELLIGENT TECHNOLOGY CO LTD, 2025
Waste heat recovery system for immersion liquid cooling servers that reduces energy consumption and improves environmental performance by leveraging the waste heat generated during server operation. The system uses two-phase coolant to absorb some of the heat from the single-phase coolant circulating through the server chassis. Gas bubbles formed in the two-phase coolant drive an impeller in the return pipe, which then drives an impeller in the coolant inlet to pump the single-phase coolant. This pumpless circulation allows the waste heat to be converted into kinetic energy instead of just dissipating it, improving overall system efficiency.
4. Data Center Cooling System with Isolated Capsules Containing Secondary Cooling Medium
HUAWEI DIGITAL POWER TECHNOLOGIES CO LTD, 2025
Improved cooling system for data centers with higher efficiency compared to conventional liquid cooling systems. The cooling system uses separate cooling mediums in isolated capsules immersed in a common storage tank. The capsule contains a secondary cooling medium that transfers heat to the primary cooling medium in the tank. This allows more efficient heat transfer since the capsule's secondary cooling medium can be optimized for the specific device being cooled, while the tank's primary cooling medium can be optimized for overall system efficiency.
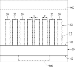
5. 1U Server Rack with Integrated Immersion-Cooled High-Power GPU Array
CHENG GANG, 2025
A high-density computing system that integrates six or more high-power graphics processing units (GPUs) in a compact 1U server rack, utilizing immersion cooling to efficiently dissipate heat generated by the GPUs. The system enables operation of multiple high-power GPUs in a single rack, achieving higher computational density and performance compared to traditional air-cooled systems.
6. Immersion Cooling System with Rotor-Driven and Passive Flow Mechanisms for Dielectric Coolant Circulation
SUBMER TECHNOLOGIES SL, 2025
An active-passive immersion cooling system for electronic devices that combines forced convection with passive heat transfer to enhance cooling efficiency. The system features a rotor-driven flow stream that circulates dielectric coolant through a heat sink's flow ducts, while also allowing passive liquid flow when the rotor is not operational. The system can be used in both single-component and multi-component configurations, and is particularly suited for high-power devices such as servers and data storage systems.
7. Modular Immersion Cooling System with Configurable Nozzles and Adjustable Filler Body
LIQOMI BV, 2025
Immersion cooling system for controlling the temperature of a heat generating hardware component, comprising a reservoir with multiple hardware positions, a cooling liquid supply with individually configurable nozzles for each position, and a recovery system. The system enables precise temperature control by directing cooling liquid to specific hotspots on each component, and can be scaled up or down by connecting multiple reservoirs. A filler body can be inserted between the component and reservoir bottom to optimize liquid volume and flow.
8. Sealed Liquid Immersion Cooling Apparatus with Integrated Refrigeration and Condensing Coil System
INVENTEC CORP, INVENTEC TECHNOLOGY CORP, 2024
Liquid immersion cooling apparatus for high-performance servers, comprising a sealed cabinet with a transparent cover, a refrigeration device located in the gas space, and a coiled tube for condensing coolant vapor. The refrigeration device includes a liquid-cooled heat exchanger and a cooling chip, with the coiled tube thermally coupled to the heat exchanger. The coiled tube condenses coolant vapor from the gas space, allowing it to drip back into the liquid space and recycle the coolant, eliminating waste and preventing condensation on the cover.
9. Two-Phase Immersion Heat Dissipation Structure with Porous Coated Fin Surface and Reinforcement Frame
AMULAIRE THERMAL TECHNOLOGY INC, 2024
A two-phase immersion-type heat dissipation structure having a porous structure for enhanced heat transfer. The structure includes a heat dissipation substrate with a fin surface and a non-fin surface, a plurality of fins integrally formed on the fin surface, and a reinforcement frame surrounding the fins. A porous structure with a porosity of 10-50% and thickness of 0.1-1 mm is applied to the fin surface and fins to increase heat transfer efficiency. The structure can be used in immersion cooling systems for high-power electronic devices.
10. Immersion Cooling System with Dynamic Heat Load Adjustment and Predictive Monitoring
LIQUIDSTACK HOLDING BV, 2024
An actively controlled immersion cooling system for data centers that dynamically adjusts cooling power to match the heat load of IT equipment. The system continuously monitors system parameters, weather conditions, and IT equipment performance to optimize cooling capacity and energy efficiency. It performs readiness checks, performance monitoring, and predictive weather-based adjustments to ensure reliable and efficient cooling.
11. Immersed Cooling System with Targeted Liquid Coolant Distribution for Heat-Generating Components
FULIAN PRECISION ELECTRONICS CO LTD, 2024
An immersed cooling system for electronic devices, comprising a liquid coolant and a heat exchanger, wherein the coolant is selectively directed to components with high heat generation rates to optimize cooling efficiency.
12. Thermal Management System with Independent Immersion Chambers and Pressure-Controlled Boiling Fluids
MICROSOFT TECHNOLOGY LICENSING LLC, 2024
A thermal management system for electronic devices that uses separate immersion chambers to cool components with different thermal requirements. Each chamber contains a working fluid that absorbs heat from the component, and the fluid pressure in each chamber can be independently controlled to optimize boiling temperatures. The system enables customized thermal management for components with varying heat loads, reducing energy waste and improving overall system efficiency.
13. Modular Data Center Cooling System with Integrated Air and Two-Phase Immersion Cooling Technologies
BAIDU USA LLC, 2024
A data center cooling system for heterogeneous IT clusters, comprising a prefabricated module design that integrates multiple cooling technologies, including air cooling and two-phase immersion cooling, within a single enclosure. The system features a containment layer that separates hot and vapor zones, and a heat exchanger that enables heat transfer between the two zones. The system also includes a return conduit for condensed vapor and a cooling air supply for air-cooled servers, enabling efficient cooling of both air-cooled and immersion-cooled servers in a single cluster.
14. Immersion Cooling System with Submersible Flow Module and Thermal Coupling Interface
BAIDU USA LLC, 2024
A server and cooling system for immersion cooling of high-power IT equipment. The system includes a flow module with a housing, channel, inlet, pump, and fluid distribution interface, which can be submerged in an immersion cooling fluid. The flow module can be coupled to a cooling device, such as a cold plate or evaporator, which is thermally coupled to the IT equipment. The system enables efficient heat transfer and management of high-power density servers in immersion cooling environments.
15. Two-Phase Immersion-Cooling Structure with Skived Fins and High Thermal Conductivity Substrate
AMULAIRE THERMAL TECHNOLOGY INC, 2024
A two-phase immersion-cooling heat-dissipation structure with skived fins having high surface roughness for enhanced heat transfer. The structure features a high thermal conductivity substrate with a vacuum-sealed cavity containing liquid, which forms an indirect contact with the heat-generating component. Skived fins with high surface roughness are attached to the substrate to facilitate efficient heat transfer through the immersion-cooling process.
16. Composite Heat Dissipation Device with Surface Porous Layer and Fins for Enhanced Heat Transfer
AMULAIRE THERMAL TECH INC, 2024
A two-phase immersion-type composite heat dissipation device that combines a surface porous layer and fins to enhance heat transfer. The device features a heat dissipation substrate with a heat source-facing surface and an opposite surface with fins, and a surface porous layer covering a portion of the substrate's low-temperature region. The porous layer and fins work together to create nucleation sites for bubble generation and enhance heat transfer through the immersion cooling process.
17. Fluid Immersion Cooling System with Dual-Phase and Single-Phase Coolant Layer Configuration
SUPER MICRO COMPUTER INC, 2024
A fluid immersion cooling system for electronic systems that uses a dual-phase coolant fluid in combination with one or more overlying layers of single-phase coolant fluids. The dual-phase fluid has a lower boiling point and higher density than the single-phase fluids, allowing it to vaporize and condense in a controlled manner. Heat-generating components are submerged in the dual-phase fluid, which vaporizes and rises to the single-phase fluid layer where it condenses and returns to the dual-phase fluid, completing the cooling cycle.
18. Dual-Mode Cooling System with Cold Plate and Immersion Cooling Loops for Server Components
NVIDIA CORP, 2024
A dual-mode cooling system for datacenters that combines cold plate cooling and immersion cooling to efficiently cool both high-power and low-power server components. The system features separate cooling loops for high-power components cooled by cold plates and low-power components cooled by immersion in a dielectric liquid, enabling improved cooling efficiency and reduced power consumption compared to traditional air cooling methods.
19. Immersion Liquid Cooling Tank Assembly with Condenser and Closed Airflow Loop System
QUANTA COMPUTER INC, 2024
An immersion liquid cooling tank assembly for servers and other electronic devices, comprising a tank with a base and sidewalls, a condenser for vapor-to-liquid phase change, a cross-flow fan for airflow generation, an internal wall system for airflow direction, a top cover, and a sloping wall that creates a closed airflow loop with the sidewalls to enhance heat removal efficiency.
20. Advancement of Liquid Immersion Cooling for Data Centers
Zhihao Jin - Darcy & Roy Press Co. Ltd., 2024
With the increasing processing capabilities of data centers, the demand for advanced cooling has been increased, positioning liquid immersion cooling systems as a focal point due to their effectiveness and environmental benefits. This paper reviews the current state and prospects of liquid immersion cooling technologies for data centers by paper analyzing. The research spans the optimization of cooling technology parameters, material and coolant performance, as well as system level integration and thermal management. The characteristics analysis of liquids and supercritical fluids underscores the significance of coolant selection Innovative cooling network designs have been shown to initiate failures and improve thermal distribution, enhancing data center performance and reliability. Additionally, the interplay between cooling systems and IT systems has been explored for its overall energy efficiency impact. Liquid immersion cooling technology demonstrates vast potential in ensuring safety, enhancing heat exchange efficiency, and meeting the growing needs of future data center develo... Read More
21. Two-Phase Immersion-Cooling Composite with High-Thermal-Conductivity Fins and High-Porosity Solid Structures
AMULAIRE THERMAL TECH INC, 2024
A two-phase immersion-cooling heat-dissipation composite structure comprising a heat dissipation base, high-thermal-conductivity fins, and high-porosity solid structures. The heat dissipation base has a first surface connected to the fins and a second surface in contact with a heating element immersed in a two-phase coolant. The high-porosity solid structures are located at the first surface, alternately arranged between adjacent fins, and have a predetermined volume ratio to the fins.
22. Two-Phase Immersion Cooling System with Porous Skived Fin Heat Dissipation Structure
AMULAIRE THERMAL TECH INC, 2024
A two-phase immersion cooling system with a porous heat dissipation structure featuring skived fins with high porosity. The structure comprises a porous substrate with a surface in contact with a heating element and a plurality of skived fins integrally formed on the opposite surface, with the fins having a higher porosity than the substrate. The system enables efficient heat transfer through the endothermic gasification process of the coolant.
23. Cooling Module with Nozzle Plate for Microjet Impingement in Immersion-Cooled Electronic Devices
JETCOOL TECHNOLOGIES INC, 2024
A cooling module for immersion-cooled electronic devices that enhances heat removal from high-power components. The module features a housing with a nozzle plate that produces a multiplicity of microjets of immersion fluid, which strike the device's impingement zone at high velocity. The module integrates a pump and motor to pressurize the fluid, and a fastener attaches it to the device. The design enables efficient cooling of high-power components in immersion-cooled systems, particularly in applications such as data centers, high-performance computing, and cryptocurrency mining.
24. Containment System with Vapor Management Aisle and Mobile Vapor Return Unit for Two-Phase Immersion Cooling
BAIDU USA LLC, 2024
A containment system for managing two-phase immersion cooling in data centers, comprising a first aisle for immersion tanks and a vapor management aisle positioned above, with a vapor return unit that condenses vapor into coolant and a motion system to move the unit along the aisle.
25. Localized Thermal Accelerator with Cooling Plate and Heat Spreading Structure for Two-Phase Fluid Immersion Cooling
BAIDU USA LLC, 2024
A localized thermal accelerator for immersion cooling of high-density electronics, comprising a cooling plate with a two-phase fluid inlet and outlet, and a heat spreading structure within a cooling enclosure that increases surface contact area with the two-phase fluid to cause phase change and vaporization. The cooling plate is submersible in a single-phase immersion fluid tank, with the two-phase fluid providing localized cooling to hotspots and enabling increased power and density of immersion-cooled electronics.
26. Immersion Cooling System with Vaporizing Working Fluid and Spray Nozzle Recondensation Mechanism
MICROSOFT TECHNOLOGY LICENSING LLC, 2024
A thermal management system for cooling electronics that uses an immersion tank with a working fluid, a heat exchanger, and a spray nozzle to cool heat-generating components. The system operates by vaporizing the working fluid in the immersion tank, condensing the vapor in the headspace, and then spraying the liquid working fluid back into the headspace to condense additional vapor. The system can be configured with sensors and a logic controller to monitor and control the cooling process.
27. Two-Phase Immersion Cooling Device with Detachable Upper and Lower Boxes and Full-Cavity Condenser Coil
FULIAN PRECISION ELECTRONICS CO LTD, 2024
A two-phase immersion cooling device for high-power electronic components, comprising an upper box with a condenser coil that fills the entire cavity, and a lower box containing the coolant and heating elements. The upper and lower boxes are detachably connected, allowing for easy installation and removal of the heating elements. The device includes a fan, sensors, and a coolant management system, and can be used for applications such as data centers, new energy vehicles, and medical treatment.
28. Mobile Condenser System with Sealed Port Interfaces and Liquid Collectors for Two-Phase Fluid Management in Immersion-Cooled IT Enclosures
BAIDU USA LLC, 2023
A two-phase fluid management system for immersion-cooled IT enclosures that addresses the challenges of vapor containment and fluid replenishment in large-scale data centers. The system employs a mobile condenser that moves between positions to condense vapor and collect liquid, with a blower and valves powered by energy storage systems. The condenser is sealed to the enclosure and mates with condenser ports at each position, while liquid collectors direct the condensed liquid to output ports. The system enables efficient and automated vapor management across multiple enclosures, eliminating the need for individual fluid replenishment and monitoring.
29. Pressurized Two-Phase Immersion Cooling System with Dynamic Pressure Adjustment and Variable Boiling Point Control
MICROSOFT TECHNOLOGY LICENSING LLC, 2023
A pressurized cooling system for electronic components that dynamically adjusts pressure to optimize cooling performance. The system uses a two-phase immersion cooling container filled with dielectric heat transfer fluid and a pressure control system that can maintain different pressure levels. By adjusting pressure, the system can change the boiling point of the fluid, enabling multiple cooling rates and fluid compositions to be used simultaneously. This allows for fine-grained control over cooling performance, enabling optimized cooling for specific components or operating conditions.
30. Phase Change Immersion Liquid Cooling System with Deformable Condensation and Liquid Storage Components
HUAWEI CLOUD COMPUTING TECH CO LTD, 2023
A phase change immersion liquid cooling system for computing equipment, comprising a management control device and a computing node. The management control device includes a deformable body with a condensation component and a liquid storage component, which can be connected to the computing node through vapor and liquid paths. The computing node includes a node chassis with liquid and steam ports, and an air balance valve for pressure compensation during maintenance operations. The system enables efficient heat transfer and condensation of vaporized working fluid, while maintaining pressure balance and facilitating maintenance operations.
31. Porous Electroplated Coating with Gradient Metal Grain Structure for Enhanced Thermal Management in Immersion Cooling
SYSTEMEX ENERGIES INC, 2023
Porous coating for immersion cooling of electronic components like CPUs and GPUs that has high thermal performance and prevents dryout. The coating is deposited on the heat spreader of the processor using electroplating to create a porous structure. The coating has metal grains with increasing size in the direction of heat flow. The grains define pores that induce bubble nucleation during immersion cooling. The coating also has a wicking structure to draw cooling liquid into the pores. The multi-scale pore structure allows efficient heat transfer over a wide range of power levels. The coating prevents dryout because it wicks more cooling liquid and has a low contact angle with the liquid.
32. Optimization of a Air-Cooled Heatsink for Immersion Cooling Application
Gautam Gupta, Vivek Nair, Sai Abhideep Pundla - American Society of Mechanical Engineers, 2023
Abstract Data centers have started to adopt immersion cooling for more than just mainframes and supercomputers. Due to the inability of air cooling to cool down recent high-configured servers with higher Thermal Design Power, current thermal requirements in machine learning, AI, blockchain, 5G, edge computing, and high-frequency trading have resulted in a larger deployment of immersion cooling. Dielectric fluids are far more efficient at transferring heat than air. Immersion cooling promises to help address many of the challenges that come with air cooling systems, especially as computing densities increase. Immersion-cooled data centers are more expandable, quicker installation, more energy-efficient, allows for the cooling of almost all server components, save more money for enterprises, and are more robust overall. By eliminating active cooling components such as fans, immersion cooling enables a significantly higher density of computing capabilities. When utilizing immersion cooling for server hardware that is intended to be air-cooled, immersion-specific optimized heat sinks sho... Read More
33. A Numerical Study Comparing Forced and Natural Convection in a High-Density Single-Phase Immersed Cooled Server
Gautam Gupta, Vivek Nair, Pratik Bansode - American Society of Mechanical Engineers, 2023
Abstract Data centers are witnessing an unprecedented increase in processing and data storage, resulting in an exponential increase in the servers power density and heat generation. Data center operators are looking for green energy efficient cooling technologies with low power consumption and high thermal performance. Typical air-cooled data centers must maintain safe operating temperatures to accommodate cooling for high power consuming server components such as CPUs and GPUs. Thus, making air-cooling inefficient with regards to heat transfer and energy consumption for applications such as high-performance computing, AI, cryptocurrency, and cloud computing, thereby forcing the data centers to switch to liquid cooling. Additionally, air-cooling has a higher OPEX to account for higher server fan power. Liquid Immersion Cooling (LIC) is an affordable and sustainable cooling technology that addresses many of the challenges that come with air cooling technology. LIC is becoming a viable and reliable cooling technology for many high-power demanding applications, leading to reduced maint... Read More
34. Two-Phase Immersion Cooling System with Sealed External Chassis and Integrated Condenser Unit
BAIDU USA LLC, 2023
A two-phase immersion cooling system for high-density electronics, comprising a sealed external chassis housing an internal chassis with submerged IT equipment and a condenser chassis on top, with a condenser unit to condense vapor back into liquid. The system includes management modules to regulate coolant flow and level, and a coolant unit with pumps and valves to circulate the two-phase coolant.
35. Porous Metal Substrate with Vertically Arranged Fin Assembly and Reinforcement Frame for Two-Phase Immersion Heat Dissipation
AMULAIRE THERMAL TECHNOLOGY INC, 2023
A two-phase immersion-type heat dissipation structure for high-power electronic components, comprising a porous metal substrate with a fin assembly and a metal reinforcement frame. The substrate has a lower surface in contact with the component and an upper surface with vertically arranged fins. The reinforcement frame surrounds the substrate's periphery and has protruding side walls with through-holes for coolant replenishment. The structure enables efficient heat transfer through the substrate's porosity and fin assembly, while the reinforcement frame maintains structural integrity and facilitates coolant circulation.
36. Immersion Cooling System for Rack-Mounted Servers with Dielectric Liquid and Temperature-Controlled Heat Exchanger
GREEN REVOLUTION COOLING INC, 2023
A cooling system for rack-mounted servers that immerses the servers in a dielectric liquid coolant in a tank, with a controller maintaining the coolant temperature at an elevated level to enable efficient heat transfer and reduce energy consumption. The system uses a heat exchanger to reject heat from the coolant, and can be integrated with secondary cooling systems. The elevated coolant temperature enables lower temperature differences between the servers and the coolant, reducing thermal resistance and energy consumption compared to conventional air-cooling systems.
37. Thermal Management System with Vapor Condensing Mechanism for Immersion-Cooled Computing Devices
MICROSOFT TECHNOLOGY LICENSING LLC, 2023
A system for thermal management of computing devices that prevents vapor buildup in the cooling fluid surrounding heat-generating components. The system includes an immersion chamber, a cooling fluid, and a condenser positioned above the liquid cooling fluid to condense vapor back into liquid, maintaining a stable vapor-to-liquid ratio and preventing dryout effects. The condenser can be integrated into the chamber or positioned externally, and can be designed to operate at a specific temperature or pressure to optimize cooling performance.
38. Single-Phase Immersion Cooling System with Internal Manifold and Blind-Mating Connectors for Localized Server Cooling
BAIDU USA LLC, 2023
A single-phase immersion cooling system for data centers that enables localized cooling of servers through internal cooling channels. The system features a built-in manifold in the immersion tank that connects to servers via blind-mating connectors, allowing for targeted cooling of high-power density components. Each server has a cooling plate with internal channels that receive a secondary coolant source, which is either supplied from an external manifold or directly from the immersion tank. This design enables efficient cooling of high-density racks and clusters while maintaining a consistent thermal environment.
39. Thermal Management System with Multi-Fluid Immersion Cooling and Dynamic Mixing Ratio Adjustment
MICROSOFT TECHNOLOGY LICENSING LLC, 2023
A thermal management system for electronic devices that enables dynamic adjustment of cooling performance through a multi-fluid immersion cooling approach. The system comprises multiple working fluid reservoirs containing fluids with different boiling temperatures, a mixing device to blend the fluids in a controlled ratio, and an immersion tank where the mixed fluid cools the electronic components. The system can dynamically adjust the mixing ratio based on operating conditions to optimize cooling performance, and the mixed fluid can be separated and recycled to the respective reservoirs for reuse.
40. Two-Phase Immersion Cooling System with Local Fluid Acceleration and Phase Separation for High-Density Servers
BAIDU USA LLC, 2023
A two-phase immersion cooling system for high-density servers that incorporates local fluid accelerations to address hotspots. The system features a cooling plate with heat spreading structures and fluid channels that receive two-phase fluid from an inlet port. Intermediate outlets between the inlet and outlet allow for vapor or liquid phase separation, enabling targeted cooling of hotspots. The cooling plate is integrated into a server enclosure that is partially submerged in a two-phase immersion fluid, with a distribution manifold providing fluid supply to multiple servers. The system can be controlled by temperature sensors to manage fluid flow and maintain optimal cooling performance.
41. Rack-Mountable Cooling Tray with Fluid Circulation and Immersion Cooling Bays
DELL PRODUCTS LP, 2023
A rack-mountable tray for cooling computing modules, comprising a plurality of bays with thermal pads, each bay having a cold fluid intake and a warm fluid return, and a fluid circulation system that circulates fluid through the bays to transfer heat from the computing modules. The tray can also include an immersion cooling system where the computing modules are submerged in a coolant.
42. Immersed Liquid Cooling System with Flow-Equalizing Plates and Bidirectional Circulation Assemblies
CANAAN CREATIVE CO LTD, 2023
An immersed liquid cooling system for high-density computing devices, comprising a liquid cooling module with flow-equalizing plates, a cooling circulation device, and a plurality of computing devices to be cooled. The liquid cooling module has liquid oil inlets positioned below the computing devices, with a flow direction from bottom to top, and flow-equalizing plates arranged to distribute the cooling liquid evenly across the devices. The cooling circulation device includes an oil circulation cooling assembly, a water circulation cooling assembly, and a control module connected to a PID thermostat. The system enables improved heat dissipation equilibrium and reduced temperature differences between devices.
43. Hybrid Thermal Management System with Combined Immersion and Thermosiphon Cooling for IT Enclosures
BAIDU USA LLC, 2023
A hybrid thermal management system for servers in an IT enclosure that combines immersion cooling with thermosiphon cooling. The system uses a single-phase fluid to cool the server chassis, while thermally coupled electronics within the chassis are cooled by a two-phase fluid that evaporates and condenses to absorb heat. This hybrid approach enables targeted cooling of hotspots and improves reliability and efficiency compared to traditional immersion cooling systems.
44. Data Center Cooling System with Integrated Immersion and Two-Phase Coolant Manifolds
BAIDU USA LLC, 2023
A data center cooling system that integrates immersion cooling with two-phase coolant units. The system features electronic racks with built-in two-phase coolant manifolds that supply a dielectric liquid to IT equipment cooling sets. Each cooling set includes an IT unit submerged in the liquid and a condensing unit above it, which condenses the vapor back into liquid phase. The system also includes a central coolant system and distribution lines to manage the two-phase coolant flow.
45. Fluid Distributor with Integrated Thermoelectric Device and Conduits for IT Cooling Systems
BAIDU USA LLC, 2023
A fluid distributor for IT liquid cooling systems that integrates a thermoelectric device into a single unit with fluid supply and return conduits. The thermoelectric device generates power as it cools the fluid, which is used to control a valve and enable energy harvesting. The distributor can be used in both internal rack manifolds and external data center loops, and can be applied to both liquid cooling and single-phase immersion cooling systems.
46. Modular Pass-Through Plate Liquid Immersion Cooling System with Vapor Management and Contamination Prevention Features
TMGCORE INC, 2023
A liquid immersion cooling system for computing devices that enables customization of hardware input and output specifications through a modular pass-through plate design. The system incorporates features such as vapor management, carbon traps, fluid return mechanisms, and spray systems to maintain optimal cooling performance and prevent component contamination. The system also includes a pressure-controlled tank, heat exchanger, and management system to maintain a stable operating environment.
47. Two-Stage Phase Change Thermal Management System with Submerged Evaporative Cooling and Thermosiphon Condenser
BAIDU USA LLC, 2023
A multi-phase change thermal management system for servers that employs two stages of phase change cooling. The system submerges servers in a first phase change liquid that evaporates and is cooled by a secondary phase change liquid in a condenser unit. The secondary phase change liquid is cooled in a thermosiphon cycle, allowing for efficient heat transfer and management of high-power density electronics.
48. Data Center Server Cooling System with Dynamic Medium Replenishment and Circulating Mechanism
ALIBABA GROUP HOLDING LTD, 2023
A cooling system for data center servers that improves cooling efficiency by dynamically replenishing and circulating a cooling medium. The system includes a cabinet containing the server, a storage tank for the cooling medium, and a control system that monitors the medium's volume and purity. When the medium's volume falls below a threshold, the control system opens a valve to replenish the cabinet from the storage tank. The system also includes a filtering device that maintains the medium's purity and a heat exchanger that enhances cooling performance.
49. Information Handling System with Component-Integrated Pump-Directed Immersion Cooling
DELL PRODUCTS LP, 2023
Information handling system (IHS) immersion cooling with node pumping, where each IHS component has an integrated pump to actively direct cooling fluid flow directly to the component's cold plate, enabling increased cooling capability and overcoming limitations of traditional bulk flow cooling systems.
50. Performance analysis of single-phase immersion cooling system of data center using FC-40 dielectric fluid
M. Muneeshwaran, Yueh-Cheng Lin, Chi‐Chuan Wang - Elsevier BV, 2023
Immersion cooling technologies have become an emerging cooling method for data center cooling. The studies available in open literature dealt with immersion cooling performance of data servers using mineral oil, EC-100, and Opticool 872552, but the studies focusing on the performance of FC-40 dielectric fluid is not available. Therefore, this study aimed to develop a single-phase liquid immersion cooling system using FC-40 dielectric fluid for a 1U (44.45 mm height) data server. The present study experimentally investigated the influence of different design and operating parameters, including the inlet/outlet port configuration (T and Z configurations), the bypass effect, the flowrate (13 LPM), the heating load (200600 W), the inlet fluid temperature (1535 C), the presence of suction fan with various arrangements, and different heat sink bases (solid base, vapor chamber and heat pipe base). The results showed that the T-configuration could provide a 12.6% and 0.52.8 C reduction in thermal resistance and case temperature compared to the Z-configuration, respectively. Furthermore... Read More
Get Full Report
Access our comprehensive collection of 76 documents related to this technology
