Interferometry Testing for Lubricant Films
Interferometry testing reveals lubricant film behaviors at the nanometer scale, where molecular interactions and tribological properties determine machinery performance and longevity. Current optical interferometry techniques achieve resolution below 1 nm when measuring film thickness between contacting surfaces, allowing researchers to observe the transition from boundary lubrication to elastohydrodynamic regimes. These measurements correlate directly with friction coefficients ranging from 0.001 to 0.15 under varying load and speed conditions.
The challenge lies in developing interferometry systems that can accurately characterize lubricant film properties under dynamic conditions while maintaining measurement precision across temperature gradients and pressure fluctuations.
This page brings together solutions from recent research—including dual-phase test cells with integrated sensors, microfluidic devices for real-time analysis, solvent-diluted thin film techniques, and dielectric property measurement methods. These and other approaches provide engineers with practical tools to evaluate lubricant performance, detect degradation patterns, and predict mechanical system longevity through precise film characterization.
1. Rapid Failure of Lubricated Contacts With Grease Under Zero Entraining Velocity Condition
Hengrui Du, Weidong Xie, Wang Jing - ASME International, 2025
Abstract In response to the rapid failure of grease lubrication under low surface speed with zero entraining velocity, a common occurrence in ball screws or cageless rolling element bearings, detailed observations were conducted through optical interferometric experiments. It was observed that despite a constant surface speed and load, the motion remained transient due to the transition between outlet cavitation and inlet starvation. The reciprocating motion of the cavitation zone rapidly depleted the contact area, leading to severe surface peeling. However, as the surface speed increased, this phenomenon was alleviated and eventually disappeared. To enhance lubrication performance, bilateral grooves were created using laser technology, proving to be advantageous for grease lubrication life under low surface speed conditions. Despite the occurrence of rapid surface failure, grease lubrication demonstrated clear benefits over oil lubrication when operating at low surface speeds.
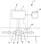
2. Sensor Device with Electrode-Based Impedance Measurement for Lubricant State Detection in Lubrication Systems
SKF LUBRICATION SYSTEMS GERMANY, 2024
Sensor device for detecting lubricant state in lubrication systems, comprising a sensor unit with electrodes to measure impedance of lubricant at different frequencies, and an evaluation unit to determine lubricant state based on measured impedance. The sensor unit can be integrated into lubricant lines or arranged directly in the lubricant, and can be designed to move and shear the lubricant to enhance measurement accuracy. The evaluation unit can compare measured impedance to a reference value, and can also consider temperature measurements to determine lubricant state.
3. Grease Deterioration Detection via Solvent-Diluted Thin Film Color Analysis
NSKLTD, 2024
A method for detecting grease deterioration that uses a small amount of grease and can detect both contamination and oxidation-based degradation. The method involves diluting the grease with a solvent to create a thin film, which is then analyzed using a color sensor or camera. The degree of deterioration is determined by measuring changes in the film's color properties.
4. Visualization of oil-lubrication ball bearings at high rotational speeds
Mamoru Tohyama, Yasuhiro Ohmiya, Michiru Hirose - Frontiers Media SA, 2024
Deep-groove ball bearings for the eAxles of electric vehicles must adapt to higher rotational speed conditions because the speed of eAxle motors have been increasing as the size and weight of the motors decrease. Therefore, understanding the oil-lubricated conditions inside ball bearings at high rotational speeds is essential for optimizing their design for eAxles. To clarify the oil-lubricated conditions inside ball bearings at these high speeds, a new test apparatus was developed. This apparatus is capable of simultaneously measuring the friction torque of deep-groove ball bearings, the oil-film thickness on the rolling balls, and observing the oil distributions inside the bearings at rotational speeds up to 20,000 min -1 . The oil-film thickness was measured using three-wavelength optical interferometry, and the oil distribution was observed using fluorescence. It was found that the oil-film thickness became constant at rotational speed conditions exceeding approximately 7,700 min -1 . Oil starvations were observed on the raceway around the rolling ball, and these regions increase... Read More
5. An Experimental Study on the Distribution of Grease in Cylindrical Roller Bearings
He Liang, Yan Lu, Wenzhong Wang - MDPI AG, 2024
The lubrication performance of bearings is greatly influenced by the distribution of the lubricant. In this study, a cylindrical rolling bearing test rig was constructed and presented. The distribution of grease and lubricating oil along the contact region was examined using the laser-induced fluorescence technique, and the thickness of the layer was determined. The lubricating oil and grease layer thickness distribution map was acquired. The effects of supply amount, thickener content, and speed on grease distribution were examined. Mechanisms for replenishing the line contact area were investigated.
6. A comprehensive review of non-destructive methods for bearing lubricating oil film thickness measurement
Fei Shang, Bo Sun, Dandan Cai - Emerald, 2024
Purpose The purpose of this study is to investigate the application of non-destructive testing methods in measuring bearing oil film thickness to ensure that bearings are in a normal lubrication state. The oil film thickness is a crucial parameter reflecting the lubrication status of bearings, directly influencing the operational state of bearing transmission systems. However, it is challenging to accurately measure the oil film thickness under traditional disassembly conditions due to factors such as bearing structure and working conditions. Therefore, there is an urgent need for a nondestructive testing method to measure the oil film thickness and its status. Design/methodology/approach This paper introduces methods for optically, electrically and acoustically measuring the oil film thickness and status of bearings. It discusses the adaptability and measurement accuracy of different bearing oil film measurement methods and the impact of varying measurement conditions on accuracy. In addition, it compares the application scenarios of other techniques and the influence of the environ... Read More
7. EFFECT OF THE BIO-LUBRICANT ON THE LUBRICATINGPROPERTIES AND SURFACE OF THE FRICTION ZONE
J. Drabik, R. Kozdrach, Edyta Osuch-Słomka - Index Copernicus, 2024
Tests carried out on a rotational rheometer with a tribological cell enabled the simultaneous designation oflubricating and viscosity characteristics depending on temperature and load as a function of variable slidingspeed. The analysis of the dependence of the coefficient of friction on the sliding speed provided the basis forevaluating the effectiveness of lubrication of steel tribosystems with bio-lubricants. Spectroscopic methodswere used to monitor changes in the microstructure of the bio-lubricants after tests. The scanning electronmicroscopy (SEM) and energy dispersive spectroscopy (EDS) were used to characterise the morphologyand structure of the surfaces of the tribosystem elements. The instrumental methods used confirmed that thetest conditions did not destabilise the chemical structure of the lubricant and did not accelerate the oxidationprocess of the vegetable grease.
8. Elastohydrodynamic Traction and Film Thickness at High Speeds
Alexander MacLaren, Amir Kadiric - Springer Science and Business Media LLC, 2024
Abstract A renewed interest in elastohydrodynamic lubrication (EHL) phenomena at high speeds, for which thermal effects strongly influence both traction and film thickness, has grown out of the challenges presented by high-speed geared transmissions in electric vehicles. This study uses a new ball-on-disc set-up employing the well-known ultra-thin-film interferometry technique to simultaneously measure EHL film thickness and traction at entrainment speeds up to 20 m/s and slide-roll ratios up to 100%. The effect of fluid composition is examined for Group I, II and III mineral oils, for two polyalphaolefins in Group IV, and for the traction fluid Santotrac 50. The effect of viscosity in the range 4180 mPa.s is investigated by varying bulk fluid temperature. At high speeds, both film thickness and traction are considerably lower than predicted by conventional EHL theory. The contact is seen to be fully-flooded for all conditions tested. The widely-used thermal EHL correction of Gupta is shown to overcorrect for the film thickness reduction even at modest SRRs. Finally, the influence o... Read More
9. Micropitting performance and friction behaviour of DLC coated bearing steel surfaces : On the influence of Glycerol-based lubricants
Juan Guillermo Zapata Tamayo, Marcus Björling, Yijun Shi - Elsevier BV, 2024
A better understanding about the rolling contact fatigue and micropitting performance of machine component surfaces lubricated with environmentally friendly lubricants is critical to designing and further formulating new lubricants intended to be used in rolling-sliding contacts such as those found in gear and bearing applications. In this work, the frictional behaviour and rolling contact fatigue (RCF) performance of DLC, Cr/a-WC:H/a-C:H and a-C:Cr coatings under glycerol-based lubrication in rolling sliding contact conditions have been investigated. Traction maps, Stribeck curves, and fatigue plots have been generated by using a micropitting test rig (MPR). The initiation and progression of micropitting was monitored by means of white light optical interferometry and scanning electron microscopy (SEM). Results indicated that glycerol-based lubricants exhibited a significant friction reduction as the hydrodynamic effect is enhanced at higher rolling-speeds. Under boundary lubrication the friction coefficient was significantly higher compared to the values obtained with a commercial ... Read More
10. Effect of Oil Dispersion on Lubricating Film Thickness Generation under Oil Droplet Supply Conditions
Chenglong Liu, Wei Li, Feng Guo - MDPI AG, 2023
Oilair lubrication has proven to be very effective for high-speed bearings because the oil supply in the form of droplets can be precisely controlled. This work uses optical interferometry to study the mechanism of lubricating film formation in rolling point contact with oil droplet lubrication. The effect of a double oil drop pair, where two oil droplets are positioned in mirror images about the central axis of the lubricated track, is examined. The process by which pairs of oil droplets approach and lubricate a bearing contact is analysed. This study also covers the effect of multiple oil droplets supplied in a tailored or a random dispersion pattern. Additionally, the effects of oil viscosity, entrainment velocity, and droplet distribution on starvation are also investigated.
11. Investigation of Lubricant Oil Film Thickness on Workpiece under Minimum Quantity Lubrication Milling Process
Nurrina Rosli, Nur Izzati Khoirunnisa Ismail, Amiril Sahab Abdul Sani - Japanese Society of Tribologists, 2023
Minimum Quantity Lubrication (MQL) technology has drawn attention as an effective lubrication technique despite its small usage of lubricants during the machining process. The technology has undeniably minimized the manufacturing cost as well as the adverse impacts towards the environment and health of operators. However, the ability of the small droplets of lubricant oil to penetrate the cutting zone must be investigated to enhance the machining performance. The penetration ability can be predicted if the amount of lubricant oil adhered to the workpiece is known. Nonetheless, observing the lubricant behavior is commonly challenged by the existing tools during the machining process. Therefore, a non-intrusive technique must be applied to conscientiously observe the lubricant behavior. In this paper, the thickness of lubricant oil resulted by the droplets accumulation on the workpiece during MQL milling process was measured using a Laser-Induced Fluorescence technique to predict the lubricating effects of the lubricant. The surface roughness of workpiece was also measured to investiga... Read More
12. A Methodological Approach to Assessing the Tribological Properties of Lubricants Using a Four-Ball Tribometer
Tareq M. A. Al-Quraan, Fadi Alfaqs, Jamil Haddad - MDPI AG, 2023
Based on the analysis of standards for the testing of lubricants, both liquid and plastic, on a four-ball tribometer, and the analysis of the parameters by which lubricants are evaluated, this paper proposes a methodology and an integral parameter for the estimation of tribological properties. The methodological approach proposed in this paper allows for the integration of a variety of parameters provided in the standards for the testing of lubricants into one indicator. Herein, we show that the developed technique is based on the energy approach and takes into account the specific wear work of the test material (steel balls) in the lubricating medium to be investigated. The results of laboratory tests of a wide range of lubricants are presented: hydraulic fluids, motor and transmission oils of various purposes and classifications. It is shown that the magnitude of the integral parameter can be used to assess the effectiveness of anti-wear and anti-scuff additives in base lubricants, as well as the ranges of their applications. This allows for differentiation and quantitative evaluat... Read More
13. Method for Determining Lubricant Film Thickness and Electrical Characteristics Using Dielectric Property Measurements
NSK LTD, 2023
Method for detecting oil film state in lubricated devices, comprising deriving film thickness and electrical characteristic parameter from measurements of dielectric properties, particularly relative dielectric constant and loss factor, under controlled conditions. The method enables simultaneous determination of lubricant film thickness and electrical characteristic parameter, facilitating early detection of wear and damage in rotating parts.
14. A Comparative Analysis of the Lubricating Performance of an Eco-Friendly Lubricant vs Mineral Oil in a Metallic System
J. Santos García-Miranda, Luis D. Aguilera-Camacho, María T. Hernández-Sierra - MDPI AG, 2023
Eco-friendly lubricant research continues to increase since it has a comparative performance to commercial mineral lubricants to overcome the effects of environmental impact. However, the efficiency of these green lubricants depends on specific applications. In this study, we analyzed the friction and wear performance of a castor/sesame oil mixture as an eco-friendly lubricant and its comparison to a commercial mineral lubricant tested in a metallic system employed in bearing elements. For this purpose, AISI 8620 steel against ISO 100Cr6 was used as tribological pair. The friction and wear tests were carried out through a Tribometer of ball-on-disk configuration under boundary lubricating conditions, whereas the worn surfaces were investigated by using optical and electron microscopy. The physical properties and the rheological properties of the lubricants were also determined. The friction and wear performance between the eco-friendly lubricant and mineral oil were similar so that the CLE were comparable. The CLE values in terms of friction and wear ranged from 86% to 99.4%, respect... Read More
15. Influence of Free Water Droplets on Film Formation Under Point Contact Grease Lubrication
Yiming Han, Petr Šperka, Jing Wang - ASME International, 2023
Abstract The influence of the grease-water two-phase emulsion on the bearing tracks on the film formation has been studied by carrying out optical interferometry experiments on a ball disk test rig to observe the dynamic film-forming behavior of lubricating grease under steady-state and micro-oscillation conditions. It is found that free water causes a brief rise in the grease film under steady-state conditions, specifically due to the grease-water phase connecting the oil reservoirs on both sides. The experiment determines that the state of the phase before entering the elastohydrodynamic lubrication (EHL) contact is water-in-oil. For the reciprocating motion and oscillation, the effects of the amount of free water and the length of the motion stroke are discussed in detail. It is found that for reciprocating movements with long stroke lengths, the effect of free water is summarized to enhance the fluidity of the fibrous mass of the grease thickener in the first few cycles of the movement. For shorter stroke lengths, the effect of free water is a scouring effect on the contact zone ... Read More
16. System and Method for Evaluating Deposit Formation on Conductors Using a Dual-Phase Test Cell with Integrated Electrical Property Sensors
THE LUBRIZOL CORP, 2023
System and method for evaluating deposit formation on electrical conductors exposed to lubricant compositions in liquid and vapor phases. The system includes a test cell with a heater to generate vapor phase, a support frame holding conductors in liquid and vapor phases, and a sensor component detecting changes in electrical properties due to conductive deposit formation. The method involves supporting conductors in liquid and vapor phases, supplying electric current, and detecting changes in electrical properties. The system enables evaluation of lubricant compositions, conductor materials, and deposit formation under controlled conditions.
17. Influence of lubricant material in the point contact zone of rolling friction on fatigue life for friction bearing units
А. А. Миланенко, A. N. Savchuk, Y. Turytsia - Khmelnytskyi National University, 2023
Although lubrication is necessary for the satisfactory operation of rolling bearings, the effect of lubricant on the fatigue life of the bearing has not been sufficiently studied. In recent times, the theory of elastohydrodynamic (EHD) lubrication [1] has been used to explain the different effects of lubricants. According to this theory, the thickness of the lubricating layer separating the moving elements of the bearing is determined by the viscosity-pressure dependence of the lubricant. The contact of surface micron irregularities does not occur if it is possible to maintain a sufficient thickness of the lubricating layer - in this case, the long-term durability of the bearing is ensured. If the film thickness is reduced to a level where surface irregularities are encountered, the fatigue life rapidly decreases with increasing contact frequency. In any case, a comprehensive calculation methodology is needed that would allow to take into account the influence of lubricant on the fatigue life of bearing units.
18. Oil State Detection Apparatus with Immersed Oscillation Circuit for Lubricant Degradation Analysis
NIPPON PILLAR PACKING CO LTD, 2023
Oil state detection apparatus for vehicles and construction machinery that detects degradation substances in lubricant oil. The apparatus includes a first oscillation circuit with a coil and capacitor, where either the coil or capacitor is immersed in the oil, and a detection device that measures the oscillation frequency.
19. Viscoelastic Response of Elastohydrodynamically Lubricated Compliant Contacts below Glass-Transition Temperature
Jiri Krupka, Kryštof Dočkal, Tomáš Sedláček - MDPI AG, 2023
The widespread use of polymers in the high-performance engineering applications brings challenges in the field of liquid lubrication in order to separate the rubbing surfaces by the coherent fluid-film thickness relative to not only the inelastic material response of the polymers. The determination of the mechanical properties by the nanoindentation and the dynamic mechanical analysis represents the key methodology to identify the viscoelastic behavior with respect to the intense frequency and temperature dependance exhibited by polymers. The fluid-film thickness was examined by the optical chromatic interferometry on the rotational tribometer in the ball-on-disc configuration. Based on the experiments performed, first, the complex modulus and the damping factor for the PMMA polymer describing the frequency and temperature dependence were obtained. Afterwards, the central as well as minimum fluid-film thickness were investigated. The results revealed the operation of the compliant circular contact in the transition region very close to the boundary between the Piezoviscous-elastic an... Read More
20. TRIBOLOGICAL ANALYSIS OF NANOPARTICLES IN LUBRICANTS USING FOUR BALL TESTER
Shaurya Tarun, Siamjoyful Keishing, Subhash Sharma - International Research Journal of Modernization in Engineering Technology and Science, 2023
Lubricants are essential for keeping internal combustion engine parts lubricated and extending the engine's useful life.For its application, lubricating oils' load carrying capacity is a crucial factor.This study measures the coefficient of friction of 20W40 engine oil with various nanoparticles using the Four-Ball testing method.The tribological characteristics of the formed oil were assessed by a four ball tester during tests that were conducted in accordance with conventional test procedures.For 30 minutes, the spinning ball is rotated at 1,200 rpm at 75 C.As per ASTM D 4172 B, the coefficient of friction was assessed.
21. Correlation between Lubricating Oil Characteristic Parameters and Friction Characteristics
Li Wang, Qingguo Qiu, Pu Zhang - MDPI AG, 2023
In order to help one to judge the friction properties of lubricating oils without tests, this paper intends to establish the correlation between the characteristic parameters of lubricating oils and the friction properties. The elastohydrodynamic and boundary friction properties of poly alpha olefin (PAO) synthetic oil, polyol ester oil and paraffin-based mineral oil were tested using a Mini-Traction Machine. Fourier transform infrared microscopy is used to identify material changes before and after friction tests. The kinematic and dynamic viscosities of the three lubricating oils were measured using a petroleum product viscosity tester and a rotating rheometer. The results show that the kinematic viscosity does not directly determine the COF (coefficient of friction) of the lubricating oil, but the higher the dynamic viscosity, the higher the COF of the lubricating oil. The higher the viscosity-pressure coefficient, the lower the viscosity index (the worse the viscosity-temperature performance), and the higher the COF of the lubricating oil, which is related to the adaptability of ... Read More
22. Lubrication Film Generation with Limited Lubricant Supply and Its Tuned Oil Replenishment in a Cylinder-on-Disc Contact
Wei Jin, Feng Guo, Shuyi Li - MDPI AG, 2023
Limited lubricant supply (LLS) with tuned dosage is an emerging approach to reduce friction and energy consumption. However, LLS can cause severe starvation when the oil supply is insufficient. Therefore, how to effectively replenish oil to the lubricated contact in LLS operation is very important. Using a custom-made optical slider bearing test rig, this work experimentally revealed some characteristics of LLS lubrication in a cylinder-on-disc contact, and proposed two wettability gradient patterns, namely stripe wettability and interlaced wettability, to regulate the lubricant supply to improve the lubricating properties of LLS. The effect of these two wettability patterns was evaluated experimentally according to the lubricating film thickness. The interferograms of the bearing contact under LLS show that the two patterns can augment the oil replenishment through unidirectional lubricant transport by the unbalanced interfacial force via the wettability gradient. Moreover, the interlaced wettability pattern is more effective due to the discontinuous distribution of lubricant from i... Read More
23. Testing of Lubricants for DIC Tests to Measure the Forming Limit Diagrams of Aluminum Thin Sheet Materials
Szabolcs Szalai, Hanna Csótár, Dmytro Kurhan - MDPI AG, 2023
We investigated lubricants and thin teflon foils that can be applied in the formability testing of the thin aluminum sheets used in the electronics and automotive industries. For the tests, thirteen different industrial lubricants (oils and greases) (i.e., L1L13) and two Teflon films (i.e., 0.08 and 0.22 mm thick) were applied. The authors conducted an Erichsen test, and the thickness reduction of the discs was measured first. In forming-limit curve (FLC) tests, it is crucial that the stresses are localized in the central area of the specimen during forming and that biaxial deformation is maintained throughout, if possible. We aimed to achieve and fulfill this task. To perform this measurement, the GOM ARAMIS measuring system was utilized. It is an optical measuring system based on the digital image correlation (DIC) principle, capable of measuring both stresses and displacements in real time. A specific validation method was also developed to qualify the DIC system. We concluded that there was a 5% difference in Erichsen indentation (IE) number diagrams between the best (L12) and w... Read More
24. A Computational Study on the Role of Lubricants under Boundary Lubrication
Walter Holweger, Luigi Bobbio, Zhuoqiong Mo - MDPI AG, 2023
The knowledge of how lubricants contribute to the operational life of a drive train is unclear until now, despite the fact that plenty of literature is available. A novel concept is presented in order to estimate the wear appearing in bearings addressed to the regime of mixed friction with respect to the composition and the so-called inner structure of the lubricant. In doing so, the composition is turned into a set of predictors describing the dipolar and inducible dipolar properties of all components as an activity amongst them and toward the surface. The results show that the activity of the solvated specie apparent, stated as the inner structure of the lubricant, is closely related to the surface activity and the expected wear. The technique presented here allows a fast computational procedure such that a given lubricant, once known by its constituents, could be explored with respect to the expected wear. Reducing time-consuming tests is desirable by the fact that new materials are forthcoming as a consequence of regulations and evolving green technology.
25. Analysis of the line contact tribo-lubrication pair and failure mechanism under the extreme conditions
Zhihe Duan, Tonghai Wu, Adam Głowacz - Elsevier BV, 2023
Theoretical analyses can be performed on elastohydrodynamic lubrication (EHL) and mixed lubrication (ML), but not for the boundary due to the complicated contact conditions of the friction pair. More importantly, it is difficult to monitor the operating parameters of a line-contact friction pair. Thus, the extreme condition point of the line-contact cannot be determined in the BL. To address this issue, the temperature during the line-contact friction is adopted as a measure to analyze the extreme condition point of the line-contact. The extreme condition is recognized in the experiments, while the friction failure mechanism is analyzed by the temperature. The analysis results demonstrate that the temperature in extreme conditions is higher than the flash point temperature; the extreme condition point falls into the BL range, but its Schipper lubrication number falls into the ML region. As a result, the extreme condition point can be determined by experimental or field testing.
26. Exploring electrical metrics for tribology measures in oil films: System design, analysis principle and physical effects
Chunliang Kuo, Jhihjie Liu, Meng‐Kun Liu - Elsevier BV, 2023
This study investigates lubricating performances of oils through altering the working conditions in accelerated aging tests, observing the degradations on the lubricants' performances and incorporating in-time detections for verification. To meet the aims, a new measuring system has been developed to observe alterations of the recorded viscosity index, color difference, thermal coefficient and torque transmission in the oil film under electrical discharges. To resolve the quality of lubricating oil in real time, the discharging waveforms and the acoustic indexes were applied to the marginal Hilbert spectrum for characterizing the time-frequency domain features. The Fisher score of the selected features successfully differentiated the new and used lubricants. The physical effects in association with the degradations of oil films are reported in detail.
27. Coarse-grained molecular dynamics simulation of oil film formation and delamination in boundary lubrication
Yoshitaka Umeno, Shizhe Deng, Atsushi Kubo - Japan Society of Mechanical Engineers, 2023
In the boundary lubrication, where both fluid lubrication and solid contact states coexist, the formation and delamination of lubricant layers on the solid surface are expected to occur alternately. This study aims to reveal the nanometer scale mechanisms of lubricant layer formation and delamination by means of coarse-grained molecular dynamics simulation. Our calculations demonstrated time-dependent transition from the slip between lubricant layers to the stick-slip at the lubricant/solid interface and vice versa. Time needed for the transition differed depending on the separation between the opposing solid surfaces, between which lubricant molecules were filled. It was also shown that the delamination of lubricant layers on the solid surface was suppressed by the presence of solid surface asperity.
28. Synergistic Lubrication for Textured Surfaces Using Polar and Nonpolar Lubricants
Wei Wang, Wenhan Zhao, Qiang Ma - ASME International, 2023
Abstract The synergistic effect of surface texturing and lubricants with various viscosity and polarity properties is an attractive and unexplored topic. In this study, surface texturing characterized by circular dimples has been manufactured on steel surfaces in advance, which can improve the lubrication of frictional units compared with the bare disc under different lubricants. Then, three lubricants, low-viscosity and nonpolar white oil, high viscosity and nonpolar silicone oil, and highly viscous and polar castor oil, were used to evaluate the interaction between surface texture and the lubricating oil. The contact angles of each lubricant on the textured and bare surface were measured to investigate the lubricant intermolecular force and wettability. The oil film thickness simulation and tribological experiments were conducted. The tribological results indicate that lubricants with varied characteristics work differently due to their different properties on textured surfaces. Castor oil exhibits the best tribological properties of the three oils used to supply the textured surfa... Read More
29. Development of a high-precision Four-Ball friction machine for lubricant testing
М. В. Прожега, Artem Stasenko, E. O. Reschikov - AIP Publishing, 2023
The development of new types of lubricants requires highly accurate testing equipment. The design of a laboratory bench has been developed for testing greases according to a four-ball scheme following international standards and beyond them.
30. Friction and Wear Characteristics of Engine Oil Through Four-Ball Tester
Venkateswara Babu Peddakondigalla, Syed Ismail, Vasavi Boggarapu - Springer Nature Singapore, 2023
Lubrication is a crucial factor in improving the tribological performance of various components and thus, the overall working performance of an internal combustion engine. This paper addresses the lubrication performance of different lubricants, which are commercially available and used in automobile engines. The experiments are conducted on a four-ball tester for evaluating the tribological performance of selected lubricants, namely SAE20W-50, SAE15W-40, and SAE10W-30. The tests are designed according to ASTM D4172, and the friction and wear performance of the lubricants are characterized for better lubrication performance. The lubricant SAE15W-40 has shown excellent lubrication performance with lower friction coefficient and wear scar diameter among all the tested lubricants.
31. On the effect of temperature in friction force measurements for a simplified piston cylinder set-up: Squeeze film combined with minimum oil film thickness measurements and viscosity index effect
Polychronis Dellis - SAGE Publications, 2023
The lubricated interface at the piston-ring and liner and its interaction with different lubricants and testing conditions is examined in terms of experimental measurements that show the minimum oil film thickness developed at the lubricated or depending on conditions partly lubricated conjunction and the surface interaction intensity, as measured from the friction sensor. An analysis is carried out with the use of different parameters for the experiments as well as different lubricants in a simplified piston-ring simulation test rig. This analysis is further enhanced with the squeeze film effect investigations close to the stroke reversals and together with cavitation initiation and load-carrying effect results from previous experimental data, light is shed on the interacting surfaces behaviour at the different lubrication regimes. Another parameter, the viscosity index of the lubricant is used as an indication of the effects of squeeze film shift and friction force measurements and how the load and temperature effect are influencing the squeeze film.
32. Liquid superlubricity of lubricants containing hydroxyl groups and their aqueous solution under rolling/sliding conditions
Tomáš Poláček, Petr Šperka, Ivan Křupka - Tsinghua University Press, 2023
Abstract Macroscale rolling/sliding conditions are in the superlubricity, a little-studied topic so far. The purpose of this paper is to examine the formation of elastohydrodynamic lubrication (EHL) films by water-based lubricants (glycerol and polyethylene glycol (PEG)), providing superlubricous friction. Experiments were carried out on an optical ball-on-disc tribometer under rolling/sliding conditions. The film thickness was measured by the thin film colorimetric interferometry, and the viscosity of liquids was measured by rotational and high-pressure falling body viscometers. The results show that tribochemical reactions are not the mandatory reason for friction to reach the superlubricity level when using the water-based lubricants. The studied liquids themselves are almost Newtonian. With the addition of water, the signs of shear thinning behavior disappear even more. Suitable conditions for this type of lubricant can be predicted using the known HamrockDowson equations. An anomaly in the thickness of the lubricants was observed as an abrupt change at certain conditions. The m... Read More
33. A unified model for large-scale thickness measurement of lubricating film based on ultrasonic lag phase slope
Jianyun Wang, Yanbo He, Chuanwei Zhang - Elsevier BV, 2023
A unified model based on the ultrasonic lag phase slope is developed for measuring the lubricating film thickness at a large scale. The ultrasonic lag phase of adjacent waves instead of the phase of overlapped waves is calculated as a function of the ultrasonic frequency and film thickness. The slope of the ultrasonic lag phase is determined correspondingly, which is linearly proportional to the lubricating film thickness. Both the finite element analysis and tests on the lubricating film thickness are performed to verify the proposed method. The results show that despite the fluctuations of the lag phase, the lag phase slope can be used for measuring the lubricating film thickness at a large scale from 0.1 m to 170 m.
34. Development of a Temperature Control Stage for Nano Rheology Measurement Suppressing Positional Fluctuations Caused by Environmental Temperature Changes
Takumi Nozue, Shintaro Itoh, Kenji Fukuzawa - Japan Society of Mechanical Engineers, 2023
Polymer additives in lubrication oils are known to play a role as viscosity index improvers that change the temperature dependence of viscosity. On the other hand, it is assumed that polymers adsorbed on surfaces contribute to low friction, and clarification of their mechanical properties and temperature dependence is essential for lubrication design. In our previous research, we have successfully measured the gap dependence of mechanical properties (shear viscoelasticity) of base oils by applying the fiber wobbling method (FWM), a nano-rheological measurement method that we originally developed. In this study, we developed a temperature-control stage for FWM to measure the temperature dependence of shear viscoelasticity in nano-gaps of polymer-added lubricants.
35. Wear Metal Particle Detection System with Dynamic Diagnostic Thresholds in Engine Lubricant
CUMMINS INC, 2022
A system for detecting wear metal particles in engine lubricant, comprising a controller that determines particle concentration, confidence, and baseline levels, and sets dynamic diagnostic thresholds based on these factors. The controller provides a notification when the threshold is exceeded, enabling proactive maintenance to prevent engine damage.
36. Effect of Contact Conformity on Grease Lubrication
Michal Okál, David Košťál, Petr Šperka - MDPI AG, 2022
This work focused on the experimental study of grease lubrication mechanisms around contacts in radial ball bearing 6314. The main objective of this work was to show the influence of conformities and their impact on grease lubrication in ball bearings. For the experiments, a tribometer of ball-on-ring configuration was used and fluorescence microscopy was chosen as the observation method. The results showed that, under starvation conditions, a conformity of 0.52 at velocities around 2 m/s produces a 50% thicker lubricating film than a conformity of 0.58. The available amount of lubricant around the contact area for conformity 0.52 was approximately three times less than that for conformity 0.58, and the same ratio was observed for the amount of lubricant on the rolling track. Experiments show that a realistic tribometer geometry allows a more accurate experimental study of the lubrication mechanisms of greases in ball bearings.
37. Calculating the film thickness for the rapeseed oil in order to evaluate functioning regime
Dionis GUGLEA, C Georgescu, Lorena Deleanu - IOP Publishing, 2022
The lubricating film, generated between two surfaces in relative motion, may have theoretical thicknesses between 10 -10 m and 10 -5 m. This paper presents a model for calculating the minimum film thickness depending on load, sliding speed and temperature for rapeseed oil working as lubricant in a point contact and a method of designing maps of lubrication regimes for a punctual contact. The results are useful in introducing this vegetal oil in actual applications. data for viscosity-temperature dependence of the rapeseed oil are taken from literature and for the same regime parameters tests are reported on the four-ball tester. The results pointed out the sensitivity of rapeseed oil to regime parameters (load and sliding speed), but also to temperature. Calculations are done for temperatures measured in actual functioning of the four-ball tester lubricated with rapeseed oil.
38. In-Situ Lubrication Film Thickness Measurements in a Radial Piston Motor Using Adaptive Ultrasound Reflectometry
Elias Vagn Hansen, Jens Rendbæk, Lasse Almind Jensen - American Society of Mechanical Engineers, 2022
Abstract Lubrication film thickness monitoring between moving contact surfaces within industrial machinery is of great research interest because it is linked to the efficiency and rate of maintenance of the machine. Ultrasound reflectometry shows potential within this field of research, primarily because the ultrasound transducers can be conveniently implemented in operation-ready machinery. In this article, the lubrication film thickness inside an operational radial piston motor is estimated using two adaptive ultrasound reflectometry methods. A new Gaussian random walk based adaptive ultrasound reflectometry method is compared against the existing layer phase-lag method with adaptive Extended Kalman filter based calibration. It is found that the new method proposed gives less noisy and more accurate lubrication film thickness estimates, but it is more difficult to tune. It is found that both methods can detect the significant lubrication film thickness dynamics present in a radial piston motor, but they need further investigation regarding their robustness and reliability.
39. Method and System for Engine Condition Diagnosis Using Lubricant Particle Coking Level Detection via Energy Emission Analysis
PRATT & WHITNEY CANADA CORP, 2022
Method and system for diagnosing engine condition based on lubricant coking level, comprising filtering lubricant particles, exciting particles with a beam, detecting emitted energy, comparing to expected energy, and determining coking level to diagnose engine condition.
40. Elastohydrodynamic Lubrication of Compliant Circular Contacts near Glass-Transition Temperature
Jiri Krupka, Kryštof Dočkal, Ivan Křupka - MDPI AG, 2022
Lubrication of polymer materials nowadays represents a subject of interest in many engineering applications, such as bearings or gears, to utilize them in the areas where conventional metal materials have so far dominated. However, material properties of polymers are strongly dependent on temperature that delimits a lubrication process and leads to manifestations of viscoelastic behavior of polymers. An understanding of mechanisms, which are responsible for formation of film thickness near the glass-transition temperature, is necessary to prevent initialization of failure modes and to increase the durability of polymer engineering components. Optical chromatic interferometry was applied to investigate development of film thickness and changes in contact geometry of compliant circular contacts operated in the elastohydrodynamic lubrication regime (EHL). Film thickness was compared with soft EHL prediction models, differences in contact geometry were assessed and their contribution to film thickness development were evaluated. Qualitatively good agreement of experimental results of cen... Read More
41. An Experimental Study on the Distribution and Migration of Lubricating Oil in Rolling Bearings at Low Speeds
He Liang, Yu Zhang, Wenzhong Wang - Informa UK Limited, 2022
Lubrication is very important for good working performance and long life for rolling bearings. The distribution of the lubricating oil layer outside the ball-raceway contact directly determines the formation of the lubricating oil film in the contact area. A bearing model test rig was built with the outer ring replaced by a glass one so as to realize the direct observation and measurement of the oil layer outside the ball-raceway contact area by photography. The migration of lubricating oil on the outer ring, steel ball, and cage under low speed was mainly studied. The influence of working-condition parameters such as time, speed, oil supply, and viscosity of lubricating oil was investigated.
42. Effect of Surface Texture on the Sliding Pair Lubrication Efficiency
B. Antoszewski, Piotr Kurp - MDPI AG, 2022
The paper presents certain problems related to the lubrication of textured surfaces. It was noted that for a specific load, the lubrication effectiveness will depend on the shape, size and mutual distribution of the textures elements. Proposals for determining the lubrication irregularity parameters were presented for textures with a rectangular mesh and round recesses. The experimental part presents the laser texturing methodology, tribological testing methodology and preliminary test results where the significant role of the relationship between the trajectory of motion and the texture mesh was demonstrated.
43. A Novel Set-up for In-situ Measurement and Mapping of Lubricant Film Thickness in a Model Rolling Bearing Using Interferometry and Ratiometric Fluorescence Imaging
Mourad Chennaoui, Liang He, Mark Fowell - Springer Science and Business Media LLC, 2022
Abstract This paper describes a unique experimental set-up constructed for studies of lubricant behaviour in an operating rolling element bearing including in-situ quantitative measurements of film thickness in and around the element-raceway contact. The set-up is based on a deep groove ball bearing in which the outer race is made of sapphire to allow full optical access to the zone in which the rolling elements are loaded against it. This allows direct imaging of lubricant films under both steady-state and transient conditions and at contact pressures and rotational speeds representative of those present in real rolling element bearings. Optical interferometry is used to measure thin EHL films inside the ball-raceway contacts while a specific laser induced fluorescence approach, referred to as ratiometric fluorescence, is implemented to observe the lubricant distribution and quantify its thickness ahead of the ball-raceway contact. Results are presented to validate the accuracy of the method and to investigate the influence of bulk lubricant viscosity and bearing speed on contact fi... Read More
44. Characterization of elastohydrodynamic contact film thickness under high frequency force excitation using a 2D unwrapping-based image processing technique
Reza Golafshan, Boquan Su, Georg Jacobs - Elsevier BV, 2022
The elastohydrodynamic lubrication (EHL) in a bearing contact is the typical regime between rolling elements and raceways. Simulations carried out by different researchers show a significant influence of harmonic load on the EHL film behavior. The current study aims to validate previous numerical findings using high-speed interferometry measurements to investigate the EHL behavior under force vibrations. A new image processing method is proposed based on the 2D unwrapping algorithm to extract film thickness in both circular and elliptical contacts. The experimental results confirm the previous numerical findings in the literature. Finally, it is shown that the frequency of excitation directly affects the amount and amplitude of the modulation behavior of the EHL film.
45. A Novel Set-Up for In Situ Measurement and Mapping of Lubricant Film Thickness in a Model Rolling Bearing Using Interferometry and Ratiometric Fluorescence Imaging
Mourad Chennaoui, Mark Fowell, He Liang - Springer Science and Business Media LLC, 2022
Abstract This paper describes a unique experimental set-up constructed for studies of lubricant behaviour in an operating rolling element bearing including in situ quantitative measurements of film thickness in and around the element-raceway contact. The set-up is based on a deep groove ball bearing in which the outer race is made of sapphire to allow full optical access to the zone in which the rolling elements are loaded against it. This allows direct imaging of lubricant films under both steady-state and transient conditions and at contact pressures and rotational speeds representative of those present in real rolling element bearings. Optical interferometry is used to measure thin EHL films inside the ballraceway contacts while a specific laser induced fluorescence approach, referred to as ratiometric fluorescence, is implemented to observe the lubricant distribution and quantify its thickness ahead of the ballraceway contact. Results are presented to validate the accuracy of the method and to investigate the influence of bulk lubricant viscosity and bearing speed on contact fi... Read More
46. Water lubrication assisted by small-quantity silicone oil
Tao Yu, Feng Guo, Xiaohan Zhang - Elsevier BV, 2022
In this paper it was demonstrated that a small quantity of silicone oil could be employed as a secondary lubricant to assist water lubrication when there appear short-time sever working conditions. With a deliberately fabricated fiber-guide nozzle a short-time injection of silicone oil to water lubricated block-on-ring contact in the mixed lubrication could reduce friction of the contact markedly. With increase of the ring speed the friction reduction ratio decreases first and then slightly increase thereafter. Measurements of the wear track displayed more wear reduction under higher ring speeds and larger viscosity. It was proposed that the friction and wear reduction could be attributed to the water-excluded lubrication film formation in the whole contact zone by silicone oil, which was validated by optical interferometry measurement of the lubrication films. In addition, through fluorescence technique it was found that water environment can reduce the wettability of the silicone oil on the lubrication track so that the oil replenishment on the track is enhanced and the film thickn... Read More
47. Enhancing the sensitivity of a tribological testing method to enable development of lubricants for cold forging
Chengliang Hu, Haitang Chen, Wenlong Zhang - Elsevier BV, 2022
Because of environmental issues, new water-based lubricants are being developed to replace the conventional lubrication approach in cold forgingphosphation plus soap coating. To support the development and application of water-based lubricants, a new testing method that is highly sensitive, accurate, and easy to use was established on the basis of the ring with boss compression test. The dimensions of ring specimens were optimized, and the methods high sensitivity was demonstrated by obtaining scatter calibration curves and determining the distortion of the outer boss. The effectiveness and high sensitivity of the method were experimentally validated using two strategies. The method was then successfully employed to evaluate a commercial water-based lubricant; the effect of lubricant amount and lubrication mode was investigated.
48. Measuring the Fluid Film Thickness and Evaluation of Slope Parameter to Assess the Tribological Characteristics of Tilting Pad Bearings
kang-Seok Kim, Yoongho Jung, Mi-Ru Kim - Elsevier BV, 2022
Researchers studying lubrication analysis have investigated both mixed lubrication and hydrodynamic lubrication; the lubrication analysis has been considered with respect to the slope parameter of the friction surface, as well as surface roughness. Furthermore, the relative slope of the pad bearing surface is confirmed to influence the friction characteristics. However, it remains unverified whether the lubrication analysis values are comparable to those obtained via friction tests. In this study, we develop an experimental device for obtaining the slope parameter, and analyze the results to experimentally verify lubrication analysis results. The fluid film thickness is calculated by analyzing the slope parameter obtained from the friction tests and is used as the input value for the lubrication analysis. Thereafter, the experimental values of the friction coefficient and slope parameter are compared with those obtained via numerical analysis.
49. Evolution of grease lubrication regimes and surface damage during reciprocation-oscillation transformation
Yiming Han, Wang Jing, Weimin Li - SAGE Publications, 2022
The responses of two kinds of lithium greases during the transformation from reciprocating motion to oscillation were firstly studied on a ball-on-disk test rig using optical interferometric technique. Although in pure rolling motion, after a long run a thin film lubrication (TFL) state is formed on the track, in simple sliding motion an interior boundary lubrication (BL) region is quickly developed in the contact after only tens of working cycles and the region increases with the increase of the radius stroke ratio. Microstructure of the thickener fiber makes a difference in the formation of the inside BL region. By an SRV tester, grease lubricated wear tests were carried out using samples with smooth surfaces, textured surfaces and textured + diamond like carbon (DLC) coated surfaces in simple sliding reciprocating and oscillating motion. It is seen that lubrication using grease with thinner and evenly distributed thickener fibers produces less severe surface damage. The smooth or textured surface is soon worn out, causing severe surface damage. The application of DLC coating onto ... Read More
50. Novel in-situ observation of the grease constituents in elastohydrodynamic contacts by fluorescence microscopy.
David Košťál, Michal Okál, Josef Frýza - Springer Science and Business Media LLC, 2022
Abstract Grease is important lubricant for ball bearings as it is used much more often than oil. However, mechanism of the lubrication is not completely clear, especially concerning the role of the thickener in the lubricating process. It was shown that contribution of the thickener to film thickness build-up varies with operating conditions. Also, its influence on the resistive torque of the bearing was proved. However, all studies were in-direct showing its effects. This paper presents new in-situ fluorescence method of the grease constituents observation, where both, thickener, and base oil can be observed independently. Two different fluorescence dyes are used to distinguish grease constituents with the use of different microscope setup. Moreover, the new method was tested on two different test rigs. First is typical ball on disc test rig widely used for study of elastohydrodynamic lubrication. Second is ball on ring test rig which more closely represents radial ball bearing conditions. It was shown that thickener engagement is very different for each geometrical configuration.
Get Full Report
Access our comprehensive collection of 101 documents related to this technology
